The Project Gutenberg EBook of Dictionnaire raisonné de l'architecture française du XIe au XVIe siècle (1/9), by Eugène-Emmanuel Viollet-Le-Duc This eBook is for the use of anyone anywhere at no cost and with almost no restrictions whatsoever. You may copy it, give it away or re-use it under the terms of the Project Gutenberg License included with this eBook or online at www.gutenberg.org Title: Dictionnaire raisonné de l'architecture française du XIe au XVIe siècle (1/9) Author: Eugène-Emmanuel Viollet-Le-Duc Release Date: December 28, 2009 [EBook #30781] Language: French Character set encoding: ISO-8859-1 *** START OF THIS PROJECT GUTENBERG EBOOK DICTIONNAIRE *** Produced by Michel Laglasse, Rénald Lévesque and the Online Distributed Proofreaders Europe at http://dp.rastko.net.



PARIS
B. BANCE, ÉDITEUR
RUE BONAPARTE, 13.
L'auteur et l'éditeur se réservent le droit de faire traduire et
reproduire cet ouvrage
dans les pays où la propriété des ouvrages
français est garantie par des traités.
orsque nous commencions à étudier l'architecture du moyen âge (il y a
de cela vingt-cinq ans), il n'existait pas d'ouvrages qui pussent nous
montrer la voie à suivre. Il nous souvient qu'alors un grand nombre de
maîtres en architecture admettaient à peine l'existence de ces monuments
qui couvrent le sol de l'Europe et de la France surtout. À peine
permettait-on l'étude de quelques édifices de la renaissance française
et italienne; quant à ceux qui avaient été construits depuis le
bas-empire jusqu'au XVe siècle, on n'en parlait guère que pour les citer
comme des produits de l'ignorance et de la barbarie. Si nous nous
sentions pris d'une sorte d'admiration mystérieuse pour nos églises et
nos forteresses françaises du moyen âge, nous n'osions avouer un
penchant qui nous semblait une sorte de dépravation du goût,
d'inclination peu avouable. Et cependant par instinct nous étions attiré
vers ces grands monuments dont les trésors nous paraissaient réservés
pour ceux qui voudraient se vouer à leur recherche.
Après un séjour de deux ans en Italie nous fûmes plus vivement frappé encore de l'aspect de nos édifices français, de la sagesse et de la science qui ont présidé à leur exécution, de l'unité, de l'harmonie et de la méthode suivies dans leur construction comme dans leur parure. Déjà cependant des esprits distingués avaient ouvert la voie; éclairés par les travaux et l'admiration de nos voisins les Anglais, ils songeaient à classer les édifices par styles et par époques. On ne s'en tenait plus à des textes la plupart erronés, on admettait un classement archéologique basé sur l'observation des monuments eux-mêmes. Les premiers travaux de M. de Caumont faisaient ressortir des caractères bien tranchés entre les différentes époques de l'architecture française du nord. En 1831, M. Vitet adressait au ministre de l'Intérieur un rapport sur les monuments des départements de l'Oise, de l'Aisne, du Nord, de la Marne et du Pas-de-Calais, dans lequel l'élégant écrivain signalait à l'attention du gouvernement des trésors inconnus, bien qu'ils fussent à nos portes. Plus tard, M. Mérimée poursuivait les recherches si heureusement commencées par M. Vitet, et, parcourant toutes les anciennes provinces de France, sauvait de la ruine quantité d'édifices que personne alors ne songeait à regarder, et qui font aujourd'hui la richesse et l'orgueil des villes qui les possèdent. M. Didron expliquait les poëmes sculptés et peints qui couvrent nos cathédrales, et poursuivait à outrance le vandalisme partout où il voulait tenter quelque oeuvre de destruction. Mais, il faut le dire à notre honte, les artistes restaient en arrière, les architectes couraient en Italie ne commençant à ouvrir les yeux qu'à Gênes ou Florence; ils revenaient leurs portefeuilles remplis d'études faites sans critique et sans ordre, et se mettaient à l'oeuvre sans avoir mis les pieds dans un monument de leur pays.
La commission des Monuments historiques instituée près le ministère de l'Intérieur commençait cependant à recruter un petit nombre d'artistes qu'elle chargeait d'étudier et de réparer quelques-uns de nos plus beaux monuments du moyen âge. C'est à cette impulsion donnée dès l'origine avec prudence, que nous devons la conservation des meilleurs exemples de notre architecture nationale, une heureuse révolution dans les études de l'architecture, d'avoir pu étudier pendant de longues années les édifices qui couvrent nos provinces, et réunir les éléments de ce livre que nous présentons aujourd'hui au public. Au milieu de difficultés sans cesse renaissantes, avec des ressources minimes, la commission des Monuments historiques a obtenu des résultats immenses; tout faible que soit cet hommage dans notre bouche, il y aurait de l'ingratitude à ne pas le lui rendre, car, en conservant nos édifices, elle a modifié le cours des études de l'architecture en France; en s'occupant du passé, elle a fondé dans l'avenir.
Ce qui constitue les nationalités, c'est le lien qui unit étroitement les différentes périodes de leur existence; il faut plaindre les peuples qui renient leur passé, car il n'y a pas d'avenir pour eux! Les civilisations qui ont profondément creusé leur sillon dans l'histoire, sont celles chez lesquelles les traditions ont été le mieux respectées, et dont l'âge mûr a conservé tous les caractères de l'enfance. La civilisation romaine est là pour nous présenter un exemple bien frappant de ce que nous avançons ici; et quel peuple eut jamais plus de respect pour son berceau que le peuple romain! Politiquement parlant, aucun pays, malgré des différences d'origines bien marquées, n'est fondu dans un principe d'unité plus compacte que la France; il n'était donc ni juste ni sensé de vouloir mettre à néant une des causes de cette unité: ses arts depuis la décadence romaine jusqu'à la renaissance.
En effet, les arts en France du IXe au XVe siècle ont suivi une marche régulière et logique, ils ont rayonné en Angleterre, en Allemagne, dans le nord de l'Espagne, et jusqu'en Italie, en Sicile et en Orient; et nous ne profiterions pas de ce labeur de plusieurs siècles? Nous ne conserverions pas et nous refuserions de reconnaître ces vieux titres enviés avec raison par toute l'Europe? Nous serions les derniers à étudier notre propre langue? Les monuments de pierre ou de bois périssent, ce serait folie de vouloir les conserver tous et de tenter de prolonger leur existence en dépit des conditions de la matière, mais ce qui ne peut et ne doit périr, c'est l'esprit qui a fait élever ces monuments, car cet esprit c'est le nôtre, c'est l'âme du pays. Dans l'ouvrage que nous livrons aujourd'hui au public nous avons essayé non-seulement de donner de nombreux exemples des formes diverses adoptées par l'architecture du moyen âge, suivant un ordre chronologique, mais surtout et avant tout de faire connaître les raisons d'être de ces formes, les principes qui les ont fait admettre, les moeurs et les idées au milieu desquelles elles ont pris naissance. Il nous a paru difficile de rendre compte des transformations successives des arts de l'architecture sans donner en même temps un aperçu de la civilisation dont cette architecture est comme l'enveloppe, et si la tâche s'est trouvée au-dessus de nos forces, nous aurons au moins ouvert une voie nouvelle à parcourir, car nous ne saurions admettre l'étude du vêtement indépendamment de l'étude de l'homme qui le porte. Or toute sympathie pour telle ou telle forme de l'art mise de côté, nous avons été frappé de l'harmonie complète qui existe entre les arts du moyen âge et l'esprit des peuples au milieu desquels ils se sont développés. Du moment où la civilisation du moyen âge se sent vivre, elle tend à progresser rapidement, elle procède par une suite d'essais sans s'arrêter un instant; à peine a-t-elle entrevu un principe qu'elle en déduit les conséquences, et arrive promptement à l'abus sans se donner le temps de développer son thème; c'est là le côté faible, mais aussi le côté instructif des arts du XIIe au XVIe siècle. Les arts compris dans cette période de trois siècles ne peuvent, pour ainsi dire, être saisis sur un point, c'est une chaîne non interrompue dont tous les anneaux sont rivés à la hâte par les lois impérieuses de la logique. Vouloir écrire une histoire de l'architecture du moyen âge, ce serait peut-être tenter l'impossible, car il faudrait embrasser à la fois, et faire marcher parallèlement l'histoire religieuse, politique, féodale et civile de plusieurs peuples; il faudrait constater les influences diverses qui ont apporté leurs éléments à des degrés différents dans telle ou telle contrée, trouver le lien de ces influences, analyser leurs mélanges et définir les résultats; tenir compte des traditions locales, des goûts et des moeurs des populations, des lois imposées par l'emploi des matériaux, des relations commerciales, du génie particulier des hommes qui ont exercé une action sur les événements soit en hâtant leur marche naturelle, soit en la faisant dévier, ne pas perdre de vue les recherches incessantes d'une civilisation qui se forme, et se pénétrer de l'esprit encyclopédique, religieux et philosophique du moyen âge. Ce n'est pas d'aujourd'hui que les nations chrétiennes occidentales ont inscrit sur leur drapeau le mot: Progrès; et qui dit progrès dit labeur, lutte et transformation.
La civilisation antique est simple, une; elle absorbe au lieu de se répandre; tout autre est la civilisation chrétienne; elle reçoit et donne, c'est le mouvement, la divergence sans interruption possible. Ces deux civilisations ont dû nécessairement procéder très-différemment dans l'expression de leurs arts; on peut le regretter, mais non aller à l'encontre; on peut écrire une histoire des arts égyptien, grec ou romain, parce que ces arts suivent une voie dont la pente égale monte à l'apogée et descend à la décadence sans dévier, mais la vie d'un homme ne suffirait pas à décrire les transformations si rapides des arts du moyen âge, à chercher les causes de ces transformations, à compter un à un tous les chaînons de cette longue chaîne si bien rivée quoique composée d'éléments si divers.
On a pu, lorsque les études archéologiques sur le moyen âge ne faisaient que poser les premiers jalons, tenter une classification toute de convention, et diviser les arts par périodes, par styles primaires, secondaires, tertiaires, de transition, et supposer que la civilisation moderne avait procédé comme notre globe dont la croûte change de nature après chaque grande convulsion; mais par le fait cette classification, toute satisfaisante qu'elle paraisse, n'existe pas, et de la décadence romaine à la renaissance du XVIe siècle il n'y a qu'une suite de transitions sans arrêts. Ce n'est pas que nous voulions ici blâmer une méthode qui a rendu d'immenses services, en ce qu'elle a posé des points saillants, qu'elle a mis la première de l'ordre dans les études, et qu'elle a permis de défricher le terrain; mais, nous le répétons, cette classification n'existe pas, et nous croyons que le moment est venu d'étudier l'art du moyen âge comme on étudie le développement et la vie d'un être animé qui de l'enfance arrive à la vieillesse par une suite de transformations insensibles, et sans qu'il soit possible de dire le jour où cesse l'enfance et où commence la vieillesse. Ces raisons, notre insuffisance peut-être, nous ont déterminé à donner à cet ouvrage la forme d'un Dictionnaire. Cette forme, en facilitant les recherches au lecteur, nous permet de présenter une masse considérable de renseignements et d'exemples qui n'eussent pu trouver leur place dans une histoire, sans rendre le discours confus et presque inintelligible. Elle nous a paru, précisément à cause de la multiplicité des exemples donnés, devoir être plus favorable aux études, mieux faire connaître les diverses parties compliquées, mais rigoureusement déduites des besoins, qui entrent dans la composition de nos monuments du moyen âge, puisqu'elle nous oblige pour ainsi dire à les disséquer séparément, tout en décrivant les fonctions, le but de ces diverses parties et les modifications qu'elles ont subies. Nous n'ignorons pas que cette complication des arts du moyen âge, la diversité de leur origine, et cette recherche incessante du mieux qui arrive rapidement à l'abus, ont rebuté bien des esprits, ont été cause de la répulsion que l'on éprouvait, et que l'on éprouve encore, pour une étude dont le but n'apparaît pas clairement. Il est plus court de nier que d'étudier; longtemps on n'a voulu voir dans ce développement d'une des parties intellectuelles de notre pays que le chaos, l'absence de tout ordre, de toute raison, et cependant lorsque l'on pénètre au milieu de ce chaos, que l'on voit sourdre une à une les sources de l'art de l'architecture du moyen âge, que l'on prend la peine de suivre leur cours, on découvre bientôt la pente naturelle vers laquelle elles tendent toutes, et combien elles sont fécondes. Il faut reconnaître que le temps de la négation aveugle est déjà loin de nous, notre siècle cherche à résumer le passé; il semble reconnaître (et en cela nous croyons qu'il est dans le vrai) que pour se frayer un chemin dans l'avenir, il faut savoir d'où l'on vient, profiter de tout ce que les siècles précédents ont laborieusement amassé. Ce sentiment est quelque chose de plus profond qu'une réaction contre l'esprit destructeur du siècle dernier, c'est un besoin du moment; et si quelques exagérations ont pu effrayer les esprits sérieux, si l'amour du passé a parfois été poussé jusqu'au fanatisme, il n'en reste pas moins au fond de la vie intellectuelle de notre époque une tendance générale et très-prononcée vers les études historiques, qu'elles appartiennent à la politique, à la législation, aux lettres ou aux arts. Il suffit pour s'en convaincre (si cette observation avait besoin de s'appuyer sur des preuves), de voir avec quelle avidité le public en France, en Angleterre et en Allemagne se jette sur toutes les oeuvres qui traitent de l'histoire ou de l'archéologie, avec quel empressement les erreurs sont relevées, les monuments et les textes mis en lumière. Il semble que les découvertes nouvelles viennent en aide à ce mouvement général. Au moment où la main des artistes ne suffit pas à recueillir les restes si nombreux et si précieux de nos édifices anciens, apparaît la photographie qui forme en quelques années un inventaire fidèle de tous ces débris. De sages dispositions administratives réunissent et centralisent les documents épars de notre histoire; les départements, les villes voient des sociétés se fonder dans leur sein pour la conservation des monuments épargnés par les révolutions et la spéculation; le budget de l'État, au milieu des crises politiques les plus graves, ne cesse de porter dans ses colonnes des sommes importantes pour sauver de la ruine tant d'oeuvres d'art si longtemps mises en oubli. Et ce mouvement ne suit pas les fluctuations d'une mode, il est constant, il est chaque jour plus marqué, et après avoir pris naissance au milieu de quelques hommes éclairés, il se répand peu à peu dans les masses; Il faut dire même qu'il est surtout prononcé dans les classes industrielles et ouvrières, parmi les hommes chez lesquels l'instinct agit plus que l'éducation; ils semblent se reconnaître dans ces oeuvres issues du génie national.
Quand il s'est agi de reproduire ou de continuer des oeuvres des siècles passés, ce n'est pas d'en bas que nous sont venues les difficultés, et les exécutants ne nous ont jamais fait défaut; Mais c'est précisément parce que cette tendance est autre chose qu'une mode ou une réaction, qu'il est fort important d'apporter un choix scrupuleux, une critique impartiale et sévère, dans l'étude et l'emploi des matériaux qui peuvent contribuer à rendre à notre pays un art conforme à son génie. Si cette étude est incomplète, étroite, elle sera stérile et fera plus de mal que de bien; elle augmentera la confusion et l'anarchie dans lesquelles les arts sont tombées depuis tantôt cinquante ans, et qui nous conduiraient à la décadence; elle apportera un élément de désordre de plus; si, au contraire, cette étude est dirigée avec intelligence et soin; si l'enseignement officiel l'adopte franchement et arrête ainsi ses écarts, réunit sous sa main tant d'efforts partiels qui se sont perdus faute d'un centre, les résultats ne se feront pas attendre, et l'art de l'architecture reprendra le rang qui lui convient chez une nation éminemment créatrice. Des convictions isolées, si fortes qu'elles soient, ne peuvent faire une révolution dans les arts; si aujourd'hui nous cherchons à renouer ces fils brisés, à prendre dans un passé qui nous appartient en propre les éléments d'un art contemporain, ce n'est pas au profit des goûts de tel ou tel artiste ou d'une coterie; nous ne sommes au contraire que les instruments dociles des goûts et des idées de notre temps, et c'est aussi pour cela que nous avons foi dans nos études et que le découragement ne saurait nous atteindre; ce n'est pas nous qui faisons dévier les arts de notre époque, c'est notre époque qui nous entraîne.... Où? qui le sait! Faut-il au moins que nous remplissions de notre mieux la tâche qui nous est imposée par les tendances du temps où nous vivons. Ces efforts, il est vrai, ne peuvent être que limités, car la vie de l'homme n'est pas assez longue pour permettre à l'architecte d'embrasser un ensemble de travaux, soit intellectuels soit matériels; l'architecte n'est et ne peut être qu'une partie d'un tout; il commence ce que d'autres achèvent, ou termine ce que d'autres ont commencé; il ne saurait donc travailler dans l'isolement, car son oeuvre ne lui appartient pas en propre, comme le tableau au peintre, le poème au poète. L'architecte qui prétendrait seul imposer un art à toute une époque ferait un acte d'insigne folie. En étudiant l'architecture du moyen âge, en cherchant à répandre cette étude, nous devons dire que notre but n'est pas de faire rétrograder les artistes, de leur fournir les éléments d'un art oublié pour qu'ils les reprennent tels quels, et les appliquent sans raisons aux édifices du XIXe siècle; cette extravagance a pu nous être reprochée, mais elle n'a heureusement jamais été le résultat de nos recherches et de nos principes. On a pu faire des copies plus ou moins heureuses des édifices antérieurs au XVIe siècle, ces tentatives ne doivent être considérées que comme des essais destinés à retrouver les éléments d'un art perdu mais non comme le but auquel doit s'arrêter notre architecture moderne. Si nous regardons l'étude de l'architecture du moyen âge comme utile, et pouvant amener peu à peu une heureuse révolution dans l'art, ce n'est pas à coup sûr pour obtenir des oeuvres sans originalité, sans style, pour voir reproduire sans choix et comme une forme muette, des monuments remarquables surtout à cause du principe qui les a fait élever, mais c'est au contraire pour que ce principe soit connu, et qu'il puisse porter des fruits aujourd'hui comme il en a produit pendant les XIIe et XIIIe siècles. En supposant qu'un architecte de ces époques revienne aujourd'hui, avec ses formules et les principes auxquels il obéissait de son temps, et qu'il puisse être initié à nos idées modernes, si l'on mettait à sa disposition les perfectionnements apportés dans l'industrie, il ne bâtirait pas un édifice du temps de Philippe Auguste ou de saint Louis, parce qu'il fausserait ainsi la première loi de son art, qui est de se conformer aux besoins et aux moeurs du moment, d'être rationnel. Jamais peut-être des ressources plus nombreuses n'ont été offertes aux architectes; les exécutants sont nombreux, intelligents et habiles de la main; l'industrie est arrivée à un degré de perfectionnement qui n'avait pas été atteint. Ce qui manque à tout cela c'est une âme, c'est ce principe vivifiant qui rend toute oeuvre d'art respectable, qui fait que l'artiste peut opposer la raison aux fantaisies souvent ridicules des particuliers ou d'autorités peu compétentes trop disposés à considérer l'art comme une superfluité, une affaire de caprice ou de mode. Pour que l'artiste respecte son oeuvre, il faut qu'il l'ait conçue avec la conviction intime que cette oeuvre est émanée d'un principe vrai, basé sur les règles du bon sens; le goût, souvent, n'est pas autre chose, et pour que l'artiste soit respecté lui-même, il faut que sa conviction ne puisse être mise en doute; or, comment supposer qu'on respectera l'artiste qui, soumis à toutes les puérilités d'un amateur fantasque, lui bâtira, suivant le caprice du moment, une maison chinoise, arabe, gothique, ou de la renaissance? Que devient l'artiste au milieu de tout ceci? N'est-ce pas le costumier qui nous habille suivant notre fantaisie, mais qui n'est rien par lui-même, n'a et ne peut avoir ni préférence, ni goût propre, ni ce qui constitue avant tout l'artiste créateur, l'initiative? Mais l'étude d'une architecture dont la forme est soumise à un principe, comme le corps est soumis à l'âme, pour ne point rester stérile, ne saurait être incomplète et superficielle. Nous ne craindrons pas de le dire, ce qui a le plus retardé les développements de la renaissance de notre architecture nationale, renaissance dont on doit tirer profit pour l'avenir, c'est le zèle mal dirigé, la connaissance imparfaite d'un art dans lequel beaucoup ne voient qu'une forme originale et séduisante sans apprécier le fond. Nous avons vu surgir ainsi de pâles copies d'un corps dont l'âme est absente. Les archéologues en décrivant et classant les formes n'étaient pas toujours architectes praticiens, ne pouvaient parler que de ce qui frappait leurs yeux, mais la connaissance du pourquoi devait nécessairement manquer à ces classifications purement matérielles, et le bon sens public s'est trouvé justement choqué à la vue de reproductions d'un art dont il ne comprenait pas la raison d'être, qui lui paraissait un jeu bon tout au plus pour amuser quelques esprits curieux de vieilleries, mais dans la pratique duquel il fallait bien se garder de s'engager. C'est qu'en effet s'il est un art sérieux, qui doive toujours être l'esclave de la raison et du bon sens, c'est l'architecture. Ses lois fondamentales sont les mêmes dans tous les pays et dans tous les temps, la première condition du goût en architecture, c'est d'être soumis à ces lois; et les artistes qui, après avoir blâmé les imitations contemporaines de temples romains dans lesquelles on ne pouvait retrouver ni le souffle inspirateur qui les a fait élever, ni des points de rapports avec nos habitudes et nos besoins, se sont mis à construire des pastiches des formes romanes ou gothiques, sans se rendre compte des motifs qui avaient fait adopter ces formes, n'ont fait que perpétuer d'une manière plus grossière encore les erreurs contre lesquelles ils s'étaient élevés.
Il y a deux choses dont on doit tenir compte avant tout, dans l'étude d'un art, c'est la connaissance du principe créateur, et le choix dans l'oeuvre créée. Or le principe de l'architecture française au moment où elle se développe avec une grande énergie, du XIIe au XIIIe siècle, étant la soumission constante de la forme aux moeurs, aux idées du moment, l'harmonie entre le vêtement et le corps, le progrès incessant, le contraire de l'immobilité; l'application de ce principe ne saurait non-seulement, faire rétrograder l'art, mais même le rendre stationnaire. Tous les monuments enfantés par le moyen âge seraient-ils irréprochables, qu'ils ne devraient donc pas être aujourd'hui servilement copiés, si l'on élève un édifice neuf, ce n'est qu'un langage dont il faut apprendre à se servir pour exprimer sa pensée, mais non pour répéter ce que d'autres ont dit; et dans les restaurations, même lorsqu'il ne s'agit que de reproduire ou de réparer des parties détruites ou altérées, il est d'une très-grande importance de se rendre compte des causes qui ont fait adopter ou modifier telle ou telle disposition primitive, appliquer telle ou telle forme; les règles générales laissent l'architecte sans ressources devant les exceptions nombreuses qui se présentent à chaque pas, s'il n'est pas pénétré de l'esprit qui a dirigé les anciens constructeurs.
On rencontrera souvent dans cet ouvrage des exemples qui accusent
l'ignorance, l'incertitude, les tâtonnements, les exagérations de
certains artistes; mais, que l'on veuille bien le remarquer, on y
trouvera l'influence, l'abus même parfois d'un principe vrai, une
méthode, en même temps qu'une grande liberté individuelle, l'unité de
style, l'harmonie dans l'emploi des formes, l'instinct des proportions,
toutes les qualités qui constituent un art, soit qu'il s'applique à la
plus humble maison de paysan ou à la plus riche cathédrale, comme au
palais du souverain. En effet, une civilisation ne peut prétendre
posséder un art que si cet art pénètre partout, s'il fait sentir sa
présence dans les oeuvres les plus vulgaires. Or de tous les pays
occidentaux de l'Europe, la France est encore celui chez qui cette
heureuse faculté s'est le mieux conservée, car c'est celui qui l'a
possédée au plus haut degré depuis la décadence romaine. De tout temps
la France a imposé ses arts et ses modes à une grande partie du
continent européen; elle a essayé vainement depuis la renaissance de se
faire italienne, allemande, espagnole, grecque, son instinct, le goût
natif qui réside dans toutes les classes du pays l'ont toujours ramené à
son génie propre en la relevant après les plus graves erreurs; il est
bon, nous croyons, de le reconnaître, car trop longtemps les artistes
ont méconnu ce sentiment et n'ont pas su en profiter. Depuis le règne de
Louis XIV surtout, les artistes ont fait ou prétendu faire un corps
isolé dans le pays, sorte d'aristocratie étrangère, méconnaissant ces
instincts des masses. En se séparant ainsi de la foule, ils n'ont plus
été compris, ont perdu toute influence, et il n'a pas dépendu d'eux que
la barbarie ne gagnât sans retour ce qui restait en dehors de leur
sphère. La preuve en est dans l'infériorité de l'exécution des oeuvres
des deux derniers siècles comparativement aux siècles précédents.
L'architecture surtout qui ne peut se produire qu'à l'aide d'une grande
quantité d'ouvriers de tous états, ne présentait plus à la fin du XVIIIe
siècle qu'une exécution abâtardie, molle, pauvre et dépourvue de style à
ce point de faire regretter les dernières productions du bas-empire. La
royauté de Louis XIV, en se mettant à la place de toute chose en France,
en voulant être le principe de tout, absorbait sans fruit les forces
vives du pays, plus encore peut-être dans les arts que dans la
politique; et l'artiste a besoin pour produire de conserver son
indépendance. Le pouvoir féodal n'était certainement pas protecteur de
la liberté matérielle; les rois, les seigneurs séculiers, comme les
évêques et les abbés, ne comprenaient pas et ne pouvaient comprendre ce
que nous appelons les droits politiques; on en a mésusé de notre temps,
qu'en eût-on fait au XIIe siècle! Mais ces pouvoirs séparés, rivaux même
souvent, laissaient à la population intelligente et laborieuse sa
liberté d'allure. Les arts appartenaient au peuple, et personne, parmi
les classes supérieures, ne songeait à les diriger, à les faire dévier
de leur voie. Quand les arts ne furent plus exclusivement pratiqués par
le clergé régulier, et qu'ils sortirent des monastères pour se répandre
dans cent corporations laïques, il ne semble pas qu'un seul évêque se
soit élevé contre ce mouvement naturel; et comment supposer d'ailleurs
que des chefs de l'Église, qui avaient si puissamment et avec une si
laborieuse persévérance aidé à la civilisation chrétienne, eussent
arrêté un mouvement qui indiquait mieux que tout autre symptôme que la
civilisation se répandait dans les classes moyennes et inférieures? Mais
les arts, en se répandant en dehors des couvents entraînaient avec eux
des idées d'émancipation, de liberté intellectuelle qui durent vivement
séduire des populations avides d'apprendre, de vivre, d'agir, et
d'exprimer leurs goûts et leurs tendances. C'était dorénavant sur la
pierre et le bois, dans les peintures et les vitraux, que ces
populations allaient imprimer leurs désirs, leurs espérances; c'était là
que sans contrainte elles pouvaient protester silencieusement contre
l'abus de la force. À partir du XIIe siècle cette protestation ne cesse
de se produire dans toutes les oeuvres d'art qui décorent nos édifices du
moyen âge; elle commence gravement, elle s'appuie sur les textes sacrés,
elle devient satirique à la fin du XIIIe siècle, et finit au XVe par la
caricature. Quelle que soit sa forme, elle est toujours franche, libre,
crue même parfois. Avec quelle complaisance les artistes de ces époques
s'étendent dans leurs oeuvres sur le triomphe des faibles, sur la chute
des puissants! Quel est l'artiste du temps de Louis XIV qui eût osé
placer un roi dans l'enfer à côté d'un avare, d'un homicide; quel est le
peintre ou le sculpteur du XIIIe siècle qui ait placé un roi dans les
nuées entouré d'une auréole, glorifié comme Dieu, tenant la foudre, et
ayant à ses pieds les puissants du siècle? Est-il possible d'admettre,
quand on étudie nos grandes cathédrales, nos châteaux et nos habitations
du moyen âge qu'une autre volonté que celle de l'artiste ait influé sur
la forme de leur architecture, sur le système adopté dans leur
décoration ou leur construction? L'unité qui règne dans ces conceptions,
la parfaite concordance des détails avec l'ensemble, l'harmonie de
toutes les parties ne démontrent-elles pas qu'une seule volonté a
présidé à l'érection de ces oeuvres d'art? Cette volonté peut-elle être
autre que celle de l'artiste? Et ne voyons-nous pas, à propos des
discussions qui eurent lieu sous Louis XIV, lorsqu'il fut question
d'achever le Louvre, le roi, le surintendant des bâtiments, Colbert, et
toute la cour donner son avis, s'occuper des ordres, des corniches,
et de tout ce qui touche à l'art, et finir par confier l'oeuvre à un
homme qui n'était pas architecte, et ne sut que faire un dispendieux
placage, dont le moindre défaut est de ne se rattacher en aucune façon
au monument et de rendre inutile le quart de sa superficie? On jauge une
civilisation par ses arts, car les arts sont l'énergique expression des
idées d'une époque, et il n'y a pas d'art sans l'indépendance de
l'artiste. L'étude des arts du moyen âge est une mine inépuisable,
pleine d'idées originales, hardies, tenant l'imagination éveillée, cette
étude oblige à chercher sans cesse, et par conséquent elle développe
puissamment l'intelligence de l'artiste. L'architecture, depuis le XIIe
siècle jusqu'à la renaissance, ne se laisse pas vaincre par les
difficultés, elle les aborde toutes franchement; n'étant jamais à bout
de ressources, elle ne va cependant les puiser que dans un principe
vrai. Elle abuse même trop souvent de cette habitude de surmonter des
difficultés parmi lesquelles elle aime à se mouvoir. Ce défaut!
pouvons-nous le lui reprocher? Il tient à la nature d'esprit de notre
pays, à ses progrès et ses conquêtes, dont nous profitons, au milieu
dans lequel cet esprit se développait. Il dénote les efforts
intellectuels d'où la civilisation moderne est sortie, et la
civilisation moderne est loin d'être simple; si nous la comparons à la
civilisation païenne, de combien de rouages nouveaux ne la
trouverons-nous pas surchargée; pourquoi donc vouloir revenir dans les
arts à des formes simples quand notre civilisation, dont ces arts ne
sont que l'empreinte, est si complexe? Tout admirable que soit l'art
grec, ses lacunes sont trop nombreuses pour que dans la pratique il
puisse être appliqué à nos moeurs. Le principe qui l'a dirigé est trop
étranger à la civilisation moderne pour inspirer et soutenir nos
artistes modernes. Pourquoi donc ne pas habituer nos esprits à ces
fertiles labeurs des siècles d'où nous sommes sortis? Nous l'avons vu
trop souvent, ce qui manque surtout aux conceptions modernes en
architecture, c'est la souplesse, cette aisance d'un art qui vit dans
une société qu'il connaît; notre architecture gêne ou est gênée, en
dehors de son siècle, ou complaisante jusqu'à la bassesse, jusqu'au
mépris du bon sens. Si donc nous recommandons l'étude des arts des
siècles passés avant l'époque où ils ont quitté leur voie naturelle, ce
n'est pas que nous désirions voir élever chez nous aujourd'hui des
maisons et des palais du XIIIe siècle, c'est que nous regardons cette
étude comme pouvant rendre aux architectes cette souplesse, cette
habitude d'appliquer à toute chose un principe vrai, cette originalité
native et cette indépendance qui tiennent au génie de notre pays.
N'aurions-nous que fait naître le désir chez nos lecteurs d'approfondir
un art trop longtemps oublié, aurions-nous contribué seulement à faire
aimer et respecter des oeuvres qui sont la vivante expression de nos
progrès pendant plusieurs siècles, que nous croirions notre tâche
remplie; et si faibles que soient les résultats de nos efforts, ils
feront connaître, nous l'espérons du moins, qu'entre l'antiquité et
notre siècle, il s'est fait un travail immense dont nous pouvons
profiter, si nous savons en recueillir et choisir les fruits.
VIOLLET-LE-DUC.


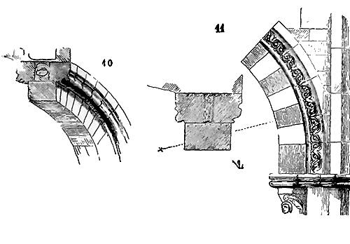
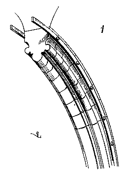
ABAQUE, s. m. (TAILLOIR.) Tablette qui couronne le chapiteau de la
colonne.
Ce membre d'architecture joue un grand rôle dans les
constructions du moyen âge; le chapiteau recevant directement les
naissances des arcs, forme un encorbellement destiné à équilibrer le
porte-à-faux du sommier sur la colonne, le tailloir ajoute donc à la
saillie du chapiteau en lui donnant une plus grande résistance; biseauté
généralement dans les chapiteaux de l'époque romane primitive (1), il
affecte en projection horizontale, la forme carrée suivant le lit
inférieur du sommier de l'arc qu'il supporte; il est quelquefois décoré
de moulures simples et d'ornements, particulièrement pendant le XIIe
siècle, dans l'Ile-de-France, la Normandie, la Champagne, la Bourgogne
et les provinces méridionales(2). Son plan reste carré pendant la
première moitié du XIIIe siècle, mais alors il n'est plus décoré que par
des profils d'une coupe très-mâle (3), débordant toujours les feuillages
et ornements du chapiteau. L'exemple que nous donnons ici est tiré du
choeur de l'église de Vézelay, bâti de 1200 à 1210.
Vers le milieu du XIIIe siècle, lorsque les arcs sont refouillés de moulures accentuées présentant en coupe des saillies comprises dans des polygones, les abaques inscrivent ces nouvelles formes (4). alors les feuillages des chapiteaux débordent la saillie des tailloirs. (Église de Semur en Auxois et cathédrale de Nevers.)
On rencontre souvent des abaques circulaires dans les édifices de la
province de Normandie, à la cathédrale de Coutances, à Bayeux, à Eu, au
Mont-Saint-Michel; les abaques circulaires apparaissent vers le milieu
du XIIIe siècle: les profils en sont hauts, profondément refouillés,
comme ceux des chapiteaux anglais de la même époque. Quelquefois dans
les chapiteaux des meneaux de fenêtres (comme à la Sainte-Chapelle du
Palais, comme à la cathédrale d'Amiens, comme dans les fenêtres des
chapelles latérales de la cathédrale de Paris), de 1230 à 1250, les
abaques sont circulaires (5).
Vers la fin du XIIIe siècle les abaques diminuent peu à peu d'importance: ils deviennent bas, maigres, peu saillants pendant le XIVe siècle (6), et disparaissent presque entièrement pendant le XVe (7). Puis, sous l'influence de l'architecture antique, les abaques reprennent de l'importance au commencement du XVIe siècle. (Voy. CHAPITEAU.)

Pendant la période romane et la première moitié du XIIIe siècle, les
abaques ne font pas partie du chapiteau; ils sont pris dans une autre
assise de pierre; ils remplissent réellement la fonction d'une tablette
servant de support et de point d'appui aux sommiers des arcs. Depuis le
milieu du XIIIe siècle jusqu'à la renaissance, en perdant de leur
importance comme moulure, les abaques sont, le plus souvent, pris dans
l'assise du chapiteau; quelquefois même les feuillages qui décorent le
chapiteau viennent mordre sur les membres inférieurs de leurs profils au
XVe siècle, les ornements enveloppent la moulure de l'abaque, qui se
cache sous cet excès de végétation. Le rapport entre la hauteur du
profil de l'abaque et le chapiteau, entre la saillie et le galbe de ses
moulures et la disposition des feuillages ou ornements, est fort
important à observer; car ces rapports et le caractère de ces moulures
se modifient non-seulement suivant les progrès de l'architecture du
moyen âge, mais aussi suivant la place qu'occupent les chapiteaux. Au
XIIIe siècle principalement, les abaques sont plus ou moins épais, et
leurs profils sont plus ou moins compliqués, suivant que les chapiteaux
sont placés plus ou moins près du sol. Dans les parties élevées des
édifices, les abaques sont très-épais, largement profilés, tandis que
dans les parties basses ils sont plus minces et finement moulurés.

ABAT-SONS, s. m. C'est le nom que l'on donne aux lames de bois recouvertes de plomb ou d'ardoises qui sont attachées aux charpentes des beffrois pour les garantir de la pluie, et pour renvoyer le son des cloches vers le sol. Ce n'est guère que pendant le XIIIe siècle que l'on a commencé à garnir les beffrois d'abat-sons. Jusqu'alors les baies des clochers étaient petites et étroites; les beffrois restaient exposés à l'air libre. On ne trouve de traces d'abat-sons antérieurs au XVe siècle que dans les manuscrits (1). Ils étaient souvent décorés d'ajours, de dents de scie (2) à leur extrémité inférieure, ou de gaufrures sur les plombs.
ABAT-VOIX, s. m. (Voy. CHAIRE.)
ABBAYE, s.f. (Voy. ARCHITECTURE MONASTIQUE.)


ABSIDE, s. f. C'est la partie qui termine le choeur d'une église, soit par un hémicycle, soit par des pans coupés, soit par un mur plat. Bien que le mot abside ne doive rigoureusement s'appliquer qu'à la tribune ou cul-de-four qui clôt la basilique antique, on l'emploie aujourd'hui pour désigner le chevet, l'extrémité du choeur, et même les chapelles circulaires ou polygonales des transepts ou du rond-point. On dit: chapelles absidales, c'est-à-dire chapelles ceignant l'abside principale; abside carrée: la cathédrale de Laon, l'église de Dol (Bretagne), sont terminées par des absides carrées, ainsi que beaucoup de petites églises de l'Ile-de-France, de Champagne, de Bourgogne, de Bretagne et de Normandie. Certaines églises ont leurs croisillons terminés par des absides semi-circulaires, tels sont les transepts des cathédrales de Noyon, de Soissons, de Tournay, en Belgique; des églises de Saint-Macaire, près Bordeaux; de Saint-Martin de Cologne, toutes églises bâties pendant le XIIe siècle ou au commencement du XIIIe. Dans le midi de la France la disposition de l'abside de la basilique antique se conserve plus longtemps que dans le nord; les absides sont généralement dépourvues de bas-côtés et de chapelles rayonnantes jusque vers le milieu du XIIIe siècle; leurs voûtes en cul-de-four sont plus basses que celles du transept, telles sont les absides des cathédrales d'Avignon, des églises du Thor (1) (Vaucluse), de Chauvigny (Basse), dans le Poitou (2), d'Autun, de Cosne-sur-Loire (3), des églises de l'Angoumois et de la Saintonge, et, plus tard, celles des cathédrales de Lyon, de Béziers, de la cité de Carcassonne, de Viviers

Mais il est nécessaire de remarquer que les absides des églises de Provence sont généralement bâties sur un plan polygonal, tandis que celles des provinces plus voisines du nord sont élevées sur un plan circulaire. Dans les provinces du centre l'influence romaine domine, tandis qu'en Provence et en remontant le Rhône et la Saône c'est l'influence gréco-byzantine qui se fait sentir jusqu'au XIIIe siècle.
Cependant, dès la fin du XIe siècle, on voit des bas-côtés et des
chapelles rayonnantes circonscrire les absides de certaines églises de
l'auvergne, du Poitou, du centre de la France; ce mode s'étend pendant
le XIIe siècle jusqu'à Toulouse. Telles sont les absides de
Saint-Hilaire de Poitiers (4), de Notre-Dame du Port, à Clermont; de
Saint-Étienne de Nevers; de Saint-Sernin de Toulouse. Dans
l'Île-de-France, en Normandie, sauf quelques exceptions: les absides des
églises ne se garnissent guère de chapelles rayonnantes que vers le
commencement du XIIIe siècle, et souvent les choeurs sont seulement
entourés de bas-côtés simples, comme dans les églises de Mantes et de
Poissy, ou doubles ainsi que cela existait autrefois à la cathédrale de
Paris, avant l'adjonction des chapelles du XIVe siècle (5). On voit
poindre les chapelles absidales dans les grands édifices appartenant au
style de l'Île-de-France à Chartres et à Bourges (6); ces chapelles sont
alors petites, espacées; ce ne sont guère que des niches moins élevées
que les bas-côtés.

Ce n'est point là cependant une règle générale: l'abside de l'église de
Saint-Denis possède des chapelles qui datent du XIIe siècle, et prennent
déjà une grande importance; il en est de même dans le choeur de l'église
de Saint-Martin-des-Champs, à Paris (7). Ce plan présente une
particularité, c'est cette travée plus large percée dans l'axe du choeur,
et cette grande chapelle centrale. Ici comme à Saint-Denis, comme dans
les églises de Saint-Remy de Reims, et de Vézelay(8), constructions
élevées pendant le XIIe siècle ou les premières années du XIIIe, on
remarque une disposition de chapelles qui semble appartenir aux églises
abbatiales. Ces chapelles sont largement ouvertes sur le bas-côté, peu
profondes, et sont en communication entre elles par une sorte de double
bas-côté étroit, qui produit en exécution un grand effet.

C'est pendant le cours du XIIIe siècle que les chapelles absidales
prennent tout leur développement. Les chevets des cathédrales de Reims,
d'Amiens (9) et de Beauvais, élevés de 1230 à 1270 nous en ont laissé de
remarquables exemples.
C'est alors que la chapelle absidale, placée dans l'axe de l'église et dédiée à la sainte-Vierge, commence à prendre une importance qui s'accroît pendant le XIVe siècle, comme à Saint-Ouen de Rouen (10), pour former bientôt une petite église annexée au chevet de la grande, comme à la cathédrale de Rouen, et, plus tard, dans presque toutes les églises du XVe siècle.



Les constructions des absides et chapelles absidales qui conservent le
plan circulaire dans les édifices antérieurs au XIIIe siècle,
abandonnent ce parti avec la tradition romane, pour se renfermer dans le
plan polygonal plus facile à combiner avec le système des voûtes à
nervures alors adopté, et avec l'ouverture des grandes fenêtres à
meneaux, lesquelles ne peuvent s'appareiller sur un plan circulaire.
En France, les absides carrées ne se rencontrent guère que dans des édifices d'une médiocre importance. Toutefois, nous avons cité la cathédrale de Laon et l'église de Dol, qui sont terminées par des absides carrées et un grand fenestrage comme la plupart des églises anglaises.
Ce mode de clore le chevet des églises est surtout convenable pour des édifices construits avec économie et sur de petites dimensions. Aussi a-t-il été fréquemment employé dans les villages ou petites bourgades, particulièrement dans le nord et la Bourgogne. Nous citerons les absides carrées des églises de Montréal (Yonne), XIIe siècle; de Vernouillet (11), XIIIe siècle, de Gassicourt, XIVe siècle, près Mantes; de Tour (12), fin du XIVe siècle, près Bayeux; de Clamecy, XIIIe siècle, circonscrite par le bas-côté.
Nous mentionnerons aussi les églises à absides jumelles; nous en connaissons plusieurs exemples, et, parmi les plus remarquables, l'église de Varen, XIIe siècle (Tarn-et-Garonne) et l'église du Thor, à Toulouse, fin du XIVe (13). Dans les églises de fondation ancienne, c'est toujours sous l'abside que se trouvent placées les cryptes; aussi le sol des absides, autant par suite de cette disposition que par tradition, se trouve-t-il élevé de quelques marches au-dessus du sol de la nef et du transept. Les églises de Saint-Denis en France et de Saint-Benoît-sur-Loire, présentent des exemples complets de cryptes réservées sous les absides, et construites de manière à relever le pavé des ronds-points de quinze à vingt marches au-dessus du niveau du transept. (Voy. CRYPTE.)
Parmi les absides les plus remarquables et les plus complètes, on peut citer celles des églises d'Ainay à Lyon, de l'Abbaye-aux-Dames à Caen, de Notre-Dame-du-Port à Clermont, de Saint-Sernin à Toulouse, XIe et XIIe siècles; de Brioude, de Fontgombaud, des cathédrales de Paris, de Reims, d'Amiens, de Bourges, d'Auxerre, de Chartres, de Beauvais, de Séez; des églises de Pontigny, de Vézelay, de Semur en Auxois, XIIe et XIIIe siècles; des cathédrales de Limoges, de Narbonne, d'Alby; des églises de Saint-Ouen de Rouen, XIVe siècle; de la cathédrale de Toulouse, de l'église du Mont-Saint-Michel-en-mer, XVe siècle; des églises de Saint-Pierre de Caen, de Saint-Eustache de Paris, de Brou, XVIe. Généralement les absides sont les parties les plus anciennes des édifices religieux: 1° parce que c'est par là que la construction des églises a été commencée; 2° parce qu'étant le lieu saint, celui où s'exerce le culte, on a toujours dû hésiter à modifier des dispositions traditionnelles; 3° parce que par la nature même de la construction, cette partie des monuments religieux du moyen âge est la plus solide, celle qui résiste le mieux aux poussées des voûtes, aux incendies, et qui se trouve dans notre climat, tournée vers la meilleure exposition.
Il est cependant des exceptions à cette règle, mais elles sont assez rares, et elles ont été motivées par des accidents particuliers, ou parce que des sanctuaires anciens ayant été conservés pendant que l'on reconstruisait les nefs, on a dû après que celles-ci étaient élevées, rebâtir les absides pour les remettre en harmonie avec les nouvelles dispositions.
ACCOLADE, s. f. On donne ce nom à certaines courbes qui couronnent les
linteaux des portes et fenêtres, particulièrement dans l'architecture
civile. Ce n'est guère que vers la fin du XIVe siècle que l'on commence
à employer ces formes engendrées par des arcs de cercle, et qui semblent
uniquement destinées à orner les faces extérieures des linteaux. Les
accolades sont, à leur origine, à peine apparentes (1); plus tard, elles
se dégagent, sont plus accentuées (2); puis, au commencement du XVIe
siècle, prennent une grande importance (3), et accompagnent presque
toujours les couronnements des portes, les arcatures, décorent les
sommets des lucarnes de pierre, se retrouvent dans les plus menus
détails des galeries, des balustrades, des pinacles, des clochetons.
Cette courbe se trouve appliquée indifféremment aux linteaux de pierre
ou de bois, dans l'architecture domestique.



ACCOUDOIR, s. m. C'est le nom que l'on donne à la séparation des stalles, et qui permet aux personnes assises de s'accouder lorsque les miséricordes sont relevées. (Voy. STALLES.) Les accoudoirs des stalles sont toujours élargis à leur extrémité en forme de spatule pour permettre aux personnes assises dans deux stalles voisines de s'accouder sans se gêner réciproquement (1). Les accoudoirs sont souvent supportés, soit par des animaux, des têtes, des figures ou par des colonnettes (2). On voit encore de beaux accoudoirs dans les stalles de la cathédrale de Poitiers, des églises de Notre-Dame-de-la-Roche, de Saulieu, XIIIe siècle; dans celles des églises de Bamberg, d'Anellau, de l'abbaye de Chaise-Dieu, de Saint-Géréon de Cologne, XIVe siècle; de Flavigny, de Gassicourt, de Simorre, XVe siècle; des cathédrales d'Alby, d'Auch, d'Amiens, des églises de Saint-Bertrand de Comminges, de Montréal (Yonne), de Saint-Denis en France, provenant du château de Gaillon, XVIe siècle.
AGRAFE, s. f. C'est un morceau de fer ou de bronze qui sert à relier ensemble deux pierres. (Voy. CRAMPON.)
AIGUILLE, s. f. On donne souvent ce nom à la terminaison pyramidale d'un clocher ou d'un clocheton, lorsqu'elle est fort aiguë; on désigne aussi par aiguille l'extrémité du poinçon d'une charpente qui perce le comble et se décore d'ornements de plomb. (Voy. FLÈCHE, POINÇON.)
ALBATRE s. m. Cette matière a été fréquemment employée dans le moyen
âge, du milieu du XIIIe siècle au XVIe, pour faire des statues de
tombeaux et souvent même les bas-reliefs décorant ces tombeaux, des
ornements découpés se détachant sur du marbre noir (1), et des retables,
vers la fin du XVe siècle. L'exemple que nous donnons ici provient des
magasins de Saint-Denis. Il existe, dans la cathédrale de Narbonne, une
statue de la sainte Vierge, plus grande que nature, en albâtre oriental,
du XIVe siècle, qui est un véritable chef-d'oeuvre. Les belles statues
d'albâtre de cette époque, en France, ne sont pas rares; malheureusement
cette matière ne résiste pas à l'humidité. Au Louvre, dans le Musée des
monuments français, dans l'église de Saint-Denis, on rencontre de belles
statues d'albâtre provenant de tombeaux. Les artistes du moyen âge
polissaient toujours l'albâtre lorsqu'ils l'employaient pour la
statuaire, mais à des degrés différents. Ainsi, souvent les nus sont
laissés à peu près mats et les draperies polies, quelquefois c'est le
contraire qui a lieu. Souvent aussi on dorait et on peignait la
statuaire en albâtre, par parties, en laissant aux nus la couleur
naturelle. Le Musée de Toulouse renferme de belles statues d'albâtre
arrachées à des tombeaux; il en a une surtout d'un archevêque de
Narbonne, en albâtre gris, de la fin du XIVe siècle, qui est d'une
grande beauté; la table sur laquelle repose cette figure était incrustée
d'ornements de métal, probablement de cuivre doré, dont on ne trouve que
les attaches. (Voy. TOMBES, STATUES.)
ALIGNEMENT, s. m. De ce que la plupart des villes du moyen âge se sont élevées successivement sur des cités romaines ou sur les villages gaulois, au milieu des ruines ou à l'entour de mauvaises cabanes, on en a conclu, un peu légèrement, que l'édilité au moyen âge n'avait aucune idée de ce que nous appelons aujourd'hui les alignements des rues d'une ville, que chacun pouvait bâtir à sa fantaisie en laissant devant sa maison l'espace juste nécessaire à la circulation. Il n'en est rien. Il existe, en France, un assez grand nombre de villes fondées d'un jet pendant les XIIe, XIIIe et XIVe siècles, qui sont parfaitement alignées, comme le sont les villes de l'Amérique du nord, bâties par les émigrants européens.
Le pouvoir féodal n'avait pas à sa disposition les lois d'expropriation pour cause d'utilité publique; et quand, par suite de l'agglomération successive des maisons, une ville se trouvait mal alignée, ou plutôt ne l'était pas du tout, il fallait bien en prendre son parti; car si tout le monde souffrait de l'étroitesse des rues, et de leur irrégularité, personne n'était disposé, pas plus qu'aujourd'hui, à démolir sa maison bénévolement, à céder un pouce de terrain pour élargir la voie publique ou rectifier un alignement. Le représentant suprême du pouvoir féodal, le roi, à moins de procéder à l'alignement d'une vieille cité par voie d'incendie, comme Néron à Rome, ce qui n'eût pas été du goût des bourgeois, n'avait aucun moyen de faire élargir et rectifier les rues de ses bonnes villes.

Philippe Auguste, en se mettant à l'une des fenêtres de son Louvre, par une de ces belles matinées de printemps où le soleil attire à lui toute l'humidité du sol, eut, dit-on, son odorat tellement offensé par la puanteur qui s'exhalait des rues de Paris, qu'il résolut de les empierrer pour faciliter l'écoulement des eaux. De son temps, en effet, on commença à paver les voies publiques; il pouvait faire paver des rues qui se trouvaient sur son domaine, mais il n'eût pu, même à prix d'argent, faire reculer la façade de la plus médiocre maison de sa capitale, sans le consentement du propriétaire. Il ne faut donc pas trop taxer nos aïeux d'instincts désordonnés, mais tenir compte des moeurs et des habitudes de leur temps, de leur respect pour ce qui existait, avant de les blâmer. Ce n'était pas par goût qu'ils vivaient au milieu de rues tortueuses et mal nivelées, car lorsqu'ils bâtissaient une ville neuve, ils savaient parfaitement la percer, la garnir de remparts réguliers, d'édifices publics, y réserver des places avec portiques, y élever des fontaines et des aqueducs. Nous pourrons citer comme exemples les villes d'Aigues-Mortes, la ville neuve de Carcassonne, Villeneuve-le-Roy, Villeneuve l'Archevêque en Champagne, la ville de Montpazier en Périgord, dont nous donnons le plan (1); la ville de Sainte-Foy (Gironde). Toutes villes bâties pendant le XIIIe siècle.
ALLÈGE, s.m. Mur mince servant d'appui aux fenêtres, n'ayant que l'épaisseur du tableau, et sur lequel portent les colonnettes ou meneaux qui divisent la croisée dans les édifices civils (1). Pendant les XIe, XIIe et XIIIe siècles, les allèges des croisées sont au nu du parement extérieur du mur de face.


Au XIVe siècle, la moulure ou les colonnettes qui servent de pied-droit à la fenêtre et l'encadrent, descendent jusqu'au bandeau posé à hauteur de plancher, et l'allège est renfoncé (2), indiquant bien ainsi qu'il n'est qu'un remplissage ne tenant pas au corps de la construction. Au XVe siècle, l'allège est souvent décoré par des balustrades aveugles, comme on le voit encore dans un grand nombre de maisons de Rouen, à la maison de Jacques Coeur à Bourges (3); au XVIe siècle, d'armoiries, de chiffres, de devises et d'emblèmes, comme à l'ancien hôtel de la cour des comptes de Paris (4), bâti par Louis XII, et dans quelques maisons d'Orléans. La construction de cette partie des fenêtres suit ses transformations. Dans les premiers temps, les assises sont continuées, et l'allège fait corps avec les parements extérieurs; plus tard, lorsque les allèges sont accusés à l'extérieur, ils sont faits d'un seul morceau posé en délit; quelquefois même, le meneau descend jusqu'au bandeau du plancher, et les deux parties de l'allège ne sont que des remplissages, deux dalles posées de champ, parfaitement propres à recevoir de la sculpture.
ÂMES (Les), s. f. La statuaire du moyen âge personnifie fréquemment les
âmes. Dans les bas-reliefs représentant le jugement dernier (voy.
JUGEMENT DERNIER), dans les bas-reliefs légendaires, les vitraux, dans
les tombeaux, les âmes sont représentées par des formes humaines,
jeunes, souvent drapées, quelquefois nues. Parmi les figures qui
décorent les voussures des portes principales de nos églises, dans le
tympan desquelles se trouve placé le jugement dernier, à la droite de
Notre-Seigneur, on remarque souvent Abraham portant des groupes d'élus
dans le pan de son manteau (1); ce sont de petites figures nues, ayant
les bras croisés sur la poitrine ou les mains jointes. Dans le curieux
bas-relief qui remplit le fond de l'arcade du tombeau de Dagobert à
Saint-Denis (tombeau élevé par saint Louis), on voit représentée, sous
la forme d'un personnage nu, ayant le front ceint d'une couronne, l'âme
de Dagobert soumise à diverses épreuves avant d'être admise au ciel.

Dans presque tous les bas-reliefs de la mort de la sainte Vierge, sculptés pendant les XIIIe et XIVe siècles, Notre-Seigneur assiste aux derniers moments de sa mère, et porte son âme entre ses bras comme on porte un enfant. Cette âme est représentée alors sous la figure d'une jeune femme drapée et couronnée. Ce charmant sujet, empreint d'une tendresse toute divine, devait inspirer les habiles artistes de cette époque; il est toujours traité avec amour et exécuté avec soin. Nous donnons un bas-relief en bois du XIIIe siècle existant à Strasbourg, et dans lequel ce sujet est habilement rendu (2). On voit, dans la chapelle du Liget (Indre-et-Loire), une peinture du XIIe siècle de la mort de la Vierge; ici l'âme est figurée nue; le Christ la remet entre les bras de deux anges qui descendent du ciel.
Dans les vitraux et les peintures, la possession des âmes des morts est souvent disputée entre les anges et les démons; dans ce cas, l'âme que l'on représente quelquefois sortant de la bouche du mourant est toujours figurée les mains jointes, et sous la figure humaine jeune et sans sexe.
AMORTISSEMENT, s. m. Mot qui s'applique au couronnement d'un édifice, à la partie d'architecture qui termine une façade, une toiture, un pignon, un contre-fort; il est particulièrement employé pour désigner ces groupes, ces frontons contournés décorés de vases, de rocailles, de consoles et de volutes, si fréquemment employés pendant le XVIe siècle dans les parties supérieures des façades des édifices, des portes, des coupoles, des lucarnes.

Dans la période qui précède la renaissance, le mot amortissement est également appliquable à certains couronnements ou terminaisons; ainsi, on peut considérer l'extrémité sculptée de la couverture en dallage de l'abside de l'église du Thor (Vaucluse), comme un amortissement (1); de même que certains fleurons qui sont placés à la pointe des pignons pendant les XIIIe (2), XIVe et XVe siècles. Les têtes des contre-forts des chapelles absidales de la cathédrale d'Amiens, XIIIe siècle (3), sont de véritables amortissements.
ANCRE, s. f. Pièce de fer placée à l'extrémité d'un chaînage pour maintenir l'écartement des murs. (Voy. CHAÎNAGE.) Les ancres étaient bien rarement employées dans les constructions antérieures au XVe siècle; les crampons scellés dans les pierres, et les rendant solidaires, remplaçaient alors les chaînages. Mais dans les constructions civiles du XVe siècle, on voit souvent des ancres apparentes placées de manière à retenir les parements extérieurs des murs. Ces ancres affectent alors des formes plus ou moins riches, présentant des croix ancrées (1), des croix de Saint-André (2); quelquefois, dans des maisons particulières, des lettres (3), des rinceaux (4).

On a aussi employé, dans quelques maisons du XVe siècle, bâties avec économie, des ancres de bois, retenues avec des clefs également de bois (5), et reliant les solives des planchers avec les sablières hautes et basses des pans de bois de face.
ANGE, s. m. Les représentations d'anges ont été fréquemment employées dans les édifices du moyen âge soit religieux, soit civils. Sans parler ici des bas-reliefs, vitraux et peintures, tels que les Jugements Derniers, les Histoires de la sainte Vierge, les Légendes, où ils trouvent naturellement leur place, ils jouent un grand rôle dans la décoration extérieure et intérieure des églises. Les anges se divisent en neuf choeurs et en trois ordres: le premier ordre comprend les Trônes, les Chérubins, les Séraphins; le deuxième: les Dominations, les Vertus, les Puissances; le troisième: les Principautés, les Archanges, les Anges.

La cathédrale de Chartres présente un bel exemple sculpté de la
hiérarchie des anges au portail méridional, XIIIe siècle. La porte nord
de la cathédrale de Bordeaux donne aussi une série d'anges complète,
dans ses voussures. La chapelle de Vincennes en offre une autre du XVe
siècle. Comme peinture, il existe dans l'église de Saint-Chef (Isère)
une représentation de la hiérarchie des anges qui date du XIIe siècle
(voir pour de plus amples détails la savante dissertation de M. Didron
dans le Manuel d'Iconographie chrétienne p. 71).
À la cathédrale de
Reims, on voit une admirable série de statues d'anges placées dans les
grands pinacles des contre-forts (1). Ces anges sont représentés drapés,
les ailes ouvertes, nu-pieds, et tenant dans leurs mains le soleil et la
lune, les instruments de la Passion de N. S. ou les différents objets
nécessaires au sacrifice de la sainte messe. À la porte centrale de la
cathédrale de Paris, au-dessus du Jugement Dernier, deux anges de
dimensions colossales, placés des deux côtés du Christ triomphant,
tiennent les instruments de la Passion. La même disposition se retrouve
à la porte nord de la cathédrale de Bordeaux (2); à Chartres, à Amiens
(voy. JUGEMENT DERNIER). À la cathédrale de Nevers, des anges sont
placés à l'intérieur, dans les tympans du triforium (3). À la
Sainte-Chapelle de Paris, des anges occupent une place analogue dans
l'arcature inférieure; ils sont peints et dorés, se détachent sur des
fonds incrustés de verre bleu avec dessins d'or, et tiennent des
couronnes entre les sujets peints représentant des martyrs (4). À la
porte centrale de la cathédrale de Paris, bien que la série ne soit pas
complète et qu'on ne trouve ni les séraphins ni les chérubins, les deux
premières voussures sont occupées par des anges qui sortant à mi-corps
de la gorge ménagée dans la moulure, semblent assister à la grande scène
du Jugement Dernier, et forment, autour du Christ triomphant, comme une
double auréole d'esprits célestes. Cette disposition est unique, et ces
figures, dont les poses sont pleines de vérité et de grâce, ont été
exécutées avec une perfection inimitable, comme toute la sculpture de
cette admirable porte.
Au Musée de Toulouse, on voit un ange fort beau, du XIIe siècle, en
marbre (5), provenant d'une annonciation; il est de grandeur naturelle,
tient un sceptre de la main gauche, et ses pieds nus portent sur un
dragon dévorant un arbre feuillu; il est nimbé; les manches de sa
tunique sont ornées de riches broderies.
Au-dessus du Christ triomphant de la porte nord de la cathédrale de Bordeaux, XIIIe siècle, on remarque deux anges en pied, tenant le soleil et la lune (6); cette représentation symbolique se trouve généralement employée dans les crucifiements (voy. CRUCIFIEMENT). Dans la cathédrale de Strasbourg, il existe un pilier, dit «Pilier des Anges,» au sommet duquel sont placées des statues d'anges sonnant de la trompette, XIIIe siècle (7). Ces anges sont nimbés.

Sur les amortissements qui terminent les pignons ou gâbles à jour des chapelles du XIVe siècle de l'abside de la cathédrale de Paris, on voyait autrefois une série d'anges jouant de divers instruments de musique; ce motif a été fréquemment employé dans les églises des XIVe et XVe siècles. Les anges sont souvent thuriféraires; dans ce cas, ils sont placés à côté du Christ, de la sainte Vierge, et même quelquefois à côté des saints martyrs. À la Sainte-Chapelle, les demi-tympans de l'arcature basse sont décorés de statues d'anges à mi-corps sortant d'une nuée, et encensant les martyrs peints dans les quatre-feuilles de ces arcatures (8). Presque toujours, de la main gauche, ils tiennent une navette.
La plupart des maître-autels des cathédrales ou principales églises de France étaient encore, il y a un siècle, entourés de colonnes en cuivre, surmontées de statues d'anges également en métal, tenant les instruments de la Passion ou des flambeaux (voy. AUTEL).
Les sommets des flèches en bois, recouvertes de plomb, ou l'extrémité
des croupes des combles des absides, étaient couronnés de figures
d'anges en cuivre ou en plomb, qui sonnaient de la trompette, et, par la
manière dont leurs ailes étaient disposées, servaient de girouettes. Il
existait à Chartres et à la Sainte-Chapelle du Palais, avant les
incendies des charpentes, des anges ainsi placés. Des anges sonnant de
la trompette sont quelquefois posés aux sommets des pignons, comme à
Notre-Dame de Paris; aux angles des clochers, comme à l'église de
Saint-Père-sous-Vézelay. À la base de la flèche en pierre de l'église de
Semur-en-Auxois, quatre anges tiennent des outres suivant le texte de
l'apocalypse (chap. VII): «.... Je vis quatre anges qui se tenaient
aux quatre coins de la terre, et qui retenaient les quatre vents du
monde....» La flèche centrale de l'église de l'abbaye du
Mont-Saint-Michel était couronnée autrefois par une statue colossale de
l'archange saint Michel terrassant le démon, qui se voyait de dix lieues
en mer.
Dans les constructions civiles, on a abusé des représentations d'anges pendant les XVe et XVIe siècles. On leur a fait porter des armoiries, des devises; on en a fait des supports, des culs-de-lampe. Dans l'intérieur de la clôture du choeur de la cathédrale d'Alby, qui date du commencement du XVIe siècle, on voit, au-dessus des dossiers des stalles, une suite d'anges tenant des phylactères (9).
ANIMAUX, s. m. Saint Jean (apocalypse, chap. IV et V) voit dans le ciel entr'ouvert le trône de Dieu entouré de vingt-quatre vieillards vêtus de robes blanches, avec des couronnes d'or sur leurs têtes, des harpes et des vases d'or entre leurs mains; aux quatre angles du trône, sont quatre animaux ayant chacun six ailes et couverts d'yeux devant et derrière: le premier animal est semblable à un lion, le second à un veau, le troisième à un homme, le quatrième à un aigle.

Cette vision mystérieuse fut bien des fois reproduite par la sculpture et la peinture pendant les XIIe, XIIIe, XIVe et XVe siècles. Cependant, elle ne le fut qu'avec des modifications importantes.
On fit, dès les premiers siècles
du christianisme, des quatre animaux, la personnification des quatre
évangélistes: le lion à saint Marc, le veau à saint Luc, l'ange (l'homme
ailé) à saint Matthieu, l'aigle à saint Jean; cependant saint Jean, en
écrivant son Apocalypse, ne pouvait songer à cette personnification
puisque alors les quatre évangiles n'étaient pas écrits. Toutefois,
l'Apocalypse étant considérée comme une prophétie, ces quatre animaux
sont devenus, vers le VIIe siècle, la personnification ou le signe des
évangélistes. Pendant le XIIe siècle, la sculpture, déjà fort avancée
comme art, est encore toute symbolique; le texte de saint Jean est assez
exactement rendu. Au portail occidental de l'église de Moissac, on voit
représenté sur le tympan de la porte le Christ sur un trône, entouré des
quatre animaux nimbés, tenant des phylactères, mais ne possédant chacun
que deux ailes, et dépourvus de ces yeux innombrables; au-dessous du
Christ, dans le linteau, sont sculptés les vingt-quatre vieillards. Au
portail royal de la cathédrale de Chartres (1), on voit aussi le Christ
entouré des quatre animaux seulement. Les vingt-quatre vieillards sont
disposés dans les voussures de la porte. Au portail extérieur de
l'église de Vézelay, on retrouve, dans le tympan de la porte centrale,
les traces du Christ sur son trône, entouré des quatre animaux et des
vingt-quatre vieillards placés en deux groupes de chaque côté du trône.
Plus tard, au XIIIe siècle, les quatre animaux n'occupent plus que des
places très-secondaires. Ils sont placés comme au portail principal de
Notre-Dame de Paris, par exemple, sous les apôtres, aux quatre angles
saillants et rentrants des deux ébrasements de la porte. L'ordre observé
dans la vision de saint Jean se perd, et les quatre animaux ne sont plus
là que comme la personnification admise par tous, des quatre
évangélistes. On les retrouve aux angles des tours, comme à la tour
Saint-Jacques-la-Boucherie de Paris, XVIe siècle; dans les angles
laissés par les encadrements qui circonscrivent les roses, dans les
tympans des pignons, sur les contre-forts des façades, dans les clefs de
voûtes, et même dans les chapiteaux des piliers de choeurs.
Avant le XIIIe siècle, les quatre animaux sont ordinairement seuls;
mais, plus tard, ils accompagnent souvent les évangélistes qu'ils sont
alors destinés à faire reconnaître. Cependant, nous citerons un exemple
curieux de statues d'évangélistes de la fin du XIIe siècle, qui portent
entre leurs bras les animaux symboliques. Ces quatre statues sont
adossées à un pilier du cloître de Saint-Bertrand de Comminges (2).
La décoration des édifices religieux et civils présente une variété infinie d'animaux fantastiques pendant la période du moyen âge. Les bestiaires des XIIe et XIIIe siècles attribuaient aux animaux réels ou fabuleux des qualités symboliques dont la tradition s'est longtemps conservée dans l'esprit des populations, grâce aux innombrables sculptures et peintures qui couvrent nos anciens monuments; les fabliaux venaient encore ajouter leur contingent à cette série de représentations bestiales. Le lion, symbole de la vigilance, de la force et du courage; l'antula, de la cruauté; l'oiseau caladre, de la pureté; la sirène; le pélican, symbole de la charité; l'aspic, qui garde les baumes précieux et résiste au sommeil; la chouette, la guivre, le phénix; le basilic, personnification du diable; le dragon, auquel on prêtait des vertus si merveilleuses (voy. les Mélang. archéol. des RR. PP. Martin et Cahier), tous ces animaux se rencontrent dans les chapiteaux des XIIe et XIIIe siècles, dans les frises, accrochés aux angles des monuments, sur les couronnements des contre-forts, des balustrades.
À Chartres, à
Reims, à Notre-Dame de Paris, à Amiens, à Rouen, à Vézelay, à Auxerre,
dans les monuments de l'ouest ou du centre, ce sont des peuplades
d'animaux bizarres, rendus toujours avec une grande énergie. Au sommet
des deux tours de la façade de la cathédrale de Laon, les sculpteurs du
XIIIe siècle ont placé, dans les pinacles à jour, des animaux d'une
dimension colossale (3). Aux angles des contre-forts du portail de
Notre-Dame de Paris, on voit aussi sculptées d'énormes bêtes, qui, en se
découpant sur le ciel, donnent la vie à ces masses de pierre (4). Les
balustrades de la cathédrale de Reims sont surmontées d'oiseaux
bizarres, drapés, capuchonnés. Dans des édifices plus anciens, au XIIe
siècle, ce sont des frises d'animaux qui s'entrelacent, s'entre-dévorent
(5); des chapiteaux sur lesquels sont figurés des êtres étranges,
quelquefois moitié hommes, moitié bêtes; possédant deux corps pour une
tête, ou deux têtes pour un corps; les églises du Poitou, de la
Saintonge, de la Guyenne, les monuments romans de la Bourgogne et des
bords de la Loire, présentent une quantité prodigieuse de ces animaux,
qui, tout en sortant de la nature, ont cependant une physionomie à eux,
quelque chose de réel qui frappe l'imagination; c'est une histoire
naturelle à part, dont tous les individus pourraient être classés par
espèces. Chaque province possède ses types particuliers, qu'on retrouve
dans les édifices de la même époque; mais ces types ont un caractère
commun de puissance sauvage; ils sont tous empreints d'un sentiment
d'observation de la nature très-remarquable. Les membres de ces
créatures bizarres sont toujours bien attachés, rendus avec vérité;
leurs contours sont simples et rappellent la grâce que l'on ne peut se
lasser d'admirer dans les animaux de la race féline, dans les oiseaux de
proie, chez certains reptiles. Nous donnons ici un de ces animaux,
sculpté sur un des vantaux de porte de la cathédrale du Puy-en-Velay
(6). Ce tigre, ce lion, si l'on veut, est en bois; sa langue, suspendue
sur un axe, se meut au moyen d'un petit contre-poids quand on ouvre les
vantaux de la porte; il était peint en rouge et en vert. Il existe, sur
quelques chapiteaux et corbeaux de l'église Saint-Sernin de Toulouse,
une certaine quantité de ces singuliers quadrupèdes qui semblent
s'accrocher à l'architecture avec une sorte de frénésie; ils sont
sculptés de main de maître (7).
Au XIVe siècle, la sculpture, en
devenant plus pauvre, plus maigre, et se bornant presque à l'imitation
de la flore du nord, supprime en grande partie les animaux dans
l'ornementation sculptée ou peinte; mais, pendant le XVe siècle et au
commencement du XVIe, on les voit reparaître, imités alors plus
scrupuleusement sur la nature, et ne remplissant qu'un rôle
très-secondaire par leur dimension. Ce sont des singes, des chiens, des
ours, des lapins, des rats, des renards, des limaçons, des larves, des
lézards, des salamandres; parfois aussi, cependant, des animaux
fantastiques, contournés (8), exagérés dans leurs mouvements; tels sont
ceux que l'on voyait autrefois sculptés sur les accolades de l'hôtel de
La Trémoille, à Paris.

Les représentations des fabliaux deviennent plus fréquentes, et, quoique
fort peu décentes parfois, se retrouvent dans des chapiteaux, des
frises, des boiseries, des stalles, des jubés. La satire remplace les
traditions et les croyances populaires. Les artistes abusent de ces
détails, en couvrent leurs édifices sans motif ni raison, jusqu'au
moment où la Renaissance vient balayer tous ces jeux d'esprit usés, pour
y substituer ses propres égarements.
ANNELÉE (Colonne). (Voy. BAGUE.)
APOCALYPSE, s. f. Le livre de l'Apocalypse de saint Jean ne se prête guère à la sculpture; mais, en revanche, il ouvre un large champ à la peinture; aussi ces visions divines, ces prophéties obscures n'ont-elles été rendues en entier, dans le moyen âge, que dans des peintures murales ou des vitraux. Les roses des grandes églises, par leur dimension et la multiplicité de leurs compartiments, permettaient aux peintres-verriers de développer cet immense sujet. Nous citerons la rose occidentale de l'église de Mantes, dont les vitraux, qui datent du commencement du XIIIe siècle, reproduisent, avec une énergie remarquable, les visions de saint Jean. La rose de la Sainte-Chapelle du Palais, exécutée à la fin du XVe siècle, présente les mêmes sujets, rendus avec une excessive finesse. Parmi les peintures murales, devenues fort rares aujourd'hui en France, nous, mentionnerons celles du porche de l'église de Saint-Savin en Poitou, qui donnent quelques-unes des visions de l'Apocalypse. Ces peintures datent du commencement du XIIe siècle.
APOTRES, s. m. Dans le canon de la messe, les douze apôtres sont désignés dans l'ordre suivant: Pierre, Paul, André, Jacques, Jean, Thomas, Jacques, Philippe, Barthélemy, Matthieu, Simon et Taddée.

Toutefois, dans l'Iconographie chrétienne française du XIe au XVIe
siècle, cet ordre n'est pas toujours exactement suivi: Matthias, élu
apôtre à la place de Judas Iscariote (Actes des apôtres, chap. 1er),
remplace souvent Taddée; quelquefois Jacques le Mineur et Simon cèdent
la place aux deux évangélistes Luc et Marc; Paul ne peut trouver place
parmi les douze apôtres qu'en excluant l'un de ceux choisis par
Jésus-Christ lui-même, tel que Jude, par exemple. Il est donc fort
difficile de désigner les douze apôtres par leurs noms dans la statuaire
des XIe, XIIe et XIIIe siècles; plus tard les apôtres, portant les
instruments de leur martyre ou divers attributs qui les font distinguer,
on peut les désigner nominativement. Cependant, dès le XIIIe siècle,
dans la statuaire de nos cathédrales, quelques apôtres, sinon tous, sont
déjà désignés par les objets qu'ils tiennent entre leurs mains. Saint
Pierre porte généralement deux clefs, saint Paul une épée, saint André
une croix en sautoir, saint Jean quelquefois un calice, saint Thomas une
équerre, saint Jacques une aumônière garnie de coquilles et une épée ou
un livre, saint Philippe une croix latine, saint Barthélemy un coutelas,
saint Matthieu un livre ouvert. Ce n'est guère qu'à la fin du XIe siècle
ou au commencement du XIIe, que la figure de saint Pierre est
représentée tenant les clefs. Nous citerons le grand tympan de l'église
de Vézelay, qui date de cette époque, et dans lequel on voit saint
Pierre deux fois représenté tenant deux grandes clefs, à la porte du
paradis, et près du Christ. À la cathédrale de Chartres, portail
méridional, la plupart des apôtres tiennent des règles; à la cathédrale
d'Amiens, portail occidental, XIIIe siècle, les instruments de leur
martyre ou les attributs désignés ci-dessus. Quelquefois Paul, les
évangélistes, Pierre, Jacques et Jude, tiennent des livres fermés, comme
à la cathédrale de Reims; à Amiens, on voit une statue de saint Pierre
tenant une seule clef et une croix latine en souvenir de son martyre.
Les apôtres sont fréquemment supportés par de petites figures
représentant les personnages qui les ont persécutés, ou qui rappellent
des traits principaux de leur vie.
C'est surtout pendant les XIVe et XVe
siècles que les apôtres sont représentés avec les attributs qui aident à
les faire reconnaître, bien que ce ne soit pas là une règle absolue. Au
portail méridional de la cathédrale d'Amiens, le linteau de la porte est
rempli par les statues demi-nature des douze apôtres. Là ils sont
représentés dissertant entre eux: quelques-uns tiennent des livres,
d'autres des rouleaux déployés (1 et 1 bis). Ce beau bas-relief, que
nous donnons en deux parties, bien qu'il se trouve sculpté sur un
linteau et divisé seulement par le dais qui couronne la sainte Vierge,
est de la dernière moitié du XIIIe siècle. À l'intérieur de la clôture
du choeur de la cathédrale d'Alby (commencement du XVIe siècle), les
douze apôtres sont représentés en pierre peinte; chacun d'eux tient à la
main une banderole sur laquelle est écrit l'un des articles du Credo.
Guillaume Durand, au XIIIe siècle (dans le Rationale div. offic.), dit
que les apôtres, avant de se séparer pour aller convertir les nations,
composèrent le Credo, et que chacun d'eux apporta une des douze
propositions du symbole (voy. les notes de M. Didron, du Manuel
d'iconographie chrétienne, p. 299 et suiv.). On trouve souvent, dans
les édifices religieux du XIe au XVIe siècle, les légendes séparées de
quelques-uns des apôtres; on les rencontre dans les bas-reliefs et
vitraux représentant l'histoire de la sainte Vierge, comme à la
cathédrale de Paris, à la belle porte de gauche de la façade et dans la
rue du Cloître. À Semur en Auxois, dans le tympan de la porte
septentrionale (XIIIe siècle), est représentée la légende de saint
Thomas, sculptée avec une rare finesse.
Cette légende, ainsi que celle
de saint Pierre, se retrouve fréquemment dans les vitraux de cette
époque. En France, à partir du XIIe siècle, les types adoptés pour
représenter chacun des douze apôtres sont conservés sans trop
d'altérations jusqu'au XVe siècle. Ainsi, saint Pierre est toujours
représenté avec la barbe et les cheveux crépus, le front bas, la face
large, les épaules hautes, la taille petite; saint Paul chauve, une
mèche de cheveux sur le front, le crâne haut, les traits fins, la barbe
longue et soyeuse, le corps délicat, les mains fines et longues; saint
Jean imberbe, jeune, les cheveux bouclés, la physionomie douce; au XVe
et surtout au XVIe siècle, saint Pierre, lorsqu'il est seul, est souvent
vêtu en pape, la tiare sur la tête et les clefs à la main.
Parmi les plus belles statues d'apôtres, nous ne devons pas omettre celles qui sont adossées aux piles intérieures de la Sainte-Chapelle (XIIIe siècle), et qui portent toutes une des croix de consécration (2). Ces figures sont exécutées en liais, du plus admirable travail, et couvertes d'ornements peints et dorés imitant de riches étoffes rehaussées par des bordures semées de pierreries. Cet usage de placer les apôtres contre les piliers des églises et des choeurs particulièrement, était fréquent; nous citerons comme l'un des exemples les plus remarquables le choeur de l'ancienne cathédrale de Carcassonne du commencement du XIVe siècle. Les apôtres se plaçaient aussi sur les devants d'autels, sur les retables en pierre, en bois ou en métal. Sur les piliers des cloîtres, comme à Saint-Trophyme d'Arles, autour des chapiteaux de l'époque romane, sur les jubés, en gravure; dans les bordures des tombes, pendant les XIVe, XVe et XVIe siècles (3).

À la cathédrale de Paris, comme à Chartres, comme à Amiens, les douze apôtres se trouvent rangés dans les ébrasements des portes principales, des deux côtés du Christ homme, qui occupe le trumeau du centre; plus anciennement, dans les bas-reliefs des XIe et XIIe siècles, comme à Vézelay, ils sont assis dans le tympan, de chaque côté du Christ triomphant. À Vézelay, ils sont au nombre de dix seulement, disposés en deux groupes; des rayons partent des mains du Christ, et se dirigent vers les têtes nimbées des dix apôtres; la plupart d'entre eux tiennent des livres ouverts (4).
Au portail royal de Chartres, le tympan de gauche représente l'Ascension; les apôtres sont assis sur le linteau inférieur, tous ayant la tête tournée vers Notre-Seigneur, enlevé sur des nuées; quatre anges descendent du ciel vers les apôtres et occupent le deuxième linteau. Dans toutes les sculptures ou peintures du XIe au XVIe siècle, les apôtres sont toujours nu-pieds, quelle que soit d'ailleurs la richesse de leurs costumes; ils ne sont représentés coiffés que vers la fin du XVe siècle. L'exemple que nous avons donné plus haut, tiré du portail méridional d'Amiens (XIIIe siècle), et dans lequel on remarque un de ces apôtres, saint Jacques, la tête couverte d'un chapeau, est peut-être unique. Quant au costume, il se compose invariablement de la robe longue ou tunique non fendue à manches, de la ceinture, et du manteau rond, avec ou sans agrafes. Ce n'est guère qu'à la fin du XVe siècle que la tradition du costume se perd, et que l'on voit des apôtres couverts parfois de vêtements dont les formes rappellent ceux des docteurs de cette époque.
APPAREIL, s. m. C'est le nom que l'on donne à l'assemblage des pierres
de taille qui sont employées

dans la construction d'un édifice.
L'appareil varie suivant la nature des matériaux, suivant leur place;
l'appareil a donc une grande importance dans la construction, c'est lui
qui souvent commande la forme que l'on donne à telle ou telle partie de
l'architecture, puisqu'il n'est que le judicieux emploi de la matière
mise en oeuvre, en raison de sa nature physique, de sa résistance, de sa
contexture, de ses dimensions et des ressources dont on dispose.
Cependant chaque mode d'architecture a adopté un appareil qui lui
appartient, en se soumettant toutefois à des règles communes. Aussi
l'examen de l'appareil conduit souvent à reconnaître l'âge d'une
construction. Jusqu'au XIIe siècle l'appareil conserve les traditions
transmises par les constructeurs du Bas-Empire. Seulement on ne
disposait alors que de moyens de transport médiocres, les routes étaient
à peine praticables, les engins pour monter les matériaux insuffisants,
les constructions sont élevées en matériaux de petites dimensions,
faciles à monter; les murs, les contre-forts ne présentent que leurs
parements en pierre, les intérieurs sont remplis en blocages (1); les
matériaux mis en oeuvre sont courts, sans queues, et d'une hauteur donnée
par les lits de carrière; mais ces lits ne sont pas toujours observés à
la pose; parfois les assises sont alternées hautes et basses, les hautes
en délit et les basses sur leur lit. Ce mode d'appareil appartient plus
particulièrement au midi de la France. Dans ce cas, les assises basses
pénètrent plus profondément que les assises hautes dans le blocage, et
relient ainsi les parements avec le noyau de la maçonnerie. Les arcs
sont employés dans les petites portées, parce que les linteaux exigent
des pierres d'une forte dimension, et lourdes par conséquent (2). Les
tapisseries sont souvent faites en moellon piqué, tandis que les
pieds-droits des fenêtres, les angles, les contre-forts sont en pierre
appareillée. Ces constructions mixtes en moellon et pierre de taille se
rencontrent fréquemment encore pendant le XIIe siècle dans les bâtisses
élevées avec économie, dans les châteaux forts, les maisons
particulières, les églises des petites localités. La nature des
matériaux influe puissamment sur l'appareil adopté; ainsi dans les
contrées où la pierre de taille est résistante, se débite en grands
échantillons, comme en Bourgogne, dans le Lyonnais, l'appareil est
grand; les assises sont hautes, tandis que dans les provinces où les
matériaux sont tendres, où le débitage de la pierre est par conséquent
facile, comme en Normandie, en Champagne, dans l'Ouest, l'appareil est
petit, serré, les tailleurs de pierre, pour faciliter la pose,
n'hésitent pas à multiplier les joints. Une des qualités essentielles de
l'appareil adopté pendant les XIIe, XIIIe et XIVe siècles, c'est
d'éviter les évidements, les déchets de pierre; ainsi, par exemple, les
retours d'angles sont toujours appareillés en besace (3). Les piles
cantonnées de colonnes sont élevées, pendant les XIe et XIIe siècles,
par assises dont les joints se croisent, mais où les évidements sont
soigneusement évités (4). Plus tard, dans la première moitié du XIIIe
siècle, elles sont souvent formées d'un noyau élevé par assises, et les
colonnes qui les cantonnent sont isolées et composées d'une ou plusieurs
pierres posées en délit (5). Les lits des sommiers des arcs sont
horizontaux jusqu'au point où, se dégageant de leur pénétration commune,
ils se dirigent chacun de leur côté et forment alors une suite de
claveaux extradossés (6). Chaque membre d'architecture est pris dans une
hauteur d'assise, le lit placé toujours au point le plus favorable pour
éviter des évidements et des pertes de pierre; ainsi l'astragale au lieu
de tenir à la colonne, comme dans l'architecture romaine, fait partie du
chapiteau (7). La base conserve tous ses membres pris dans la même
pierre. Le larmier est séparé de la corniche (8). Les lits se trouvent
placés au point de jonction des moulures de socles avec les parements
droits (9). Dans les contrées où les matériaux de différentes natures
offrent des échantillons variés comme couleur, en Auvergne, par exemple,
on a employé le grès jaune ou le calcaire blanc, et la lave grise; de
manière à former des mosaïques sur les parements des constructions; les
églises de Notre-Dame-du-Port à Clermont (10), de Saint-Nectaire, du Puy
en Vélay, d'Issoire, présentent des appareils où les pierres de
différentes couleurs forment des dessins par la façon dont elles sont
assemblées. Pendant les XIe et XIIe siècles on a beaucoup fait usage de
ces appareils produits par des combinaisons géométriques; non-seulement
ces appareils compliqués ont été employés pour décorer des parements
unis, mais aussi dans la construction des arcs, ainsi qu'on peut le voir
dans quelques édifices du Poitou, de la Mayenne et des bords de la
Loire.

La porte occidentale de l'église Saint-Étienne de Nevers nous
donne un bel exemple de ces arcs appareillés, avec un soin tout
particulier (11).
Au XIIIe siècle ces recherches, qui sentent leur
origine orientale, disparaissent pour faire place à un appareil purement
rationnel, méthodique, résultat des besoins à satisfaire et de la nature
des matériaux; le principe est toujours d'une grande simplicité,
l'exécution pure, franche, apparente; les matériaux n'ont que les
dimensions exigées pour la place qu'ils occupent.
Le corps de la
construction est une bâtisse durable, les assises sont posées sur leurs
lits, tandis que tout ce qui est remplissage, décoration, meneaux,
roses, balustrades, galeries, est élevé en matériaux posés en délit,
sorte d'échafaudage de pierre indépendant de l'ossature de l'édifice,
qui peut être détruit ou remplacé sans nuire à sa solidité (voy.
CONSTRUCTION).
Rien ne démontre mieux ce principe que l'étude de
l'appareil d'une de ces grandes roses en pierre qui s'ouvrent sous les
voûtes des nefs et des transepts. Ces roses, comme toutes les fenêtres
à meneaux, ne sont que de véritables châssis de pierre que l'on peut
enlever et remplacer comme on remplace une croisée de bois, sans toucher
à la baie dans laquelle elle est enchâssée. Les divers morceaux qui
composent ces roses ou ces meneaux ne se maintiennent entre eux que par
les coupes des joints et par la feuillure dans laquelle ils viennent
s'encastrer. L'appareil de ces châssis de pierre est disposé de telle
façon que chaque fragment offre une grande solidité en évitant les trop
grands déchets de pierre (12) (voy. MENEAUX, ROSES). Les joints tendent
toujours aux centres des deux courbes intérieures sans tenir compte
souvent des centres des courbes maîtresses (13), afin d'éviter les
épaufrures qui seraient produites par des coupes maigres.
Du reste, les
meneaux comme les roses servent de cintres aux arcs qui les recouvrent
ou les entourent, et ces châssis de pierre ne peuvent sortir de leur
plan vertical à cause de la rainure ménagée dans ces arcs (14).
Quelquefois, comme dans les fenêtres des bas côtés de la nef de la
cathédrale d'Amiens par exemple, la rainure destinée à maintenir les
meneaux dans un plan vertical est remplacée par des crochets saillants
ménagés dans quelques-uns des claveaux de l'archivolte (15); ces
crochets intérieurs et extérieurs entre lesquels passe le meneau
remplissent l'office des pattes à scellement de nos châssis de bois.

Un des grands principes qui ont dirigé les constructeurs des XIIIe et XIVe siècles dans la disposition de leur appareil, ç'a été de laisser à chaque partie de la construction sa fonction, son élasticité, sa liberté de mouvement, pour ainsi dire. C'était le moyen d'éviter les déchirements dans des gigantesques monuments. Lorsque des arcs sont destinés à présenter une grande résistance à la pression, ils sont composés de plusieurs rangs de claveaux soigneusement extradossés et d'une dimension ordinaire (de 0m,30 à 0m,40 environ), sans liaisons entre eux, de manière à permettre à la construction de tasser, de s'asseoir sans occasionner des ruptures de voussoirs; ce sont autant de cercles concentriques indépendants les uns des autres, pouvant se mouvoir et glisser même les uns sur les autres (16).


De même qu'une réunion de planches de bois cintrées sur leur plat et concentriques, présente une plus grande résistance à la pression, par suite de leur élasticité et de la multiplicité des surfaces, qu'une pièce de bois homogène d'une dimension égale à ce faisceau de planches; de même ces rangs de claveaux superposés et extradossés sont plus résistants, et surtout conservent mieux leur courbe lorsqu'il se produit des tassements ou des mouvements, qu'un seul rang de claveaux dont la flèche serait égale à celle des rangs de claveaux ensemble. Nous devons ajouter que les coupes des claveaux des arcs sont toujours normales à la courbe. Dans les arcs formés de deux portions de cercle, vulgairement désignés sous le nom d'ogives, toutes les coupes des claveaux tendent aux centres de chacun des deux arcs (17), de sorte que dans les arcs dits en lancettes les lits des claveaux présentent des angles très-peu ouverts avec l'horizon (18). C'est ce qui fait que ces arcs offrent une si grande résistance à la pression et poussent si peu. L'intersection des deux arcs est toujours divisée par un joint vertical; il n'y a pas, à proprement parler, de clef; en effet, il ne serait pas logique de placer une clef à l'intersection de deux arcs qui viennent buter l'un contre l'autre à leur sommet, et l'ogive n'est pas autre chose.


La dernière expression du principe que nous avons émis plus haut se rencontre dans les édifices du XIVe siècle. L'appareil des membres de la construction qui portent verticalement diffère essentiellement de l'appareil des constructions qui buttent ou qui contribuent à la décoration. L'église de Saint-Urbain de Troyes nous donne un exemple très-remarquable de l'application de ce principe dans toute sa rigueur logique. La construction de cette église ne se compose réellement que de contre-forts et de voûtes; les contre-forts sont élevés par assises basses posées sur leurs lits; quant aux arcs-boutants, ce ne sont que des étais de pierre et non point des arcs composés de claveaux; les intervalles entre les contre-forts ne sont que des claires-voies en pierre comme de grands châssis posés en rainure entre ces contre-forts; les chéneaux sont des dalles portant sur la tête des contre-forts et soulagés dans leur portée par des liens en pierre formant des pignons à jour, comme seraient des liens de bois sous un poitrail; les décorations qui ornent les faces de ces contre-forts ne sont que des placages en pierre de champ posée en délit et reliée au corps de la construction de distance en distance, par des assises qui font partie de cette construction. Les murs des bas côtés ne sont que des cloisons percées de fenêtres carrées à meneaux, éloignées des formerets des voûtes. Les arêtes (arcs ogives) des voûtes des porches se composent de dalles de champ qui reçoivent sur un repos les triangles de ces voûtes, et, s'élevant au-dessus d'eux, sont taillées de manière à porter le dallage de la couverture comme le feraient les arêtiers d'une charpente.

Il semble que l'architecte de ce charmant édifice ait cherché, dans la disposition de l'appareil de ses constructions, à économiser autant que faire se peut la pierre de taille. Et cependant cette église porte ses cinq cents ans sans que sa construction ait notablement souffert, malgré l'abandon et des restaurations inintelligentes. La manière ingénieuse avec laquelle l'appareil a été conçu et exécuté a préservé cet édifice de la ruine, que son excessive légèreté semblait promptement provoquer. L'étude de l'appareil des monuments du moyen âge ne saurait donc être recommandée; elle est indispensable lorsqu'on veut les restaurer sans compromettre leur solidité, elle est utile toujours, car jamais cette science pratique n'a produit des résultats plus surprenants avec des moyens plus simples, avec une connaissance plus parfaite des matériaux, de leur résistance et de leurs qualités.
Dans les édifices du XIe au XVIe siècle, les linteaux ne sont
généralement employés que pour couvrir de petites ouvertures, et sont
alors d'un seul morceau. Dans les édifices civils particulièrement, où
les fenêtres et les portes sont presque toujours carrées, les liteaux
sont hauts, quelquefois taillés en triangle (19) pour mieux résister à
la pression, ou soulagés près de leur portée par des consoles tenant aux
pieds-droits (20). Quand ces linteaux doivent avoir une grande longueur,
comme dans les cheminées dont les manteaux souvent jusqu'à quatre ou
cinq mètres de portée, les linteaux sont appareillés en plates-bandes
(21) à joints simples ou à crossettes (22), ou à tenons (23). Les
constructeurs connaissaient donc alors la plate-bande appareillée, et
s'ils ne l'employaient que dans des cas exceptionnels et lorsqu'ils ne
pouvaient faire autrement, c'est qu'ils avaient reconnu les
inconvénients de ce genre d'appareil. D'ailleurs il existe du côté du
Rhin, là où les grès rouges des Vosges donnent des matériaux très
résistants et tenaces, un grand nombre de plates-bandes appareillées
dans des édifices des XIIe, XIIIe et XIVe siècles. Dans la portion du
château de Coucy, qui date du XVe siècle, on voit encore d'immenses
fenêtres carrées dont les linteaux, qui n'ont pas moins de quatre mètres
de portée, sont appareillés en claveaux, sans aucun ferrement pour les
empêcher de glisser. Mais ce sont là des exceptions; les portions d'arcs
de cercle sont toujours préférées par les appareilleurs anciens (24), du
moment que les portées sont trop grandes pour permettre l'emploi de
linteaux d'un seul morceau.

Depuis l'époque romane jusqu'au XVe siècle exclusivement on ne ravalait
pas les édifices, les pierres n'étaient point posées épannelées, mais
complètement taillées et achevées. Tout devait donc être prévu par
l'appareilleur sur le chantier avant la pose. Aussi jamais un joint ne
vient couper gauchement un bas-relief, un ornement ou une moulure. Les
preuves de ce fait intéressant abondent: 1° les marques de tâcherons qui
se rencontrent sur les pierres; 2° les coups de bretture, qui
diffèrent à chaque pierre; 3° l'impossibilité de refouiller certaines
moulures ou sculptures après la pose comme dans la fig. 8, par exemple;
4° les tracés des fonds de moulures que l'on retrouve dans les joints
derrière les ornements (25);
5° les erreurs de mesures, qui ont forcé les poseurs de couper parfois une portion d'une feuille d'une sculpture pour faire entrer à sa place une pierre taillée sur le chantier; 6° les combinaisons et pénétrations de moulures de meneaux, qu'il serait impossible d'achever sur le tas si la pierre eût été posée épannelée seulement; 7° enfin, ces exemples si fréquents d'édifices non terminés, mais dans lesquels les dernières pierres posées sont entièrement achevées comme taille ou sculpture.
Au XVe siècle le système d'appareil se modifie profondément. Le désir de produire des effets extraordinaires, la profusion des ornements, des pénétrations de moulures, l'emportent sur l'appareil raisonné prenant pour base la nature des matériaux employés. C'est alors la décoration qui commande l'appareil souvent en dépit des hauteurs de bancs; il en résulte de fréquents décrochements dans les lits et les joints, des déchets considérables de pierre, des moyens factices pour maintenir ces immenses galbes à jour, ces porte-à-faux; le fer vient en aide au constructeur pour accrocher ces décorations qui ne sauraient tenir sans son secours, et par les règles naturelles de la statique. Cependant encore ne voit-on jamais un ornement coupé par un lit, les corniches sont prises dans une hauteur d'assise, les arcs sont extradossés, les meneaux appareillés suivant la méthode employée par les constructeurs antérieurs, bien qu'ils affectent des formes qui se concilient difficilement avec les qualités ordinaires de la pierre. On ne peut encore signaler ces énormités si fréquentes un siècle plus tard, où l'architecte du château d'Écouen appareillait des colonnes au moyen de deux blocs posés en délit avec un joint vertical dans toute la hauteur, ou comme au château de Gaillon on trouvait ingénieux de construire des arcs retombant sur un cul-de-lampe suspendu en l'air, où l'on prodiguait ces clefs pendantes dans les voûtes d'arêtes, accrochées aux charpentes.
Constatons, en finissant, ce fait principal qui résume toutes les observations de détail contenues dans cet article. Du XIe siècle à la fin du XIVe, quand la décoration des édifices donne des lignes horizontales, la construction est horizontale; quand elle donne des lignes verticales, la construction est verticale; l'appareil suit naturellement cette loi. Au XVe siècle la décoration est toujours verticale, les lignes horizontales sont rares, à peine indiquées, et cependant la construction est toujours horizontale, c'est-à-dire en contradiction manifeste avec les formes adoptées.
APPENTIS, s. m. C'est le nom que l'on donne à certaines constructions de bois qui sont accolées contre des édifices publics ou bâtiments privés, et dont les combles n'ont qu'un égout; l'appentis a toujours un caractère provisoire, c'est une annexe à un bâtiment achevé que l'on élève par suite d'un nouveau besoin à satisfaire, ou qu'on laisse construire par tolérance.

Encore aujourd'hui, un grand nombre de nos édifices publics, et particulièrement de nos cathédrales, sont entourés d'appentis élevés contre leurs soubassements, entre leurs contre-forts. Ces constructions parasites deviennent une cause de ruine pour les monuments, et il est utile de les faire disparaître. Quelquefois aussi elles ont été élevées pour couvrir des escaliers extérieurs, tel est l'appentis construit au XVe siècle contre l'une des parois de la grande salle du chapitre de la cathédrale de Meaux (1); pour protéger des entrées ou pour établir des marchés à couvert autour de certains grands édifices civils.
APPLICATION, s. f. On désigne par ce mot, en architecture, la superposition de matières précieuses ou d'un aspect décoratif sur la pierre, la brique, le moellon ou le bois. Ainsi on dit l'application d'un enduit peint sur un mur; l'application de feuilles de métal sur du bois, etc. Dans l'antiquité grecque l'application de stucs très-fins et colorés sur la pierre, dans les temples ou les maisons, était presque générale. À l'époque romaine on remplaça souvent ces enduits assez fragiles par des tables de marbre, ou même de porphyre, que l'on appliquait au moyen d'un ciment très-adhérent sur les parois des murs en brique ou en moellon. Cette manière de décorer les intérieurs des édifices était encore en usage dans les premiers siècles du moyen âge en Orient, en Italie et dans tout l'Occident. Les mosaïques à fond d'or furent même substituées aux peintures, sur les parements des voûtes et des murs, comme plus durables et plus riches. Grégoire de Tours cite quelques églises bâties de son temps, qui étaient décorées de marbres et de mosaïques à l'intérieur, entre autres l'église de Châlon-sur-Saône, élevée par les soins de l'évêque Agricola. Ces exemples d'application de mosaïques, si communs en Italie et en Sicile, sont devenus fort rares en France, et nous ne connaissons guère qu'un spécimen d'une voûte d'abside décorée de mosaïques, qui se trouve dans la petite église de Germigny-les-Prés, près de Saint-Benoît-sur-Loire, et qui semble appartenir au Xe siècle. Depuis l'époque carlovingienne jusqu'au XIIe siècle le clergé en France n'était pas assez riche pour orner ses églises par des procédés décoratifs aussi dispendieux; il se préoccupait surtout, et avec raison, de fonder de grands établissements agricoles, de policer les populations, de lutter contre l'esprit quelque peu désordonné de la féodalité. Mais pendant le XIIe siècle, devenu plus riche, plus fort, possesseur de biens immenses, il put songer à employer le superflu de ses revenus à décorer d'une manière somptueuse l'intérieur des églises. De son côté, le pouvoir royal disposait déjà de ressources considérables dont il pouvait consacrer une partie à orner ses palais. L'immense étendue que l'on était obligé alors de donner aux églises ne permettait plus de les couvrir à l'intérieur de marbres et de mosaïques; d'ailleurs ce mode de décoration ne pouvait s'appliquer à la nouvelle architecture adoptée; la peinture seule était propre à décorer ces voûtes, ces piles composées de faisceaux de colonnes, ces arcs moulurés. L'application de matières riches sur la pierre ou le bois fut dès lors réservée aux autels, aux retables, aux jubés, aux tombeaux, aux clôtures, enfin à toutes les parties des édifices religieux qui, par leur dimension ou leur destination, permettaient l'emploi de matières précieuses. Suger avait fait décorer le jubé de l'église abbatiale de Saint-Denis par des applications d'ornements en bronze et de figures en ivoire. Il est souvent fait mention de tombeaux et d'autels recouverts de lames de cuivre émaillé ou d'argent doré. Avant la révolution de 1792, il existait encore en France une grande quantité de ces objets (voy. TOMBEAUX) qui ont tous disparu aujourd'hui. Sur les dossiers des stalles de cette même église de Saint-Denis, qui dataient du XIIIe siècle, on voyait encore du temps de D. Doublet, au commencement du XVIIe siècle, des applications de cuirs couverts d'ornements dorés et peints. Les portes principales de la façade étaient revêtues d'applications de lames de cuivre émaillées et d'ornements de bronze doré (D. Doublet, t. 1, p. 240 et suiv. Paris, 1625).
Nos monuments du moyen âge ont été complètement dénaturés dans le dernier siècle, et radicalement dévastés en 1793; nous ne voyons plus aujourd'hui que leurs murs dépouillés, heureux encore quand nous ne leur reprochons pas cette nudité. Le badigeon et la poussière ont remplacé les peintures; des scellements arrachés, des coups de marteau sont les seules traces indiquant les revêtements de métal qui ornaient les tombes, les clôtures, les autels. Quant aux matières moins précieuses et qui ne pouvaient tenter la cupidité des réformateurs, on en rencontre d'assez nombreux fragments. Parmi les applications le plus fréquemment employées depuis le XIIe siècle jusqu'à la renaissance, on peut citer le verre, la terre cuite vernissée et les pâtes gaufrées. Les marbres étaient rares dans le nord de la France pendant le moyen âge, et souvent des verres colorés remplaçaient cette matière; on les employait alors comme fond des bas-reliefs, des arcatures, des tombeaux, des autels, des retables; ils décoraient aussi les intérieurs des palais. La Sainte-Chapelle de Paris nous a laissé un exemple complet de ce genre d'applications. L'arcature qui forme tout le soubassement intérieur de cette chapelle contient des sujets représentant des martyrs; les fonds d'une partie de ces peintures sont remplis de verres bleus appliqués sur des feuilles d'argent et rehaussés à l'extérieur par des ornements très-fins dorés. Ces verres d'un ton vigoureux, rendus chatoyants par la présence de l'argent sous-apposé, et semés d'or à leur surface, jouent l'émail. Toutes les parties évidées de l'arcature, les fonds des anges sculptés et dorés qui tiennent des couronnes ou des encensoirs sont également appliqués de verres bleus ou couleur écaille, rehaussés de feuillages ou de treillis d'or. On ne peut concevoir une décoration d'un aspect plus riche, quoique les moyens d'exécution ne soient ni dispendieux ni difficiles. Quelquefois aussi ce sont des verres blancs appliqués sur de délicates peintures auxquelles ils donnent l'éclat d'un bijou émaillé. Il existe encore à Saint-Denis de nombreux fragments d'un autel dont le fond était entièrement revêtu de ces verres blancs appliqués sur des peintures presque aussi fines que celles qui ornent les marges des manuscrits. Ces procédés si simples ont été en usage pendant les XIIIe, XIVe et XVe siècles, mais plus particulièrement à l'époque de saint Louis.
Quant aux applications de terres cuites vernissées, elles sont devenues fort rares, étant surtout employées dans les édifices civils et les maisons particulières; nous citerons cependant comme exemple une maison en bois de Beauvais, de la fin du XVe siècle, dont tous les remplissages de face sont garnis de terres cuites émaillées de diverses couleurs.
À partir du XIIe siècle, les applications de pâtes gaufrées se trouvent
fréquemment sur les statues et les parties délicates de l'architecture
intérieure. Ces applications se composaient d'un enduit de chaux
très-mince sur lequel, pendant qu'il était encore mou, on imprimait des
ornements déliés et peu saillants, au moyen d'un moule de bois ou de
fer. On décorait ainsi les vêtements des statues, les fonds de retables
d'autels (voy. RETABLE), les membres de l'architecture des jubés, des
clôtures; quelquefois aussi la menuiserie destinée à être peinte et
dorée; car il va sans dire que les gaufrures que l'on obtenait par ce
procédé si simple, recevaient toujours de la dorure et de la peinture
qui leur donnaient de la consistance et assuraient leur durée. Nous
présentons ici (1) un exemple tiré des applications de pâtes dorées qui
couvrent les arcatures du sacraire de la Sainte-Chapelle; cette gravure
est moitié de l'exécution, et peut faire voir combien ces gaufrures sont
délicates. Ce n'était pas seulement dans les intérieurs que l'on
appliquait ces pâtes; on retrouve encore dans les portails des églises
des XIIe et XIIIe siècles des traces de ces gaufrures sur les vêtements
des statues. À la cathédrale d'Angers, sur la robe de la Vierge du
portail nord de la cathédrale de Paris, des bordures de draperies sont
ornées de pâtes. Au XVe siècle l'enduit de chaux est remplacé par une
résine, qui s'est écaillée et disparaît plus promptement que la chaux.
Des restaurations faites à cette époque, dans la Sainte-Chapelle du
Palais, présentaient quelques traces visibles de gaufrures non-seulement
sur les vêtements des statues, mais même sur les colonnes, sur les nus
des murs; c'étaient de grandes fleurs de lis, des monogrammes du Christ,
des étoiles à branches ondées, etc.
Pendant les XIIe, XIIIe et XIVe siècles, on appliquait aussi, sur le bois, du vélin rendu flexible par un séjour dans l'eau, au moyen d'une couche de colle de peau ou de fromage; sur cette enveloppe, qui prenait toutes les formes des moulures, on étendait encore un encollage gaufré par les procédés indiqués ci-dessus; puis on dorait, on peignait, on posait des verres peints par-dessous, véritables fixés que l'on sertissait de pâtes ornées (voy. FIXÉ). Il existe encore dans le bas côté sud du choeur de l'église de Westminster, à Londres, un grand retable du XIIIe siècle exécuté par ces procédés; nous le citons ici parce qu'il appartient à l'école française de cette époque, et qu'il a dû être fabriqué dans l'Ile-de-France (voy. RETABLE). Le moine Théophile, dans son Essai sur divers arts, chap. XVII, XVIII et XIX, décrit les procédés employés au XIIe siècle pour appliquer les peaux de de vélin et les enduits sur les bois destinés à orner les retables, les autels, les panneaux. Il parait que du temps du moine Théophile on appliquait des verres colorés par la cuisson sur les verres des vitraux, de manière à figurer des pierres précieuses dans les bordures des vêtements, sans le secours du plomb. Il n'existe plus, que nous sachions, d'exemples de vitraux fabriqués de cette manière; il est vrai que les vitraux du XIIe siècle sont fort rares aujourd'hui (voy. Theophili presb. et monac. Diversarum artium schedula. Paris. 1843).
APPUI, s. m. C'est la tablette supérieure de l'allége des fenêtres (voy. ALLÉGE); on désigne aussi par barres d'appui les pièces de bois ou de fer que l'on scelle dans les jambages des fenêtres, et qui permettent de s'accouder pour regarder à l'extérieur, lorsque ces fenêtres sont ouvertes jusqu'au niveau du sol des planchers. Les barres d'appui ne sont guère en usage avant le XVIe siècle, ou si elles existent, elles ne sont composées que d'une simple traverse sans ornements. Par extension, on donne généralement le nom d'appui à l'assise de pierre posée sous la fenêtre dans les édifices religieux, militaires ou civils, quand même ces fenêtres sont très-élevées au-dessus du sol.

L'appui, dans les édifices élevés du XIIIe au XVIe siècle, est toujours disposé de façon à empêcher la pluie qui frappe contre les vitraux de couler le long des parements intérieurs. Il est ordinairement muni à l'extérieur d'une pente fortement inclinée, d'un larmier et d'une feuillure intérieure qui arrête les eaux pénétrant à travers les interstices des vitraux et les force de s'épancher en dehors (1). Quelquefois l'appui porte un petit caniveau à l'intérieur, avec un ou deux orifices destinés à rejeter en dehors les eaux de pluie ou la buée qui se forme contre les vitres. Cette disposition, qui fait ressortir le soin que l'on apportait alors dans les moindres détails de la construction, se trouve particulièrement appliquée aux appuis des fenêtres des habitations.
On remarque dans la plupart des fenêtres des tours de la Cité de Carcassonne, qui datent de la fin du XIIIe siècle, des appuis ainsi taillés (2). Dans les édifices de l'époque romane du XIe au XIIe siècle ces précautions ne sont pas employées; les appuis des fenêtres ne sont alors qu'une simple tablette horizontale (3), comme dans les bas côtés de la nef de l'église de Vézelay par exemple, ou taillée en biseau des deux côtés, extérieurement pour faciliter l'écoulement des eaux, intérieurement pour laisser pénétrer la lumière (4) (voy. FENÊTRE). Dans les églises élevées pendant la première moitié du XIIIe siècle, les appuis forment souvent comme une sorte de cloison mince sous les meneaux des fenêtres supérieures, dans la hauteur du comble placé derrière le triforium sur les bas côtés; telles sont disposées la plupart des fenêtres hautes des édifices bourguignons bâtis de 1200 à 1250, et notamment celles de l'église de Semur en Auxois (5), dont nous donnons ici un dessin. Ces appuis, contre lesquels est adossé le comble des bas côtés doubles du choeur, n'ont pas plus de 0m,15 d'épaisseur. Ces sortes d'appuis sont fréquents aussi en Normandie, et la nef de l'église d'Eu nous en donne un bel exemple.
Dans l'architecture civile des XIIe et XIIIe siècles les appuis des fenêtres forment presque toujours un bandeau continu, ainsi qu'on peut le voir dans un grand nombre de maisons de Cordes, de Saint-Antonin (Tarn-et-Garonne), sur les façades de la maison romane de Saint-Gilles (6), de la maison des Musiciens à Reims, des charmantes maisons de la ville de Cluny.


Plus tard, au XIVe siècle, les appuis font une saillie portant larmier au droit de chaque fenêtre (7), et sont interrompus parfois sous les trumeaux. Dans les édifices civils et habitations du XVe siècle, ils ne portent plus de larmiers et forment une avance horizontale profilée à ses extrémités, de manière à offrir un accoudoir plus facile aux personnes qui se mettent à la fenêtre; nous en donnons ici un exemple tiré de l'hôtel de ville de Compiègne (8). Cette disposition ne se perd que vers la fin du XVIe siècle, lorsque les appuis en pierre sont remplacés, dans l'architecture civile, par des barres d'appui en fer façonné. Les fenêtres des maisons de bois qui existent encore des XVe et XVIe siècles sont munies d'appuis qui se relient aux poteaux montants, et donnent de la force et de la résistance au pan-de-bois par une suite de petites croix de Saint-André qui maintiennent le dévers. Les pans-de-bois de face des maisons du XVIe siècle ne sont, la plupart du temps, que des claires-voies formées de poteaux dont l'aplomb n'est conservé qu'au moyen de la combinaison de la charpente des appuis. Voici un exemple d'appuis tiré d'une maison bâtie pendant le XVe siècle à Rouen, rue Malpalu (9). Au commencement du XVIe siècle, ce système de croix de Saint-André appliqué aux appuis est généralement abandonné; les appuis ne sont portés au-dessus des sablières que par des petits potelets verticaux souvent enrichis de sculptures, entre lesquels sont disposés des panneaux plus ou moins ornés; en voici un exemple (10) provenant d'une autre maison de Rouen, rue de la Grosse-Horloge (voy. MAISONS). On donne aussi le nom d'appui à la tablette qui couronne les balustrades pleines ou à jour (voy. BALUSTRADES).
ARBALÉTRIER, s. m. Pièce de charpente inclinée qui, dans une ferme, s'assemble à son extrémité inférieure sur l'entrait, et à son extrémité supérieure au sommet du poinçon. Les arbalétriers forment les deux côtés du triangle dont l'entrait est la base. Dans les charpentes anciennes apparentes ou revêtues à l'intérieur de planches ou bardeaux formant un berceau, les arbalétriers portent les épaulements qui reçoivent les courbes sous lesquelles viennent se clouer les bardeaux (1).

L'arbalétrier porte les pannes recevant les chevrons dans les charpentes antérieures et postérieures à l'époque dite gothique; mais pendant les XIIe, XIIIe, XIVe, XVe et même XVIe siècles, les arbalétriers sont dans le même plan que les chevrons et portent comme eux la latte ou la volige qui reçoit la couverture. Dans les charpentes non apparentes des grands combles au-dessus des voûtes l'arbalétrier est quelquefois roidi par un sous-arbalétrier destiné à l'empêcher de fléchir dans sa plus longue portée (2). Dans les demi-fermes à pente simple qui couvrent les bas côtés des églises, et en général qui composent les combles à un seul égout, l'arbalétrier est la pièce de bois qui forme le grand côté du triangle rectangle (3) (voy. FERME, CHARPENTE).
ARBRE, s. m. On a souvent donné ce nom au poinçon des flèches en charpente (voy. POINÇON, FLÈCHE).
ARBRE DE JESSÉ (voy. JESSÉ).
ARC, s. m. C'est le nom que l'on donne à tout assemblage de pierre, de moellon, ou de brique, destiné à franchir un espace plus ou moins grand au moyen d'une courbe. Ce procédé de construction, adopté par les Romains, fut développé encore par les architectes du moyen âge.

On classe les arcs employés à cette époque en trois grandes catégories: les arcs plein cintre, formés par un demi-cercle (1); les arcs surbaissés ou en anse de panier, formés par une demi-ellipse, le grand diamètre à la base (2); les arcs en ogive ou en tiers-point, formés de deux portions de cercle qui se croisent et donnent un angle curviligne plus ou moins aigu au sommet, suivant que les centres sont plus ou moins éloignés l'un de l'autre (3).

Les arcs plein cintre sont quelquefois surhaussés (4) ou outre-passés, dits alors en fer à cheval (5), ou bombés lorsque le centre est au-dessous de la naissance (6).
Jusqu'à la fin du XIe siècle, l'arc plein cintre avec ses variétés est seul employé dans les constructions, sauf quelques rares exceptions. Quant aux arcs surbaissés que l'on trouve souvent dans les voûtes de l'époque romane, ils ne sont presque toujours que le résultat d'une déformation produite par l'écartement des murs (7), ayant été construits originairement en plein cintre. C'est pendant le XIIe siècle que l'arc formé de deux portions de cercle (et que nous désignerons sous le nom d'arc en tiers-point, conformément à la dénomination admise pendant les XVe et XVIe siècles), est adopté successivement dans les provinces de France et dans tout l'Occident. Cet arc n'est en réalité que la conséquence d'un principe de construction complétement nouveau (voy. CONSTRUCTION, OGIVE, VOUTES); d'une combinaison de voûtes que l'on peut considérer comme une invention moderne, rompant tout à coup avec les traditions antiques. L'arc en tiers-point disparaît avec les dernières traces de l'art du moyen âge, vers le milieu du XVIe siècle; il est tellement inhérent à la voûte moderne qu'on le voit longtemps encore persister dans la construction de ces voûtes; alors que déjà, dans toutes les autres parties de l'architecture, les formes empruntées à l'antiquité romaine étaient successivement adoptées. Les architectes de la renaissance voulant définitivement exclure cette forme d'arcs, n'ont trouvé rien de mieux que d'y substituer, comme à Saint-Eustache de Paris, vers la fin du XVIe siècle, des arcs en ellipse, le petit diamètre à la base; courbe désagréable, difficile à tracer, plus difficile à appareiller, et moins résistante que l'arc en tiers-point.
Outre les dénominations précédentes qui distinguent les variétés d'arcs employés dans la construction des édifices du moyen âge, on désigne les arcs par des noms différents, suivant leur destination; il y a les archivoltes, les arcs-doubleaux, les arcs-ogives, les arcs formerets, les arcs-boutants, les arcs de décharge.

ARCHIVOLTES. Ce sont les arcs qui sont bandés sur les piles des nefs ou des cloîtres, sur les pieds droits des portails, des porches, des portes ou des fenêtres, et qui supportent la charge des murs. Les archivoltes, pendant la période romane jusqu'au XIIe siècle sont plein cintre, quelquefois surhaussées, très-rarement en fer à cheval. Elles adoptent la courbe brisée dite en tiers-point dès le commencement du XIIe siècle dans l'Ile-de-France et la Champagne; vers la fin du XIIe siècle dans la Bourgogne, le Lyonnais, l'Anjou, le Poitou, la Normandie; et, seulement pendant le XIIIe siècle, dans l'Auvergne, le Limousin, le Languedoc et la Provence.--Archivoltes s'ouvrant sur les bas côtés. Elles sont généralement composées, pendant le XIe siècle, d'un ou deux rangs de claveaux simples (8) sans moulures; quelquefois le second rang de claveaux, vers la fin du XIe siècle, comme dans la nef de l'Abbaye-aux-Dames de Caen (9), est orné de bâtons rompus, de méandres ou d'un simple boudin (10). L'intrados de l'arc qui doit reposer sur le cintre en charpente, pendant la construction, est toujours lisse. Les ornements qui décorent les seconds arcs varient suivant les provinces; ils sont presque toujours empruntés aux formes géométriques dans la Normandie, aux traditions antiques dans la Bourgogne (11) (nef de l'église abbatiale de Vézelay), dans le Mâconnais, le Lyonnais et la Provence. C'est surtout pendant le XIIe siècle que les archivoltes se couvrent d'ornements; toutefois l'arc intérieur reste encore simple ou seulement refouillé aux arêtes par un boudin inscrit dans l'épannelage carré du claveau, pour ne pas gêner la pose sur le cintre en charpente (12) (nef de la cathédrale de Bayeux).


Les rangs de claveaux se multiplient et arrivent jusqu'à trois. L'Ile-de-France est avare d'ornements dans ses archivoltes et prodigue les moulures (13), tandis que le centre de la France reste fidèle à la tradition, conserve longtemps et jusque vers le commencement du XIIIe siècle ses deux rangs de claveaux, celui intérieur simple, tout en adoptant l'arc en tiers-point (cathédrale d'Autun) (14).


Mais alors les ornements disparaissent peu à peu des archivoltes des nefs et sont remplacés par des moulures plus ou moins compliquées. En Normandie, on voit les bâtons rompus, les dents de scie, persister dans les archivoltes jusque pendant le XIIIe siècle. En Bourgogne et dans le Mâconnais, parfois aussi les billettes, les pointes de diamant, les rosaces, les besants; en Provence, les oves, les rinceaux, les denticules, tous ornements empruntés à l'antiquité. L'intrados de l'arc intérieur commence à recevoir des moulures très-accentuées pendant le XIIIe siècle; ces moulures, en se développant successivement, finissent par faire perdre aux claveaux des arcs cet aspect rectangulaire dans leur coupe qu'ils avaient conservé jusqu'alors.

Nous donnons ici les transformations que subissent les archivoltes des nefs de 1200 à 1500: Cathédrale de Paris, Saint-Pierre de Chartres, etc. (15), 1200 à 1230; cathédrale de Tours (16), 1220 à 1240; cathédrale de Nevers (17), 1230 à 1250. Dans ce cas le cintre en charpente nécessaire à la pose du rang intérieur des claveaux doit être double. Autres exemples de la même époque (18 et 19), avec arc extérieur saillant sur le nu du parement, Saint-Père-sous-Vézelay, 1240 à 1250. Cathédrale de Paris (20), 1320 à 1330; cathédrales de Narbonne et de Clermont (21), 1340. Les profils s'évident de plus en plus à mesure qu'ils se rapprochent du XVe siècle: Saint-Severin de Paris (22), XVe siècle; église de Saint-Florentin (23), commencement du XVIe siècle. Vers la fin du XVe siècle, les coupes des arcs et leurs courbes sont à peu près identiques dans tous les monuments élevés à cette époque.
ARCHIVOLTES DE CLOÎTRES. Ils conservent la forme plein cintre fort tard jusque vers la fin du XIIIe siècle dans le centre et le midi de la France (voy. CLOÎTRE).
ARCHIVOLTES DE PORTAILS. Les murs-pignons des façades d'églises étant toujours d'une forte épaisseur, les portes sont nécessairement cintrées par une succession d'archivoltes superposées. Ces archivoltes, dans les édifices romans, présentent quelquefois jusqu'à quatre ou cinq rangs de claveaux, un plus grand nombre encore dans les édifices bâtis pendant la période ogivale; les murs de ces derniers monuments, par suite de leur hauteur et de leur épaisseur, doivent être portés sur des arcs très-solides; or, comme les constructeurs du moyen âge avaient pour méthode, lorsqu'ils voulaient résister à une forte pression, non d'augmenter la longueur de la flèche des claveaux de leurs arcs, mais de multiplier le nombre de ces arcs, méthode excellente d'ailleurs (voy. APPAREIL), il en résulte qu'ils ont superposé jusqu'à six, sept et huit arcs concentriques au-dessus des linteaux des portes de leurs façades.

Ces séries d'archivoltes sont décorées avec plus ou moins de luxe, suivant la richesse des édifices. Pendant le XIe siècle, les archivoltes des portails sont pleins cintres; elles n'adoptent la forme ogivale que vers le milieu du XIIe siècle, sauf dans quelques provinces où le plein cintre persiste jusque pendant le XIIIe siècle, notamment dans la Provence, le Lyonnais et la Bourgogne. Elles se distinguent dans l'Île-de-France et le centre, pendant le XIe siècle, par une grande sobriété d'ornements, tandis qu'en Normandie, en Bourgogne, en Poitou, en Saintonge, on les voit chargées, pendant le XIIe siècle particulièrement, d'une profusion incroyable d'entre-lacs, de figures, de rosaces; en Normandie, ce sont les ornements géométriques qui dominent (24), (église de Than, près Caen, XIe siècle).



Dans la Provence, ce sont les moulures fines, les ornements plats sculptés avec délicatesse. Dans le Languedoc et la Guyenne, la multiplicité des moulures et les ornements rares (25), église Saint-Sernin de Toulouse, Église de Loupiac, Gironde (26); portail sud de l'église du Puy-en-Vélay (27). Dans le Poitou et la Saintonge, les figures bizarres, les animaux, les enchevêtrements de tiges de feuilles, ou les perlés, les besants, les pointes de diamant finement retaillées, les dents de scie, et les profils petits séparés par des noirs profonds; église de Surgère, Charente (28).
Dans la Bourgogne, les rosaces, les personnages
symboliques; portail de l'église d'Avallon, Yonne (29). On voit par
l'examen de ces exemples appartenant aux XIe et XIIe siècles, que quelle
que soit la richesse de la décoration, les moulures, ornements ou
figures se renferment dans un épannelage rectangulaire. Jusqu'au XVe
siècle, les architectes conservent scrupuleusement ce principe. Ainsi,
vers la fin du XIIe siècle et pendant les XIIIe et XIVe siècles, les
archivoltes, dans les grands portails des cathédrales du nord, sont
presque toujours chargées de figures sculptées chacune dans un claveau;
ces figures sont comprises dans l'épannelage des voussoirs; nous en
donnons un exemple (30) tiré du portail sud de la cathédrale d'Amiens,
XIIIe siècle; A indique la coupe des claveaux avant la sculpture. De
même, si l'archivolte se compose de moulures avec ou sans ornements, la
forme première du claveau se retrouve (31); porte latérale de l'église
Saint-Nazaire de Carcassonne, XIVe siècle.

Au XVe siècle cette méthode change; les archivoltes des portails sont posées avec la moulure ou gorge qui doit recevoir les figures; cette gorge porte seulement les dais et supports des statuettes, et celles-ci sont accrochées après coup au moyen d'un gond scellé dans le fond de la moulure (32); portail de l'église Notre-Dame de Semur; dès lors ces statuettes, sculptées dans l'atelier et adaptées après coup, n'ont plus cette uniformité de saillie, cette unité d'aspect qui, dans les portails des XIIIe et XIVe siècles, fait si bien valoir les lignes des archivoltes et leur laisse une si grande fermeté, malgré la multiplicité des détails dont elles sont chargées.
ARCHIVOLTES DES PORTES. Toutes les portes des époques romane et ogivale étant, sauf quelques exceptions qui appartiennent au Poitou et à la Saintonge, couronnées par un linteau, les archivoltes ne sont que des arcs de décharge qui empêchent le poids des maçonneries de briser ces linteaux. Les moulures qui décorent ces archivoltes subissent les mêmes transformations que celles des portails; le plein cintre persiste dans les archivoltes des portes; on le voit encore employé jusque vers la fin du XIIIe siècle pour les baies d'une dimension médiocre, alors que la courbe en tiers-point domine partout sans mélange. (voy. PORTE)
ARCHIVOLTES DES FENÊTRES. Elles restent plein cintre jusque pendant le XIIIe siècle dans les provinces méridionales et du centre; adoptent la courbe en tiers-point dans l'Île-de-France vers le milieu du XIIe siècle. Dans la Normandie, la Bourgogne, la Picardie et la Champagne, de 1200 à 1220 environ (voy. FENÊTRE). Elles sont généralement, pendant la période ogivale, immédiatement posées sous le formeret des voûtes et se confondent même parfois avec lui; exemples: cathédrales d'Amiens, de Beauvais, de Troyes, de Reims, etc.
ARC-DOUBLEAU. ARC-OGIVE. ARC-FORMERET. L'arc-doubleau est l'arc qui partant d'une pile à l'autre dans les édifices voûtés, forme comme un nerf saillant sous les berceaux (33), ou sépare deux voûtes d'arêtes. Nous donnons ici le plan d'une voûte d'arête afin de désigner par leurs noms les différents arcs qui la composent (34). Soient EF, GH, les deux murs; AB, CD, sont les arcs-doubleaux; AD, CB, les arcs-ogives; AC, BD, les arcs-formerets.


Les voûtes sont construites en berceau jusque vers le commencement du XIIe siècle; les arcs-doubleaux alors se composent d'un ou deux rangs de claveaux le plus souvent sans moulures ni ornements (35). Quelquefois les arcs-doubleaux affectent en coupe la forme d'un demi-cylindre comme dans la crypte de l'église Saint-Eutrope de Saintes (36). Les nefs de la première moitié du XIIe siècle, sont voûtées en berceau ogival, les arcs-doubleaux se composent de deux rangs de claveaux, le second étant orné d'une moulure ou d'un boudin sur ses arêtes (37), cathédrale d'Autun. La nef de l'église de Vézelay, antérieure à cette époque, présente des arcs-doubleaux pleins cintres, les voûtes sont en arête, mais sans arcs-ogives (38).


Dans les édifices civils du XIIe siècle, les arcs-doubleaux sont ordinairement simples, quelquefois chanfreinés seulement sur leurs arêtes (39); c'est vers la fin du XIIe siècle que les arcs-doubleaux commencent à se composer d'un faisceau de tores séparés par des gorges, cathédrale de Paris (40), églises de Saint-Julien-le-Pauvre, de Saint-Étienne de Caen, de Bayeux, etc. Mais comme on peut l'observer à la cathédrale de Paris, les arcs-doubleaux sont alors minces, étroits, formés d'un seul rang de claveaux, n'ayant pas beaucoup plus de saillie ou d'épaisseur que les arcs-ogives avec lesquels leurs profils les confondent. Vers le milieu du XIIIe siècle, les arcs-doubleaux prennent deux et même quelquefois trois rangs de claveaux et acquièrent ainsi une beaucoup plus grande résistance que les arcs-ogives, lesquels ne se composent jamais que d'un seul rang de claveaux. Les profils de ces arcs se modifient alors et suivent les changements observés plus haut dans les archivoltes des nefs. Nous donnons ci-contre les coupes des arcs-doubleaux A et des arcs-ogives B de la Sainte-Chapelle du Palais (41); ces formes d'arcs se rencontrent avec quelques variantes sans importance dans tous les édifices de cette époque, tels que les cathédrales d'Amiens, de Beauvais, de Reims, de Troyes, les églises de Saint-Denis, les salles du Palais, la salle synodale de Sens, etc.; les profils de ces arcs se conservent même encore pendant le XIVe siècle, plus maigres, plus refouillés, plus recherchés comme détails de moulures.

Mais au XVe siècle, les tores avec ou sans arêtes saillantes, sont abandonnés pour adopter les formes prismatiques, anguleuses, avec de grandes gorges. Les arcs-doubleaux et les arcs-ogives se détachent de la voûte (42); la saillie la plus forte de leurs profils dépasse la largeur de l'extrados, et ceci était motivé par la méthode employée pour construire les remplissages des voûtes. Ces saillies servaient à poser les courbes en bois nécessaires à la pose des rangs de moellons formant ces remplissages (voy. VOÛTE). Il faut remarquer ici que jamais les arcs-ogives, les arcs-doubleaux ni les formerets ne se relient avec les moellons des remplissages, ils ne font que porter leur retombée comme le feraient des cintres en bois; c'est là une règle dont les constructeurs des édifices romans ou gothiques ne se départent pas, car elle est impérieusement imposée par la nature même de la construction de ces sortes de voûtes (voy. VOÛTE). C'est pendant le XVe siècle que les arcs-doubleaux et les arcs-ogives, aussi bien que les archivoltes, viennent pénétrer les piles qui les portent en supprimant les chapiteaux. Quelquefois les profils de ces arcs se prolongent sur les piles jusqu'aux bases, où ils viennent mourir sur les parements cylindriques ou prismatiques de ces piles, passant ainsi de la ligne verticale à la courbe, sans arrêts, sans transitions. Ces pénétrations sont toujours exécutées avec une entente parfaite du trait (voy. PÉNÉTRATIONS, PROJECTIONS).

Les arcs-formerets sont engagés dans les parements des murs et se
profilent comme une moitié d'arc-ogive ou d'arc-doubleau (43); ils ne
présentent que la saillie nécessaire pour recevoir la portée des
remplissages des voûtes. Souvent, à partir du XIIIe siècle, ils
traversent l'épaisseur du mur, forment arc de décharge et archivolte à
l'extérieur, au-dessus des meneaux des fenêtres (44); Saint-Denis,
Troyes, Amiens, Beauvais, Saint-Ouen de Rouen, etc. Les voûtes des
églises de Bourgogne, bâties pendant le XIIIe siècle, présentent une
particularité remarquable: leurs formerets sont isolés des murs, ce sont
des arcs indépendants, portant les voûtes et la charpente des combles.
Les murs alors ne sont plus que des clôtures minces, sortes de cloisons
percées de fenêtres et portant l'extrémité des chéneaux au moyen d'un
arc de décharge (45). Cette disposition offre beaucoup d'avantages, elle
annule le fâcheux effet des infiltrations à travers les chéneaux, qui ne
peuvent plus alors salpêtrer les murs, puisque ces chéneaux sont aérés
par-dessous; elle permet de contre-butter les voûtes par des
contre-forts intérieurs qui reportent plus sûrement la poussée sur les
arcs-boutants; elle donne toutes facilités pour ouvrir dans les murs des
fenêtres aussi hautes et aussi larges que possible, celles-ci n'étant
plus obligées de se loger sous les formerets. De plus, l'aspect de ces
voûtes, bien visiblement portées par les piles et indépendantes de
l'enveloppe extérieure de l'édifice, est très-heureux; il y a dans cette
disposition quelque chose de logique qui rassure l'oeil, en rendant
intelligible pour tous le système de la construction. On voit, ainsi que
l'indique la figure (45),
comme les arcs-doubleaux, les arcs-ogives et
les arcs-formerets viennent se pénétrer à leur naissance, afin de poser
sur un étroit sommier et reporter ainsi toute la poussée des voûtes sur
un point rendu immobile au moyen de la buttée de l'arc-boutant; mais
dans les voûtes des bas côtés, il y a un autre problème à résoudre, il
s'agit là d'avoir des archivoltes assez épaisses pour porter les murs de
la nef; les piliers rendus aussi minces que possible pour ne pas gêner
la vue, ont à supporter non-seulement la retombée de ces archivoltes,
mais aussi celle des arcs-doubleaux et des arcs-ogives. La pénétration
de ces arcs, dont les épaisseurs et les largeurs sont très-différentes,
présente donc des difficultés à leur point de départ sur le tailloir du
chapiteau. Elles sont vaincues à partir du XIIIe siècle avec une adresse
remarquable, et nous donnons ici comme preuve la disposition des
naissances des archivoltes, des arcs-doubleaux et arcs-ogives des bas
côtés du choeur de la cathédrale de Tours, XIIIe siècle (46).
L'archivolte A, aussi épaisse que les piles, est surhaussée afin de
pouvoir pénétrer les voûtes au-dessus de la naissance des arcs-ogives B
et ses derniers rangs de claveaux reportent le poids des murs sur le
sommier de l'arc-doubleau C; ainsi, l'arc-ogive et la voûte elle-même
sont indépendants de la grosse construction, qui peut tasser sans
déchirer ou écraser la construction plus légère de ces voûtes et
arcs-ogives (voy. VOÛTE).

À la réunion du transsept avec la nef et le choeur des églises, on a toujours donné, pendant les époques romane et ogivale, une grande force aux arcs-doubleaux, tant pour résister à la pression des murs, que pour supporter souvent des tours ou flèches centrales. Alors les arcs-doubleaux se composent de trois, quatre ou cinq rangs de claveaux, comme à la cathédrale de Rouen, à Beauvais, à Bayeux, à Coutances, à Eu, etc. En Normandie particulièrement, où la croisée des églises était toujours couronnée par une tour centrale, les grands arcs-doubleaux ont deux rangs de claveaux placés côte à côte à l'intrados au lieu d'un seul, ainsi qu'on le pratiquait dans l'Ile-de-France, la Bourgogne et la Champagne; cela permettait de donner moins de saillie aux quatre piliers et de mieux démasquer les choeurs; toutefois cette disposition ne rassure pas l'oeil comme cette succession d'arcs concentriques se débordant les uns les autres et reposant sur un seul arc à l'intrados.
À partir du XIIIe siècle jusqu'au XVIe, les arcs-doubleaux, les arcs-ogives et les formerets ne sont plus ornés que par des moulures, sauf quelques très-rares exceptions; ainsi dans les chapelles du choeur de Saint-Étienne de Caen, qui datent du commencement du XIIIe siècle, les arcs-ogives sont décorés par une dentelure(47), mais il faut dire qu'en Normandie ces sortes d'ornements, restes de l'architecture romane, soit par suite d'un goût particulier, soit à cause de la facilité avec laquelle se taille la pierre de Caen, empiètent sur l'architecture ogivale jusque vers le milieu du XIIIe siècle.
Pendant le XIIe siècle, en Bourgogne, dans l'Ile-de-France, on voit encore les arcs-doubleaux et les arcs-ogives ornés de dents de scie, de pointes de diamant, de bâtons rompus(48); salle capitulaire de l'église de Vézelay, porche de l'église de Saint-Denis, etc. Les arcs-ogives du choeur de l'église de Saint-Germer sont couverts de riches ornements.
C'est à la fin du XVe siècle et pendant le XVIe que l'on appliqua de nouveau des ornements aux arcs-doubleaux, arcs-ogives et formerets, mais alors ces ornements présentaient de grandes saillies débordant les moulures; le choeur de l'église de Saint-Pierre de Caen est un des exemples les plus riches de ce genre de décoration appliqué aux arcs des voûtes; mais c'est là un abus de l'ornementation que nous ne saurions trop blâmer, en ce qu'il détruit cette pureté de lignes qui séduit dans les voûtes en arcs d'ogives, qu'il les alourdit et fait craindre leur chute.
ARC-BOUTANT. Ce sont les arcs extérieurs qui par leur position sont
destinés à contre-butter la poussée des voûtes en arcs d'ogives. Leur
naissance repose sur les contre-forts, leur sommet arrive au point de la
poussée réunie des arcs-doubleaux et des arcs-ogives. Suivant les goûts
de chaque école, on a beaucoup blâmé ou beaucoup loué le système des
arcs-boutants; nous n'entreprendrons pas de les défendre ou de faire
ressortir leurs inconvénients; il n'y a qu'une chose à dire à notre sens
sur ce système de construction, c'est qu'il est l'expression la plus
franche et la plus énergique du mode adopté par les constructeurs du
moyen âge. Jusqu'à leur application dans les églises gothiques, tout est
tâtonnement; du moment que les arcs-boutants sont nettement accusés dans
les constructions, la structure des églises se développe dans son
véritable sens, elle suit hardiment la voie nouvelle. Demander une
église gothique sans arc-boutants, c'est demander un navire sans quille,
c'est pour l'église comme pour le navire une question d'être ou de
n'être pas. Le problème que les architectes de l'époque romane s'étaient
donné à résoudre était celui-ci: élever des voûtes sur la basilique
antique. Comme disposition de plan, la basilique antique satisfaisait
complétement au programme de l'église latine: grands espaces vides,
points d'appui minces, air et lumière. Mais la basilique antique était
couverte par des charpentes, l'abside seule était voûtée; or dans notre
climat les charpentes ne préservent pas complètement de la neige et du
vent; elles se pourrissent assez rapidement quand on n'emploie pas ces
dispositions modernes de chéneaux en métal, de conduits d'eau, etc.,
procédés qui ne peuvent être en usage qu'au milieu d'un peuple chez
lequel l'art de la métallurgie est arrivé à un haut degré de perfection.
De plus, les charpentes brûlent, et un édifice couvert seulement par une
charpente que l'incendie dévore est un édifice perdu de la base au
faîte. Jusqu'aux Xe et XIe siècles il n'est question dans les documents
écrits de notre histoire que d'incendies d'églises qui nécessitent des
reconstructions totales. La grande préoccupation du clergé, et par
conséquent des architectes qui élevaient des églises, était dès le Xe
siècle de voûter les nefs des basiliques. Mais les murs des basiliques
portés par des colonnes grêles ne pouvaient présenter une résistance
suffisante à la poussée des voûtes hautes ou basses. Dans le centre de
la France les constructeurs, vers le XIe siècle, avaient pris le parti
de renoncer à ouvrir des jours au sommet des murs des nefs hautes, et
ils contre-buttaient les voûtes en berceau de ces nefs hautes, soit par
des demi-berceaux, comme dans la plupart des églises auvergnates, soit
par de petites voûtes d'arêtes élevées sur les bas côtés. Les nefs alors
ne pouvaient être éclairées que par les fenêtres de ces bas côtés
presque aussi hautes que les grandes nefs. Les murs extérieurs, épais et
renforcés de contre-forts, maintenaient les poussées combinées des
grandes et petites voûtes (voy. ÉGLISES, VOÛTES). Mais dans le nord de
la France ce système ne pouvait prévaloir; de grands centres de
population exigeaient de vastes églises, on avait besoin de lumière, il
fallait prendre des jours directs dans les murs des nefs, et renoncer
par conséquent à contre-butter les voûtes hautes par des demi-berceaux
continus élevés sur les bas côtés. Dans quelques églises de Normandie,
celles entre autres de l'abbaye aux Hommes et de l'abbaye aux Dames de
Caen, les constructeurs avaient cherché un moyen terme: ils avaient
élevé sur des piles fort épaisses les grandes voûtes d'arêtes des nefs
hautes, et ménageant de petits jours sous les formerets de ces voûtes,
ils avaient cherché à contre-butter leur poussée par un demi-berceau
continu bandé sur le triforium (49). Mais ce demi-berceau n'arrive pas
au point de la poussée de ces voûtes hautes. Et pourquoi un demi-berceau
continu pour maintenir une voûte d'arête dont les poussées sont
reportées sur des points espacés au droit de chaque pile? Il y a quelque
chose d'illogique dans ce système qui dut bientôt frapper des esprits
enclins à tout ramener à un principe vrai et pratique. Or, supposons que
le demi-berceau A figuré dans la coupe de la nef de l'abbaye aux Hommes
(49)
soit coupé par tranches, que ces tranches soient conservées
seulement au droit des poussées des arcs-doubleaux et des arcs-ogives,
et supprimées entre les piles, c'est-à-dire dans les parties où les
poussées des grandes voûtes n'agissent pas, l'arc-boutant est trouvé; il
permet d'ouvrir dans les travées des jours aussi larges et aussi bas que
possible. Le triforium n'est plus qu'une galerie à laquelle on ne donne
qu'une importance médiocre. Le bas côté, composé d'un rez-de-chaussée,
est couvert par un comble à pente simple. Ces murs épais deviennent
alors inutiles, les piles des nefs peuvent rester grêles, car la
stabilité de l'édifice ne consiste plus que dans la résistance des
points d'appui extérieurs sur lesquels les arcs-boutants prennent
naissance (voy. CONTRE-FORT). Il fallut deux siècles de tâtonnements,
d'essais souvent malheureux, pour arriver à la solution de ce problème
si simple, tant il est vrai que les procédés les plus naturels, en
construction comme en toute chose, sont lents à trouver. Mais aussi dès
que cette nouvelle voie fut ouverte elle fut parcourue avec une rapidité
prodigieuse, et l'arc-boutant, qui naît à peine au XIIe siècle, est
arrivé à l'abus au XIVe. Quelques esprits judicieux veulent conclure de
la corruption si prompte du grand principe de la construction des
édifices gothiques, que ce principe est vicieux en lui-même; et
cependant l'art grec, dont personne n'a jamais contesté la pureté, soit
comme principe, soit comme forme, a duré à peine soixante-dix ans, et
Périclès n'était pas mort que déjà l'architecture des Athéniens arrivait
à son déclin. Nous pensons, au contraire, que dans l'histoire de la
civilisation, les arts qui sont destinés à faire faire un grand pas à
l'esprit humain sont précisément ceux qui jettent tout à coup une vive
clarté pour s'éteindre bientôt par l'abus même du principe qui les a
amenés promptement à leur plus grand développement (voy. ARCHITECTURE).
Les besoins auxquels les architectes du moyen âge avaient à satisfaire en élevant leurs églises les amenaient presque malgré eux à employer l'arc-boutant; nous allons voir comment ils ont su développer ce système de construction et comment ils en ont abusé.
Ce n'est, comme nous venons de le dire, qu'à la fin du XIIe siècle que l'arc-boutant se montre franchement dans les édifices religieux du nord de la France; il n'apparaît dans le centre et le midi que comme une importation, vers la fin du XIIIe siècle, lorsque l'architecture ogivale, déjà développée dans l'Ile-de-France, la Champagne et la Bourgogne, se répand dans tout l'occident.

Nous donnons en première ligne et parmi les plus anciens l'un des
arcs-boutants du choeur de l'église Saint-Remy de Reims, dont la
construction remonte à la dernière moitié du XIIe siècle (50). Ici
l'arc-boutant est simple, il vient contre-butter les voûtes au point de
leur poussée, et répartit sa force de résistance sur une ligne verticale
assez longue au moyen de ce contre-fort porté sur une colonne
extérieure, laissant un passage entre elle et le mur au-dessus du
triforium. Mais bientôt les constructeurs observèrent que la poussée des
voûtes en arcs d'ogives d'une très-grande portée, agissait encore
au-dessous et au-dessus du point mathématique de cette poussée. La
théorie peut, en effet, démontrer que la poussée d'une voûte se résout
en un seul point, mais la pratique fait bientôt reconnaître que cette
poussée est diffuse et qu'elle agit par suite du glissement possible des
claveaux des arcs et de la multiplicité des joints, depuis la naissance
de ces arcs jusqu'à la moitié environ de la hauteur de la voûte (51).
En
effet, soit A le point mathématique de la poussée d'une voûte en arc
d'ogive, si la voûte a une portée de 10 à 15 mètres, par exemple, un
seul arc-boutant arrivant en A ne suffira pas pour empêcher la voûte
d'agir encore au-dessus et au-dessous de ce point. De même qu'en étayant
un mur qui boucle, si l'on est prudent, on posera verticalement sur ce
mur une couche en bois et deux étais l'un au-dessus de l'autre pour
arrêter le bouclement; de même les constructeurs qui élevèrent, au
commencement du XIIIe siècle, les grandes nefs des cathédrales du nord,
établirent de C en B un contre-fort, véritable couche de pierre, et
deux arcs-boutants l'un au-dessus de l'autre, le premier arrivant en C
au-dessous de la poussée, le second en B au-dessus de cette poussée. Par
ce moyen les voûtes se trouvaient étrésillonnées à l'extérieur, et les
arcs-doubleaux ne pouvaient, non plus que les arcs-ogives, faire le
moindre mouvement, le point réel de la poussée se trouvant agir sur un
contre-fort maintenu dans un plan vertical et roidi par la buttée des
deux arcs-boutants. Au-dessous de la naissance de la voûte ce
contre-fort C B cessait d'être utile, aussi n'est-il plus porté que par
une colonne isolée, et le poids de ce contre-fort n'agissant pas
verticalement, les constructeurs sont amenés peu à peu à réduire le
diamètre de la colonne, dont la fonction se borne à prévenir des
dislocations, à donner du roide à la construction des piles sans
prendre de charge; aussi vers le milieu du XIIIe siècle ces colonnes
isolées sont-elles faites de grandes pierres minces posées en délit et
peuvent-elles se comparer à ces pièces de charpente nommées chandelles
que l'on pose plutôt pour roidir une construction faible que pour porter
un poids agissant verticalement. Les voûtes hautes du choeur de la
cathédrale de Soissons, dont la construction remonte aux premières
années du XIIIe siècle, sont contre-buttées par des arcs-boutants
doubles (52) dont les têtes viennent s'appuyer contre des piles portées
par des colonnes engagées. Un passage est réservé entre la colonne
inférieure et le point d'appui vertical qui reçoit les sommiers des
voûtes.
Il est nécessaire d'observer que le dernier claveau de chacun
des arcs n'est pas engagé dans la pile et reste libre de glisser dans le
cas où la voûte ferait un mouvement par suite d'un tassement des points
d'appui verticaux, c'est là encore une des conséquences de ce principe
d'élasticité appliqué à ces grandes bâtisses et sans lequel leur
stabilité serait compromise. La faculté de glissement laissée aux
arcs-boutants empêche leur déformation, et il n'est pas besoin de dire
qu'ils ne peuvent conserver toute leur force d'étrésillonnement
qu'autant qu'ils ne se déforment pas. En effet (53), soit A B C un
arc-boutant, la pile verticale D venant à tasser, il faudra, si l'arc
est engagé au point A, qu'il se rompe en B, ainsi que l'indique la fig.
1. Si, au contraire, c'est le contre-fort E qui vient à tasser, l'arc
étant engagé en A, il se rompra encore suivant la fig. 2. On comprend
donc combien il importe que l'arc puisse rester libre en A pour
conserver au moyen de son glissement possible la pureté de sa courbure.
Ces précautions dans la combinaison de l'appareil des arcs-boutants
n'ont pas été toujours prises, et la preuve qu'elles n'étaient pas
inutiles, c'est que leur oubli a presque toujours produit des effets
fâcheux.
La nef de la cathédrale d'Amiens, élevée vers 1230, présente une disposition d'arcs-boutants analogue à celle du choeur de la cathédrale de Soissons, seulement les colonnes supérieures sont dégagées comme les colonnes inférieures, elles sont plus sveltes, et le chaperon du second arc-boutant sert de canal pour conduire les eaux des chéneaux du grand comble à l'extrémité inférieure de l'arc, d'où elles tombent lancées par des gargouilles (voy. CHÉNEAU, GARGOUILLE). Ce moyen de résistance opposé aux poussées des voûtes par les arcs-boutants doubles ne sembla pas toujours assez puissant aux constructeurs du XIIIe siècle; ils eurent l'idée de rendre solidaires les deux arcs par une suite de rayons qui les réunissent, les étrésillonnent et leur donnent toute la résistance d'un mur plein, en leur laissant une grande légèreté. La cathédrale de Chartres nous donne un admirable exemple de ces sortes d'arcs-boutants (54). La construction de cet édifice présente dans toutes ses parties une force remarquable, les voûtes ont une épaisseur inusitée (0m,40 environ), les matériaux employés, lourds, rugueux, compactes, se prêtant peu aux délicatesses de l'architecture gothique de la première moitié du XIIIe siècle. Il était nécessaire, pour résister à la poussée de ces voûtes épaisses et qui n'ont pas moins de 15 mètres d'ouverture, d'établir des buttées énergiques, bien assises; aussi, fig. A, on observera que tout le système des arcs pénètre dans les contre-forts, s'y loge comme dans une rainure, que tous les joints de l'appareil sont normaux aux courbes, qu'enfin c'est une construction entièrement oblique destinée à résister à des pesanteurs agissant obliquement.

Ce système d'étrésillonnement des arcs au moyen de rayons intermédiaires
ne paraît pas toutefois avoir été fréquemment adopté pendant le XIIIe
siècle; il est vrai qu'il n'y avait pas lieu d'employer des moyens aussi
puissants pour résister à la poussée des voûtes, ordinairement fort
légères, même dans les plus grandes églises ogivales. À la cathédrale de
Reims les arcs-boutants sont doubles, mais indépendants l'un de l'autre;
ils deviennent de plus en plus hardis vers le milieu du XIIIe siècle,
alors que les piles sont plus grêles, les voûtes plus légères. Une fois
le principe de la construction des églises gothiques admis, on en vint
bientôt à l'appliquer dans ses conséquences les plus rigoureuses.
Observant avec justesse qu'une voûte bien contre-buttée n'a besoin pour
soutenir sa naissance que d'un point d'appui vertical très-faible
comparativement à son poids, les constructeurs amincirent peu à peu les
piles et reportèrent toute la force de résistance à l'extérieur, sur les
contre-forts (voy. CONSTRUCTION). Ils évidèrent complètement les
intervalles entre les piles, sous les formerets, par de grandes fenêtres
à meneaux; ils mirent à jour les galeries au-dessous de ces fenêtres
(voy. TRIFORIUM), et tout le système de la construction des grandes nefs
se réduisit à des piles minces, rendues rigides par la charge, et
maintenues dans un plan vertical par suite de l'équilibre établi entre
la poussée des voûtes et la buttée des arcs-boutants.
La nef et l'oeuvre haute du choeur de l'église de Saint-Denis, bâties sous saint Louis, nous donnent une des applications les plus parfaites de ce principe (55), que nous trouvons adopté au XIIIe siècle dans les choeurs des cathédrales de Troyes, de Sées, du Mans, et plus tard, au XIVe siècle, à Saint-Ouen de Rouen. Toute la science des constructeurs d'églises consistait donc alors à établir un équilibre parfait entre la poussée des voûtes d'une part, et la poussée des arcs-boutants de l'autre. Et il faut dire que s'ils n'ont pas toujours réussi pleinement dans l'exécution, les erreurs qu'ils ont pu commettre démontrent que le système n'était pas mauvais, puisque malgré des déformations effrayantes subies par quelques-uns de ces monuments, ils n'en sont pas moins restés debout depuis six cents ans, grâce à l'élasticité de ce mode de construction. Il faut ajouter aussi que dans les grands édifices bâtis avec soin, au moyen de ressources suffisantes et par des gens habiles, ces déformations ne se rencontrent pas, et l'équilibre des constructions a été maintenu avec une science et une adresse peu communes.
La courbure des arcs-boutants varie suivant la courbure des arcs-doubleaux, le diamètre des arcs-boutants, leur épaisseur et l'épaisseur de la culée ou contre-fort.
Ainsi les arcs-boutants primitifs sont généralement formés d'un quart de
cercle (56), mais leurs claveaux sont épais et lourds, ils résistent à
l'action de la poussée des voûtes par leur poids, et venant s'appuyer au
droit de cette poussée, ils ajoutent sur les piles A une nouvelle charge
à celle des voûtes; c'est une pesanteur inerte venant neutraliser une
poussée oblique.
Quand on comprit mieux la véritable fonction des
arcs-boutants, on vit qu'on pouvait, comme nous l'avons dit déjà,
opposer à la poussée oblique une résistance oblique et non-seulement ne
plus charger les piles A d'un surcroît de poids, mais même les soulager
d'une partie du poids des voûtes. D'ailleurs on avait pu observer que
les arcs-boutants étant tracés suivant un quart de cercle, se relevaient
au point B, lorsque la poussée des voûtes était considérable et que le
poids des claveaux des arcs n'était pas exactement calculé de manière à
conserver leur courbure. Dès lors les arcs-boutants furent cintrés sur
une portion de cercle dont le centre était placé en dedans des piles des
nefs (57),
ils remplissaient ainsi la fonction d'un étai, n'opposaient
plus une force passive à une force active, mais venaient porter une
partie du poids de la voûte, en même temps qu'ils maintenaient son
action latérale, ils déchargeaient d'autant les piles A. Si par une
raison d'économie, ou faute de place, les culées C ne pouvaient avoir
une grande épaisseur, les arcs-boutants devenaient presque des piles
inclinées, très-légèrement cintrées, opposant aux poussées une
résistance considérable, et reportant cette poussée presque
verticalement sur les contre-forts. On voit des arcs-boutants ainsi
construits dans l'église Notre-Dame de Semur en Auxois (58), monument
que nous citerons souvent à cause de son exécution si belle et de
l'admirable entente de son mode de construction. Toutefois des
arcs-boutants ainsi construits ne pouvaient maintenir que des voûtes
d'une faible portée (celles de Notre-Dame de Semur n'ont que 8 mètres
d'ouverture) et dont la poussée se rapprochait de la verticale par suite
de l'acuité des arcs-doubleaux, car ils se seraient certainement
déversés en pivotant sur leur sommier D, si les arcs-doubleaux se
rapprochant du plein cintre eussent eu par conséquent la propriété de
pousser suivant un angle voisin de 45 degrés. Dans ce cas, tout en
cintrant les arcs-boutants sur un arc d'un très-grand rayon, et d'une
courbure peu sensible par conséquent, on avait le soin de les charger
puissamment au-dessus de leur naissance, près de la culée, pour éviter
le déversement. Ce système a été adopté dans la construction des
immenses arcs-boutants de Notre-Dame de Paris, refaits au XIVe siècle
(59). Ces arcs prodigieux, qui n'ont pas moins de 15 mètres de rayon,
furent élevés par suite de dispositions tout exceptionnelles (voy.
CATHÉDRALE); c'est là un fait unique.

Tous les exemples que nous venons de donner ne reproduisent que des arcs-boutants simples ou doubles d'une seule volée; mais dans les choeurs des grandes cathédrales, par exemple, ou dans les nefs des XIIIe, XIVe et XVe siècles bordées de doubles bas côtés, ou de bas côtés et de chapelles communiquant entre elles, il eût fallu établir des arcs-boutants d'une trop grande portée pour franchir ces espaces s'ils eussent été s'appuyer sur les contre-forts extérieurs, ou ces contre-forts auraient dû alors prendre un terrain considérable en dehors des édifices. Or nous ne devons pas oublier que le terrain était chose à ménager dans les villes du moyen âge. Nous le répétons, les arcs-boutants de la cathédrale de Paris, qui franchissent les doubles bas côtés, sont un exemple unique; ordinairement, dans les cas que nous venons de signaler, les arcs-boutants sont à deux volées, c'est-à-dire qu'ils sont séparés par un point d'appui intermédiaire ou repos, qui, en divisant la poussée, détruit une partie de son effet et permet ainsi de réduire l'épaisseur des contre-forts extérieurs.
Dans les choeurs des grandes églises bâties pendant les XIIIe, XIVe et
XVe siècles, les chapelles présentent généralement en plan une
disposition telle que derrière les piles qui forment la séparation de
ces chapelles, les murs sont réduits à une épaisseur extrêmement faible
(60) à cause de la disposition rayonnante de l'abside. Si l'on élevait
un contre-fort plein sur le mur de séparation de A en B, il y aurait
certainement rupture au point C, car c'est sur ce point faible que
viendrait se reporter tout le poids de l'arc-boutant. Si on se
contentait d'élever un contre-fort sur la partie résistante de cette
séparation, de C en B, par exemple, le contre-fort ne serait pas assez
épais pour résister à la poussée des arcs-boutants bandés de D en C, en
tenant compte surtout de la hauteur des naissances des voûtes,
comparativement à l'espace C B. À la cathédrale de Beauvais, la longueur
A B de séparation des chapelles est à la hauteur des piles D, jusqu'à la
naissance de la voûte comme 1 est à 6, et la longueur C B comme 1 est à
9. Voici donc comment les constructeurs du XIIIe siècle établirent les
arcs-boutants du choeur de cette immense église (61).

Pour laisser une plus grande résistance à la culée des contre-forts A C, ils ne craignirent pas de poser la pile A en porte à faux sur la pile B, calculant avec raison que la poussée des deux arcs-boutants supérieurs tendait à faire incliner cette pile A, et reportait sa charge sur son parement extérieur à l'aplomb de la pile B. Laissant un vide entre la pile A et le contre-fort C, ils bandèrent deux autres petits arcs-boutants dans le prolongement des deux grands, et surent ainsi maintenir l'aplomb de la pile intermédiaire A chargée par le pinacle D. Grâce à cette division des forces des poussées et à la stabilité donnée à la pile A et au contre-fort C par ce surcroît de pesanteur obtenu au moyen de l'adjonction des pinacles D et E, l'équilibre de tout le système s'est conservé; et si le choeur de la cathédrale de Beauvais a menacé de s'écrouler au XIVe siècle, au point qu'il a fallu élever de nouvelles piles entre les anciennes dans les travées parallèles, il ne faut pas s'en prendre au système adopté, qui est très-savamment combiné, mais à certaines imperfections dans l'exécution, et surtout à l'ébranlement causé à l'édifice par la chute de la flèche centrale élevée imprudemment sur le transsept avant la construction de la nef. D'ailleurs, l'arc-boutant que nous donnons ici appartient au rond-point dont toutes les parties ont conservé leur aplomb. Nous citons le choeur de Beauvais parce qu'il est la dernière limite à laquelle la construction des grandes églises du XIIIe siècle ait pu arriver. C'est la théorie du système mise en pratique avec ses conséquences même exagérées. Sous ce point de vue, cet édifice ne saurait être étudié avec trop de soin. C'est le Parthénon de l'architecture française; il ne lui a manqué que d'être achevé, et d'être placé au centre d'une population conservatrice et sachant comme les Grecs de l'antiquité, apprécier, respecter et vanter les grands efforts de l'intelligence humaine. Les architectes de la cathédrale de Cologne, qui bâtirent le choeur de cette église peu après celui de Beauvais, appliquèrent ce système d'arcs-boutants, mais en le perfectionnant sous le rapport de l'exécution. Ils chargèrent cette construction simple de détails infinis qui nuisent à son effet sans augmenter ses chances de stabilité (voy. CATHÉDRALE). Dans la plupart des églises bâties au commencement du XIIIe siècle, les eaux des chéneaux des grands combles s'égouttaient par les larmiers des corniches, et n'étaient que rarement dirigés dans des canaux destinés à les rejeter promptement en dehors du périmètre de l'édifice (voy. CHÉNEAU); on reconnut bientôt les inconvénients de cet état de choses, et, vers le milieu du XIIIe siècle, on eut l'idée de se servir des arcs-boutants supérieurs comme d'aqueducs pour conduire les eaux des chéneaux des grands combles à travers les têtes des contre-forts; on évitait ainsi de longs trajets, et on se débarrassait des eaux de pluie par le plus court chemin. Ce système fut adopté dans le choeur de la cathédrale de Beauvais (61). Mais on était amené ainsi à élever la tête des arcs-boutants supérieurs jusqu'à la corniche des grands combles, c'est-à-dire bien au-dessus de la poussée des voûtes, comme à Beauvais, ou à conduire les eaux des chéneaux sur ces arcs-boutants au moyen de coffres verticaux en pierre qui avaient l'inconvénient de causer des infiltrations au droit des reins des voûtes. La poussée de ces arcs-boutants supérieurs, agissant à la tête des murs, pouvait causer des désordres dans la construction. On remplaça donc, vers la fin du XIIIe siècle, les arcs-boutants supérieurs par une construction à claire-voie, véritable aqueduc incliné qui étrésillonnait les têtes des murs, mais d'une façon passive et sans pousser. C'est ainsi que furent construits les arcs-boutants du choeur de la cathédrale d'Amiens, élevés vers 1260 (62).

Cette première tentative ne fut pas heureuse. Les arcs-boutants, trop peu chargés par ces aqueducs à jour, purent se maintenir dans le rond-point, là où ils n'avaient à contre-butter que la poussée d'une seule nervure de la voûte; mais, dans la partie parallèle du choeur, là où il fallait résister à la poussée combinée des arcs-doubleaux et des arcs-ogives, les arcs-boutants se soulevèrent, et au XVe siècle on dut bander, en contre-bas des arcs primitifs, de nouveaux arcs d'un plus grand rayon, pour neutraliser l'effet produit par la poussée des grandes voûtes. Cette expérience profita aux constructeurs des XIVe et XVe siècles, qui combinèrent dès lors les aqueducs surmontant les arcs-boutants, de façon à éviter ce relèvement dangereux. Toutefois, ce système d'aqueducs appartient particulièrement aux églises de Picardie, de Champagne et du nord, et on le voit rarement employé avant le XVIe siècle dans les monuments de l'Île-de-France, de la Bourgogne et du nord-ouest.

Voici comment au XVe siècle l'architecte qui réédifia en grande partie le choeur de l'église d'Eu sut prévenir le relèvement des arcs-boutants surmontés seulement de la trop faible charge des aqueducs à jour. Au lieu de poser immédiatement les pieds-droits de l'aqueduc sur l'extrados de l'arc (63), comme dans le choeur de la cathédrale d'Amiens, il établit d'abord sur cet extrados un premier étai de pierre AB. Cet étai est appareillé comme une plate-bande retournée, de façon à opposer une résistance puissante au relèvement de l'arc produit au point C par la poussée de la voûte; c'est sur ce premier étai, rendu inflexible, que sont posés les pieds-droits de l'aqueduc, pouvant dès lors être allégé sans danger. D'après ce système, les à-jour D ne sont que des étrésillons qui sont destinés à empêcher toute déformation de l'arc de E en C; l'arc ECH et sa tangente AB ne forment qu'un corps homogène parfaitement rigide par suite des forces contraires qui se neutralisent en agissant en sens inverse. L'inflexibilité de la première ligne AB étant opposée au relèvement de l'arc, le chaperon FG conserve la ligne droite et forme un second étai de pierre qui maintient encore les poussées supérieures de la voûte; la figure ECHFG présente toute la résistance d'un mur plein sans en avoir le poids. Ces arcs-boutants sont à doubles volées, et le même principe est adopté dans la construction de chacune d'elles.
L'emploi de l'arc-boutant dans les grands édifices exige une science approfondie de la poussée des voûtes, poussée qui, comme nous l'avons dit plus haut, varie suivant la nature des matériaux employés, leur poids et leur degré de résistance. Il ne faut donc pas s'étonner si de nombreuses tentatives faites par des constructeurs peu expérimentés ne furent pas toujours couronnées d'un plein succès, et si quelques édifices périssent par suite du défaut d'expérience de leurs architectes.
Lorsque le goût dominant vers le milieu du XIIIe siècle poussa les constructeurs à élever des églises d'une excessive légèreté et d'une grande élévation sous voûtes, lorsque l'on abandonna partout le système des arcs-boutants primitifs dont nous avons donné des types (fig. 50, 52, 54), il dut y avoir, et il y eut en effet pendant près d'un demi-siècle, des tâtonnements, des hésitations, avant de trouver ce que l'on cherchait: l'arc-boutant réduit à sa véritable fonction. Les constructeurs habiles résolurent promptement le problème par des voies diverses, comme à Saint-Denis, comme à Beauvais, comme à Saint-Pierre de Chartres, comme à la cathédrale du Mans, comme à Saint-Étienne d'Auxerre, comme à Notre-Dame de Semur, comme aux cathédrales de Reims, de Coutances et de Bayeux, etc., tous édifices bâtis de 1220 à 1260; mais les inhabiles (et il s'en trouve dans tous les temps) commirent bien des erreurs jusqu'au moment où l'expérience acquise à la suite de nombreux exemples put permettre d'établir des règles fixes, des formules qui pouvaient servir de guide aux constructeurs novices ou n'étant pas doués d'un génie naturel. À la fin du XIIIe siècle, et pendant le XIVe, on voit en effet l'arc-boutant appliqué sans hésitation partout; on s'aperçoit alors que les règles touchant la stabilité des voûtes sont devenues classiques, que les écoles de construction ont admis des formules certaines; et si quelques génies audacieux s'en écartent, ce sont des exceptions.
Il existe en France trois grandes églises bâties pendant le XIVe siècle, qui nous font voir jusqu'à quel point ces règles sur la construction des voûtes et des arcs-boutants étaient devenues fixes: ce sont les cathédrales de Clermont-Ferrand, de Limoges et de Narbonne. Ces trois édifices sont l'oeuvre d'un seul homme, ou au moins d'une école particulière, et bien qu'ils soient élevés tous trois au delà de la Loire, ils appartiennent à l'architecture du nord. Comme plan et comme construction, ces trois églises présentent une complète analogie; ils ne diffèrent que par leur décoration; leur stabilité est parfaite; un peu froids, un peu trop soumis à des règles classiques, ils sont par cela même intéressants à étudier pour nous aujourd'hui. Les arcs-boutants de ces trois édifices (les choeurs seuls ont été construits à Limoges et à Narbonne) sont combinés avec un grand art et une connaissance approfondie des poussées des voûtes; aussi dans ces trois cathédrales, très-légères d'ailleurs comme système de bâtisse, les piles sont restées parfaitement verticales dans toute leur hauteur, les voûtes n'ont pas une lézarde, les arcs-boutants ont conservé toute la pureté primitive de leur courbe.
Nous donnons ici (64) un des arcs-boutants de la cathédrale de Clermont-Ferrand, construits comme toute cette église en lave de Volvic.

Un des arcs-boutants de la cathédrale de Narbonne (65), construits en pierre de Sainte-Lucie, qui est un calcaire fort résistant. Quant au choeur de la cathédrale de Limoges, il est bâti en granit. Dans l'un comme dans l'autre de ces arcs-boutants, les piles A reposent sur les piles de tête des chapelles, et le vide AB se trouve au-dessus de la partie mince des murs de séparation de ces chapelles, comme à Amiens. Ces constructions sont exécutées avec une irréprochable précision. Alors, au XIVe siècle, l'arc-boutant, sous le point de vue de la science, avait atteint le dernier degré de la perfection; vouloir aller plus loin, c'était tomber dans l'abus; mais les constructeurs du moyen âge n'étaient pas gens à s'arrêter en chemin. Évidemment ces étais à demeure étaient une accusation permanente du système général adopté dans la construction de leurs grandes églises; ils s'évertuaient à les dissimuler, soit en les chargeant d'ornements, soit en les masquant avec une grande adresse, comme à la cathédrale de Reims, par des têtes de contre-forts qui sont autant de chefs-d'oeuvre, soit en les réduisant à leur plus simple expression, en leur donnant alors la roideur que doit avoir un étai. C'est ce dernier parti qui fut franchement admis au XIVe siècle dans la construction des arcs-boutants de l'église de Saint-Urbain de Troyes (66).

Que l'on veuille bien examiner cette figure, et l'on verra que
l'arc-boutant se compose d'un petit nombre de morceaux de pierre; ce
n'est plus, comme dans tous les arcs précédents, une succession de
claveaux peu épais, conservant une certaine élasticité, mais au
contraire des pierres posées bout à bout, et acquérant ainsi les
qualités d'un étai de bois. Ce n'est plus par la charge que l'arc
conserve sa rigidité, mais par la combinaison de son appareil. Ici, la
buttée n'est pas obtenue au moyen de l'arc ABC, mais par l'étai de
pierre DE. L'arc ABC, dont la flexibilité est d'ailleurs neutralisée par
l'horizontale BG et le cercle F, n'est là que pour empêcher l'étai DE de
fléchir. Si l'architecte qui a tracé cet arc-boutant eût pu faire
tailler le triangle DBG dans un seul morceau de pierre, il se fût
dispensé de placer le lien AB. Toutefois, pour oser appareiller un
arc-boutant de cette façon, il fallait être bien sûr du point de la
poussée de la voûte et de la direction de cette poussée, car si ce
système de buttée eût été placé un peu au-dessus ou au-dessous de la
poussée, si la ligne DE n'eût pas été inclinée suivant le seul angle qui
lui convenait, il y aurait eu rupture au point B. Pour que cette rupture
n'ait pas eu lieu, il faut supposer que la résultante des pressions
diverses de la voûte agit absolument suivant la ligne DE. Ce n'est donc
pas trop s'avancer que de dire: le système de l'arc-boutant, au XIVe
siècle, était arrivé à son développement le plus complet. Mais on peut
avoir raison suivant les règles absolues de la géométrie, et manquer de
sens.
L'homme qui a dirigé les constructions de l'église de Saint-Urbain
de Troyes était certes beaucoup plus savant, meilleur mathématicien que
ceux qui ont bâti les nefs de Chartres, de Reims ou d'Amiens, cependant
ces derniers ont atteint le but et le premier l'a dépassé en voulant
appliquer ses matériaux à des combinaisons géométriques qui sont en
complet désaccord avec leur nature et leurs qualités; en voulant donner
à la pierre le rôle qui appartient au bois, en torturant la forme et
l'art enfin, pour se donner la puérile satisfaction de les soumettre à
la solution d'un problème de géométrie. Ce sont là de ces exemples qui
sont aussi bons à étudier qu'ils sont mauvais à suivre.
Ce même principe est adopté dans de grands édifices. On voit dans la partie de la nef de la cathédrale de Troyes, qui date du XVe siècle, un arc-boutant à double volée particulièrement bien établi pour résister aux poussées des grandes voûtes. Il se compose de deux buttées rigides de pierre réunies par une arcature à jour (67); la buttée inférieure est tangente à l'extrados de l'arc, de manière à reporter la poussée sur la naissance de cet arc, en le laissant libre toutefois par la disposition de l'appareil. Les pieds-droits de l'arcature à jour sont perpendiculaires à la direction des deux buttées, et les étrésillonnent ainsi beaucoup mieux que s'ils étaient verticaux, comme dans les arcs-boutants des choeurs de la cathédrale d'Amiens et de l'église d'Eu, donnés figures 62 et 63. Ces deux buttées rigides AB, CD, ne sont pas parallèles, mais se rapprochent en AC comme deux étais de bois, afin de mieux reporter la poussée agissant de B en F sur l'arc-boutant unique de la première volée E. La buttée rigide AB sert d'aqueduc pour les eaux du comble. Par le fait, cette construction est plus savante que gracieuse, et l'art ici est complétement sacrifié aux combinaisons géométriques.
Ce système d'arcs-boutants à jour, rigides, fut quelquefois employé avec
bien plus de raison lorsqu'il s'agissait de maintenir une poussée
agissant sur un vide étroit, comme dans la Sainte-Chapelle basse de
Paris (XIIIe siècle).
Là, cet arc-boutant se compose d'une seule pierre
évidée venant opposer une résistance fort légère en apparence, mais
très-rigide en réalité, à la pression d'une voûte. La Sainte-Chapelle
basse du Palais se compose d'une nef et de deux bas côtés étroits, afin
de diminuer la portée des voûtes dont on voulait éviter de faire
descendre les naissances trop bas; mais les voûtes de ces bas côtés
atteignant la hauteur sous clef des voûtes de la nef (68), il fallait
s'opposer à la poussée des grands arcs-doubleaux et des arcs-ogives au
point A, au moyen d'un véritable étrésillon. L'architecte imagina de
rendre fixe ce point A, et de reporter sa poussée sur les contre-forts
extérieurs, en établissant un triangle à jour ABC découpé dans un seul
morceau de pierre.
Ce système d'arc-boutant, ou plutôt d'étrésillon, est employé souvent dans les constructions civiles pour contre-butter des poussées. Les manteaux des quatre cheminées des cuisines dites de saint Louis, au Palais de Paris, sont maintenus par des étrésillons pris également dans un seul morceau de pierre découpé à jour (voy. CHEMINÉE).
Il n'en résulte pas moins que l'arc-boutant surmonté d'un aqueduc se perfectionne sous le point de vue de la parfaite connaissance des poussées pendant les XIVe et XVe siècles, comme l'arc-boutant simple ou double. Les constructeurs arrivent à calculer exactement le poids qu'il faut donner aux aqueducs à jour pour empêcher le soulèvement de l'arc. Le caniveau qui couronne l'aqueduc devient un étai par la force qu'on lui donne aussi bien que par la manière dont il est appareillé.

Comme il arrive toujours lorsqu'un système adopté est poussé à ses dernières limites, on finit par perdre la trace du principe qui l'a développé; à la fin du XVe siècle et pendant le XVIe, les architectes prétendirent si bien améliorer la construction des arcs-boutants, qn'ils oublièrent les conditions premières de leur stabilité et de leur résistance. Au lieu de les former d'un simple arc de cercle venant franchement contre-butter les poussées, soit par lui-même, soit par sa combinaison avec une construction rigide servant d'étai, ils leur donnèrent des courbes composées, les faisant porter sur les piles des nefs en même temps qu'ils maintenaient l'écartement des voûtes. Ils ne tenaient plus compte ainsi de cette condition essentielle du glissement des têtes d'arcs, dont nous avons expliqué plus haut l'utilité; ils tendaient à pousser les piles en dedans, au-dessous et en sens inverse de la poussée des voûtes. Nous donnons ici (69) un des arcs-boutants de la nef de l'église Saint-Wulfrand d'Abbeville, construit d'après ce dernier principe pendant les premières années du XVIe siècle. Ces arcs ont produit et subi de graves désordres par suite de leur disposition vicieuse. Les contre-forts extérieurs ont tassé; il s'est déclaré des ruptures et des écrasements aux points A des arcs, les sommiers B ayant empêché le glissement qui aurait pu avoir lieu sans de grands inconvénients. Les arcs rompus aux points A ne contre-buttent plus les voûtes, qui poussent et écrasent, par le déversement des murs, les aqueducs supérieurs; en même temps ces arcs, déformés, chargés par ces aqueducs qui subissent la pression des voûtes, agissent puissamment sur les sommiers B, et, poussant dès lors les piliers vers l'intérieur à la naissance des voûtes, augmentent encore les causes d'écartement. Pour nous expliquer en peu de mots, lorsque des arcs-boutants sont construits d'après ce système, la poussée des voûtes qui agit de C en D charge l'arc A verticalement, en augmentant la pression des pieds-droits de l'aqueduc. Cette charge verticale, se reportant sur une construction élastique, pousse de A en B. Or, plus la poussée de A en B est puissante, et plus la poussée des voûtes agit en C par le renversement de la ligne DC. Donc les sommiers placés à la tête des arcs-boutants en B sont contraires au principe même de l'arc-boutant.

Les porches nord et sud de l'église Saint-Urbain de Troyes peuvent
donner une idée bien exacte de la fonction que remplissent les
arcs-boutants dans les édifices de la période ogivale. Ces porches sont
comme la dissection d'une petite église du XIVe siècle. Des voûtes
légères, portées sur des colonnes minces et longues, sont contre-buttées
par des arcs qui viennent se reposer sur des contre-forts complétement
indépendants du monument; pas de murs: des colonnes, des voûtes, des
contre-forts isolés, et les arcs-boutants placés suivant la résultante
des poussées. Il n'entre dans toute cette construction, assez importante
cependant, qu'un volume très-restreint de matériaux posés avec autant
d'art que d'économie (70). A indique le plan de ce porche, B la vue de
l'un de ses arcs-boutants d'angle. Comme dans toutes les bonnes
constructions de cette époque, l'arc-boutant ne fait que s'appuyer
contre la colonne, juste au point de la poussée, étayant le sommier qui
reçoit les arcs-doubleaux, les archivoltes et les arcs-ogives. Au-dessus
des arcs-boutants les contre-forts sont rendus plus stables par des
pinacles, et les colonnes elles-mêmes sont chargées et roidies par les
pyramidions qui les surmontent.
Il est aisé de comprendre, en examinant
le plan A, comment les deux voûtes du porche, qui reposent d'un côté sur
le mur du transsept et de l'autre sur les trois colonnes CDE, ne peuvent
se maintenir sur des points d'appui aussi grêles qu'au moyen de la
buttée des trois arcs-boutants CF, DG, EH, reportant les résultantes de
leurs poussées sur les trois contre-forts IKL. L'espace MCDEN est seul
couvert, et forme comme un grand dais suspendu sur de frêles colonnes.
Cette élégante construction n'a éprouvé ni mouvement ni déversement,
malgré son extrême légèreté, et quoiqu'elle ait été laissée dans les
plus mauvaises conditions depuis longtemps.
On aura pu observer, d'après tous les exemples que nous avons donnés, que les arcs-boutants ne commencent à être chanfreinés ou ornés de moulures qu'à partir de la deuxième moitié du XIIIe siècle. En général, les profils des arcs-boutants sont toujours plus simples que ceux des arcs-doubleaux; il est évident qu'on craignait d'affaiblir les arcs-boutants exposés aux intempéries par des évidements de moulures, et qu'en se laissant entraîner à les tailler sur un profil, on obéissait au désir de ne point faire contraster ces arcs d'une manière désagréable avec la richesse des archivoltes des fenêtres et la profusion de moulures qui couvraient tous les membres de l'architecture dès la fin du XIIIe siècle. Cependant les moulures qui sont profilées à l'intrados des arcs-boutants sont toujours plus simples et conservent une plus grande apparence de force que celles appliquées aux archivoltes et aux arcs des voûtes.
Lorsqu'à la fin du XIIe siècle et au commencement du XIIIe on appliqua
le système des arcs-boutants aux grandes voûtes portées sur des piles
isolées, on ne songea d'abord qu'à contre-butter les poussées des voûtes
des nefs et des choeurs. Les voûtes des transsepts, se retournant à angle
droit, n'étaient contre-buttées que par des contre-forts peu saillants.
On se fiait sur le peu de longueur des croisillons composés de deux ou
trois travées de voûtes, on supposait que les buttées des contre-forts
des pignons et celles des murs des nefs suffisaient pour maintenir la
poussée des arcs-doubleaux entre ces buttées.
À la cathédrale de Paris,
par exemple (71), il a toujours existé des arcs-boutants de A en B pour
maintenir la poussée des voûtes de la nef et du choeur; mais l'écartement
des voûtes des croisillons n'est maintenu que par les deux contre-forts
minces D et C, et il n'a jamais existé d'arcs-boutants de D en A et de C
en A. On ne pouvait songer en effet à bander des arcs-boutants qui
eussent pris les contre-forts AE en flanc; en admettant que ces
contre-forts fussent arrivés jusqu'au prolongement de l'arc-doubleau CD,
ce qui n'existe pas à la cathédrale de Paris. Cette difficulté non
résolue causa quelquefois la ruine des croisillons peu de temps après
leur construction. Aussi, dès le milieu du XIIIe siècle, on disposa les
contre-forts des angles formés par les transsepts de manière à pouvoir
butter les voûtes dans les deux sens (72). À la cathédrale d'Amiens, par
exemple, ces contre-forts, à la rencontre du transsept et du choeur,
présentent en plan la forme d'une croix, et il existe des arcs-boutants
de D en C comme de A en B. Quand les arcs-boutants sont à doubles
volées, la première volée est bandée de E en F comme de G en F.

Souvent il arrivait aussi que les arcs-boutants des nefs ou des choeurs, poussant sur la tranche de contre-forts très-larges mais très-minces, et qui n'étaient en réalité que des murs (73), comme aux choeurs de Notre-Dame de Paris, de l'église de Saint-Denis, de la cathédrale du Mans, tendaient à faire déverser ces murs; on établit également, vers le milieu du XIIIe siècle, des éperons latéraux A sur les flancs des contre-forts, pour prévenir ce déversement (voy. CONTRE-FORT).
On ne s'arrêta pas là; ces masses de constructions élevées pour maintenir les arcs-boutants ne pouvaient satisfaire les constructeurs du XVe siècle, qui voulaient que leurs édifices parussent plus légers encore qu'ils ne l'étaient réellement. Dans quelques églises, et notamment dans le choeur de l'église du Mont-Saint-Michel-en-Mer, ils remplacèrent les éperons A de flanc, par des arcs bandés d'un contre-fort à l'autre, comme une succession d'étrésillons destinés à rendre tous les contre-forts des arcs-boutants solidaires.
De tout ce qui précède on peut conclure que les architectes du moyen âge, après avoir résolu le problème de la construction des voûtes sur des piles minces et isolées, au moyen de l'arc-boutant, ont été frappés, sitôt après l'application du principe, des difficultés d'exécution qu'il présentait. Tous leurs efforts ont eu pour but d'établir l'équilibre entre la poussée des voûtes et la résistance des arcs-boutants, à baser ce système sur des règles fixes, ce qui n'était pas possible, puisque les conditions d'équilibre se modifient en raison de la nature, du poids, de la résistance et de la dimension des corps. Les hommes d'un génie supérieur, comme il arrive toujours, ont su vaincre ces difficultés, plutôt par l'instinct que par le calcul, par l'observation des faits particuliers que par l'application de règles absolues. Les constructeurs vulgaires ont suivi tels ou tels exemples qu'ils avaient sous les yeux, mais sans se rendre compte des cas exceptionnels qu'ils avaient à traiter; souvent alors ils se sont trompés. Est-ce à dire pour cela que l'arc-boutant, parce qu'il exige une grande sagacité de la part du constructeur, est un moyen dont l'emploi doit être proscrit? Nous ne le croyons pas. Car de ce que l'application d'un système présente des difficultés et une certaine finesse d'observation, ce n'est pas une raison pour le condamner, mais c'en est une pour l'étudier avec le plus grand soin.
ARC DE DÉCHARGE. C'est l'arc que l'on noie dans les constructions
au-dessus des linteaux des portes, au-dessus des vides en général, et
des parties faibles des constructions inférieures pour reporter le poids
des constructions supérieures sur des points d'appui dont la stabilité
est assurée. Les archivoltes des portails et portes sont de véritables
arcs de décharge (voy. ARCHIVOLTES, variété de l'Arc); toutefois on ne
donne guère le nom d'arcs de décharge qu'aux arcs dont le parement
affleure le nu des murs, qui ne se distinguent des assises horizontales
que par leur appareil, et quelquefois cependant par une faible saillie.
Dans les constructions romaines élevées en petits matériaux et en
blocages, on rencontre souvent des arcs de décharge en briques et en
moellons noyés en plein mur, afin de reporter les pesanteurs sur des
points des fondations et soubassements établis plus solidement que le
reste de la bâtisse. Cette tradition se conserve encore pendant la
période romane.
Mais à cette époque les constructions en blocage
n'étaient plus en usage, et on ne trouve que très-rarement des arcs
destinés à diviser les pesanteurs dans un mur plein. D'ailleurs dans les
édifices romans la construction devient presque toujours un motif de
décoration, et lorsqu'en maçonnant on avait besoin d'arcs de décharge on
cherchait à les accuser, soit par une saillie, et même quelquefois par
un filet orné ou mouluré à l'extrados. Tels sont les arcs de décharge
qui se voient le long du mur des bas côtés de l'Église St-Étienne de
Nevers (fin du XIe siècle) (74). Ici ces arcs sont surtout destinés à
charger les piles des bas côtés qui reçoivent les poussées des voûtes;
les murs n'étant pas armés de contre-forts, ce surcroît de charge donne
aux points d'appui principaux une grande stabilité. C'est un système qui
permet d'élever des murs minces entre les piles destinées à recevoir le
poids des constructions, il présente par conséquent une économie de
matériaux; on le voit appliqué dans beaucoup d'églises du Poitou, de
l'Anjou, de l'Auvergne et de la Saintonge pendant la période romane.
Inutile d'ajouter que ces arcs de décharge sont toujours extradossés;
puisque leur fonction essentielle est de reporter les charges
supérieures sur leurs sommiers, ils doivent tendre à faire glisser les
maçonneries sur leurs reins.


Le pignon du transsept sud de l'église de Notre-Dame-du-Port à
Clermont-Ferrand est ainsi porté sur deux arcs de décharge à
l'extérieur, reposant sur une colonne (75). Souvent dans l'architecture
civile des XIe et XIIe siècles on rencontre des portes dont les linteaux
sont soulagés par des arcs de décharge venant appuyer leurs sommiers sur
une portée ménagée aux deux extrémités des linteaux (76), quelquefois
aussi au-dessus des linteaux on voit une clef posée dans l'assise qui
les surmonte et qui forme ainsi une plate-bande appareillée reportant le
poids des murs sur les deux pieds-droits (77).
Un vide est laissé alors
entre l'intrados de la clef et le linteau pour éviter la charge de cette
clef en cas de mouvement dans les constructions. Des arcs de décharge
sont posés au-dessus des ébrasements intérieurs des portes et des
fenêtres dans presque tous les édifices civils du moyen âge.
Ces arcs sont plein cintre (78) (château de Polignac, Haute-Loire, XIe
siècle), rarement en tiers-point, et le plus souvent bombés seulement
pour prendre moins de hauteur sous les planchers (voy. FENÊTRE). Pendant
la période ogivale, les constructeurs ont à franchir de grands espaces
vides, ils cherchent sans cesse à diminuer à rez-de-chaussée les points
d'appui, afin de laisser le plus de place possible à la foule, de ne pas
gêner la vue; ce principe les conduit à établir une partie des
constructions supérieures en porte-à-faux; si dans le travers des nefs
ils établissent des arcs-boutants au-dessus des bas côtés, pour reporter
la poussée des grandes voûtes à l'extérieur, il faut, dans le sens de la
longueur, qu'ils évitent de faire peser les murs des galeries en
porte-à-faux sur les voûtes de ces bas côtés, trop légères pour porter
la charge d'un mur si mince qu'il soit.
Dès lors, pour éviter le fâcheux
effet de ce poids sur des voûtes, des arcs de décharge ont été ménagés
dans l'épaisseur des murs de fond des galeries au premier étage. Ces
arcs reportent la charge de ces murs sur les sommiers des arcs-doubleaux
des bas côtés (voy. CONSTRUCTION, TRIFORIUM, GALERIE). On trouve des
arcs de décharge en tiers-point, dans les galeries hautes de Notre-Dame
de Paris, dans le triforium des nefs des cathédrales d'Amiens (79), de
Reims, de Nevers. Mais à Amiens, les fenêtres supérieures étant posées
sur la claire-voie intérieure du triforium, ces arcs de décharge ne
portent que le poids d'un mur mince, qui ne s'élève que jusqu'à l'appui
du fenestrage.
Dans les édifices de la Bourgogne, et d'une partie de la Champagne, les
fenêtres, au lieu d'être posées sur l'arcature intérieure, sont en
retraite sur les murs extérieurs du triforium. Dans ce cas, l'arc de

décharge est d'autant plus nécessaire que ce mur extérieur porte avec le
fenestrage la bascule des corniches de couronnement, il est quelquefois
posé immédiatement au-dessus de l'extrados des archivoltes, afin
d'éviter même la charge du remplissage, qui comme à Reims, à Paris et à
Amiens, garnit le dessous de l'arc en tiers-point, ou bien encore, l'arc
de décharge n'est qu'un arc bombé, noyé dans l'épaisseur du mur, un peu
au-dessus du sol de la galerie, ainsi qu'on peut le remarquer dans
l'église de Saint-Père-sous-Vézelay (80).
On rencontre des arcs de décharge, à la base des tours centrales des églises reposant sur les quatre arcs-doubleaux des transsepts, comme à la cathédrale de Laon. Sous les beffrois des clochers, comme à Notre-Dame de Paris. Il en existe aussi au-dessus des voûtes, pour reporter le poids des bahuts et des charpentes sur les piles, et soulager les meneaux des fenêtres tenant lieu de formerets, comme à la Sainte-Chapelle de Paris, comme à Amiens, à la cathédrale de Troyes (81). Au XVe siècle, les arcs de décharge ont été fort en usage pour porter des constructions massives, reposant en apparence sur des constructions à jour; pour soulager les cintres des grandes roses du poids des pignons de face.
Il n'est pas besoin de dire, que les arcs jouent un grand rôle dans la construction des édifices du moyen âge, les architectes étaient arrivés, dès le XIIIe siècle, à acquérir une connaissance parfaite de leur force de résistance, et de leurs effets sur les piles et les murs, ils mettaient un soin particulier dans le choix des matériaux qui devaient les composer, dans leur appareil, et la façon de leurs joints. L'architecture romaine n'a fait qu'ouvrir la voie dans l'application des arcs à l'art de bâtir; l'architecture du moyen âge l'a parcourue aussi loin qu'il était possible de le faire, au point d'abuser même de ce principe à la fin du XVe siècle, par un emploi trop absolu peut-être, et des raffinements poussés à l'excès.
La qualité essentielle de l'arc, c'est l'élasticité. Plus il est étendu, plus l'espace qu'il doit franchir est large, et plus il est nécessaire qu'il soit flexible. Les constructeurs du moyen âge ont parfaitement suivi ce principe en multipliant les joints dans leurs arcs, en les composant de claveaux égaux, toujours extradossés avec soin. Ce n'est qu'au XVIe siècle, alors que l'art de bâtir, proprement dit, soumettait l'emploi des matériaux à des formes qui ne convenaient ni à leurs qualités, ni à leurs dimensions, que l'arc ne fut plus appliqué en raison de sa véritable fonction. Le principe logique qui l'avait fait admettre, cessa de diriger les constructeurs. En imitant ou croyant imiter les formes de l'antiquité romaine, les architectes de la renaissance s'écartaient plus du principe de la construction antique que les architectes des XIIe et XIIIe siècles; ou plutôt, ils n'en tenaient nul compte. Si dans leurs constructions massives, inébranlables, les Romains avaient compris la nécessité de laisser aux arcs une certaine élasticité en les extradossant, et en les formant de rangs de claveaux concentriques, lorsqu'ils avaient besoin de leur donner une grande résistance, à plus forte raison dans les bâtisses du moyen âge, où tout est équilibre, et mouvement par conséquent, devait-on ne pas perdre de vue le principe qui doit diriger les architectes dans la construction des arcs. Du jour où l'on cessa d'extradosser les arcs, où l'on voulut les composer de claveaux inégaux comme dimension, et comme poids par conséquent, les appareiller à crossettes, et les relier aux assises horizontales, au moyen de joints droits à la queue, on ne comprit plus la véritable fonction de l'arc (voy. CONSTRUCTION, VOÛTE).
ARCADE, s. t. Mot qui désigne l'ensemble d'une ouverture fermée par une archivolte. On dit: les arcades de ce portique s'ouvrent sur une cour. Le mot arcade est général, il comprend le vide comme le plein, l'archivolte comme les pieds-droits. On dit aussi: arcade aveugle pour désigner une archivolte ou arc de décharge formant avec les pieds-droits une saillie sur un mur plein. Les arcs de décharge des bas côtés de l'église de Saint-Étienne de Nevers (voy. ARC, fig. 74) sont des arcades aveugles. Les arcades aveugles sont très-souvent employées dans les édifices romans du Poitou, de l'Auvergne, de la Saintonge et de l'Angoumois; toutefois, quand elles sont d'une petite dimension, on les désigne sous le nom d'ARCATURE (voy. ce mot). Les constructeurs de l'époque romane donnant aux murs de leurs édifices une forte épaisseur suivant la tradition romaine, et aussi pour résister à la poussée uniforme des voûtes en berceau, cherchaient, autant pour économiser les matériaux que pour décorer ces murs massifs et les rendre moins lourds, à les alléger au moyen d'une suite d'arcades (voy. ARC DE DÉCHARGE) qui leur permettaient cependant de retrouver les épaisseurs de murs nécessaires pour maintenir les poussées des berceaux au-dessus de l'extrados de ces arcs. Par suite de l'application des voûtes en arcs d'ogives dans les édifices, il ne fut plus utile d'élever des murs épais continus; on se contenta dès lors d'établir des contre-forts saillants au droit des poussées (voy. CONSTRUCTION), et les intervalles entre ces contre-forts n'étant que des clôtures minces en maçonnerie, les arcades aveugles, ou arcs de décharge, n'eurent plus de raison d'être. Toutefois cette tradition subsista, et les architectes de la période ogivale continuèrent, dans un but purement décoratif, à pratiquer des arcades aveugles (arcatures) sous les appuis des fenêtres des bas côtés dans les intérieurs de leurs édifies, d'abord très-saillantes, puis s'aplatissant peu à peu à la fin du XIIIe siècle et pendant le XIVe, pour ne plus être qu'un placage découpé plus ou moins riche, sorte de filigrane de pierre destiné à couvrir la nudité des murs.
ARCATURE, s. t. Mot par lequel on désigne une série d'arcades d'une petite dimension, qui sont plutôt destinées à décorer les parties, lisses des murs sous les appuis des fenêtres ou sous les corniches, qu'à répondre à une nécessité de la construction. On rencontre dans certains édifices du Bas-Empire des rangées d'arcades aveugles qui n'ont d'autre but que d'orner les nus des murs. Ce motif de décoration paraît avoir été particulièrement admis et conservé par les architectes de l'époque carlovingienne, et il persiste pendant les périodes romane et ogivale, dans toutes les provinces de la France. Il est bon d'observer cependant que l'emploi des arcatures est plus ou moins bien justifié dans les édifices romans; quelques contrées, telles que la Normandie par exemple, ont abusé de l'arcature dans certains monuments du XIe siècle, ne sachant trop comment décorer les façades des grandes églises, les architectes superposèrent des étages d'arcatures aveugles de la base au faîte. C'est particulièrement dans les édifices normands bâtis en Angleterre, que cet abus se fait sentir; la façade de l'église de Peterborough en est un exemple. Rien n'est plus monotone que cette superposition d'arcatures égales comme hauteurs et largeurs, dont on ne comprend ni l'utilité comme système de construction, ni le but comme décoration. En France le sentiment des proportions, des rapports des vides avec les pleins, perce dans l'architecture du moment qu'elle se dégage de la barbarie. Dès le XIe siècle ces détails importants de la décoration des maçonneries, tels que les arcatures, sont contenus dans de justes bornes, tiennent bien leur place, ne paraissent pas être comme en Angleterre ou en Italie, sur la façade de la cathédrale de Pise par exemple, des placages d'une stérile invention. Nous diviserons les arcatures: 1° en arcatures de rez-de-chaussée; 2° arcatures de couronnements; 3° arcatures-ornements.
ARCATURES DE REZ-DE-CHAUSSÉE. Ces sortes d'arcatures sont généralement placées, dans l'architecture française, à l'intérieur, sous les appuis des fenêtres basses, et forment une série de petites arcades aveugles entre le sol et ces appuis. Les grandes salles, les bas côtés des églises, les chapelles, sont presque toujours tapissés dans leurs soubassements par une suite d'arcatures peu saillantes portées par des pilastres ou des colonnettes détachés reposant sur un banc ou socle de pierre continu. Nous donnons comme premier exemple de ce genre de décoration une travée intérieure des bas côtés de la nef de la cathédrale du Mans (1).

Dans cet exemple qui est du XIe siècle, la construction des maçonneries semble justifier l'emploi de l'arcature; les murs sont bâtis en blocages parementés en petits moellons cubiques comme certaines constructions gallo-romaines. L'arcature, par son appareil plus grand, la fermeté de ses pieds-droits monolithes, donne de la solidité à ce soubassement en le décorant, elle accompagne et couronne ce banc qui règne tout le long du bas côté. Le plus souvent même à cette époque, les arcatures sont supportées par des colonnettes isolées ornées de bases et de chapiteaux sculptés; nous choisirons comme exemple l'arcature des bas côtés de l'église abbatiale de Souvigny (Allier) (2), reposant toujours sur un banc conformément à l'usage adopté.

Dans ces arcatures, la base, le chapiteau et les claveaux des petits arcs sont engagés dans la maçonnerie du mur, et les fûts des colonnettes composés d'un seul morceau de pierre posé en délit, sont détachés. À Souvigny les arcs reposent alternativement sur un pilastre rectangulaire et sur une colonnette cylindrique.
Cet exemple remonte aux premières années du XIIe siècle. À mesure que
l'architecture se débarrasse des formes quelque peu lourdes de l'époque
romane, les arcatures basses deviennent plus fines, les arcs se décorent
de moulures, les colonnettes sont plus sveltes. Dans le bas côté sud de
l'église de Sainte-Madeleine de Châteaudun, on voit encore les restes
d'une belle arcature du XIIe siècle qui sert de transition entre le
style roman et le style ogival (3); les tailloirs des chapiteaux en sont
variés, finement moulurés, les archivoltes sont décorées de dents de
scie. Les arcatures basses des monuments de la Normandie sont vers cette
époque curieusement travaillées, parfois composées d'une suite de petits
arcs plein cintre qui s'entre-croisent et portent soit sur un rang de
colonnettes, soit sur des colonnettes et des corbeaux alternés; mais
c'est particulièrement en Angleterre que le style normand a développé ce
genre de décoration dans lequel quelques esprits plus ingénieux
qu'éclairés ont voulu voir l'origine de l'ogive (voy. OGIVE).
Le côté nord du choeur de la cathédrale de Canterbury présente à l'extérieur, entre les fenêtres de la crypte et celles des bas côtés, une arcature que nous donnons ici (3 bis), et qui forme un riche bandeau entre les contre-forts; cet exemple date des dernières années du XIIe siècle. Dans l'étage inférieur de la tour Saint-Romain de la cathédrale de Rouen, les colonnettes des arcatures sont accouplées, supportant déjà de petits arcs en tiers-point, bien que le plein cintre persiste longtemps dans ces membres accessoires de l'architecture, et jusque vers les premières années du XIIIe siècle; ainsi, les chapelles du choeur de l'église abbatiale de Vézelay sont tapissées sous les appuis des fenêtres, d'arcatures appartenant par les détails de leur ornementation au XIIIe siècle, tandis que leurs arcs sont franchement plein cintre (4).

En Bourgogne l'arc plein cintre persiste même dans les arcatures
jusque vers le milieu du XIIIe siècle. La petite église de Notre-Dame de
Dijon, dont la construction est postérieure à l'église de l'abbaye de
Vézelay, laisse encore voir dans les soubassements de ses chapelles du
transsept, de belles arcatures plein cintre sur des chapiteaux qui n'ont
plus rien de l'ornementation romane. La courbe en tiers-point ne
s'applique aux archivoltes des arcatures que vers 1230, l'arc trilobé
sert de transition, on le voit employé dans le transsept nord de
l'église Saint-Jean de Châlons-sur-Marne (5), dont la partie inférieure
date de 1220 à 1230; dans les travées encore existantes des bas côtés de
la cathédrale d'Amiens, même date; plus tard, de 1230 à 1240, l'arc en
tiers-point règne seul (6), ainsi qu'on peut le voir dans les chapelles
du choeur de la cathédrale de Troyes, d'abord simple, décoré seulement
par des moulures largement profilées, puis un peu plus tard, vers 1240,
par des redents, comme dans les chapelles du choeur de la cathédrale
d'Amiens (7) ou la Sainte-Chapelle basse du Palais à Paris.

Jusqu'alors cependant, les arcatures basses, qu'elles appartiennent à un monument riche ou à une église de petite ville, sont à peu de chose près semblables. Mais vers 1245, au moment où l'architecture ogivale arrivait à son apogée, les arcatures, dans les édifices bâtis avec luxe, prennent une plus grande importance, s'enrichissent de bas-reliefs, d'ornements, d'ajours, tendent à former sous les fenêtres une splendide décoration, en laissant toujours voir le nu des murs dans les entre-colonnements; ces murs eux-mêmes reçoivent de la peinture, des applications de gaufrures ou de verres colorés et dorés. La Sainte-Chapelle haute du Palais à Paris nous offre le plus bel exemple que l'on puisse donner d'une série d'arcatures ainsi traitées (8).

Alors, dans les édifices religieux, le parti adopté par les constructeurs ne laissait voir de murs que sous les appuis des fenêtres des bas côtés; toute la construction se bornant à des piles et des vides garnis de verrières, on conçoit qu'il eût été désagréable de rencontrer sous les verrières des bas-côtés, à la hauteur de l'oeil, des parties lisses qui eussent été en désaccord complet avec le système général de piles et d'ajours adopté par les architectes. Ces arcatures servaient de transition entre le sol et les meneaux des fenêtres en conservant cependant par la fermeté des profils, l'étroitesse des entre-colonnements et les robustes saillies des bancs, une certaine solidité d'aspect nécessaire à la base d'un monument. Les bas côtés de la cathédrale de Reims, quoique pourvus de ces larges bancs avec marche en avant, n'ont jamais eu, ou sont dépouillés de leur arcature; aussi, est-on choqué de la nudité de ces murs de pierre sous les appuis des fenêtres, nudité qui contraste avec la richesse si sage de tout l'intérieur de l'édifice. Pour nous, il n'est pas douteux que les bas côtés de la cathédrale de Reims ont dû être ou ont été garnis d'arcatures comme l'étaient autrefois ceux de la nef de l'église abbatiale de Saint-Denis, les parties inférieures de ces deux nefs ayant les plus grands rapports. Nous donnons ici (9) l'arcature basse de la nef de l'église de Saint-Denis, dont tous les débris existent encore dans les magasins de cet édifice, et dont les traces sont visibles sur place. Disons en passant que c'est avec quelques fragments de cette arcature que le tombeau d'Héloïse et d'Abailard, aujourd'hui déposé au Père-Lachaise, a été composé par M. Lenoir, dans le musée des Petits-augustins.

Il ne faudrait pas croire que les arcatures ont suivi rigoureusement la
voie que nous venons de tracer, pour atteindre leur développement; avant
d'arriver à l'adoption de la courbe en tiers-point on rencontre des
tâtonnements, car c'est particulièrement pendant les périodes de
transition que les exceptions se multiplient. Nous en donnerons une qui
date des premières années du XIIIe siècle, et qui peut compter parmi les
plus originales; elle se trouve dans les bas côtés de l'église de
Montier-en-Der (Haute-Marne) (10),
charmant édifice rempli de
singularités architectoniques, et que nous aurons l'occasion de citer
souvent. Vers la fin du XIIIe siècle, les arcatures basses, comme tous
les autres membres de l'architecture ogivale s'amaigrissent; elles
perdent l'aspect d'une construction. d'un soubassement, qu'elles
avaient conservé jusqu'alors, pour se renfermer dans le rôle de
placages. Le génie si impérieusement logique qui inspirait les
architectes du moyen âge, les amena bientôt en ceci comme en tout à
l'abus. Ils voulurent voir dans l'arcature d'appui la continuation de la
fenêtre, comme une allége de celle-ci. Ils firent passer les meneaux
des fenêtres à travers la tablette d'appui, et l'arcature vint se
confondre avec eux.
Dès lors la fenêtre semblait descendre jusqu'au banc inférieur; les dernières traces du mur roman disparaissaient ainsi, et le système ogival s'établissait dans toute sa rigueur (11). Cet exemple tiré des bas côtés du choeur de la cathédrale de Sées, date des dernières années du XIIIe siècle. Toutefois, les petits pignons ménagés au-dessus des arcs donnent encore à ces soubassements une décoration qui les isole de la fenêtre, qui en fait un membre à part ayant son caractère propre, tandis que plus tard, au commencement du XIVe siècle, comme dans le choeur de l'église Saint-Nazaire de Carcassonne, l'arcature basse en se reliant aux meneaux des fenêtres, adopte leurs formes, se compose des mêmes membres de moulures, répète leurs compartiments (12). Ce n'est plus en réalité que la partie inférieure de la fenêtre qui est bouchée, et par le fait, le mur forcé de se retraiter à l'intérieur au nu des vitraux, pour laisser la moitié des meneaux se dégager en bas-relief, ne conserve plus qu'une faible épaisseur qui équivaut à une simple cloison. Il était impossible d'aller plus loin. Pendant les XIVe et XVe siècles, les arcatures basses conservent les mêmes allures, ne variant que dans les détails de l'ornementation suivant le goût du moment.

On les voit disparaître tout à coup vers le milieu du XVe siècle, et cela s'explique par l'usage alors adopté de garnir les soubassements des chapelles de boiseries plus ou moins riches. Avec les arcatures disparaissent également les bancs de pierre, ceux-ci étant à plus forte raison remplacés par des bancs de bois. Des moeurs plus raffinées, l'habitude prise par les familles riches et puissantes ou par les confréries, de fonder des chapelles spéciales pour assister au service divin, faisaient que l'on préférait les panneaux de bois et des siéges bien secs, à ces murs et à ces bancs froids et humides.

Nous ne pouvons omettre parmi les arcatures de rez-de-chaussée, les grandes arcatures des bas côtés de la cathédrale de Poitiers. Cet édifice (voy. CATHÉDRALE), bâti à la fin du XIIe siècle et au commencement du XIIIe, présente des dispositions particulières qui appartiennent au Poitou. Les voûtes des bas côtés sont aussi hautes que celles de la nef, et le mur sous les fenêtres, épais et élevé, forme une galerie servant de passage au niveau de l'appui de ces fenêtres. Ce haut appui est décoré par une suite de grandes arcatures plein cintre surmontées d'une corniche dont la saillie est soutenue par des corbelets finement sculptés (13). Des arcatures analogues se voient dans la nef de l'église Sainte-Radegonde de Poitiers, qui date de la même époque.
ARCATURES DE COURONNEMENT. Dans quelques églises romanes, particulièrement celles élevées sur les bords du Rhin, on avait eu l'idée d'éclairer les charpentes au-dessus des voûtes en berceau, au moyen d'une suite d'arcatures à jour formant des galeries basses sous les corniches (voy. GALERIE). Les voûtes, en berceau des nefs ou en cul-de-four des absides, laissaient entre leurs reins et le niveau de la corniche convenablement élevée pour laisser passer les entraits des charpentes au-dessus de l'extrados, un mur nu qui était d'un aspect désagréable, et qui de plus était d'une grande pesanteur. (14) Soit la coupe d'une voûte en berceau plein cintre ou en cul-de-four, les fenêtres ne pouvaient se cintrer au-dessus de la naissance A des voûtes, à moins d'admettre des pénétrations, ce qui était hors d'usage; il restait donc de A en B niveau de la corniche, une élévation de mur commandée par la pose de la charpente; on perça ce mur en C par une galerie à jour ou fermée par un mur mince, destinée alors, soit à donner de l'air sous les combles, soit à former comme un chemin de ronde allégeant les constructions inférieures. Cette disposition, inspirée par un calcul de constructeur, devint un motif de décoration dans quelques monuments religieux de la France. Au XIIe siècle la partie supérieure des murs de la nef de la cathédrale d'Autun, fermée par une voûte en berceau ogival renforcée d'arcs-doubleaux, fut décorée par une arcature aveugle extérieure qui remplit cette surélévation nue des maçonneries, bien que par le fait elle ne soit d'aucune utilité; elle n'était placée là que pour occuper les yeux, et comme une tradition des galeries à jour des édifices romans des bords du Rhin.

Cette arcature (15) a cela de particulier qu'elle est, comme forme, une imitation des galeries ou chemins de ronde des deux portes antiques existant encore dans cette ville (portes de Saint-André et d'Arrou). Il faut croire que ce motif fut très-goûté alors, car il fut répété à satiété dans la cathédrale d'Autun et dans les églises de Beaune et de Saulieu qui ne sont que des imitations de cet édifice, ainsi que dans un grand nombre de petites églises du Mâconnais et de la haute Bourgogne. À l'extérieur des absides, les arcatures romanes sont prodiguées dans les édifices religieux du Languedoc, de la Provence, et particulièrement de la Saintonge, du Poitou et du Berry. On voit encore une belle ceinture d'arcatures alternativement aveugles ou percées de fenêtres à l'extérieur du triforium de l'église ronde de Neuvy-Saint-Sépulcre (Indre), XIe siècle (voy. SAINT-SÉPULCRE). Ce système d'arcatures encadrant des fenêtres est adopté en auvergne à l'extérieur des absides, dans les parties supérieures des nefs et des pignons des transsepts; en voici un exemple tiré du bras de croix nord de l'église Saint-Étienne de Nevers, élevée au XIe siècle sur le plan des églises auvergnates (16).

Cette arcature présente une disposition qui appartient aux églises de cette province, c'est ce triangle qui vient remplacer l'arc plein cintre dans certains cas. L'église de Notre-Dame-du-Port, à Clermont, nous donne à l'extrémité des bras de croix nord et sud une arcature à peu près pareille à celle-ci; mais à Saint-Étienne de Nevers ces arcatures décorent l'intérieur et l'extérieur du pignon du croisillon nord, tandis qu'à Notre-Dame-du-Port elles n'existent qu'à l'intérieur. Il n'est pas besoin de dire que les arcatures hautes des nefs ou des absides ne pouvaient plus trouver leur place du moment que la voûte en arcs-ogives était adoptée, puisque alors les archivoltes des fenêtres s'élevaient jusque sous les corniches supérieures; aussi ne les rencontre-t-on plus dans les monuments des XIIIe, XIVe et XVe siècles, si ce n'est dans la cathédrale de Reims, où l'on voit apparaître comme un dernier reflet de la tradition des arcatures romanes supérieures. Ici, ces arcatures surmontent les corniches et pourraient être considérées comme des balustrades si leur dimension extraordinaire n'empêchait de les confondre avec ce membre de l'architecture ogivale. Ce sont plutôt des claires-voies dont on ne s'explique guère l'utilité. Les chapelles du choeur de la cathédrale de Reims sont surmontées de rangées de colonnes isolées portant des arcs et un bandeau. Cette, décoration, qui date du XIIIe siècle, prend une grande importance par ses dimensions; elle a le défaut d'être hors d'échelle avec les autres parties de l'édifice, et rapetisse les chapelles à cause de son analogie avec les formes d'une balustrade (17).

Les couronnements du choeur de cette même cathédrale étaient également terminés par une arcature aveugle dont il reste une grande quantité de fragments reposés et restaurés à la fin du XVe siècle, après l'incendie des combles. Là, cette arcature se comprend mieux, elle masquait un chéneau; mais l'arcature à jour de la nef, refaite également au XVe siècle en suivant les formes adoptées à la fin du XIIIe siècle, n'est plus qu'une imitation de ce parti quant à l'apparence extérieure seulement, puisqu'elle ne répond à aucun besoin. Les tours centrales des églises, élevées sur le milieu de la croisée, sont souvent décorées à l'intérieur ou à l'extérieur, pendant les époques romanes ou de transition, d'arcatures aveugles, surtout dans la Normandie, l'Auvergne, la Saintonge et l'Angoumois, où ce mode de tapisser les nus des murs dans les parties supérieures des édifices paraît avoir été particulièrement adopté. Les souches des tours centrales des cathédrales de Coutances à l'intérieur, de Rouen à l'intérieur et à l'extérieur, de Bayeux à l'extérieur, des églises de Saint-Étienne de Caen à l'intérieur, de Notre-Dame-du-Port et d'Issoire à l'extérieur, de la plupart des églises de la Charente, etc., sont munies d'arcatures (voy. TOUR, CLOCHER). Nous voyons aussi les arcatures employées comme décoration dans les étages supérieurs des clochers plantés sur les façades des églises romanes et du commencement du XIIIe siècle, au-dessus des portails, sous les roses.

Les trois derniers étages du clocher nord de la cathédrale de Sens, dit tour de Plomb, sont entourés d'arcatures aveugles formant galerie à jour seulement dans les milieux du second étage. Nous donnons ici (18) le dessin de l'arcature trilobée supérieure de ce clocher. On remarquera que les colonnettes accouplées de cette arcature sont supportées par des figures marchant sur des lions; ces sortes de cariatides se rencontrent dans quelques édifices de la Champagne et d'une partie de la Bourgogne (voy. SUPPORT).
ARCATURES ORNEMENT. Il nous reste à parler des arcatures qui se rencontrent si fréquemment disposées dans les soubassements des ébrasements des portails des églises, et qui sont bien réellement alors une simple décoration. Les arcatures dont nous avons précédemment parlé sont bâties, font presque toujours partie de la construction, leurs arcs sont composés de claveaux, et forment, ainsi que nous l'avons fait ressortir plus haut, comme autant d'arcs de décharge portés sur des colonnes monolythes; tandis que les arcatures de socles sont la plupart du temps évidées dans des blocs de pierre.


Telles sont les arcatures placées au-dessous des statues aujourd'hui détruites des portails de la cathédrale de Sées (19), qui datent des premières années du XIIIe siècle; celles du portail nord de la cathédrale de Troyes qui, bien qu'un peu postérieures, présentent une disposition analogue; celles du portail sud de la cathédrale d'Amiens avec des arcs entrelacés (20) posées de 1220 à 1225; celles si finement sculptées et d'un goût si pur qui tapissent les parements des soubassements de la porte centrale de la cathédrale de Paris, et entre lesquelles sont représentés les Vertus et Vices (21), 1220 environ; celles qui sont disposées dans une place pareille à la place Sainte-Anne, de la même façade, et entre lesquelles sont gravées en creux des fleurs de lis simulant une tenture; celles enfin de la porte de la Vierge (22), toujours de la cathédrale de Paris, traitées avec un soin et une grandeur de style peu ordinaires.


Cette dernière arcature peut être donnée comme un des modèles les plus complets de ce genre de décoration, et nous ne connaissons rien qui puisse lui être comparé. Elle est enrichie de sculptures de la plus grande beauté, et qui ont le mérite d'être parfaitement disposées pour la place qu'elles occupent. Les personnages ou animaux ronde bosse qui remplissent les écoinçons entre les arcs, formaient comme des supports sous les grandes figures adossées à des colonnes, autrefois debout sur ce soubassement, et rappelaient le martyre des saints ou les personnifiaient. La forte saillie de ces figures s'échappant entre les petites archivoltes, était en rapport avec la grandeur et le haut relief des statues, tandis que toute la sculpture placée sous les arcs et dans les entre-colonnements n'est plus qu'une sorte de tapisserie dont le peu de relief ne détruit pas la grande unité de ce beau soubassement. On peut voir, bien que la gravure ne donne qu'une faible idée de cette décoration, comme la saillie des bas-reliefs se perd avec le fond à mesure qu'ils se rapprochent du sol. Les ornements entre les colonnes ne sont plus même que des gravures en creux, non point sèches comme un simple trait, mais présentant des parties larges et grasses évidées en coquille. La construction de ce soubassement est en harmonie parfaite avec l'ornementation. Les fonds tiennent à la bâtisse. Les colonnettes jumelles monolythes, rendues très-résistantes par l'espèce de cloison ornée qui les relie, portent les arcs pris dans un même morceau de pierre avec leurs tympans et leurs écoinçons. Chaque compartiment de l'ornementation est sculpté dans une hauteur d'assise. Malheureusement la main des iconoclastes de 1792 a passé par là, et la plupart des figures placées dans les écoinçons ont été mutilées. Quant aux petits bas-reliefs rangés sous les tympans, ils ont servi de but aux pierres des enfants pendant fort longtemps. Ces bas-reliefs peuvent aller de pair avec ce que la sculpture antique a produit de plus beau.
On voit peu à peu les arcatures ornements s'amaigrir vers la fin du XIIIe siècle; elles perdent leur caractère particulier pour se confondre avec les arcatures de soubassement dont nous avons donné des exemples. Les profils s'aplatissent sur les fonds, les colonnettes se subdivisent en faisceaux et tiennent aux assises de la construction, les vides prennent de l'importance et dévorent les parties moulurées. Cependant il est quelques-unes de ces arcatures qui conservent encore un certain caractère de fermeté; celles qui tapissent les ébrasements de deux des portes de la façade de la cathédrale de Bourges, rappellent un peu la belle arcature de Notre-Dame de Paris que nous venons de donner, mais appauvrie. Quelquefois les vides des fonds, comme dans l'arcature de la porte centrale de l'église de Semur en Auxois, sont remplis de semis, de rosaces, de quadrillés à peine saillants qui produisent un bel effet et conviennent parfaitement à un soubassement. Nous citerons encore les charmantes arcatures de la porte de droite de la façade de l'ancienne cathédrale d'Auxerre (fin du XIIIe siècle), et dans lesquelles on voit, représentée en figures ronde bosse, l'histoire de David et de Bethsabée; celles de la porte de droite de la façade de la cathédrale de Sens (XIVe siècle), décorées de petits pignons au-dessus des arcs, et de figures dans les entre-colonnements. Ces décorations disparaissent au XVe siècle, et les soubassements des portails ne sont plus occupés que par ces pénétrations de bases aussi difficiles à comprendre qu'elles sont d'un aspect monotone (voy. PÉNÉTRATION).

Les petites arcatures jouent un grand rôle dans les tombeaux, les parements d'autels, les retables (voy. ces mots); généralement les socles des tombes qui portent les statues couchées des morts, sont entourés d'arcatures dans lesquelles sont représentés des pleureurs, des religieux, ou même les apôtres. Au commencement du XIIIe siècle cependant les arcatures sont le plus souvent vides et faites en pierre ou en marbre blanc se détachant sur un fond de marbre noir; telles étaient les arcatures des tombes refaites par le roi saint Louis à Saint-Denis, et dont il reste des fragments (23). Plus tard ces arcatures deviennent plus riches, sont surmontées de pignons à jour, finement sculptées dans la pierre, le marbre ou l'albâtre; elles encadrent des statuettes, quelquefois aussi des écus aux armes du mort; elles sont accoladées au XVe siècle, et forment des niches renfoncées entre des colonnettes imitées des ordres antiques au XVIe (voy. TOMBEAU). On peut juger par cet aperçu fort restreint de l'importance des arcatures dans l'architecture du moyen âge, et du nombre infini de leurs variétés; nous n'avons pu qu'indiquer des types principaux, ceux qui marquent par leur disposition ingénieuse le goût qui a présidé à leur exécution, ou leur originalité.
ARCHE (D'ALLIANCE), s. f.
Est souvent figurée dans les vitraux qui
reproduisent les scènes de l'Ancien Testament. On lui donne généralement
la forme d'une châsse. Devant le trumeau de la porte de gauche de la
façade de Notre-Dame de Paris, était posée, avant 1793, une grande
statue de la sainte Vierge, tenant l'enfant Jésus, et les pieds sur le
serpent à tête de femme, enroulé autour de l'arbre de science; au-dessus
de cette statue de la sainte Vierge, remplacée aujourd'hui par une
figure du XVe siècle, deux anges supportent un dais couronné par l'Arche
d'alliance (1), les prophètes sont assis des deux côtés sur le linteau;
dans le tympan on voit deux grands bas-reliefs représentant la mort de
la sainte Vierge et son couronnement. L'Arche d'alliance occupe donc là
une place symbolique, elle est comme le lien entre l'Ancien et le
Nouveau Testament. Quelquefois l'Arche d'alliance affecte la forme d'une
armoire à deux battants supportée ou gardée par des lions; d'une table
d'autel avec reliquaire. Les sculpteurs ou les peintres du moyen âge ne
paraissent pas avoir donné à l'Arche d'alliance de l'ancienne loi une
forme particulière; ils se bornaient, dans leurs bas-reliefs ou leurs
peintures, à figurer les objets qu'ils avaient continuellement sous les
yeux, les meubles par exemple, qu'il était d'usage de placer aux côtés
des autels, et où l'on renfermait les reliquaires, les chartes, et tous
objets précieux ou titres qui constituaient le trésor d'une église (voy.
CHÂSSE, ARMOIRE).
ARCHE DE NOÉ. Est représentée dans les bas-reliefs ou les vitraux sous la forme d'un navire surmonté d'une maison avec toit et fenêtres. Souvent les personnages composant la famille de Noé montrent la tête à ces fenêtres, et la colombe s'élance dans les airs, délivrée par le patriarche.
ARCHE DE PONT, voy. PONT.
ARCHITECTE, s. m. Il ne semble pas que ce nom ait été donné avant le XVIe siècle aux artistes chargés de la direction des constructions de bâtiments. L'architecture tenait sa place parmi les arts libéraux (voy. ARTS LIBÉRAUX) et était personnifiée par un homme ou une femme tenant une équerre ou un compas; mais l'artiste, l'homme de métier était qualifié de maître d'oeuvre, désignation bien autrement positive, du reste, que celle d'architecte, car par oeuvre on entendait tout ce qui constituait l'immeuble et le meuble d'un bâtiment, depuis les fondations jusqu'aux tapisseries, aux flambeaux, aux menus objets mobiliers. Il n'existe aucune donnée certaine sur le personnel des architectes avant le XIIIe siècle. Les grands établissements religieux qui renfermaient dans leur sein jusque vers la fin du XIIe siècle tout ce qu'il y avait d'hommes lettrés, savants, studieux dans l'Occident, fournissaient très-probablement les architectes qui dirigeaient non-seulement les constructions monastiques, mais aussi les constructions civiles et peut-être même militaires. Les écoles fondées par Charlemagne s'élevaient à l'abri des églises; c'était là que devaient nécessairement se réfugier toutes les intelligences vouées à l'étude des sciences et des arts. La géométrie, le dessin, la sculpture et la peinture ne pouvaient être enseignés que dans les seuls établissements qui conservaient encore un peu de calme et de tranquillité au milieu de cet effroyable chaos de l'époque carlovingienne. Vers la fin du Xe siècle, au moment où il semblait que la société allait s'éteindre dans la barbarie, une abbaye se fondait à Cluny, et du sein de cet ordre religieux, pendant plus d'un siècle, sortaient presque tous les hommes qui allaient avec une énergie et une patience incomparables arrêter les progrès de la barbarie, mettre quelque ordre dans ce chaos, fonder des établissements sur une grande partie de l'Europe occidentale, depuis l'Espagne jusqu'en Pologne. Il n'est pas douteux que ce centre de civilisation, qui jeta un si vif éclat pendant les XIe et XIIe siècles, n'ait eu sur les arts comme sur les lettres et la politique une immense influence. Il n'est pas douteux que Cluny n'ait fourni à l'Europe occidentale des architectes comme elle fournissait des clercs réformateurs, des professeurs pour les écoles, des peintres, des savants, des médecins, des ambassadeurs, des évêques, des souverains et des papes; car rayez Cluny du XIe siècle, et l'on ne trouve plus guère que ténèbres, ignorance grossière, abus monstrueux. Pendant que saint Hugues et ses successeurs luttaient contre l'esprit de barbarie, et par-dessus tout maintenaient l'indépendance du pouvoir spirituel avec une persévérance dont l'histoire des civilisations offre peu d'exemples, il se faisait dans le tiers état une révolution dont les conséquences eurent une immense portée. Un grand nombre de villes, les plus importantes du nord et de l'est de la France, se conjuraient et s'établissaient en communes. Ainsi les restes de la féodalité carlovingienne étaient sapés de deux côtés, par le pouvoir spirituel d'une part, et par les insurrections populaires de l'autre. L'esprit civil apparaît pour la première fois sur la scène avec des idées d'organisation; il veut se gouverner lui-même, il commence à parler de droits, de libertés; tout cela est fort grossier, fort incertain; il se jette tantôt dans les bras du clergé pour lutter contre la noblesse, tantôt il se ligue avec le suzerain pour écraser ses vassaux. Mais au milieu de ces luttes, de ces efforts, la cité apprend à se connaître, à mesurer ses forces, elle n'a pas plutôt détruit qu'elle se presse de fonder, sans trop savoir ce qu'elle fait ni ce qu'elle veut; mais elle fonde, elle se fait donner des chartes, des priviléges, elle se façonne à l'organisation par corporations, elle sent enfin que pour être forts il faut se tenir unis. Se vendant à tous les pouvoirs, ou les achetant tour à tour, elle vient peser sur tous, les énerve, et prend sa place au milieu d'eux. C'est alors que les arts, les sciences et l'industrie cessent d'être exclusivement renfermés l'enceinte des cloîtres (voy. ARCHITECTURE). La grande conjuration de la cité se subdivise en conjurations de citoyens par corps d'état. Chacune de ces corporations obtient, achète des priviléges; elle garde sa ville, est armée, elle a ses lois, sa juridiction, ses finances, ses tarifs, son mode d'enseignement par l'apprentissage; si bien qu'au XIIIe siècle le pouvoir royal reconnaît l'existence de tous ces corps par les règlements d'Étienne Boileau.
Une fois sorti des monastères, l'art de l'architecture, comme tous les autres arts, devient un état. Le maître de l'oeuvre est laïque, il appartient à un corps, et il commande à des ouvriers qui font tous partie de corporations; les salaires sont réglés, garantis par les jurés; les heures de travail, les rapports des chefs avec les subalternes sont définis. On fait des devis, on passe des marchés, on impose la responsabilité. Hors du cloître l'émulation s'ajoute à l'étude, les traditions se transforment et progressent avec une rapidité prodigieuse, l'art devient plus personnel; il se divise par écoles, l'artiste apparaît enfin au XIIIe siècle, fait prévaloir son idée, son goût propre. Il ne faut pas croire que le haut clergé fit obstacle à ce mouvement, ce serait mal comprendre l'esprit qui dirigeait alors le corps le plus éclairé de la chrétienté. Tout porte à supposer qu'il l'encouragea, et il est certain qu'il sut en profiter, et qu'il le dirigea dans les voies nouvelles. Nous voyons dès le commencement du XIII siècle un évêque d'Amiens, Ewrard de Fouilloy, charger un architecte laïque, Robert de Luzarches, de la construction de la grande cathédrale qu'il voulait élever sous l'invocation de Notre-Dame. Après Robert de Luzarches, l'oeuvre est continuée par Thomas de Cormont et par son fils Regnault, ainsi que le constate l'inscription suivante qui se trouvait incrustée en lettres de cuivre dans le labyrinthe placé au milieu du pavage de la nef, et enlevé depuis peu sans qu'une voix se soit élevée contre cet acte sauvage.
MÉMOIRE QUAND L'EUVRE DE L'EGLE
DE CHEENS FU COMENCHIE ET FINE
IL EST ESCRIPT EL MOILON DE LE
MAISON DE DALUS 1.
________
EN.L'AN.DE.GRACE.MIL.IIC.
ET.XX.FU.LOEUVRE.DE.CHEENS.
PREMIEREMENT.ENCOMENCHIE.
A DONT.YERT.DE.CHESTE.EVESQUIE.
EVRART.EVESQUE.BENIS.
ET.ROY.DE.FRANCE.LOYS 2.
Q.FU.FILZ.PHELIPPE.LE.SAIGE.
CHIL.Q.MAISTRE.YERT.DE.LOEUVRE.
MAISTRE.ROBERT.ESTOIT. NOMES.
.ET.DE.LUZARCHES.SURNOMES.
MAISTRE.THOMAs.FU.APRES.LUY.
DE.CORMONT.ET.APRES.SEN.FILZ.
MAISTRE.REGNAULT.QUI.MESTRE.
FIST.A.CHEST.POINT.CHI.CHESTE.LEITRE.
QUE.L'INCARNACION.VALOIT
XIII.C.ANS.MOINS.XII.EN.FALOIT.
Pierre de Montereau, ou de Montreuil, était chargé par le roi saint Louis de construire, en 1240, la Sainte-Chapelle du Palais à Paris, et par les religieux de Saint-Germain des Prés, d'élever la charmante chapelle de la Vierge, qui couvrait une partie de la rue de l'Abbaye actuelle. Pierre de Montereau était laïque; on prétend que saint Louis l'emmena en Égypte avec lui, le fait est douteux; et si Pierre de Montereau fit le voyage d'outre-mer, il ne s'inspira guère des édifices arabes qu'il fut à même de visiter, car la Sainte-Chapelle ressemble aussi peu aux anciens monuments du Caire qu'aux temples de Pestum. Quoi qu'il en soit, la légende est bonne à noter en ce qu'elle donne la mesure de l'estime que le roi saint Louis faisait de l'artiste. Pierre de Montereau fut enterré avec sa femme au milieu du choeur de cette belle chapelle de Saint-Germain des Prés, qu'il avait élevée avec un soin particulier et qui passait à juste titre pour un chef-d'oeuvre, si nous jugeons de l'ensemble par les fragments déposés dans les dépendances de l'église de Saint-Denis. Cette tombe n'était qu'une dalle gravée; elle fut brisée et jetée aux gravois lorsque la chapelle qui la contenait fut démolie.
Libergier construisit à Reims une église, Saint-Nicaise, admirable monument élevé dans l'espace de trente années par cet architecte; une belle et fine gravure du XVIIe siècle nous conserve seule l'aspect de la façade de cette église, la perle de Reims; elle fut vendue et démolie comme bien national. Toutefois les Rémois, plus scrupuleux que les Parisiens, en détruisant l'oeuvre de leur compatriote, transportèrent sa tombe dans la cathédrale de Reims, où chacun peut la voir aujourd'hui; c'est une pierre gravée. Libergier tient à la main gauche une verge graduée, dans sa droite un modèle d'église avec deux flèches comme saint Nicaise; à ses pieds sont gravés un compas et une équerre; deux anges disposés des deux côtés de sa tête tiennent des encensoirs. L'inscription suivante pourtourne la dalle:
CI.GIT.MAISTRE.HUES.LIBERGIERS.QUI.COMENSA.CESTE.EGLISE.AN.LAN.DE. LINCARNATION.
M.CC.ET.XX.IX.LE.MARDI.DE.PAQUES.ET.TRESPASSA.LAN.DE.LINCARNATION.
M.CC.LXIII.LE.SAMEDI.APRES.PAQUES.POUR.DEU.PRIEZ.POR.LUI
3.
Libergier porte le costume laïque; nous donnerons ce que nous possédons de son oeuvre dans le mot ÉGLISE.
Jean de Chelles construisait, en 1257, sous l'épiscopat de Regnault de Corbeil, les deux pignons du transsept et les premières chapelles au choeur de Notre-Dame de Paris. La grande inscription sculptée en relief sur le soubassement du portail sud, par la place qu'elle occupe, et le soin avec lequel on l'a exécutée, fait ressortir l'importance que l'on attachait au choix d'un homme capable, et le souvenir que l'on tenait à conserver de son oeuvre. Voici cette inscription:
ANNO.DOMINI.MCCLVII.MENSE.FEBRUARIO.IDUS.SECUNDO.
HOC.FUIT.INCEPTUM.CHRISTI.GENITRICIS.HONORE.
KALLENSI.LATUOMO.VIVENTE.JOHANNE.MAGISTRO.
En 1277 le célèbre architecte Erwin de Steinbach commençait la construction du portail de la cathédrale de Strasbourg, et au-dessus de la grande porte on lisait encore il y a deux siècles cette inscription:
ANNO.DOMINI.MCCLXXVII.IN.DIE.BEATI
URBANI.HOC.GLORIOSUM.OPUS.INCOHAVIT.
MAGISTER.ERVINUS.DE.STEINBACH.
Erwin meurt en 1318, et son fils continue son oeuvre jusqu'à la grande plate-forme des tours.
Ce respect pour l'oeuvre de l'homme habile, intelligent, n'est plus dans nos moeurs, soit; mais n'en tirons point vanité, il ne nous semble pas que l'oubli et l'ingratitude soient les signes de la civilisation d'un peuple.
Ces grands architectes des XIIe et XIIIe siècles, nés la plupart dans le domaine royal et plus particulièrement sortis de l'Ile-de-France, ne nous sont pas tous connus. Les noms de ceux qui ont bâti les cathédrales de Chartres et de Reims, de Noyon et de Laon, l'admirable façade de la cathédrale de Paris ne nous sont pas conservés, mais les recherches précieuses de quelques archéologues nous font chaque jour découvrir des renseignements pleins d'intérêt sur ces artistes, sur leurs études, et leur manière de procéder. Nous verrons paraître prochainement un recueil de croquis faits par l'un d'eux, Villard de Honnecourt, avec des observations et annotations sur les monuments de son temps. Villard de Honnecourt, qui dirigea les constructions du choeur de la cathédrale de Cambrai, démolie aujourd'hui, et qui fut appelé en Hongrie pour entreprendre d'importants travaux, était le contemporain et l'ami de Pierre de Corbie, architecte célèbre du XIIIe siècle, constructeur de plusieurs églises en Picardie et qui pourrait bien être l'auteur des chapelles absidales de la cathédrale de Reims. Ces deux artistes composèrent ensemble une église sur un plan fort original, décrit par Villard 4.
C'est principalement dans les villes du nord qui s'érigent en communes au XIIe siècle que l'on voit l'architecture se dégager plus rapidement des traditions romanes. Le mouvement intellectuel dans ces nouveaux municipes du nord ne conservait rien du caractère aristocratique de la municipalité romaine; aussi ne doit-on pas être surpris de la marche progressive des arts et de l'industrie, dans un espace de temps assez court, au milieu de ces cités affranchies avec plus ou moins de succès, et de l'importance que devaient prendre parmi leurs concitoyens les hommes qui étaient appelés à diriger d'immenses travaux, soit par le clergé, soit par les seigneurs laïques, soit par les villes elles-mêmes.
Il est fort difficile de savoir aujourd'hui quelles étaient exactement les fonctions du maître de l'oeuvre au XIIIe siècle. Était-il seulement chargé de donner les dessins des bâtiments et de diriger les ouvriers, ou administrait-il, comme de nos jours, l'emploi des fonds? Les documents que nous possédons et qui peuvent jeter quelque lumière sur ce point, ne sont pas antérieurs au XIVe siècle, et à cette époque, l'architecte n'est appelé que comme un homme de l'art que l'on indemnise de son travail personnel. Celui pour qui l'on bâtit, achète à l'avance et approvisionne ses matériaux nécessaires, embauche des ouvriers, et tout le travail se fait suivant le mode connu aujourd'hui sous le nom de RÉGIE. L'évaluation des ouvrages, l'administration des fonds ne paraissent pas concerner l'architecte. Le mode d'adjudication n'apparaît nettement que plus tard, à la fin du XIVe siècle, mais alors l'architecte perd de son importance; il semble que chaque corps d'état traite directement en dehors de son action pour l'exécution de chaque nature de travail; et ces adjudications faites au profit du maître de métier, qui offre le plus fort rabais à l'extinction des feux, sont de véritables forfaits.
Voici un curieux document 5 qui indique d'une manière précise quelle était la fonction de l'architecte au commencement du XIVe siècle. Il s'agit de la construction de la cathédrale de Gérone; mais les usages de la Catalogne, à cette époque, ne devaient pas différer des nôtres, d'ailleurs il est question d'un architecte français.
Le chapitre de la cathédrale de Gérone se décide, en 1312, à remplacer la vieille église romane par une nouvelle, plus grande et plus digne. Les travaux ne commencent pas immédiatement, et on nomme les administrateurs de l'oeuvre (obreros), Raymond de Viloric et Arnauld de Montredon. En 1316 les travaux sont en activité, et on voit apparaître, en février 1320, sur les registres capitulaires, un architecte désigné sous le nom de maître Henry de Narbonne. Maître Henri meurt et sa place est occupée par un autre architecte son compatriote, nommé Jacques de Favariis; celui-ci s'engage à venir de Narbonne six fois l'an, et le chapitre lui assure un traitement de deux cent cinquante sous par trimestre (la journée d'une femme était alors d'un denier).» Voici donc un conseil d'administration qui probablement est chargé de la gestion des fonds, puis un architecte étranger, appelé, non pour suivre l'exécution chaque jour, et surveiller les ouvriers, mais seulement pour rédiger les projets, donner les détails, et veiller de loin en loin à ce que l'on s'y conforme; pour son travail d'artiste on lui assure, non des honoraires proportionnels, mais un traitement qui équivaut, par trimestre, à une somme de quinze cents francs de nos jours. Il est probable qu'alors le mode d'appointements fixe était en usage lorsqu'on employait un architecte.
À côté de tous nos grands édifices religieux, il existait toujours une maison dite de l'oeuvre, dans laquelle logeaient l'architecte et les maîtres ouvriers qui, de père en fils, étaient chargés de la continuation des ouvrages. L'oeuvre de Notre-Dame à Strasbourg a conservé cette tradition jusqu'à nos jours, et l'on peut voir encore dans une des salles de la maîtrise, une partie des dessins sur vélin qui ont servi à l'exécution du portail de la cathédrale, de la tour, de la flèche, du porche nord, de la chaire, du buffet d'orgues, etc. Il est de ces dessins qui remontent aux dernières années du XIIIe siècle, quelques-uns sont des projets qui n'ont pas été exécutés, tandis que d'autres sont évidemment des détails préparés pour tracer les épures en grand sur l'aire. Parmi ceux-ci on remarque les plans des différents étages de la tour et de la flèche superposés. Ces dessins datent du XIVe siècle, et il faut dire qu'ils sont exécutés avec une connaissance du trait, avec une précision et une entente des projections, qui donnent une haute idée de la science de l'architecte qui les a tracés (voy. ÉPURE, TRAIT).
Pendant le XVe siècle cette place élevée qu'occupaient les architectes des XIIIe et XIVe siècles, s'abaisse peu à peu; aussi les constructions perdent-elles ce grand caractère d'unité qu'elles avaient conservé pendant les belles époques. On s'aperçoit que chaque corps de métier travaille de son côté en dehors d'une direction générale. Ce fait est frappant dans les actes nombreux qui nous restent de la fin du XVe siècle; les évêques, les chapitres, les seigneurs, lorsqu'ils veulent faire bâtir, appellent des maîtres maçons, charpentiers, sculpteurs, tailleurs d'images, serruriers, plombiers, etc., et chacun fait son devis et son marché de son côté; de l'architecte, il n'en est pas question, chaque corps d'état exécute son propre projet. Aussi les monuments de cette époque présentent-ils des défauts de proportion, d'harmonie, qui ont avec raison fait repousser ces amas confus de constructions par les architectes de la renaissance. On comprend parfaitement que des hommes de sens et d'ordre comme Philibert Delorme par exemple, qui pratiquait son art avec dignité, et ne concevait pas que l'on pût élever, même une bicoque, sans l'unité de direction, devaient regarder comme barbare la méthode employée à la fin de la période gothique, lorsqu'on voulait élever un édifice. Nous avons entre les mains quelques devis dressés à la fin du XVe siècle et au commencement du XVIe où cet esprit d'anarchie se rencontre à chaque ligne. Le chapitre de Reims, après l'incendie qui, sous le règne de Louis XI, détruisit toutes les charpentes de la cathédrale et une partie des maçonneries supérieures, veut réparer le désastre; il fait comparaître devant lui chaque corps d'état: maçons, charpentiers, plombiers, serruriers, et il demande à chacun son avis, il adopte séparément chaque projet (voy. DEVIS). Nous voyons aujourd'hui les résultats monstrueux de ce désordre. Ces restaurations, mal faites, sans liaison entre elles, hors de proportion avec les anciennes constructions, ces oeuvres séparées, apportées les unes à côté des autres, ont détruit la belle harmonie de cette admirable église, et compromettent sa durée. En effet le charpentier était préoccupé de l'idée de faire quelque chef-d'oeuvre, il se souciait peu que sa charpente fût d'accord avec la maçonnerie sur laquelle il la plantait. Le plombier venait, qui ménageait l'écoulement des eaux suivant son projet, sans s'inquiéter si, à la chute du comble, elles trouveraient leurs pentes naturelles et convenablement ménagées dans les chéneaux de pierre. Le sculpteur prenait l'habitude de travailler dans son atelier, puis il attachait son oeuvre à l'édifice comme un tableau à une muraille, ne comprenant plus qu'une oeuvre d'art, pour être bonne, doit avant tout être faite pour la place à laquelle on la destine. Il faut dire à la louange des architectes de la renaissance qu'ils surent relever leur profession avilie au XVe siècle par la prépondérance des corps de métiers, ils purent rendre à l'intelligence sa véritable place; mais en refoulant le travail manuel au second rang ils l'énervèrent, lui enlevèrent son originalité, cette vigueur native qu'il avait toujours conservée jusqu'alors dans notre pays.
Pendant les XIIIe et XIVe siècles, les architectes laïques sont sans cesse appelés au loin pour diriger la construction des églises, des monastères, des palais. C'est surtout dans le nord de la France que l'on recrute des artistes pour élever des édifices dans le goût nouveau. Des écoles laïques d'architecture devaient alors exister dans l'Ile-de-France, la Normandie, la Picardie, la Champagne, la Bourgogne, en Belgique, et sur les bords du Rhin. Mais les moyens d'enseignement n'étaient probablement que l'apprentissage chez les patrons, ce que nous appelons aujourd'hui les ateliers. L'impulsion donnée à la fin du XIIe siècle et au commencement du XIIIe à l'architecture, fut l'oeuvre de quelques hommes, car l'architecture à cette époque est empreinte d'un caractère individuel qui n'exclut pas l'unité. Peu à peu cette individualité s'efface, on voit que des règles appuyées sur des exemples adoptés comme types, s'établissent; les caractères sont définis par provinces; on compose des méthodes, l'art enfin devient, à proprement parler, classique, et s'avance dans cette voie tracée, avec une monotonie de formes, quelque chose de prévu dans les combinaisons, qui devait nécessairement amener chez un peuple doué d'une imagination vive, avide de nouveauté, les aberrations et les tours de force du XVe siècle. Quand les arts en sont arrivés à ce point, l'exécution l'emporte sur la conception de l'ensemble, et la main qui façonne finit par étouffer le génie qui conçoit. À la fin du XVe siècle, les architectes perdus dans les problèmes de géométrie et les subtilités de la construction, entourés d'une armée d'exécutants habiles et faisant partie de corporations puissantes qui, elles aussi, avaient leurs types consacrés, leur méthode, et une haute opinion de leur mérite, n'étaient plus de force à diriger ou à résister, ils devaient succomber.
Nous avons donné quelques exemples d'inscriptions ostensiblement tracées
sur les édifices du XIIIe siècle et destinées à perpétuer, non sans un
certain sentiment d'orgueil, le nom des architectes qui les ont élevés.
Quelquefois aussi la sculpture est chargée de représenter le maître de
l'oeuvre. Sur les chapitaux, dans quelques coins des portails, dans les
vitraux, on rencontre l'architecte, le compas ou l'équerre en main, vêtu
toujours du costume laïque, la tête nue ou coiffée souvent d'une manière
de béguin fort en usage alors parmi les différents corps d'état employés
dans les bâtiments. On voit sur l'un des tympans des dossiers des
stalles de la cathédrale de Poitiers qui datent du XIIIe siècle, un
architecte assis devant une tablette et tenant un compas; ce joli
bas-relief a été gravé dans les Annales archéologiques. L'une des
clefs de voûte du bas coté sud de l'église de Semur en Auxois représente
un architecte que nous donnons ici (1).
Une des miniatures d'un manuscrit de Matthieu Paris, marqué NÉRON. D. 1
(bibl. Cotonienne), XIIIe siècle, représente Offa, fils de Warmund, roi
des anglais orientaux, faisant bâtir la célèbre abbaye de Saint-Alban à
son retour de Rome. Offa donne des ordres au maître de l'oeuvre qui tient
un grand compas d'appareilleur et une équerre; des ouvriers que le
maître montre du doigt sont occupés aux constructions (2). Ce grand
compas fait supposer que l'architecte traçait ses épures lui-même sur
l'aire; il n'en pouvait être autrement, aussi bien pour gagner du temps
que pour être assuré de l'exactitude du tracé, puisque encore
aujourd'hui il est impossible d'élever une construction en style ogival
si l'on ne dessine ses épures soi-même. N'oublions pas que toutes les
pierres étaient taillées et achevées sur le chantier avant d'être posées
et qu'il fallait par conséquent apporter la plus grande précision et
l'étude la plus complète dans le tracé des épures (voy. APPAREIL, ÉPURE,
TRACÉ).
Note 1: (retour) Maison de Dalus. Maison de Dædalus, le labyrinthe.
Note 2: (retour) C'est une erreur. En 1220, Philippe Auguste régnait encore; mais il ne faut pas oublier que cette inscription fut tracée en 1288.
Note 3: (retour) Voy. la Notice de M. Didron sur cet architecte et la gravure de sa tombe. Annales archéologiques, t. I, p. 82 et 117.
Note 4: (retour) M. Lassus, notre confrère et ami, mettra bientôt au jour le manuscrit de Villard de Honnecourt; et par ce que nous en connaissons, il est certain que ce travail donnera une idée complète des connaissances théoriques en architecture au XIIIe siècle.
Note 5: (retour) Extrait du registre intitulé: Curia del vicariato de Gerona, liber notularum ab anno 1320 ad 1322. folio 48.
ARCHITECTURE, s. f., art de bâtir. L'architecture se compose de deux éléments, la théorie et la pratique; la théorie comprend: l'art proprement dit, les règles inspirées par le goût, issues des traditions, et la science qui peut se démontrer par des formules invariables, absolues. La pratique est l'application de la théorie aux besoins; c'est la pratique qui fait plier l'art et la science à la nature des matériaux, au climat, aux moeurs d'une époque, aux nécessités du moment. En prenant l'architecture à l'origine d'une civilisation qui succède à une autre, il faut nécessairement tenir compte des traditions d'une part, et des besoins nouveaux de l'autre. Nous diviserons donc cet article en plusieurs parties: la première comprendra une histoire sommaire des origines de l'architecture du moyen âge en France; la seconde traitera des développements de l'architecture depuis le XIe siècle jusqu'au XVIe, des causes qui ont amené son progrès et sa décadence, des différents styles propres à chaque province; la troisième comprendra l'architecture religieuse; la quatrième l'architecture monastique; la cinquième l'architecture civile; la sixième l'architecture militaire.
ORIGINES DE L'ARCHITECTURE FRANÇAISE. Lorsque les barbares firent irruption dans les Gaules, le sol était couvert de monuments romains, les populations indigènes étaient formées de longue main à la vie romaine. Aussi fallut-il trois siècles de désastres pour faire oublier les traditions antiques. Au VIe siècle il existait encore au milieu des villes gallo-romaines un grand nombre d'édifices épargnés par la dévastation et l'incendie; mais les arts n'avaient plus, quand les barbares s'établirent définitivement sur le sol, un seul représentant, personne ne pouvait dire comment avaient été élevés les monuments romains. Des exemples étaient encore debout, mais comme des énigmes à deviner pour ces populations neuves. Tout ce qui tient à la vie journalière, le gouvernement de la cité, la langue, avait encore survécu au désastre; mais l'art de l'architecture qui demande de l'étude, du temps, du calme pour se produire, était nécessairement tombé dans l'oubli. Le peu de fragments d'architecture qui nous restent des VIe et VIIe siècles ne sont que de pâles reflets de l'art romain, souvent des débris amoncelés tant bien que mal par des ouvriers inhabiles sachant à peine poser du moellon et de la brique. Aucun caractère particulier ne distingue ces bâtisses informes qui donnent plutôt l'idée de la décadence d'un peuple que de son enfance. En effet, quels éléments d'art les Francs avaient-ils pu jeter au milieu de la population gallo-romaine? Nous voyons alors le clergé s'établir dans les basiliques ou les temples restés debout, les rois habiter les thermes, les ruines des palais ou des villæ romaines. Si lorsque l'ouragan barbare est passé, lorsque les nouveaux maîtres du sol commencent à s'établir on bâtit des églises ou des palais, on reproduit les types romains, mais en évitant d'attaquer les difficultés de l'art de bâtir. Pour les églises, la basilique antique sert toujours de modèle; pour les habitations princières, c'est la villa gallo-romaine que l'on cherche à imiter. Grégoire de Tours décrit, d'une manière assez vague d'ailleurs, quelques-uns de ces édifices religieux ou civils.
Il ne faut pas croire cependant que toute idée de luxe fût exclue de l'architecture; au contraire les édifices, le plus souvent bâtis d'une façon barbare, se couvrent à l'intérieur de peintures, de marbres, de mosaïques. Ce même auteur, Grégoire de Tours, en parlant de l'église de Clermont-Ferrand, bâtie au Ve siècle par saint Numatius, huitième évêque de ce diocèse, fait une peinture pompeuse de cet édifice. Voici la traduction de sa description. «Il fit (saint Numatius) bâtir l'église qui subsiste encore, et qui est la plus ancienne de celles qu'on voit dans l'intérieur de la ville. Elle a cent cinquante pieds de long, soixante de large, et cinquante pieds de haut dans l'intérieur de la nef jusqu'à la charpente; au-devant est une abside de forme ronde, et de chaque côté s'étendent des ailes d'une élégante structure. L'édifice entier est disposé en forme de croix; il a quarante-deux fenêtres, soixante-dix colonnes, et huit portes... Les parois de la nef sont ornées de plusieurs espèces de marbres ajustés ensemble. L'édifice entier ayant été achevé dans l'espace de douze ans... 6» C'est là une basilique antique avec ses colonnes et ses bas côtés (ascellæ), sa camera que nous croyons devoir traduire par charpente, avec d'autant plus de raisons que cette église fut complétement détruite par les flammes lorsque Pépin enleva la ville de Clermont au duc d'Aquitaine Eudes, à ce point qu'il fallut la rebâtir entièrement. Dans d'autres passages de son Histoire, Grégoire de Tours parle de certaines habitations princières dont les portiques sont couverts de charpentes ornées de vives peintures.
Les nouveaux maîtres des Gaules s'établirent de préférence au milieu des terres qu'ils s'étaient partagées; ils trouvaient là une agglomération de colons et d'esclaves habitués à l'exploitation des terres, une source de revenus en nature faciles à percevoir, et qui devaient satisfaire tous les désirs d'un chef germain. D'ailleurs, les villes avaient encore conservé leur gouvernement municipal respecté en grande partie par les barbares. Ces restes d'une vieille civilisation ne pouvaient que gêner les nouveaux venus, si forts et puissants qu'ils fussent. Des conquérants étrangers n'aiment pas à se trouver en présence d'une population qui, bien que soumise, leur est supérieure sous le rapport des moeurs et de la civilisation, c'est au moins une contrainte morale qui embarrasse des hommes habitués à une vie indépendante et sauvage. Les exercices violents, la chasse, la guerre; comme délassements, les orgies, s'accommodent de la vie des champs. Aussi, sous la première race, les villæ sont-elles les résidences préférées des rois et des possesseurs du sol. Là vivaient ensemble vainqueurs et vaincus. Ces habitations se composaient d'une suite de bâtiments destinés à l'exploitation, disséminés dans la campagne, et ressemblant assez à nos grands établissements agricoles. Là les rois francs tenaient leur cour, se livraient au plaisir de la chasse et vivaient des produits du sol réunis dans d'immenses magasins. Quand ces approvisionnements étaient consommés ils changeaient de résidence. Le bâtiment d'habitation était décoré avec une certaine élégance, quoique fort simple comme construction et distribution. De vastes portiques, des écuries, des cours spacieuses, quelques grands espaces couverts où l'on convoquait les synodes des évêques, où les rois francs présidaient ces grandes assemblées suivies de ces festins traditionnels qui dégénéraient en orgies, composaient la résidence du chef. «Autour du principal corps de logis se trouvaient disposés par ordre les logements des officiers du palais, soit barbares, soit romains d'origine... D'autres maisons de moindre apparence étaient occupées par un grand nombre de familles qui exerçaient, hommes et femmes, toutes sortes de métiers, depuis l'orfévrerie et la fabrique d'armes, jusqu'à l'état de tisserand et de corroyeur... 7»
Pendant la période mérovingienne les villes seules étaient fortifiées. Les villæ étaient ouvertes, défendues seulement par des palissades et des fossés. Sous les rois de la première race la féodalité n'existe pas encore, les leudes ne sont que de grands propriétaires établis sur le sol gallo-romain, soumis à une autorité centrale, celle du chef franc, mais autorité qui s'affaiblit à mesure que le souvenir de la conquête, de la vie commune des camps se perd. Les nouveaux possesseurs des terres, éloignés les uns des autres, séparés par des forêts ou des terres vagues dévastées par les guerres, pouvaient s'étendre à leur aise, ne rencontraient pas d'attaques étrangères à repousser, et n'avaient pas besoin de chercher à empiéter sur les propriétés de leurs voisins. Toutefois, ces hommes habitués à la vie aventureuse, au pillage, au brigandage le plus effréné, ne pouvaient devenir tout à coup de tranquilles propriétaires se contentant de leur part de conquête; ils se ruaient, autant par désoeuvrement que par amour du gain, sur les établissements religieux, sur les villages ouverts, pour peu qu'il s'y trouvât quelque chose à prendre. Aussi voit-on peu à peu les monastères, les agglomérations gallo-romaines quitter les plaines, le cours des fleuves, pour se réfugier sur les points élevés et s'y fortifier. Le plat pays est abandonné aux courses des possesseurs du sol qui, ne trouvant plus devant eux que les fils ou les petits-fils de leurs compagnons d'armes, les attaquent et pillent leurs villæ. C'est alors qu'elles s'entourent de murailles, de fossés profonds; mais mal placées pour se défendre, les villæ sont bientôt abandonnées aux colons, et les chefs francs s'établissent dans des forteresses. Au milieu de cette effroyable anarchie que les derniers rois mérovingiens étaient hors d'état de réprimer, les évêques et les établissements religieux luttaient seuls; les uns par leur patience, la puissance d'un principe soutenu avec fermeté, leurs exhortations; les autres par l'étude, les travaux agricoles, et en réunissant derrière leurs murailles les derniers débris de la civilisation romaine.
Charlemagne surgit au milieu de ce chaos; il parvient par la seule puissance de son génie organisateur à établir une sorte d'unité administrative; il reprend le fil brisé de la civilisation antique et tente de le renouer. Charlemagne voulait faire une renaissance. Les arts modernes allaient profiter de ce suprême effort, non en suivant la route tracée par ce grand génie, mais en s'appropriant les éléments nouveaux qu'il avait été chercher en Orient. Charlemagne avait compris que les lois et la force matérielle sont impuissantes à réformer et à organiser des populations ignorantes et barbares, si l'on ne commence par les éclairer. Il avait compris que les arts et les lettres sont un des moyens les plus efficaces à opposer à la barbarie. Mais en Occident les instruments lui manquaient, depuis longtemps les dernières lueurs des arts antiques avaient disparu. L'empire d'Orient, qui n'avait pas été bouleversé par l'invasion de peuplades sauvages, conservait ses arts et son industrie. Au VIIIe siècle c'était là qu'il fallait aller chercher la pratique des arts. D'ailleurs Charlemagne, qui avait eu de fréquents différends avec les empereurs d'Orient, s'était maintenu en bonne intelligence avec le kalife Haroun qui lui fit, en 801, cession des lieux saints. Dès 777 Charlemagne avait fait un traité d'alliance avec les gouvernements mauresques de Saragosse et d'Huesca. Par ces alliances il se ménageait les moyens d'aller recueillir les sciences et les arts là où ils s'étaient développés. Dès cette époque, les Maures d'Espagne, comme les Arabes de Syrie, étaient fort avancés dans les sciences mathématiques et dans la pratique de tous les arts, et bien que Charlemagne passe pour avoir ramené de Rome, en 787, des grammairiens, des musiciens et des mathématiciens en France, il est vraisemblable qu'il manda des professeurs de géométrie à ses alliés de Syrie ou d'Espagne; car nous pouvons juger, par le peu de monuments de Rome qui datent de cette époque, à quel degré d'ignorance profonde les constructeurs étaient tombés dans la capitale du monde chrétien.
Mais pour Charlemagne tout devait partir de Rome par tradition, il était avant tout empereur d'Occident, et il ne devait pas laisser croire que la lumière pût venir d'ailleurs. Ainsi, à la renaissance romaine qu'il voulait faire, il mêlait, par la force des choses, des éléments étrangers qui allaient bientôt faire dévier les arts du chemin sur lequel il prétendait les replacer. L'empereur pouvait s'emparer des traditions du gouvernement romain, rendre des ordonnances toutes romaines, composer une administration copiée sur l'administration romaine, mais si puissant que l'on soit, on ne décrète pas un art. Pour enseigner le dessin à ses peintres, les mathématiques à ses architectes, il lui fallait nécessairement faire venir des professeurs de Byzance, de Damas, ou de Cordoue; et ces semences exotiques jetées en Occident parmi des populations qui avaient leur génie propre, devaient produire un art qui n'était ni l'art romain ni l'art d'Orient, mais qui, partant de ces deux origines, devait produire un nouveau tronc tellement vivace, qu'il allait après quelques siècles étendre ses rameaux jusque sur les contrées d'où il avait tiré son germe.
On a répété à satiété que les croisades avaient eu une grande influence sur l'architecture occidentale; c'est une croyance que l'étude des monuments vient plutôt détruire que confirmer. Si les arts et les sciences, conservés et cultivés par les Maures, ont jeté des éléments nouveaux dans l'architecture occidentale, c'est bien plutôt pendant le VIIIe siècle. Charlemagne dut être frappé des moyens employés par les infidèles pour gouverner et policer les populations. De son temps déjà les disciples de Mahomet avaient établi des écoles célèbres où toutes les sciences connues alors étaient enseignées; ces écoles, placées pour la plupart à l'ombre des mosquées, purent lui fournir les modèles de ses établissements à la fois religieux et enseignants. Cette idée, du reste, sentait son origine grecque, et les nestoriens avaient bien pu la transmettre aux arabes; quoi qu'il en soit, Charlemagne avait des rapports plus directs avec les infidèles qu'avec la cour de Byzance, et s'il ménageait les mahométans plus que les Saxons, par exemple, frappés sans relâche par lui jusqu'à leur complète conversion, c'est qu'il trouvait chez les Maures une civilisation très-avancée, des moeurs policées, des habitudes d'ordre, et des lumières dont il profitait pour parvenir au but principal de son règne, l'éducation. Il trouvait enfin en Espagne plus à prendre qu'à donner.
Sans être trop absolu, nous croyons donc que le règne de Charlemagne peut être considéré comme l'introduction des arts modernes en France; pour faire comprendre notre pensée par une image, nous dirons qu'à partir de ce règne, si la coupe et la forme du vêtement restent romaines, l'étoffe est orientale. C'est plus particulièrement dans les contrées voisines du siége de l'empire, et dans celles où Charlemagne fit de longs séjours, que l'influence orientale se fait sentir: c'est sur les bords du Rhin, c'est dans le Languedoc, et le long des Pyrénées, que l'on voit se conserver longtemps, et jusqu'au XIIIe siècle, la tradition de certaines formes évidemment importées, étrangères à l'art romain.
Mais malgré son système administratif fortement établi, Charlemagne n'avait pu faire pénétrer partout également l'enseignement des arts et des sciences auquel il portait une si vive sollicitude. En admettant même qu'il ait pu (ce qu'il nous est difficile d'apprécier aujourd'hui, les exemples nous manquant), par la seule puissance de son génie tenace, donner à l'architecture des bords du Rhin aux Pyrénées, une unité factice en dépit des différences de nationalités, cette grande oeuvre dut s'écrouler après lui. Charlemagne avait de fait réuni sur sa tête la puissance spirituelle et la puissance temporelle; il s'agissait de sauver la civilisation, et les souverains pontifes, qui avaient vu l'Église préservée des attaques des arabes, des Grecs et des Lombards, par l'empereur, avaient pu reconnaître cette unité des pouvoirs. Mais l'empereur mort, ces nationalités d'origines différentes réunies par la puissance du génie d'un seul homme devaient se diviser de nouveau; le clergé devait reconquérir pied à pied le pouvoir spirituel, que s'arrogeaient alors les successeurs de Charlemagne, non plus pour le sauvegarder, mais pour détruire toute liberté dans l'Église, et trafiquer des biens et dignités ecclésiastiques. Les germes de la féodalité, qui existaient dans l'esprit des Francs, vinrent encore contribuer à désunir le faisceau si laborieusement lié par ce grand prince. Cinquante ans après sa mort chaque peuple reprend son allure naturelle; l'art de l'architecture se fractionne, le génie particulier à chaque contrée se peint dans les monuments des IXe et Xe siècles. Pendant les XIe et XIIe siècles, la diversité est encore plus marquée. Chaque province forme une école. Le système féodal réagit sur l'architecture; de même que chaque seigneur s'enferme dans son domaine, que chaque diocèse s'isole du diocèse voisin, l'art de bâtir suit pas à pas cette nouvelle organisation politique. Les constructeurs ne vont plus chercher des matériaux précieux au loin, n'usent plus des mêmes recettes, ils travaillent sur leur sol, emploient les matériaux à leur portée, modifient leurs procédés en raison du climat sous lequel ils vivent, ou les soumettent à des influences toutes locales. Un seul lien unit encore tous ces travaux qui s'exécutent isolément, la papauté. L'épiscopat qui, pour reconquérir le pouvoir spirituel, n'avait pas peu contribué au morcellement du pouvoir temporel, soumis lui-même à la cour de Rome, fait converger toutes ces voies différentes vers un même but où elles devaient se rencontrer un jour. On comprendra combien ces labeurs isolés devaient fertiliser le sol des arts, et quel immense développement l'architecture allait prendre, après tant d'efforts partiels, lorsque l'unité gouvernementale, renaissante au XIIIe siècle, réunirait sous sa main tous ces esprits assouplis par une longue pratique et par la difficulté vaincue.
Parmi les arts, l'art de l'architecture est certainement celui qui a le plus d'affinité avec les instincts, les idées, les moeurs, les progrès, les besoins des peuples; il est donc difficile de se rendre compte de la direction qu'il prend, des résultats auxquels il est amené, si l'on ne connaît les tendances et le génie des populations au milieu desquelles il s'est développé. Depuis le XVIIe siècle la personnalité du peuple en France a toujours été absorbée par le gouvernement, les arts sont devenus officiels, quitte à réagir violemment dans leur domaine, comme la politique dans le sien à certaines époques. Mais au XIIe siècle, au milieu de cette société morcelée, où le despotisme des grands, faute d'unité, équivalait, moralement parlant, à une liberté voisine de la licence, il n'en était pas ainsi. Le cadre étroit dans lequel nous sommes obligé de nous renfermer, ne nous permet pas de faire marcher de front l'histoire politique et l'histoire de l'architecture du VIIIe au XIIe siècle en France; c'est cependant ce qu'il faudrait tenter si l'on voulait expliquer les progrès de cet art au milieu des siècles encore barbares du moyen-âge; nous devrons nous borner à indiquer des points saillants, généraux, qui seront comme les jalons d'une route à tracer.
Ainsi que nous l'avons dit, le système politique et administratif emprunté par Charlemagne aux traditions romaines, avait pu arrêter le désordre sans en détruire les causes. Toutefois nous avons vu comment ce prince jetait, en pleine barbarie, des éléments de savoir. Pendant ce long règne, ces semences avaient eu le temps de pousser des racines assez vivaces pour qu'il ne fût plus possible de les arracher. Le clergé s'était fait le dépositaire de toutes les connaissances intellectuelles et pratiques. Reportons-nous par la pensée au IXe siècle, et examinons un instant ce qu'était alors le sol des Gaules et d'une grande partie de l'Europe occidentale. La féodalité naissante mais non organisée, la guerre, les campagnes couvertes de forêts en friche, à peine cultivées dans le voisinage des villes. Les populations urbaines sans industrie, sans commerce, soumises à une organisation municipale décrépite, sans lien entre elles, des villæ chaque jour ravagées, habitées par des colons ou des serfs dont la condition était à peu près la même, l'empire morcelé, déchiré par les successeurs de Charlemagne et les possesseurs de fiefs. Partout la force brutale, imprévoyante. Au milieu de ce désordre, seule, une classe d'hommes n'est pas tenue de prendre les armes ou de travailler à la terre, elle est propriétaire d'une portion notable du sol; elle a seule le privilége de s'occuper des choses de l'esprit, d'apprendre et de savoir; elle est mue par un admirable esprit de patience et de charité; elle acquiert bientôt par cela même une puissance morale contre laquelle viennent inutilement se briser toutes les forces matérielles et aveugles. C'est dans le sein de cette classe, c'est à l'abri des murs du cloître que viennent se réfugier les esprits élevés, délicats, réfléchis; et chose singulière, ce sera bientôt parmi ces hommes en dehors du siècle que le siècle viendra chercher ses lumières. Jusqu'au XIe siècle cependant ce travail est obscur, lent; il semble que les établissements religieux, que le clergé, sont occupés à rassembler les éléments d'une civilisation future. Rien n'est constitué, rien n'est défini, les luttes de chaque jour contre la barbarie absorbent toute l'attention du pouvoir clérical, il paraît même épuisé par cette guerre de détails. Les arts se ressentent de cet état incertain, on les voit se traîner péniblement sur la route tracée par Charlemagne, sans beaucoup de progrès; la renaissance romaine reste stationnaire, elle ne produit aucune idée féconde, neuve, hardie, et sauf quelques exceptions dont nous tiendrons compte, l'architecture reste enveloppée dans son vieux linceul antique. Les invasions des Normands viennent d'ailleurs rendre plus misérable encore la situation du pays; et comment l'architecture aurait-elle pu se développer au milieu de ces ruines de chaque jour, puisqu'elle ne progresse que par la pratique? Cependant ce travail obscur de cloître allait se produire au jour.
Note 6: (retour) Hist. ecclés. des Francs, par G. F. Grégoire, évêque de Tours, en 10 liv. rev. et collat. sur de nouv. manus., et traduite par MM. J. Guadet et Taranne. A Paris, 1836; chez J. Renouard. T. I, p. 178. (Voy. Éclairciss. et Observ.)
Note 7: (retour) Aug. Thierry, Récits des temps mérovingiens (t. I, p. 253. éd. Furne, Paris, 1846).
DÉVELOPPEMENT DE L'ARCHITECTURE EN FRANCE DU XIe AU XVIe SIÈCLE.--DES CAUSES QUI ONT AMENÉ SON PROGRÈS ET SA DÉCADENCE.--DES DIFFÉRENTS STYLES PROPRES À CHAQUE PROVINCE. Le XIe siècle commence et avec lui une nouvelle ère pour les arts comme pour la politique. Nous l'avons dit plus haut, les lettres, les sciences et les arts s'étaient renfermés dans l'enceinte des cloîtres depuis le règne de Charlemagne. Au XIe siècle, le régime féodal était organisé autant qu'il pouvait l'être, le territoire morcelé en seigneuries, vassales les unes des autres jusqu'au suzerain, présentait l'aspect d'une arène où chacun venait défendre ses droits attaqués, ou en conquérir de nouveaux les armes à la main. L'organisation écrite du système féodal était peut-être la seule qui pût convenir dans ces temps si voisins encore de la barbarie, mais en réalité l'application répondait peu au principe. C'était une guerre civile permanente, une suite non interrompue d'oppressions et de vengeances de seigneurs à seigneurs, de révoltes contre les droits du suzerain. Au milieu de ce conflit perpétuel qu'on se figure l'état de la population des campagnes! L'institut monastique, épuisé ou découragé, dans ces temps où nul ne semblait avoir la connaissance du juste et de l'injuste, où les passions les plus brutales étaient les seules lois écoutées, était lui-même dans la plus déplorable situation, les monastères pillés et brûlés par les Normands, rançonnés par les seigneurs séculiers, possédés par des abbés laïques, étaient la plupart dépeuplés, la vie régulière singulièrement relâchée. On voyait dans les monastères, au milieu des moines, des chanoines et des religieuses même, des abbés laïques qui vivaient installés là avec leurs femmes et leurs enfants, leurs gens d'armes et leurs meutes 8. Cependant quelques établissements religieux conservaient encore les traditions de la vie bénédictine. Au commencement du XIe siècle, non-seulement les droits féodaux étaient exercés par des seigneurs laïques, mais aussi par des évêques et des abbés; en perdant ainsi son caractère de pouvoir purement spirituel, une partie du haut clergé autorisait l'influence que la féodalité séculière prétendait exercer sur les élections de ces évêques et abbés, puisque ceux-ci devenaient des vassaux soumis dès lors au régime féodal; ainsi commence une lutte dans laquelle les deux principes, spirituel et temporel, se trouvent en présence, il s'agit ou de la liberté ou du vasselage de l'Église, et l'Église, il faut le dire, entame la lutte par une réforme dans son propre sein.
En 909 Guillaume, duc d'Aquitaine, avait fondé l'abbaye de Cluny, et c'est aux saints apôtres Pierre et Paul qu'il donnait tous les biens qui accompagnaient sa fondation 9. Une bulle de Jean XI (mars 932) confirme la charte de Guillaume, et «affranchit le monastère de toute dépendance de quelque roi, évêque ou comte que ce soit, et des proches même de Guillaume 10...»
Il ne faut point juger cette intervention des pontifes romains avec nos idées modernes. Il faut songer qu'au milieu de cette anarchie générale, de ces empiétements de tous les pouvoirs les uns sur les autres, de cette oppression effrénée de la force brutale, cette suzeraineté qu'acceptait la chaire de Saint-Pierre devait opposer une barrière invincible à la force matérielle, établir l'unité spirituelle, constituer une puissance morale immense en plein coeur de la barbarie, et c'est ce qui arriva. Tout le XIe siècle et la première moitié du XIIe sont remplis par l'histoire de ces luttes, d'où le pouvoir spirituel sort toujours vainqueur. Saint Anselme, archevêque de Canterbury, saint Hugues, abbé de Cluny, et Grégoire VII, sont les trois grandes figures qui dominent cette époque, et qui établissent d'une manière inébranlable l'indépendance spirituelle du clergé. Comme on doit le penser, les populations n'étaient pas indifférentes à ces grands débats; elles voyaient alors un refuge efficace contre l'oppression dans ces monastères où se concentraient les hommes intelligents, les esprits d'élite, qui, par la seule puissance que donne une conviction profonde, une vie régulière et dévouée, tenaient en échec tous les grands du siècle. L'opinion, pour nous servir d'un mot moderne, était pour eux, et ce n'était pas leur moindre soutien; le clergé régulier résumait alors à lui seul toutes les espérances de la classe inférieure; il ne faut donc point s'étonner si pendant le XIe siècle et au commencement du XIIe il devint le centre de toute influence, de tout progrès, de tout savoir. Partout il fondait des écoles où l'on enseignait les lettres, la philosophie, la théologie, les sciences et les arts. À l'abbaye du Bec, Lanfranc et saint Anselme étant prieurs ne dédaignent pas d'instruire la jeunesse séculière, de corriger, pendant leurs veilles, les manuscrits fautifs des auteurs païens, des Écritures saintes, ou des Pères. À Cluny, les soins les plus attentifs étaient apportés à l'enseignement. Udalric 11 consacre deux chapitres de ses Coutumes à détailler les devoirs des maîtres envers les enfants ou les adultes qui leur étaient confiés 12. «Le plus grand prince n'était pas élevé avec plus de soins dans le palais des rois, que ne l'était le plus petit des enfants à Cluny 13.»
Ces communautés prenaient dès lors une grande importance vis-à-vis la population des villes par leur résistance au despotisme aveugle de la féodalité et à son esprit de désordre, participaient à toutes les affaires publiques par l'intelligence, le savoir et les capacités de leurs membres; aussi comme le dit l'un des plus profonds et des plus élégants écrivains de notre temps dans un livre excellent, publié depuis peu 14: Les abbés de ces temps d'austérité et de désordre ressemblaient fort peu à ces oisifs grassement rentés dont s'est raillé plus tard notre littérature bourgeoise et satirique: leur administration était laborieuse, et la houlette du pasteur ne demeurait pas immobile dans leurs mains.» Cette activité intérieure et extérieure du monastère devait, comme toujours, donner aux arts et particulièrement à l'architecture un grand essor; et c'était dans le sein des abbayes mêmes que se formaient les maîtres qui allaient, au XIe siècle, leur donner une importance matérielle égale à leur prépondérance religieuse et morale dans la chrétienté. Le premier architecte qui jette les fondements de ce vaste et admirable monastère de Cluny, presque entièrement détruit aujourd'hui, est un Cluniste, nommé Gauzon, ci-devant abbé de Baume 15. Celui qui achève la grande église est un Flamand religieux, Hezelon qui, avant son entrée à Cluny, enseignait à Liége; les rois d'Espagne et d'Angleterre fournirent les fonds nécessaires à l'achèvement de cette grande construction (voy. ARCHITECTURE MONASTIQUE).
Non-seulement ces bâtiments grandioses allaient servir de types à tous les monastères de la règle de Cluny en France et dans une grande partie de l'Europe occidentale; mais les simples paroisses, les constructions rurales, les monuments publics des villes prenaient leurs modèles dans ces centres de richesse et de lumière. Là, en effet, et là seulement, se trouvaient le bien-être, les dispositions étudiées et prévoyantes, salubres et dignes. En 1009, avant même la construction de l'abbaye de Cluny sous Pierre le Vénérable, «Hugues de Farfa avait envoyé un de ses disciples, nommé Jean, observer les lieux et décrire pour l'usage particulier de son monastère les us et coutumes de Cluny. Cet ouvrage demeuré manuscrit dans la bibliothèque vaticane, n°6808 16, contient des renseignements que nous ne retrouverions pas ailleurs aujourd'hui. Nul doute que ces dimensions que l'on veut transporter à Farfa, ne soient celles de Cluny au temps de saint Odilon. Quand nous serions dans l'erreur à cet égard, toujours est-il certain que ces proportions ont été fournies et ces plans élaborés à Cluny, dont nous surprenons ainsi la glorieuse influence jusqu'au coeur de l'Italie... L'Église devait avoir 140 pieds de long. 160 fenêtres vitrées, deux tours à l'entrée, formant un parvis pour les laïques;.... le dortoir, 140 pieds de long, 34 de hauteur, 92 fenêtres vitrées, ayant chacune plus de 6 pieds de hauteur et 2-1/2 de largeur; le réfectoire, 90 pieds de long et 23 de hauteur;... l'aumônerie, 60 pieds de longueur; l'atelier des verriers, bijoutiers et orfèvres, 123 pieds de long sur 25 de large 17; les écuries des chevaux du monastère et des étrangers, 280 pieds de long sur 25 18...»
Mais pendant que les ordres religieux, les évêques, qui n'admettaient pas le vasselage de l'Église, et le souverain pontife à leur tête, soutenaient avec ensemble et persistance la lutte contre les grands pouvoirs féodaux, voulaient établir l'unité spirituelle, et réformer les abus qui s'étaient introduits dans le clergé; les populations des villes profitaient des lumières et des idées d'indépendance morale répandues autour des grands monastères, éprouvaient le besoin d'une autorité publique et d'une administration intérieure, à l'imitation de l'autorité unique du saint-siége, et de l'organisation intérieure des couvents; elles allaient réclamer leur part de garantie contre le pouvoir personnel de la féodalité séculière et du haut clergé.
Ces deux mouvements sont distincts cependant, et s'ils marchent parallèlement, ils sont complétement indépendants l'un de l'autre. Les clercs qui enseignaient alors en chaire au milieu d'une jeunesse avide d'apprendre ce que l'on appelait alors la physique et la théologie, étaient les premiers à qualifier d'exécrables les tentatives de liberté des villes. De même que les bourgeois qui réclamaient, et obtenaient au besoin par la force, des franchises destinées à protéger la liberté du commerce et de l'industrie, poursuivaient à coups de pierre les disciples d'Abailard. Telle est cette époque d'enfantement, de contradictions étranges, où toutes les classes de la société semblaient concourir par des voies mystérieuses à l'unité, s'accusant réciproquement d'erreurs sans s'apercevoir qu'elles marchaient vers le même but.
Parmi les abbayes qui avaient été placées sous la dépendance de Cluny, et qui possédaient les mêmes priviléges, était l'abbaye de Vézelay. Vers 1119, les comtes de Nevers prétendirent avoir des droits de suzeraineté sur la ville dépendant du monastère. «Ils ne pouvaient voir sans envie les grands profits que l'abbé de Vézelay tirait de l'affluence des étrangers de tout rang et de tout état, ainsi que des foires qui se tenaient dans le bourg, particulièrement à la fête de sainte Marie-Madeleine. Cette foire attirait, durant plusieurs jours, un concours nombreux de marchands, venus soit du royaume de France soit des communes du Midi, et donnait à un bourg de quelques milliers d'âmes une importance presque égale à celle des grandes villes du temps. Tout serfs qu'ils étaient de l'abbaye de Sainte-Marie, les habitants de Vézelay avaient graduellement acquis la propriété de plusieurs domaines situés dans le voisinage; et leur servitude diminuant par le cours naturel des choses, s'était peu à peu réduite au payement des tailles et des aides, et à l'obligation de porter leur pain, leur blé et leur vendange, au four, au moulin et au pressoir publics, tenus ou affermés par l'abbaye. Une longue querelle, souvent apaisée, par l'intervention des papes, mais toujours renouvelée sous différents prétextes, s'éleva ainsi entre les comtes de Nevers et les abbés de Sainte-Marie de Vézelay... Le comte Guillaume, plusieurs fois sommé par l'autorité pontificale de renoncer à ses prétentions, les fit valoir avec plus d'acharnement que jamais, et légua en mourant à son fils, du même nom que lui, toute son inimitié contre l'abbaye 19.» Le comte, au retour de la croisade, recommença la lutte par une alliance avec les habitants, leur promettant de reconnaître la commune, y entrant même, en jurant fidélité aux bourgeois.
Les habitants de Vézelay ne sont pas plutôt affranchis et constitués en commune qu'ils se fortifient. «Ils élevèrent autour de leurs maisons, chacun selon sa richesse, des murailles crénelées, ce qui était la marque et la garantie de la liberté. L'un des plus considérables parmi eux, nommé Simon, jeta les fondements d'une grosse tour carrée 20...» Peu d'années avant ou après cette époque, le Mans, Cambrai, Saint-Quentin, Laon, Amiens, Beauvais, Soissons, Orléans, Sens, Reims s'étaient constitués en communes, les uns à main armée et violemment, les autres en profitant des querelles survenues entre les seigneurs et évêques qui, chacun de leur côté, étaient en possession de droits féodaux sur ces villes. Le caractère de la population indigène gallo-romaine, longtemps comprimé, surgissait tout à coup; les populations ne renversaient pas comme de nos jours, avec ensemble, ce qui gênait leur liberté, mais elles faisaient des efforts partiels, isolés, manifestant ainsi leur esprit d'indépendance avec d'autant plus d'énergie qu'elles étaient abandonnées à elles-mêmes. Cette époque de l'affranchissement des communes marque une place importante dans l'histoire de l'architecture. C'était un coup porté à l'influence féodale séculière ou religieuse (voy. ARCHITECTE). De ce moment les grands centres religieux cessent de posséder exclusivement le domaine des arts. Saint Bernard devait lui-même contribuer à hâter l'accomplissement de cette révolution: abbé de Clairvaux, il appartenait à la règle austère de Cîteaux; plusieurs fois en chaire, et notamment dans cette église de Vézelay, qui dépendait de Cluny, il s'était élevé avec la passion d'une conviction ardente contre le luxe que l'on déployait dans les églises, contre ces «figures bizarres et monstrueuses» qui, à ses yeux, n'avaient rien de chrétien, et que l'on prodiguait sur les chapiteaux, sur les frises, et jusque dans le sanctuaire du Seigneur. Les monastères qui s'érigeaient sous son inspiration, empreints d'une sévérité de style peu commune alors, dépouillés d'ornements et de bas-reliefs, contrastaient avec l'excessive richesse des abbayes soumises à la règle de Cluny. L'influence de ces constructions austères, desséchait tout ce qui s'élevait autour d'elles (voy. ARCHITECTURE MONASTIQUE). Cette déviation de l'architecture religieuse apporta pendant le cours du XIIe siècle une sorte d'indécision dans l'art qui ralentit et comprima l'élan des écoles monastiques. Le génie des populations gallo-romaines était contraire à la réforme que saint Bernard voulait établir; aussi n'en tint-il compte; et cette réforme qui arrêta un instant l'essor donné à l'architecture au milieu des grands établissements religieux, ne fit que lui ouvrir le chemin dans une voie nouvelle, et qui allait appartenir dorénavant aux corporations laïques. Dès la fin du XIIe siècle l'architecture religieuse, monastique ou civile, appelait à son aide toutes les ressources de la sculpture et de la peinture, et les établissements fondés par saint Bernard restaient comme des témoins isolés de la protestation d'un seul homme contre les goûts de la nation.
Dans l'organisation des corporations laïques de métiers, les communes ne faisaient que suivre l'exemple donné par les établissements religieux. Les grandes abbayes, et même les prieurés, avaient depuis le VIIIe siècle établi autour de leurs cloîtres et dans l'enceinte de leurs domaines des ateliers de corroyeurs, de charpentiers, menuisiers, ferronniers, cimenteurs, d'orfévres, de sculpteurs, de peintres, de copistes, etc. (voy. ARCHITECTURE MONASTIQUE). Ces ateliers, quoiqu'ils fussent composés indistinctement de clercs et de laïques, étaient soumis à une discipline, et le travail était méthodique; c'était par l'apprentissage que se perpétuait l'enseignement; chaque établissement religieux représentait ainsi en petit un véritable État, renfermant dans son sein tous ses moyens d'existence, ses chefs, ses propriétaires cultivateurs, son industrie, et ne dépendant par le fait que de son propre gouvernement, sous la suprématie du souverain pontife. Cet exemple profitait aux communes qui avaient soif d'ordre et d'indépendance en même temps. En changeant de centre, les arts et les métiers ne changèrent pas brusquement de direction; et si des ateliers se formaient en dehors de l'enceinte des monastères, ils étaient organisés d'après les mêmes principes, l'esprit séculier seulement y apportait un nouvel élément, très-actif, il est vrai, mais procédant de la même manière, par l'association, et une sorte de solidarité.
Parallèlement au grand mouvement d'affranchissement des villes, une révolution se préparait au sein de la féodalité séculière. En se précipitant en Orient, à la conquête des lieux saints, elle obéissait à deux sentiments, le sentiment religieux d'abord, et le besoin de la nouveauté, de se dérober aux luttes locales incessantes, à la suzeraineté des seigneurs puissants, peut-être aussi à la monotonie d'une vie isolée, difficile, besoigneuse même; la plupart des possesseurs de fiefs laissaient ainsi derrière eux des nuées de créanciers, engageant leurs biens pour partir en terre sainte, et comptant sur l'imprévu pour les sortir des difficultés de toute nature qui s'accumulaient autour d'eux. Il n'est pas besoin de dire que les rois, le clergé et le peuple des villes trouvaient dans ces émigrations en masse de la classe noble, des avantages certains; les rois pouvaient ainsi étendre plus facilement leur pouvoir, les établissements religieux et les évêques débarrassés, temporairement du moins, de voisins turbulents, ou les voyant revenir dépouillés de tout, augmentaient les biens de l'Église, pouvaient songer avec plus de sécurité à les améliorer, à les faire valoir; le peuple des villes et des bourgs se faisait octroyer des chartes à prix d'argent en fournissant aux seigneurs les sommes nécessaires à ces expéditions lointaines, à leur rachat s'ils étaient prisonniers, ou à leur entretien s'ils revenaient ruinés, ce qui arrivait fréquemment. Ces transactions faites de gré ou de force avaient pour résultat d'affaiblir de jour en jour les distinctions de race vainqueurs et de vaincus, de Francs et de Gallo-Romains. Elles contribuaient à former une nationalité liée par des intérêts communs, par des engagements pris de part et d'autre. Le pouvoir royal abandonnait le rôle de chef d'une caste de conquérants pour devenir royauté nationale destinée à protéger toutes les classes de citoyens sans distinction de race ou d'état. Il commençait à agir directement sur les populations sans intermédiaires non-seulement dans le domaine royal, mais au milieu des possessions de ses grands vassaux. «Un seigneur qui octroyait ou vendait une charte de commune se faisait prêter serment de fidélité par les habitants; de son côté il jurait de maintenir leurs libertés et franchises; plusieurs gentils-hommes se rendaient garants de sa foi, s'obligeant à se remettre entre les mains des habitants si leur seigneur lige violait quelques-uns de leurs droits, et à rester prisonniers jusqu'à ce qu'il leur eût fait justice. Le roi intervenait toujours dans ces traités, pour confirmer les chartes, et pour les garantir. On ne pouvait faire de commune sans son consentement, et de là toutes les villes de commune furent réputées être en la seigneurie du roi; il les appelait ses bonnes villes, titre qu'on trouve employé dans les ordonnances, dès l'année 1226. Par la suite on voulut que leurs officiers reconnussent tenir leurs charges du roi, non à droit de suzeraineté et comme seigneur, mais à droit de souveraineté et comme roi 21.»
Cette marche n'a pas la régularité d'un système suivi avec persévérance. Beaucoup de seigneurs voulaient reprendre par la force ces chartes vendues dans un moment de détresse, mais l'intervention royale penchait du côté des communes, car ces institutions ne pouvaient qu'abaisser la puissance des grands vassaux. La lutte entre le clergé et la noblesse féodale subsistait toujours, et les seigneurs séculiers établirent souvent des communes dans la seule vue d'entraver la puissance des évêques. Tous les pouvoirs de l'État, au XIIe siècle, tendaient donc à faire renaître cette prépondérance populaire du pays, étouffée pendant plusieurs siècles. Avec la conscience de sa force, le tiers état reprenait le sentiment de sa dignité, lui seul d'ailleurs renfermait encore dans son sein les traditions et certaines pratiques de l'administration romaine; «des chartes de communes des XIIe et XIIIe siècles semblent n'être qu'une confirmation de priviléges subsistants 22.» Quelques villes du midi, sous l'influence d'un régime féodal moins morcelé et plus libéral par conséquent, telles que Toulouse, Bordeaux, Périgueux, Marseille, avaient conservé à peu près intactes leurs institutions municipales; les villes riches et populeuses de Flandre, dès le Xe siècle, étaient la plupart affranchies. L'esprit d'ordre est toujours la conséquence du travail et de la richesse acquise par l'industrie et le commerce. Il est intéressant de voir en face de l'anarchie du système féodal, ces organisations naissantes des communes, sortes de petites républiques qui possèdent leurs rouages administratifs, imparfaits, grossiers d'abord, puis présentant déjà, pendant le XIIIe siècle, toutes les garanties de véritables constitutions. Les arts, comme l'industrie et le commerce, se développaient rapidement dans ces centres de liberté relative, les corporations de métiers réunissaient dans leur sein tous les gens capables, et ce qui plus tard devint un monopole gênant était alors un foyer de lumières. L'influence des établissements monastiques dans les arts de l'architecture ne pouvait être combattue que par des corporations de gens de métiers qui présentaient toutes les garanties d'ordre et de discipline que l'on trouvait dans les monastères, avec le mobile puissant de l'émulation, et l'esprit séculier de plus. Des centres comme Cluny, lorsqu'ils envoyaient leurs moines cimenteurs pour bâtir un prieuré dans un lieu plus ou moins éloigné de l'abbaye mère, l'expédiaient avec des programmes arrêtés, des recettes admises, des poncifs (qu'on nous passe le mot), dont ces architectes clercs ne pouvaient et ne devaient s'écarter. L'architecture soumise ainsi à un régime théocratique, non-seulement n'admettait pas de dispositions nouvelles, mais reproduisait à peu près partout les mêmes formes, sans tenter de progresser. Mais quand, à côté de ces écoles cléricales, il se fut élevé des corporations laïques, ces dernières, possédées de l'esprit novateur qui tient à la civilisation moderne, l'emportèrent bientôt même dans l'esprit du clergé catholique, qui, rendons-lui cette justice, ne repoussa jamais les progrès de quelque côté qu'ils lui vinssent, surtout quand ces progrès ne devaient tendre qu'à donner plus de pompe et d'éclat aux cérémonies du culte. Toutefois l'influence de l'esprit laïque fut lente à se faire sentir dans les constructions monastiques, et cela se conçoit, tandis qu'elle apparaît presque subitement dans les édifices élevés par les évêques, tels que les cathédrales, les évêchés, dans les châteaux féodaux et les bâtiments municipaux. À cette époque le haut clergé était trop éclairé, trop en contact avec les puissants du siècle pour ne pas sentir tout le parti que l'on pouvait tirer du génie novateur et hardi qui allait diriger les architectes laïques; il s'en empara avec cette intelligence des choses du temps qui le caractérisait, et devint son plus puissant promoteur.
Au XIIe siècle le clergé n'avait pas à prendre les armes spirituelles seulement contre l'esprit de désordre des grands et leurs excès, il se formait à côté de lui un enseignement rival, ayant la prétention d'être aussi orthodoxe que le sien, mais voulant que la foi s'appuyât sur le rationalisme. Nous avons dit déjà que les esprits d'élite réfugiés dans ces grands établissements religieux étudiaient, commentaient et revoyaient avec soin les manuscrits des auteurs païens, des Pères ou des philosophes chrétiens rassemblés dans les bibliothèques des couvents, il est difficile de savoir si les hommes tels que Lanfranc et saint Anselme pouvaient lire les auteurs grecs, mais il est certain qu'ils connaissaient les traductions et les commentaires d'Aristote, attribués à Boëce, et que les opinions de Platon étaient parvenues jusqu'à eux. Les ouvrages de saint Anselme, en étant toujours empreints de cette pureté et de cette humilité de coeur qui lui sont naturelles, elles sentent cependant le savant dialecticien et métaphysicien. La dialectique et la logique étaient passées d'Orient en Occident, et les méthodes philosophiques des docteurs de Byzance avaient suivi le grand mouvement intellectuel imprimé par Charlemagne. Les théologiens occidentaux mettaient en oeuvre, dès le XIe siècle, dans leurs écrits ou leurs discussions, toutes les ressources de la raison et de la logique pour arriver à la démonstration et à la preuve des vérités mystérieuses de la religion 23. Personne n'ignore l'immense popularité que s'était acquise Abailard dans l'enseignement pendant le XIIe siècle. Cet esprit élevé et subtil, croyant, mais penchant vers le rationalisme, façonnait la jeunesse des écoles de Paris à cette argumentation scolastique, à cette rigueur de raisonnement qui amènent infailliblement les intelligences qui ne sont pas éclairées d'une foi vive, au doute. Nous retrouvons cet esprit d'analyse dans toutes les oeuvres d'art du moyen âge, et dans l'architecture surtout qui dépend autant des sciences positives que de l'inspiration. Saint Bernard sentit le danger, il comprit que cette arme du raisonnement mise entre les mains de la jeunesse, dans des temps si voisins de la barbarie, devait porter un coup funeste à la foi catholique; aussi n'hésite-t-il pas à comparer Abailard à Arius, à Pélage et à Nestorius. Abailard, en 1122, se voyait forcé, au concile de Soissons, de brûler de sa propre main; sans même avoir été entendu, son Introduction à la théologie, dans laquelle il se proposait de défendre la trinité et l'unité de Dieu contre les arguments des philosophes, en soumettant le dogme à toutes les ressources de la dialectique; et en 1140, à la suite des censures du concile de Sens, il dut se retirer à l'abbaye de Cluny, où les deux dernières années de sa vie furent consacrées à la pénitence. Cependant, malgré cette condamnation, l'art de la dialectique, devint de plus en plus familier aux écrivains les plus orthodoxes, et de cette école de théologiens scolastiques sortirent, au XIIIe siècle, des hommes tels que Roger Bacon, Albert le Grand et saint Thomas d'Aquin. Saint Bernard et Abailard étaient les deux têtes des deux grands principes qui s'étaient trouvés en présence pendant le cours du XIIe siècle au sein du clergé: saint Bernard représentait la foi pure, le sens droit; il croyait fermement à la théocratie comme au seul moyen de sortir de la barbarie, et il commençait en homme sincère par introduire la réforme parmi ceux dont il voulait faire les maîtres du monde; l'esprit de saint Paul résidait en lui. Abailard représentait toutes les ressources de la scolastique, les subtilités de la logique et l'esprit d'analyse poussé aux dernières limites. Ce dernier exprimait bien plus, il faut le dire, les tendances de son époque que saint Bernard; aussi le haut clergé ne chercha pas à briser l'arme dangereuse d'Abailard, mais à s'en servir; il prit les formes du savant docteur en conservant l'orthodoxie du saint. Nous insistons sur ce point parce qu'il indique clairement à notre sens le mouvement qui s'était produit dans l'étude des arts et des sciences, et la conduite du haut clergé en face de ce mouvement; il en comprit l'importance, et il le dirigea au grand profit des arts et de la civilisation. Tout ce qui surgit à cette époque est irrésistible; les croisades, la soif du savoir et le besoin d'affranchissement, sont autant de torrents auxquels il fallait creuser des lits; il semblait que l'Occident, longtemps plongé dans l'engourdissement, se réveillait plein de jeunesse et de santé; il se trouvait tout à coup rempli d'une force expansive et absorbante à la fois. Jamais l'envie d'apprendre n'avait produit de telles merveilles. Quand Abailard, condamné par un concile, fugitif, désespérant de la justice humaine, ne trouva plus qu'un coin de terre sur les bords de l'Ardisson, où il pût enseigner librement, sous le consentement de l'évêque de Troyes, sa solitude fut bientôt peuplée de disciples. Laissons un instant parler M. Guizot. «À peine ses disciples eurent-ils appris le lieu de sa retraite, qu'ils accoururent de tous côtés, et, le long de la rivière, se bâtirent autour de lui de petites cabanes. Là, couchés sur la paille, vivant de pain grossier et d'herbes sauvages, mais heureux de retrouver leur maître, avides de l'entendre, ils se nourrissaient de sa parole, cultivaient ses champs et pourvoyaient à ses besoins. Des prêtres se mêlaient parmi eux aux laïques; et ceux, dit Héloïse, qui vivaient des bénéfices ecclésiastiques et qui, accoutumés à recevoir, non à faire des offrandes, avaient des mains pour prendre, non pour donner, ceux-là même se montraient prodigues et presque importuns dans les dons qu'ils apportaient. Il fallut bientôt agrandir l'oratoire devenu trop petit pour le nombre de ceux qui s'y réunissaient. Aux cabanes de roseaux succédèrent des bâtiments de pierre et de bois, tous construits par le travail ou aux frais de la colonie philosophique; et Abailard, au milieu de cette affectueuse et studieuse jeunesse, sans autre soin que celui de l'instruire et de lui dispenser le savoir et la doctrine, vit s'élever l'édifice religieux qu'en mémoire des consolations qu'il y avait trouvées dans son infortune, il dédia au Paraclet ou consolateur 24.» Jamais la foi, le besoin de mouvement, le désir de racheter des fautes et des crimes n'avaient produit un élan comme les croisades. Jamais les efforts d'une nation n'avaient été plus courageux et plus persistants pour organiser une administration civile, pour constituer une nationalité, pour conquérir ses premières libertés, que ne le fut cette explosion des communes. Le haut clergé condamnait l'enseignement d'Abailard, mais se mettait à son niveau en maintenant l'orthodoxie, provoquait le mouvement des croisades, et en profitait; ne comprenait pas d'abord et anathématisait l'esprit des communes, et cependant trouvait bientôt au sein de ces corporations de bourgeois, les artistes hardis et actifs, les artisans habiles qui devaient élever et décorer ses temples, ses monastères, ses hôpitaux et ses palais. Admirable époque pour les arts, pleine de séve et de jeunesse!
À la fin du XIIe siècle, l'architecture, déjà pratiquée par des artistes laïques, conserve quelque chose de son origine théocratique; bien que contenue encore dans les traditions romanes, elle prend un caractère de soudaineté qui fait pressentir ce qu'elle deviendra cinquante ans plus tard; elle laisse apparaître parfois des hardiesses étranges, des tentatives qui bientôt deviendront des règles. Chaque province élève de vastes édifices qui vont servir de types; et au milieu de ces travaux partiels, mais qui se développent rapidement, le domaine royal conserve le premier rang. Dans l'histoire des peuples, la Providence place toujours les hommes des circonstances; Philippe Auguste régnait alors; son habileté comme politique, son caractère prudent et hardi à la fois, élevaient la royauté à un degré de puissance inconnu depuis Charlemagne. L'un des premiers il avait su occuper sa noblesse à des entreprises vraiment nationales; la féodalité perdait sous son règne les derniers vestiges de ses habitudes de conquérant pour faire partie de la nation. Grand nombre de villes et de simples bourgades recevaient des chartes octroyées de plein gré; le haut clergé prenait une moins grande part dans les affaires séculières, et se réformait. Le pays se constituait enfin, et la royauté de fait, selon l'expression de M. Guizot, était placée au niveau de la royauté de droit. L'unité gouvernementale apparaissait, et sous son influence l'architecture se dépouillait de ses vieilles formes, empruntées de tous côtés, pour se ranger, elle aussi, sous des lois qui en firent un art national.
Philippe Auguste avait ajouté au domaine royal la Normandie, l'Artois, le Vermandois, le Maine, la Touraine, l'Anjou et le Poitou, c'est-à-dire les provinces les plus riches de France, et celles qui renfermaient les populations les plus actives et les plus industrieuses. La prépondérance monarchique avait absorbé peu à peu dans les provinces, et particulièrement dans l'Ile-de-France, l'influence de la féodalité séculière et des grands établissements religieux. À l'ombre de ce pouvoir naissant, les villes mieux protégées dans leurs libertés, avaient organisé leur administration avec plus de sécurité et de force; quelques-unes même, comme Paris, n'avaient pas eu besoin, pour développer leur industrie, de s'ériger en communes, elles vivaient immédiatement sous la protection du pouvoir royal, et cela leur suffisait. Or, on n'a pas tenu assez compte, il nous semble, de cette influence du pouvoir monarchique sur les arts en France. Il semble que François Ier ait été le premier roi qui ait pesé sur les arts, tandis que dès la fin du XIIe siècle nous voyons l'architecture, et les arts qui en dépendent, se développer avec une incroyable vigueur dans le domaine royal, et avant tout dans l'Ile-de-France, c'est-à-dire dans la partie de ce domaine qui, après le démembrement féodal de la fin du Xe siècle, était restée l'apanage des rois. De Philippe Auguste à Louis XIV, l'esprit général de la monarchie présente un caractère frappant; c'est quelque chose d'impartial et de grand, de contenu et de logique dans la direction des affaires, qui distingue cette monarchie entre toutes dans l'histoire des peuples de l'Europe occidentale. La monarchie française est peut-être, à partir du XIIe siècle, la seule qui ait été réellement nationale, qui se soit identifiée à l'esprit de la population, et c'est ce qui a fait sa force et sa puissance croissantes malgré ses fautes et ses revers. Dans ses rapports avec la cour de Rome, avec ses grands vassaux, avec la nation elle-même, elle apporte toujours (nous ne parlons, bien entendu, que de l'ensemble de sa conduite) une modération ferme et un esprit éclairé, qui sont le partage des hommes de goût, pour nous servir d'une expression moderne. Ce tempérament dans la manière de voir les choses et dans la conduite des affaires se retrouve dans les arts jusqu'à Louis XIV. L'architecture, cette vivante expression de l'esprit d'un peuple, est empreinte dès la fin du XIIIe siècle, dans le domaine royal, de la vraie grandeur qui évite l'exagération; elle est toujours contenue même dans ses écarts, et aux époques de décadence, dans les limites du goût, sobre et riche à la fois, claire et logique, elle se plie à toutes les exigences sans jamais abandonner le style. C'est un art appartenant à des gens instruits, qui savent ne dire et faire que ce qu'il faut pour être compris. N'oublions pas que pendant les XIIe et XIIIe siècles, les écoles de Paris, l'université, étaient fréquentées par tous les hommes qui, non-seulement en France, mais en Europe, voulaient connaître la vraie science. L'enseignement des arts devait être au niveau de l'enseignement des lettres, de ce qu'on appelait la physique, c'est-à-dire les sciences, et de la théologie; l'Allemagne, l'Italie et la Provence, particulièrement, envoyaient leurs docteurs se perfectionner à Paris. Nous avons vu que les grands établissements religieux, dès la fin du XIe siècle, envoyaient leurs moines bâtir des monastères en Angleterre, en Italie, et jusqu'au fond de l'Allemagne. À la fin du XIIe siècle les corporations laïques du domaine royal commençaient à prendre la direction des arts sur toutes les provinces de France.
Mais avant d'aller plus loin, examinons rapidement quels étaient les éléments divers qui avaient, dans chaque contrée, donné à l'architecture un caractère local. De Marseille à Châlon, les vallées du Rhône et de la Saône avaient conservé un grand nombre d'édifices antiques à peu près intacts, et là, plus que partout ailleurs, les traditions romaines laissèrent des traces jusqu'au XIIe siècle. Les édifices des bords du Rhône rappellent pendant le cours des XIe et XIIe siècles l'architecture des bas temps, les églises du Thor, de Vénasques, de Pernes, le porche de Notre-Dame-des-Dons, à Avignon, ceux de Saint-Trophyme d'Arles et de Saint-Gilles reproduisent dans leurs détails, sinon dans l'ensemble de leurs dispositions modifiées en raison des besoins nouveaux, les fragments romains qui couvrent encore le sol de la Provence. Toutefois les relations fréquentes des villes du littoral avec l'Orient apportèrent dans l'ornementation, et aussi dans quelques données générales, des éléments byzantins. Les absides à pans coupés, les coupoles polygonales supportées par une suite d'arcs en encorbellements, les arcatures plates décorant les murs, les moulures peu saillantes et divisées en membres nombreux, les ornements déliés présentant souvent des combinaisons étrangères à la flore, des feuillages aigus et dentelés, sentaient leur origine orientale. Cette infusion étrangère se perd à mesure que l'on remonte le Rhône, ou du moins elle prend un autre caractère en venant se mêler à l'influence orientale partie des bords du Rhin. Celle-ci est autre, et voici pourquoi: sur les bords de la Méditerranée, les populations avaient des rapports directs et constants avec l'Orient. Au XIIe siècle elles subissaient l'influence des arts orientaux contemporains et non l'influence archéologique des arts antérieurs, de là cette finesse et cette recherche que l'on rencontre dans les édifices de Provence qui datent de cette époque; mais les arts byzantins, qui avaient laissé des traces sur les bords du Rhin, dataient de l'époque de Charlemagne; depuis lors les rapports de ces contrées avec l'Orient avaient cessé d'être directs. Ces deux architectures, dont l'une avait puisé autrefois, et dont l'autre puisait encore aux sources orientales, se rencontrent dans la Haute-Saône, sur le sol bourguignon et dans la Champagne; de là ces mélanges de style issus de l'architecture romaine du sol, de l'influence orientale sud contemporaine, et de l'influence orientale rhénane traditionnelle; de là des monuments tels que les églises de Tournus, des abbayes de Vézelay, de Cluny, de Charlieu. Et cependant, ces mélanges forment un tout harmonieux, car ces édifices étaient exécutés par des hommes nés sur le sol, n'ayant subi que des influences dont ils ne connaissaient pas l'origine, dirigés parfois, comme à Cluny, par des étrangers qui ne se préoccupaient pas assez des détails de l'exécution pour que la tradition locale ne conservât pas une large part dans le mode de bâtir et de décorer les monuments. L'influence orientale ne devait pas pénétrer sur le sol gallo-romain par ces deux voies seulement. En 984, une vaste église avait été fondée à Périgueux, reproduisant exactement dans son plan et ses dispositions un édifice bien connu, Saint-Marc de Venise, commencé peu d'années auparavant. L'église abbatiale de Saint-Front de Périgueux est une église à coupoles sur pendentifs, élevée certainement sous la direction d'un Français qui avait étudié Saint-Marc, ou sur les dessins d'un architecte vénitien, par des ouvriers gallo-romains, car si l'architecture du monument est vénitienne ou quasi-orientale, la construction et les détails de l'ornementation appartiennent à la décadence romaine et ne rappellent en aucune façon les sculptures ou le mode de bâtir appliqués à Saint-Marc de Venise. Cet édifice, malgré son étrangeté à l'époque où il fut élevé et sa complète dissemblance avec les édifices qui l'avaient précédé dans cette partie des Gaules, exerça une grande influence sur les constructions élevées pendant les XIe et XIIe siècles, au nord de la Garonne, et fait ressortir l'importance des écoles monastiques d'architecture jusqu'à la fin du XIIe siècle. Un de nos archéologues les plus distingués 25 explique cette transfusion de l'architecture orientale aux confins de l'Occident, par la présence de colonies vénitiennes établies alors à Limoges et sur la côte occidentale. Alors le passage du détroit de Gibraltar présentait les plus grands risques à cause des nombreux pirates arabes qui tenaient les côtes d'Espagne et d'Afrique, et tout le commerce du Levant avec les côtes du nord de la France et la Bretagne (l'Angleterre) se faisait par Marseille ou Narbonne, prenait la voie de terre par Limoges, pour reprendre la mer à la Rochelle ou à Nantes. Mais l'église abbatiale de Saint-Front de Périgueux se distingue autant par son plan, qui n'a pas d'analogue en France, que par sa disposition de coupoles à pendentifs (voy. ARCHITECTURE RELIGIEUSE). C'était bien là en effet une importation étrangère, importation qui s'étend fort loin de Périgueux, ce qui doit faire supposer que si l'église de Saint-Front exerça une influence sur l'architecture religieuse de la côte occidentale, cette église ne saurait cependant être considérée comme la mère de toutes les églises à coupoles bâties en France pendant le XIIe siècle. Il faut admettre que le commerce de transit du Levant importa dans le centre et l'ouest de la France des principes d'art étrangers, sur tous les points où il eut une certaine activité, et où probablement des entrepôts avaient été établis par l'incroyable activité vénitienne. Sur ces matières, les documents écrits contemporains sont tellement insuffisants ou laconiques, qu'il ne nous semble pas que l'on doive se baser uniquement sur des renseignements aussi incomplets, pour établir un système; mais si nous examinons les faits, et si nous en tirons les inductions les plus naturelles, nous arriverons peut-être à éclairer cette question si intéressante de l'introduction de la coupole à pendentifs dans l'architecture française des XIe et XIIe siècles.

À la fin du Xe siècle, la France était ainsi divisée (1), nous voyons dans sa partie moyenne une grande province, l'Aquitaine, Limoges en est le point central; elle est bordée au nord par le domaine royal et l'Anjou, qui suivent à peu près le cours de la Loire; à l'ouest et au sud-ouest, par l'Océan et le cours de la Garonne; au sud, par le comté de Toulouse; à l'est, par le Lyonnais et la Bourgogne. Or, c'est dans cette vaste province, et seulement dans cette province, que pendant le cours des XIe et XIIe siècles l'architecture française adopte la coupole à pendentifs, portée sur des arcs-doubleaux. Le recueil manuscrit des antiquités de Limoges, cité par M. de Verneilh 26, place l'arrivée des Vénitiens dans cette ville entre les années 988 et 989; en parlant de leur commerce, il contient ce passage: «Les vieux registes du pays nous rapportent que, antiennement, les Vénitiens traffiquans des marchandises d'Orient, ne pouvant passer leurs navires et gallères, descendans de l'Orient par la mer Méditerrannée dans l'Océan par le destroit de Gibraltar à cause de quelques rochers fesant empeschement audit destroit, pourquoy vindrent demeurer à Lymoges, auquel lieu establirent la Bourse de Venise, faisant apporter les espiceries et autres marchandises du Levant, descendre à aigues-Mortes, puis de là les faisoient conduire à Lymoges par mulets et voitures, p. de là, à la Rochelle, Bretagne, Angleterre, Escosse et Irlande; lesquels Vénitiens demeurèrent à Lymoges longuement et se tenoient près l'abbaye de Sainct-Martin, qu'ils réédiffièrent sur les vieilles ruynes faittes par les Danois (Normands)...» Si les Vénitiens n'eussent été s'installer en Aquitaine que pour établir un entrepôt destiné à alimenter le commerce de la «Bretagne, de l'Écosse et de l'Irlande,» ils n'auraient pas pris Limoges comme lieu d'approvisionnement, mais quelque ville du littoral; ce comptoir établi à Limoges, au centre de l'Aquitaine, indique, il nous semble, le besoin manifeste de fournir d'épiceries, de riches étoffes, de denrées levantines, toutes les provinces de France aussi bien que les contrées d'outre-mer. À une époque où l'art de l'architecture était encore à chercher la route qu'il allait suivre, où l'on essayait de remplacer, dans les édifices religieux, les charpentes destructibles par des voûtes en pierre (voy. CONSTRUCTION), où les constructeurs ne connaissaient que la voûte en berceau, applicable seulement à de petits monuments, il n'est pas surprenant que de riches commerçants étrangers aient vanté les édifices de leur pays natal, qu'ils aient offert d'en faire venir des dessins, ou d'envoyer des moines architectes d'Aquitaine visiter et étudier les églises de Venise et des bords de l'Adriatique. La coupole pouvait ainsi s'introduire dans le centre de la France par cent voies différentes; chaque architecte qui recevait un dessin étranger, ou qui allait visiter les églises de l'Adriatique, interprétait à sa guise, et avec plus ou moins d'intelligence, les renseignements qu'on lui envoyait, ou ceux qu'il avait pu prendre sur place. Il y aurait donc exagération, nous le pensons, à considérer Saint-Front de Périgueux comme le type, l'église mère de tous les monuments à coupole de France. Si Saint-Front est une copie du plan et de la disposition générale de Saint-Marc de Venise, ce n'est pas à dire que cette église abbatiale soit la source unique à laquelle on ait puisé pour faire des églises à coupoles dans toute l'Aquitaine pendant le cours des XIe et XIIe siècles; Saint-Front a pu être l'origine des églises à coupoles du Périgord et de l'Angoumois, mais nous croyons que les coupoles des églises d'Auvergne, celles de la cathédrale du Puy, par exemple, ont reçu leur influence directe de l'Orient, ou plutôt de l'Adriatique, par l'intermédiaire du commerce vénitien 27.
Quoi qu'il en soit, et prenant le fait tel qu'il se produit dans les monuments de l'Aquitaine pendant les XIe et XIIe siècles, il a une importance considérable dans l'histoire de l'architecture française; ses conséquences se font sentir jusque pendant le XIIIe siècle dans cette province et au-delà (voy. ARCHITECTURE RELIGIEUSE, CONSTRUCTION). Les cathédrales de Poitiers, d'Angers, et du Mans même, conservent dans la manière de construire les voûtes des grandes nefs, une dernière trace de la coupole.
Au nord-ouest de la France, les monuments qui existaient avant l'invasion des Normands ne nous sont pas connus, les incursions des Danois ne laissaient rien debout derrière elles; mais bientôt établis sur le sol, ces barbares deviennent de hardis et actifs constructeurs. Dans l'espace d'un siècle et demi, ils couvrent le pays sur lequel ils ont définitivement pris terre, d'édifices religieux, monastiques ou civils, d'une étendue et d'une richesse peu communes alors. Il est difficile de supposer que les Normands aient apporté de Norvège des éléments d'art; mais ils étaient possédés d'un esprit persistant, pénétrant; leur force brutale ne manquait pas de grandeur. Conquérants, ils élèvent des châteaux pour assurer leur domination, ils reconnaissent bientôt la force morale du clergé, et ils le dotent richement. Pressés d'ailleurs d'atteindre le but, lorsqu'ils l'ont entrevu, ils ne laissent aucune de leurs entreprises inachevées, et en cela ils différaient complètement des peuples méridionaux de la Gaule; tenaces, ils étaient les seuls peut-être parmi les barbares établis en France, qui eussent des idées d'ordre, les seuls qui sussent conserver leurs conquêtes, et composer un État. Ils durent trouver les restes des arts carlovingiens sur le territoire où ils s'implantèrent, ils y mêlèrent leur génie national, positif, grand, quelque peu sauvage, et délié cependant.
Ces peuples ayant de fréquents rapports avec le Maine, l'Anjou, le Poitou et toute la côte occidentale de la France, le goût byzantin agit aussi sur l'architecture normande. Mais au lieu de s'attaquer à la construction, comme dans le Périgord ou l'Angoumois, il influe sur la décoration. Ne perdons point de vue ces entrepôts d'objets ou de denrées du Levant placés au centre de la France. Les Vénitiens n'apportaient pas seulement en France du poivre et de la cannelle, mais aussi des étoffes de soie et d'or chargées de riches ornements, de rinceaux, d'animaux bizarres, étoffes qui se fabriquaient alors en Syrie, à Bagdad, en Égypte, sur les côtes de l'Asie Mineure, à Constantinople, en Sicile et en Espagne. Ces étoffes, d'origine orientale, que l'on retrouve dans presque tous les tombeaux du XIIe siècle ou sur les peintures, étaient fort en vogue à cette époque; le haut clergé particulièrement les employait dans les vêtements sacerdotaux, pour les rideaux ou les parements d'autel (voy. AUTEL), pour couvrir les châsses des saints. Les tapis sarrazinois, comme on les appelait alors, et qui étaient fabriqués en Perse, se plaçaient dans les églises ou dans les palais des riches seigneurs. Les premières croisades, et les conquêtes des Normands en Sicile et en Orient, ne firent que répandre davantage en France et en Normandie principalement, le goût de ces admirables tissus si brillants et harmonieux de couleur, d'un dessin si pur et si gracieux. L'architecture de la Saintonge, du Poitou, de l'Anjou, du Maine, et surtout de la Normandie, s'empara de ces dessins et de ce mode de coloration. Partout où des monuments romains d'une certaine richesse d'ornementation existaient encore dans l'ouest, l'influence de ces tissus sur l'architecture est peu sensible; ainsi à Périgueux, par exemple, dans l'antique Vésone remplie de débris romains, comme nous l'avons dit déjà, si la forme des édifices religieux est empruntée à l'Orient, la décoration reste romaine; mais dans les contrées, comme la Normandie, où les fragments de sculpture romaine n'avaient pas laissé de traces, la décoration des monuments des XIe et XIIe siècles rappelle ces riches galons, ces rinceaux habilement agencés que l'on retrouve sur les étoffes du Levant (voy. ORNEMENT), tandis que la forme générale de l'architecture conserve les traditions gallo-romaines. L'influence byzantine, comme on est convenu de l'appeler, s'exerçait donc très-différemment sur les provinces renfermées dans la France de cette époque. L'art de la statuaire appliqué à l'architecture se développait, à la fin du XIe siècle, en raison des mêmes causes. En Provence, tout le long du Rhône et de la Saône, en Bourgogne, en Champagne, dans le comté de Toulouse, à l'embouchure de la Gironde, dans l'Angoumois, la Saintonge et le Poitou, partout enfin où des monuments romains avaient laissé de riches débris, il se formait des écoles de statuaires; mais l'architecture de Normandie, du nord et du Rhin était alors aussi pauvre en statuaire qu'elle était riche en combinaisons d'ornements d'origine orientale.
Pendant le XIIe siècle le domaine royal, bien que réduit à un territoire fort exigu, était resté presque étranger à ces influences, ou plutôt il les avait subies toutes à un faible degré, en conservant plus qu'aucune autre contrée de la France, la tradition gallo-romaine pure. À la fin du XIe siècle et au commencement du XIIe, sous le règne de Philippe Auguste, le domaine royal, en s'étendant, repousse ce qu'il pouvait y avoir d'excessif dans ces éléments étrangers; il choisit, pour ainsi dire, parmi tous ces éléments, ceux qui conviennent le mieux à ses goûts, à ses habitudes, et il forme un art national comme il fonde un gouvernement national.
Il manquait à l'architecture romane 28 un centre, une unité d'influence pour qu'elle pût devenir l'art d'une nation; enseignée et pratiquée, comme nous l'avons dit, par les établissements religieux, elle était soumise à leurs règles particulières, règles qui n'avaient d'autre lien entre elles que la papauté ne pouvant exercer aucune action matérielle sur les formes de l'art. Cette architecture en était réduite ou à rester stationnaire, ou à prendre ses éléments de progrès de tous côtés, suivant les caprices ou les goûts des abbés. Mais quand l'unité du pouvoir monarchique commença de s'établir, cette unité, secondée par des artistes laïques faisant partie de corporations reconnues, dut, par la force naturelle des choses, former un centre d'art qui allait rayonner de tous côtés en même temps que son action politique. Ce résultat est apparent dès le commencement du XIIIe siècle. On voit peu à peu l'architecture romane s'éteindre, s'atrophier sous l'architecture inaugurée par les artistes laïques; elle recule devant ses progrès, se conserve quelque temps indécise dans les établissements monastiques, dans les provinces où l'action du pouvoir monarchique ne se fait pas encore sentir, jusqu'au moment où une nouvelle conquête de la monarchie dans ces provinces en détruit brusquement les derniers vestiges, en venant planter tout à coup et sans aucune transition un monument sorti du domaine royal, comme on plante un étendard au milieu d'une cité gagnée.
À partir du XIIIe siècle l'architecture suit pas à pas les progrès du pouvoir royal, elle l'accompagne, elle semble faire partie de ses prérogatives; elle se développe avec énergie là où ce pouvoir est fort, incontesté; elle est mélangée et ses formes sont incertaines là où ce pouvoir est faible et contesté.
C'est pendant les dernières années du XIIe siècle et au commencement du XIIIe que toutes les grandes cathédrales du domaine royal sont fondées et presque entièrement terminées sur des plans nouveaux. Notre-Dame de Paris, Notre-Dame de Chartres, les cathédrales de Bourges, de Laon, de Soissons, de Meaux, de Noyon, d'Amiens, de Rouen, de Cambrai, d'Arras, de Tours, de Séez, de Coutances, de Bayeux, sont commencées sous le règne de Philippe Auguste pour être achevées presque toutes à la fin du XIIIe siècle. La Champagne si bien liée, politiquement parlant, au domaine royal sous saint Louis, élève de son côté les grandes cathédrales de Reims, de Châlons, de Troyes. La Bourgogne et le Bourbonnais suivent la nouvelle direction imprimée à l'architecture, et bâtissent les cathédrales d'Auxerre, de Nevers, de Lyon. Bientôt la vicomté de Carcassonne fait partie du domaine royal, et reçoit seule l'influence directe de l'architecture officielle au milieu de contrées qui continuent jusqu'au XVe siècle les traditions romanes abâtardies. Quant à la Guyenne, qui reste apanage de la couronne d'Angleterre jusque sous Charles V, quant à la Provence, qui ne devient française que sous Louis XI, l'architecture du domaine royal n'y pénètre pas, ou du moins elle n'y produit que de tristes imitations qui semblent dépaysées au milieu de ces contrées. En Bretagne elle ne se développe que tardivement, et conserve toujours un caractère qui tient autant à l'Angleterre qu'à la Normandie et au Maine. Nous donnons ici (fig. 2) les divisions de la France à la mort de Philippe Auguste, en 1223.

Cemouvement est suivi partout, dans les constructions qui s'élèvent dans les villes, les bourgs et les simples villages; les établissements monastiques sont entraînés bientôt dans le courant creusé par le nouvel art. Autour des monuments importants tels que les cathédrales, les évêchés, les palais, les châteaux, il s'élève des milliers d'édifices auxquels les grandes et riches constructions servent de types, comme des enfants d'une même famille. Le monument mère renferme-t-il des dispositions particulières commandées quelquefois par une configuration exceptionnelle du sol, par un besoin local, ou par le goût de l'artiste qui l'a élevé, ces mêmes dispositions se retrouvent dans les édifices secondaires, bien qu'elles ne soient pas indiquées par la nécessité. Un accident pendant la construction, un repentir, l'insuffisance des ressources, ont apporté des modifications dans le projet type, les imitations vont parfois jusqu'à reproduire ces défauts, ces erreurs, ou les pauvretés résultant de cette pénurie.
Ce qu'il y a de plus frappant dans le nouveau système d'architecture adopté dès la fin du XIIe siècle, c'est qu'il s'affranchit complétement des traditions romaines. Il ne faut pas croire que de cet affranchissement résulte le désordre ou le caprice; au contraire tout est ordonné, logique, harmonieux; une fois ce principe posé, les conséquences s'ensuivent avec une rigueur qui n'admet pas les exceptions. Les défauts mêmes de cette architecture dérivent de son principe impérieusement poursuivi. Dans l'architecture française, qui naît avec le XIIIe siècle, les dispositions, la construction, la statique, l'ornementation, l'échelle diffèrent absolument des dispositions, de la construction, de la statique, de l'ornementation, et de l'échelle suivies dans l'architecture antique. En étudiant ces deux arts, il faut se placer à deux points de vue opposés; si l'on veut juger l'un en se basant sur les principes qui ont dirigé l'autre, on les trouvera tous deux absurdes. C'est ce qui explique les étranges préventions, les erreurs et les contradictions dont fourmillent les critiques appartenant aux deux camps opposés des défenseurs des arts antique et gothique. Ces deux arts n'ont besoin d'être défendus ni l'un ni l'autre, ils sont tous deux la conséquence de deux civilisations partant de principes différents. On peut préférer la civilisation romaine à la civilisation née avec la monarchie française, on ne peut les mettre à néant ni l'une ni l'autre; il nous semble inutile de les comparer, mais on trouvera profit à les étudier.
Le monument romain est une sorte de moulage sur forme qui exige l'emploi très-rapide d'une masse énorme de matériaux; par conséquent un personnel immense d'ouvriers, des moyens d'exploitation et de transport établis sur une très-vaste échelle. Les Romains, qui avaient à leur disposition des armées habituées aux travaux publics, qui pouvaient jeter une population d'esclaves barbares sur une construction, avaient adopté le mode qui convenait le mieux à cet état social. Pour élever un de ces grands édifices alors, il n'était pas besoin d'ouvriers très-expérimentés; quelques hommes spéciaux pour diriger la construction, des peintres, des stucateurs pour revêtir ces masses de maçonnerie d'une riche enveloppe, quelques artistes grecs pour sculpter les marbres employés, et derrière ces hommes intelligents, des bras pour casser des cailloux, monter de la brique, corroyer du mortier ou pilonner du bâton. Aussi quelque éloigné que fût de la métropole le lieu où les Romains élevaient un cirque, des thermes, des aqueducs, des basiliques ou des palais, les mêmes procédés de construction étaient employés, la même forme d'architecture adoptée: le monument romain est romain partout, en dépit du sol, du climat, des matériaux même, et des usages locaux. C'est toujours le monument de la ville de Rome, jamais l'oeuvre d'un artiste. Du moment que Rome met le pied quelque part elle domine seule, en effaçant tout ce qui lui est étranger; c'est là sa force, et ses arts suivent l'impulsion donnée par sa politique. Lorsqu'elle s'empare d'un territoire, elle n'enlève au peuple conquis ni ses dieux ni ses coutumes locales, mais elle plante ses temples, elle bâtit ses immenses édifices publics, elle établit son administration politique, et bientôt l'importance de ses établissements, son organisation administrative absorbent les derniers vestiges des civilisations sur lesquelles elle projette sa grande ombre. Certes il y a là un beau sujet d'études et d'observations, mais au milieu de cette puissance inouïe, l'homme disparaît, il n'est plus qu'un des rouages infimes de la grande machine politique. La Grèce elle-même, ce foyer si éclatant des arts et de tout ce qui tient au développement de l'esprit humain, la Grèce s'éteint sous le souffle de Rome. Le christianisme seul pouvait lutter contre le géant, en rendant à l'homme isolé le sentiment de sa personnalité. Mais il faut des siècles pour que les restes de la civilisation païenne disparaissent. Nous n'avons pu envisager qu'une des parties de ce grand travail humain du moyen âge; à la fin du XIIe siècle, tous ces principes qui devaient assurer le triomphe des idées enfantées par le christianisme sont posés (pour ne parler que du sujet qui nous occupe), le principe de la responsabilité personnelle apparaît; l'homme compte pour quelque chose dans la société quelle que soit la classe à laquelle il appartienne. Les arts, en se dépouillant alors complétement de la tradition antique, deviennent l'expression individuelle de l'artiste qui concourt à l'oeuvre générale sans en troubler, l'ordonnance, mais en y attachant son inspiration particulière; il y a unité et variété à la fois. Les corporations devaient amener ce résultat, car si elles établissaient, dans leur organisation des règles fixes, elles n'imposaient pas, comme les académies modernes, des formes immuables. D'ailleurs l'unité est le grand besoin et la tendance de cette époque; mais elle n'est pas encore tyrannique, et si elle oblige le sculpteur ou le peintre à se renfermer dans certaines données monumentales, elle leur laisse à chacune une grande liberté dans l'exécution. L'architecte donnait la hauteur d'un chapiteau, d'une frise, imposait leur ordonnance, mais le sculpteur pouvait faire de ce chapiteau ou de ce morceau de frise son oeuvre propre, il se mouvait dans sa sphère en prenant la responsabilité de son oeuvre. L'architecture elle-même des XIIe et XIIIe siècles, tout en étant soumise à un mode uniforme, en se basant sur des principes absolus, conserve la plus grande liberté dans l'application de ces principes; les nombreux exemples donnés dans ce Dictionnaire démontrent ce que nous avançons ici. Avec l'invasion laïque dans le domaine des arts, commence une ère de progrès si rapides qu'on a peine à en suivre la trace; un monument n'est pas plutôt élevé qu'il sert d'échelon, pour ainsi dire, à celui qui se fonde; un nouveau mode de construction ou de décoration n'est pas plutôt essayé qu'on le pousse, avec une rigueur logique incroyable, à ses dernières limites.
Dans l'histoire des arts il faut distinguer deux éléments: la nécessité et le goût. À la fin du XIIe siècle presque tous les monuments romans, religieux, civils ou militaires, ne pouvaient plus satisfaire aux besoins nouveaux, particulièrement dans le domaine royal. Les églises romanes étroites, encombrées par ces piliers massifs, sans espaces, ne pouvaient convenir aux nombreuses réunions de fidèles, dans des villes dont la population et la richesse s'accroissaient rapidement; elles étaient tristes et sombres, grossières d'aspect, et n'étaient plus en harmonie avec des moeurs et une civilisation avancées déjà; les maisons, les châteaux présentaient les mêmes inconvénients d'une façon plus choquante encore, puisque la vie habituelle ne pouvait s'accommoder de demeures dans lesquelles aucun des besoins nouveaux n'était satisfait. Quant à l'architecture militaire, les perfectionnements apportés dans les moyens d'attaque exigeaient l'emploi de dispositions défensives en rapport avec ces progrès (voy. ARCHITECTURE RELIGIEUSE, CIVILE, MILITAIRE).
Il fallait élever des églises plus vastes, dans lesquelles les points d'appui intérieurs devaient prendre le moins de terrain possible, les aérer, les éclairer, les rendre plus faciles d'accès, mieux closes, plus saines et plus propres à contenir la foule. Dans presque toutes les provinces du nord, les églises romanes étaient combinées, comme construction, de façon à ne pouvoir durer (voy. CONSTRUCTION); elles s'écroulaient ou menaçaient ruine partout, force était de les rebâtir. Il fallait élever des palais ou des châteaux pour un personnel plus nombreux, car la féodalité suivait partout le mouvement imprimé par la monarchie; et si le roi prenait une plus grande part d'autorité sur ses grands vassaux, ceux-ci absorbaient les petits fiefs, centralisaient chaque jour le pouvoir chez eux, comme le roi le centralisait autour de lui. Il fallait à ces bourgeois nouvellement affranchis, à ces corporations naissantes, des lieux de réunion, des hôtels de ville; des bourses, ou parloirs comme on les appelait alors, des chambres pour les corps d'état, des maisons en rapport avec des moeurs plus policées et des besoins plus nombreux. Il fallait enfin à ces villes affranchies, des murailles extérieures, car elles comprenaient parfaitement qu'une conquête, pour être durable, doit être toujours prête à se défendre. Là était la nécessité de reconstruire tous les édifices d'après un mode en harmonie avec un état social nouveau. Il ne faut pas oublier non plus que le sol était couvert de ruines; les luttes féodales, les invasions des Normands, l'établissement des communes qui ne s'était pas fait sans de grands déchirements ni sans excès populaires, l'ignorance des constructeurs qui avaient élevé ces édifices peu durables, laissaient tout à fonder. À côté de cette impérieuse nécessité que l'histoire de cette époque explique suffisamment, naissait un goût nouveau au milieu de cette population gallo-romaine reprenant son rang de nation; nous avons essayé d'indiquer les sources diverses où ce goût avait été chercher ses inspirations, mais avant tout il tenait au génie du peuple qui occupait les bassins de la Seine, de la Loire et de la Somme. Ces peuples doués d'un esprit souple, novateur, prompt à saisir le côté pratique des choses, actif, mobile, raisonneur, dirigés plutôt par le bon sens que par l'imagination, semblaient destinés par la Providence à briser les dernières entraves de la barbarie dans les Gaules, non par des voies brusques, et par la force matérielle, mais par un travail intellectuel qui fermentait depuis le XIe siècle. Protégés par le pouvoir royal, ils l'entourent d'une auréole qui ne cesse de briller d'un vif éclat jusqu'après l'époque de la Renaissance. Aucun peuple, si ce n'est les Athéniens peut-être, ne fit plus facilement litière des traditions; c'est en même temps son défaut et sa qualité: toujours désireux de trouver mieux, sans s'arrêter jamais, il progresse aussi rapidement dans le bien que dans le mal, il s'attache à une idée avec passion; et quand il l'a poursuivie dans ses derniers retranchements, quand il l'a mise à nu par l'analyse, quand elle commence à germer au milieu des peuples ses voisins, il la dédaigne pour en poursuivre une autre avec le même entraînement, abandonnant la première comme un corps usé, vieilli, comme un cadavre dont il ne peut plus rien tirer. Ce caractère est resté le nôtre encore aujourd'hui, il a de notre temps produit de belles et de misérables choses; c'est enfin ce qu'on appelle la mode depuis bientôt trois cents ans, qui s'attache aux futilités de la vie, comme aux principes sociaux les plus graves, qui est ridicule ou terrible, gracieuse ou pleine de grandeur.
On doit tenir compte de ce caractère particulier à une portion de la France, si l'on veut expliquer et comprendre le grand mouvement des arts à la fin du XIIe siècle; nous ne faisons que l'indiquer ici, puisque nous reviendrons sur chacune des divisions de l'architecture en analysant les formes que ces divisions ont adoptées. Il n'est pas besoin de dire que ce mouvement fut contenu tant que l'architecture théorique ou pratique resta entre les mains des établissements religieux; tout devait alors, contribuer à l'arrêter: les traditions forcément suivies, la rigueur de la vie claustrale, les réformes tentées et obtenues au sein du clergé pendant le XIe siècle et une partie du XIIe. Mais quand l'architecture eut passé des mains des clercs aux mains des laïques, le génie national ne tarda pas à prendre le dessus, pressé de se dégager de l'enveloppe romane, dans laquelle il se trouvait mal à l'aise, il l'étendit jusqu'à la faire éclater; une de ses premières tentatives fut la construction des voûtes. Profitant des résultats assez confus obtenus jusqu'alors, poursuivant son but avec cette logique rigoureuse qui faisait à cette époque la base de tout travail intellectuel, il posa ce principe, déjà développé dans le mot ARC-BOUTANT, que les voûtes agissant suivant des poussées obliques, il fallait, pour les maintenir, des résistances obliques (voy. CONSTRUCTION, VOÛTE). Déjà dès le milieu du XIIe siècle les constructeurs avaient reconnu que l'arc plein cintre avait une force de poussée trop considérable pour pouvoir être élevé à une grande hauteur sur des murs minces ou des piles isolées, surtout dans de larges vaisseaux, à moins d'être maintenu par des culées énormes; ils remplacèrent l'arc plein ceintre par l'arc en tiers-points (voy. ARC), conservant seulement l'arc plein cintre pour les fenêtres et les portées de peu de largeur; ils renoncèrent complétement à la voûte en berceau dont la poussée continue devait être maintenue par une buttée continue. Réduisant les points résistants de leurs constructions à des piles, ils s'ingénièrent à faire tomber tout le poids et la poussée de leurs voûtes sur ces piles, n'ayant plus alors qu'à les maintenir par des arcs-boutants indépendants et reportant toutes les pesanteurs en dehors des grands édifices. Pour donner plus d'assiette à ces piles ou contre-forts isolés, ils les chargèrent d'un supplément de poids dont ils firent bientôt un des motifs les plus riches de décoration (voy. PINACLE). Évidant de plus en plus leurs édifices, et reconnaissant à l'arc en tiers-point une grande force de résistance en même temps qu'une faible action d'écartement, ils l'appliquèrent partout, en abandonnant l'arc plein cintre, même dans l'architecture civile.
Dès le commencement du XIIIe siècle, l'architecture se développe d'après une méthode complétement nouvelle, dont toutes les parties se déduisent les unes des autres avec une rigueur impérieuse. Or c'est par le changement de méthode que commencent les révolutions dans les sciences et les arts. La construction commande la forme; les piles destinées à porter plusieurs arcs se divisent en autant de colonnes qu'il y a d'arcs, ces colonnes sont d'un diamètre plus ou moins fort, suivant la charge qui doit peser sur elles, s'élevant chacune de leur côté jusqu'aux voûtes qu'elles doivent soutenir, leurs chapiteaux prennent une importance proportionnée à cette charge. Les arcs sont minces ou larges, composés d'un ou de plusieurs rangs de claveaux, en raison de leur fonction (voy. ARC, CONSTRUCTION). Les murs devenus inutiles disparaissent complétement dans les grands édifices et sont remplacés par des claires-voies, décorées de vitraux colorés. Toute nécessité est un motif de décoration: les combles, l'écoulement des eaux, l'introduction de la lumière du jour, les moyens d'accès et de circulation aux différents étages des bâtiments, jusqu'aux menus objets tels que les ferrures, la plomberie, les scellements, les supports, les moyens de chauffage, d'aération, non-seulement ne sont point dissimulés, comme on le fait si souvent depuis le XVIe siècle dans nos édifices, mais sont au contraire franchement accusés, et contribuent par leur ingénieuse combinaison et le goût qui préside toujours à leur exécution, à la richesse de l'architecture. Dans un bel édifice du commencement du XIIIe siècle si splendide qu'on le suppose, il n'y a pas un ornement à enlever, car chaque ornement n'est que la conséquence d'un besoin rempli. Si l'on va chercher les imitations de ces édifices faites hors de France, on n'y trouve qu'étrangeté; ces imitations ne s'attachant qu'aux formes sans deviner leur raison d'être. Ceci explique comme quoi, par suite de l'habitude que nous avons chez nous de vouloir aller chercher notre bien au loin, (comme si la distance lui donnait plus de prix), les critiques qui se sont le plus élevés contre l'architecture dite gothique avaient presque toujours en vue des édifices tels que les cathédrales de Milan, de Sienne, de Florence, certaines églises de l'Allemagne, mais n'avaient jamais songé à faire vingt lieues pour aller sérieusement examiner la structure des cathédrales d'Amiens, de Chartres ou de Reims. Il ne faut pas aller étudier ou juger l'architecture française de cette époque là où elle a été importée, il faut la voir et la juger sur le sol qui l'a vue naître, au milieu des divers éléments matériels ou moraux dont elle s'est nourrie; elle est d'ailleurs si intimement liée à notre histoire, aux conquêtes intellectuelles de notre pays, à notre caractère national dont elle reproduit les traits principaux, les tendances et la direction, qu'on a peine à comprendre comment il se fait qu'elle ne soit pas mieux connue et mieux appréciée, qu'on ne peut concevoir comment l'étude n'en est pas prescrite dans nos écoles comme l'enseignement de notre histoire.
C'est précisément au moment où les recherches sur les lettres, les sciences, la philosophie et la législation antiques sont poursuivies avec ardeur, pendant ce XIIe siècle, que l'architecture abandonne les derniers restes de la tradition antique pour fonder un art nouveau dont le principe est en opposition manifeste avec le principe des arts de l'antiquité. Faut-il conclure de là que les hommes du XIIe siècle n'étaient pas conséquents avec eux-mêmes? Tout au contraire; mais ce qui distingue la renaissance du XIIe siècle de la renaissance du XVIe, c'est que la première se pénétrait de l'esprit antique, tandis que la seconde se laissait séduire par la forme. Les dialecticiens du XIIe siècle, en étudiant les auteurs païens, les Pères et les Écritures, voyaient les choses et les hommes de leur temps avec les yeux de leur temps, comme l'eût pu faire Aristote, s'il eût vécu au XIIe siècle, et la forme que l'on donnait alors aux choses d'art était déduite des besoins ou des idées du moment. Prenons un exemple bien frappant, fondamental en architecture, l'échelle. Tout le monde sait que les ordres de l'architecture des Grecs et des Romains pouvaient être considérés comme des unités typiques que l'on employait dans les édifices en augmentant ou diminuant leurs dimensions et conservant leurs proportions, selon que ces édifices étaient plus ou moins grands d'échelle. Ainsi le Parthénon et le temple de Thésée à Athènes sont d'une dimension fort différente, et l'ordre dorique appliqué à ces deux monuments est à peu près identique comme proportion; pour nous faire mieux comprendre, nous dirons que l'ordre dorique du Parthénon est l'ordre dorique du temple de Thesée vu à travers un verre grossissant. Rien dans les ordres antiques, grecs ou romains, ne rappelle une échelle unique, et cependant il y a pour les monuments une échelle invariable, impérieuse dirons-nous, c'est l'homme. La dimension de l'homme ne change pas, que le monument soit grand ou petit. Aussi, donnez le dessin géométral d'un temple antique en négligeant de coter les dimensions ou de tracer une échelle, il sera impossible de dire si les colonnes de ce temple ont quatre, cinq ou dix mètres de hauteur, tandis que pour l'architecture dite gothique il n'en est pas ainsi, l'échelle humaine se retrouve partout indépendamment de la dimension des édifices. Entrez dans la cathédrale de Reims ou dans une église de village de la même époque, vous retrouverez les mêmes hauteurs, les mêmes profils de bases; les colonnes s'allongent ou se raccourcissent, mais elles conservent le même diamètre, les moulures se multiplient dans un grand édifice, mais elles sont de la même dimension que celles du petit; les balustrades, les appuis, les socles, les bancs, les galeries, les frises, les bas-reliefs, tous les détails de l'architecture qui entrent dans l'ordonnance des édifices, rappellent toujours l'échelle type, la dimension de l'homme. L'homme apparaît dans tout; le monument est fait pour lui et par lui, c'est son vêtement, et quelque vaste et riche qu'il soit, il est toujours à sa taille. Aussi les monuments du moyen âge paraissent-ils plus grands qu'ils ne le sont réellement, parce que, même en l'absence de l'homme, l'échelle humaine est rappelée partout, parce que l'oeil est continuellement forcé de comparer les dimensions de l'ensemble avec le module humain. L'impression contraire est produite par les monuments antiques, on ne se rend compte de leur dimension qu'après avoir fait un raisonnement, que lorsqu'on a placé près d'eux un homme comme point de comparaison, et encore est-ce plutôt l'homme qui paraît petit, et non le monument qui semble grand. Que ce soit une qualité ou un défaut, nous ne discuterons pas ce point, nous ne faisons que constater le fait qui est de la plus haute importance, car il creuse un abîme entre les méthodes des arts antiques et du moyen âge.
Nous ne dirons pas que l'art né à la fin du XIIe siècle sur une portion du sol de la France est l'art chrétien par excellence; Saint-Pierre de Rome, Sainte-Sophie de Constantinople, Saint-Paul hors-les-murs, Saint-Marc de Venise, nos églises romanes de l'Auvergne et du Poitou, sont des monuments chrétiens, puisqu'ils sont bâtis par des chrétiens pour l'usage du culte. Le christianisme est sublime dans les catacombes, dans les déserts, comme à Saint-Pierre de Rome ou dans la cathédrale de Chartres. Mais nous demanderons: sans le christianisme les monuments du nord de la France auraient-ils pu être élevés? Évidemment non. Ce grand principe de l'unité d'échelle dont nous venons d'entretenir nos lecteurs, n'est-il pas un symbole saisissant de l'esprit chrétien? Placer ainsi l'homme en rapport avec Dieu, même dans les temples les plus vastes et les plus magnifiques par la comparaison continuelle de sa petitesse avec la grandeur du monument religieux, n'est-ce pas là une idée chrétienne? celle qui frappe le plus les populations? N'est-ce pas l'application rigoureusement suivie de cette méthode dans nos monuments qui inspire toujours ce sentiment indéfinissable de respect en face des grandes églises gothiques? Que les architectes des XIIe et XIIIe siècles aient fait l'application de ce principe d'instinct ou par le raisonnement, toujours est-il qu'il préside à toutes les constructions religieuses, civiles ou militaires jusqu'à l'époque de la Renaissance antique. Les architectes de l'époque ogivale étaient aussi conséquents dans l'emploi des formes nouvelles que l'étaient les architectes grecs dans l'application de leur système de proportion des ordres, indépendamment des dimensions. Chez ceux-ci l'architecture était un art abstrait; l'art grec est un, et il commande plutôt qu'il n'obéit; il commande aux matériaux et aux hommes; c'est le fatum antique; tandis que les architectes occidentaux du moyen âge étaient soumis à la loi chrétienne, qui, reconnaissant la souveraine puissance divine, laisse à l'homme son libre arbitre, la responsabilité de ses propres oeuvres, et le compte, quelque infime qu'il soit, pour une créature faite à l'image du Créateur.
Si nous suivons les conséquences logiques de ce principe issu des idées chrétiennes, nous voyons encore les formes de l'architecture se soumettre aux matériaux, les employer dans chaque localité tels que la nature les fournit. Les matériaux sont-ils petits, les membres de l'architecture prennent une médiocre importance (voy. CONSTRUCTION); sont-ils grands, les profils, les ornements, les détails sont plus larges; sont-ils fins, faciles à travailler, l'architecture en profite en refouillant sa décoration, en la rendant plus déliée; sont-ils grossiers et durs, elle la simplifie. Tout dans l'architecture ogivale prend sa place et conserve sa qualité, chaque homme et chaque objet comptent pour ce qu'ils sont, comme dans la création chaque chose a son rôle tracé par la main divine. Et comme s'il semblait que cet art ne dût pas cesser d'être méthodique jusque dans sa parure, nous le voyons, dès son origine, abandonner tous les ornements laissés par les traditions romano-byzantines pour revêtir ses frises, ses corniches, ses gorges, ses chapiteaux, ses voussures des fleurs et feuilles empruntées aux forêts et aux champs du nord de la France. Chose merveilleuse! l'imitation des végétaux semble elle-même suivre un ordre conforme à celui de la nature, les exemples sont là qui parlent d'eux-mêmes. Les bourgeons sont les premiers phénomènes sensibles de la végétation, les bourgeons donnent naissance à des scions ou jeunes branches chargées de feuilles ou de fleurs. Eh bien, lorsque l'architecture française à la fin du XIIe siècle s'empare de la flore comme moyen de décoration, elle commence par l'imitation des cotylédons, des bourgeons, des scions, pour arriver bientôt à la reproduction des tiges et des feuilles développées (voir les preuves dans le mot FLORE). Il va sans dire que cette méthode synthétique est, à plus forte raison, suivie dans la statique, dans tous les moyens employés par l'architecture pour résister aux agents destructeurs. Ainsi la forme pyramidale est adoptée comme la plus stable, les plans horizontaux sont exclus comme arrêtant les eaux pluviales, et sont remplacés, sans exception, par des plans fortement inclinés. À côté de ces données générales d'ensemble, si nous examinons les détails, nous restons frappés de l'organisation intérieure de ces édifices. De même que le corps humain porte sur le sol et se meut au moyen de deux points d'appui simples, grêles, occupant le moins d'espace possible, se complique et se développe à mesure qu'il doit contenir un grand nombre d'organes importants, de même l'édifice gothique pose ses points d'appui d'après les données les plus simples, sorte de quillage dont la stabilité n'est maintenue que par la combinaison et les développements des parties supérieures. L'édifice gothique ne reste debout qu'à la condition d'être complet; on ne peut retrancher un de ses organes sous peine de le voir périr, car il n'acquiert de stabilité que par les lois de l'équilibre. C'est là du reste un des reproches qu'on adresse le plus volontiers à cette architecture, non sans quelque apparence de raison. Mais ne pourrait-on alors reprocher aussi à l'homme la perfection de son organisation et le regarder comme une créature inférieure aux reptiles par exemple, parce qu'il est plus sensible que ceux-ci aux agents extérieurs, et plus fragile?... Dans l'architecture gothique, la matière est soumise à l'idée, elle n'est qu'une des conséquences de l'esprit moderne, qui dérive lui-même du christianisme.
Toutefois le principe qui dirigeait cette architecture, par cela même qu'il était basé sur le raisonnement humain, ne pouvait s'arrêter à une forme; du moment que l'architecture s'était identifiée aux idées d'une époque et d'une population, elle ne pouvait manquer de se modifier en même temps que ces idées. Pendant le règne de Philippe Auguste on s'aperçoit que l'art de l'architecture progresse dans la voie nouvelle sous l'influence d'hommes réunis par une communauté de principes, mais conservant encore leur physionomie et leur originalité personnelles. Les uns encore attachés aux traditions romanes, plus timides, n'appliquent qu'avec réserve la méthode synthétique, d'autres plus hardis l'adoptent résolûment; c'est pourquoi on trouve dans certains édifices bâtis simultanément à la fin du XIIe et pendant les premières années du XIIIe siècle des différences notables dans le système de la construction et dans la décoration; des essais qui serviront de point de départ à des règles suivies, ou qui seront abandonnés peu après leur apparition. Ces artistes qui marchent dans le même sens, mais en conservant leur génie propre, forment autant de petites écoles provinciales qui chaque jour tendent à se rapprocher, et ne diffèrent entre elles que par certaines dispositions de détail d'une médiocre importance.
Dès 1220 ces écoles peuvent être ainsi classées: École de l'Ile-de-France, école de Champagne, école de Picardie, école de Bourgogne, école du Maine et de l'Anjou, école de Normandie. Ces divisions ne sont pas tellement tranchées que l'on ne puisse rencontrer des édifices intermédiaires appartenant à la fois à l'une et à l'autre; leur développement suit l'ordre que nous donnons ici; on bâtissait déjà dans l'Ile-de-France et la Champagne des édifices absolument gothiques, quand l'Anjou et la Normandie, par exemple, se débarrassaient à peine des traditions romanes, et n'adoptaient pas le nouveau mode de construction et de décoration avec toutes ses conséquences rigoureuses (voy. pour les exemples, ARCHITECTURE RELIGIEUSE, MONASTIQUE, CIVILE ET MILITAIRE). Ce n'est qu'à la fin du XIIIe siècle que ces distinctions s'effacent complétement, que le génie provincial se perd dans le domaine royal pour se fondre dans une seule architecture qui s'étend successivement sur toute la superficie de la France. Toutefois l'Auvergne (sauf pour la construction de la cathédrale de Clermont-Ferrand) et la Provence n'adoptèrent jamais l'architecture gothique, et cette dernière province (devenue française seulement à la fin du XVe siècle) passa de l'architecture romane dégénérée à l'architecture de la Renaissance, n'ayant subi l'influence des monuments du nord que fort tard et d'une manière incomplète. Le foyer de l'architecture française est donc au XIIIe siècle concentré dans le domaine royal, c'est là que se bâtissent les immenses cathédrales que nous admirons encore aujourd'hui, les palais somptueux, les grands établissements publics, les châteaux et les enceintes formidables, les riches monastères. Mais en perdant de son originalité personnelle ou provinciale, en passant exclusivement entre les mains des corporations laïques, l'architecture n'est plus exécutée avec ce soin minutieux dans les détails, avec cette recherche dans le choix des matériaux, qui nous frappent dans les édifices bâtis à la fin du XIIe siècle, alors que les architectes laïques étaient encore imbus des traditions monastiques. Si nous mettons de côté quelques rares édifices, comme la Sainte-Chapelle du Palais, comme la cathédrale de Reims, comme certaines parties de la cathédrale de Paris, nous pourrons remarquer que les monuments élevés pendant le cours du XIIIe siècle sont souvent aussi négligés dans leur exécution que savamment combinés comme système de construction. On sent apparaître dans ces bâtisses l'esprit d'entreprise: il faut faire beaucoup et promptement avec peu d'argent, on est pressé de jouir, on néglige les fondations, on élève les monuments avec rapidité en utilisant tous les matériaux, bons ou mauvais, sans prendre le temps de les choisir. On arrache les pierres des mains des ouvriers avant qu'ils aient eu le temps de les bien dresser, les joints sont inégaux, les blocages faits à la hâte. Les constructions sont brusquement interrompues, aussi brusquement reprises avec de profondes modifications dans les projets primitifs. On ne retrouve plus cette sage lenteur des maîtres appartenant à des Ordres réguliers, qui ne commençaient un édifice que lorsqu'ils avaient réuni longtemps à l'avance, et choisi avec soin, les matériaux nécessaires, lorsqu'ils avaient pu amasser les sommes suffisantes, et mûri leurs projets par l'étude. Il semble que les architectes laïques ne se préoccupent pas essentiellement des détails de l'exécution, qu'ils aient hâte d'achever leur oeuvre, qu'ils soient déjà sous l'empire de cette fièvre de recherches et d'activité qui domine toute la civilisation moderne. Même dans les monuments bâtis rapidement on sent que l'art se modifie à mesure que la construction s'élève, et ces modifications tiennent toujours à l'application de plus en plus absolue des principes sur lesquels se base l'architecture gothique; c'est une expérience perpétuelle. La symétrie, ce besoin de l'esprit humain, est elle-même sacrifiée à la recherche incessante du vrai absolu, de la dernière limite à laquelle puisse atteindre la matière; et plutôt que de continuer suivant les mêmes données une oeuvre qui lui semble imparfaite, quitte à rompre la symétrie, l'architecte du XIIIe siècle n'hésite pas à modifier ses dispositions primitives, à appliquer immédiatement ses nouvelles idées développées sous l'inspiration du principe qui le dirige. Aussi, combien de monuments de cette époque commencés avec hésitation, sous une direction encore incertaine, quoique rapidement exécutés, se développent sous la pensée du constructeur qui apprend son art et le perfectionne à chaque assise, pour ainsi dire, et ne cesse de chercher le mieux que lorsque l'oeuvre est complète! Ce n'est pas seulement dans les dispositions d'ensemble que l'on remarque ce progrès rapide; tous les artisans sont mus par les mêmes sentiments. La statuaire se dépouille chaque jour des formes hiératiques des XIe et XIIe siècles pour imiter la nature avec plus de soin, pour rechercher l'expression, et mieux faire comprendre le geste. L'ornemaniste qui d'abord s'applique à donner à sa flore un aspect monumental et va chercher ses modèles dans les germes des plantes, arrive rapidement à copier exactement les feuilles et les fleurs, et à reproduire sur la pierre la physionomie et la liberté des végétaux. La peinture s'avance plus lentement dans la voie de progrès suivie par les autres arts, elle est plus attachée aux traditions, elle conserve les types conventionnels plus longtemps que sa soeur la sculpture; cependant appelée à jouer un grand rôle dans la décoration des édifices, elle est entraînée par le mouvement général, s'allie plus franchement à l'architecture pour l'aider dans les effets qu'elle veut obtenir (voy. PEINTURE, VITRAUX). Nous remarquerons ici que ces deux arts (la sculpture et la peinture) se soumettent entièrement à l'architecture lorsque celle-ci arrive à son apogée, et reprennent une certaine indépendance, qui ne leur profite guère du reste, lorsque l'architecture dégénère.
De ce que beaucoup de nos grands édifices du moyen âge ont été commencés à la fin du XIIe siècle, et terminés pendant les XIVe ou XVe, on en conclut qu'on a mis deux ou trois cents ans à les bâtir, cela n'est point exact; jamais peut-être, si ce n'est de nos jours, les constructions n'ont été élevées plus rapidement que pendant les XIIIe et XIVe siècles. Seulement ces monuments, bâtis au moyen des ressources particulières des évêques, des monastères, des chapitres, ou des seigneurs, ont été souvent interrompus par des événements politiques, ou faute d'argent; mais lorsque les ressources ne manquaient pas, les architectes menaient leurs travaux avec une rapidité prodigieuse; les exemples ne nous font pas faute pour justifier cette assertion. La nouvelle cathédrale de Paris fut fondée en 1168, en 1196 le choeur était achevé; en 1220 elle était complétement terminée; les chapelles de la nef, les deux pignons de la croisée, et les chapelles du choeur n'étant que des modifications à l'édifice primitif, dont il eût pu se passer (voy. CATHÉDRALE). Voici donc un immense monument, qui ne coûterait pas moins de soixante à soixante-dix millions de notre monnaie, élevé en cinquante ans. Presque toutes nos grandes cathédrales ont été bâties, sauf les adjonctions postérieures, dans un nombre d'années aussi restreint. La Sainte-Chapelle de Paris fut élevée et complétement achevée en moins de huit années (voy. CHAPELLE). Or quand on songe à la quantité innombrable de statues, de sculptures, aux surfaces énormes de vitraux, aux ornements de tout genre qui entraient dans la composition de ces monuments, on sera émerveillé de l'activité et du nombre des artistes, artisans et ouvriers, dont on disposait alors, surtout lorsque l'on sait que toutes ces sculptures, soit d'ornements, soit de figures, que ces vitraux étaient terminés au fur et à mesure de l'avancement de l'oeuvre.
Si de vastes monuments religieux, couverts de riches décorations, pouvaient être construits aussi rapidement, à plus forte raison, des monastères, des châteaux d'une architecture assez simple généralement, et qui devaient satisfaire à des besoins matériels immédiats, devaient-ils être élevés dans un espace de temps très-court. Lorsque les dates de fondation et d'achèvement font défaut, les constructions sont là qui montrent assez, pour peu qu'on ait quelque pratique de l'art, avec quelle rapidité elles étaient menées à fin. Ces grands établissements militaires tels que Coucy, Château-Thierry, entre autres, et plus tard Vincennes, Pierrefonds, sont sortis de terre et ont été livrés à leurs garnisons en quelques années (voy. ARCHITECTURE MILITAIRE, CHÂTEAU).
Il est dans l'histoire des peuples de ces siècles féconds qui semblent contenir un effort immense de l'intelligence des hommes, réunis dans un milieu favorable. Ces périodes de production se sont rencontrées partout à certaines époques, mais ce qui distingue particulièrement le siècle qui nous occupe, c'est avec la quantité, l'unité dans la production. Le XIIIe siècle voit naître dans l'ordre intellectuel des hommes tels que Albert le Grand, saint Thomas d'Aquin, Roger Bacon, philosophes, encyclopédistes savants et théologiens, dont tous les efforts tendent à mettre de la méthode dans les connaissances acquises de leur temps, à réunir les débris des sciences et de la philosophie antiques pour les soumettre à l'esprit chrétien, pour hâter le mouvement spirituel de leurs contemporains. L'étude et la pratique des arts se coordonnent, suivent dès lors une marche régulière dans un même sens. Nous ne pouvons mieux comparer le développement des arts à cette époque, qu'à une cristallisation; travail synthétique dont toutes les parties se réunissent suivant une loi fixe, logique, harmonieuse, pour former un tout homogène dont nulle fraction ne peut être distraite sans détruire l'ensemble.
La science et l'art ne font qu'un dans l'architecture du XIIIe siècle, la forme n'est que la conséquence de la loi mathématique, de même que dans l'ordre moral, la foi, les croyances, cherchent à s'établir sur la raison humaine, sur les preuves tirées des Écritures, sur l'observation des phénomènes physiques, et se hasardent avec une hardiesse et une grandeur de vues remarquables, dans le champ de la discussion. Heureusement pour ce grand siècle l'élite des intelligences était orthodoxe. Albert le Grand et son élève saint Thomas d'Aquin faisaient converger les connaissances étendues qu'ils avaient pu acquérir, la pénétration singulière de leur esprit, vers ce point dominant, la théologie. Cette tendance est aussi celle des arts du XIIIe siècle, et explique leur parfaite unité.
Il ne faudrait pas croire cependant que l'architecture religieuse fût la seule, et qu'elle imposât ses formes à l'architecture civile, loin de là; on ne doit pas oublier que l'architecture française s'était constituée au milieu du peuple conquis en face de ses conquérants, elle prenait ses inspirations dans le sein de cette fraction indigène, la plus nombreuse de la nation, elle était tombée aux mains des laïques sitôt après les premières tentatives d'émancipation, elle n'était ni théocratique ni féodale. C'était un art indépendant, national, qui se pliait à tous les besoins, et élevait un château, une maison, une église (voy. ces mots) en employant des formes et des procédés appropriés à chacun de ces édifices; et s'il y avait harmonie entre ces différentes branches de l'art, si elles étaient sorties du même tronc, elles se développaient cependant dans des conditions tellement différentes, qu'il est impossible de ne pas les distinguer. Non-seulement l'architecture française du XIIIe siècle adopte des formes diverses en raison des besoins auxquels elle doit satisfaire, mais encore nous la voyons se plier aux matériaux qu'elle emploie: si c'est un édifice de brique, de pierre ou de bois qu'elle élève, elle donne à chacune de ces constructions une apparence différente, celle qui convient le mieux à la nature de la matière dont elle dispose. Le fer forgé, le bronze et le plomb coulé ou repoussé, le bois, le marbre, la terre cuite, les pierres dures ou friables, de dimensions différentes, commandent des formes propres à chacune de ces matières; et cela d'une façon si absolue, si bien caractérisée, qu'en examinant un moulage ou un dessin on peut dire, «cet ornement, cette moulure, ce membre d'architecture, s'appliquent à telle ou telle matière.» Cette qualité essentielle appartient aux arts originaux des belles époques, tandis qu'elle manque le plus souvent aux arts des époques de décadence; inutile de dire combien elle donne de valeur et de charme aux moindres objets. Le judicieux emploi des matériaux distingue les constructions du XIIIe siècle entre celles qui les ont précédées et suivies, il séduit les hommes de goût comme les esprits les plus simples, et il ne faut rien moins qu'une fausse éducation pour faire perdre le sentiment d'une loi aussi naturelle et aussi vraie.
Mais il n'est pas d'oeuvre humaine qui ne contienne en germe, dans son sein, le principe de sa dissolution. Les qualités de l'architecture du XIIIe siècle, exagérées, devinrent des défauts. Et la marche progressive était si rapide alors, que l'architecture gothique, pleine de jeunesse et de force dans les premières années du règne de saint Louis, commençait à tomber dans l'abus en 1260. À peine y a-t-il quarante ans entre les constructions de la façade occidentale et du portail méridional de la cathédrale de Paris; la grande façade laisse encore voir quelques restes des traditions romanes, et le portail sud est d'une architecture qui fait pressentir la décadence (voy. ARCHITECTURE RELIGIEUSE). On ne trouve plus dès la fin du XIIIe siècle, surtout dans l'architecture religieuse, ce cachet individuel qui caractérise chacun des édifices types du commencement de ce siècle. Les grandes dispositions, le mode de construction et d'ornementation prennent déjà un aspect monotone qui rend l'architecture plus facile à étudier, et qui favorise la médiocrité aux dépens du génie. On s'aperçoit que des règles banales s'établissent et mettent l'art de l'architecture à la portée des talents les plus vulgaires. Tout se prévoit, une forme en amène infailliblement une autre. Le raisonnement remplace l'imagination, la logique tue la poésie. Mais aussi l'exécution devient plus égale, plus savante, le choix des matériaux plus judicieux. Il semble que le génie des constructeurs n'ayant plus rien à trouver, satisfasse son besoin de nouveauté en s'appliquant aux détails, recherche la quintessence de l'art. Tous les membres de l'architecture s'amaigrissent, la sculpture se complaît dans l'exécution des infiniment petits. Le sentiment de l'ensemble, de la vraie grandeur se perd, on veut étonner par la hardiesse, par l'apparence de la légèreté et de la finesse. La science l'emporte sur l'art et l'absorbe. C'est pendant le XIVe siècle que se développe la connaissance des poussées des voûtes, l'art du trait, c'est alors qu'on voit s'élever ces monuments qui réduisant les pleins à des dimensions aussi restreintes que possible, font pénétrer la lumière dans les intérieurs, par toutes les issues praticables, que l'on voit ces flèches découpées s'élancer vers le ciel sur des points d'appui qui ne paraissent pas pouvoir les soutenir, que les moulures se divisent en une quantité de membres infinis, que les piles se composent de faisceaux de colonnettes aussi nombreuses que les moulures des arcs qu'elles doivent porter. La sculpture perd de son importance, appauvrie par les combinaisons géométriques de l'architecture, elle semble ne plus trouver sa place, elle devient confuse à force de vouloir être délicate. Malgré l'excessive recherche des combinaisons, et à cause du rationalisme qui préside à toutes les parties de l'architecture, celle-ci vous laisse froid devant tant d'efforts, dans lesquels on rencontre plus de calcul que d'inspiration.
Il faut dire d'ailleurs que le XIIIe siècle avait laissé peu de chose à faire au XIVe en fait d'architecture religieuse. Nos grandes églises étaient presque toutes achevées à la fin du XIIIe siècle, et sauf Saint-Ouen de Rouen, on trouve peu d'églises commencées et terminées pendant le cours du XIVe siècle. Il ne restait plus aux architectes de cette époque qu'à compléter nos vastes cathédrales ou leurs dépendances.
Mais c'est pendant ce siècle que la vie civile prend un plus grand développement, que la nation appuyée sur le pouvoir royal commence à jouer un rôle important, en éloignant peu à peu la féodalité de la scène politique. Les villes élèvent des maisons communes, des marchés, des remparts; la bourgeoisie enrichie, bâtit des maisons plus vastes, plus commodes, où déjà les habitudes de luxe apparaissent. Les seigneurs féodaux donnent à leurs châteaux un aspect moins sévère; il ne s'agit plus pour eux seulement de se défendre contre de puissants voisins, d'élever des forteresses destinées à les protéger contre la force, ou à garder le produit de leurs rapines; mais leurs droits respectifs mieux réglés, la souveraineté bien établie du pouvoir royal, leur permettent de songer à vivre sur leurs domaines non plus en conquérants, mais en possesseurs de biens qu'il faut gouverner, en protecteurs des vassaux réunis autour de leurs châteaux; dès lors on décore ces demeures naguère si sombres et si bien closes, on ouvre de larges fenêtres destinées à donner de l'air et de la lumière dans les appartements, on élève des portiques, de grandes salles pour donner des fêtes, ou réunir un grand concours de monde; on dispose en dehors des enceintes intérieures, des bâtiments pour les étrangers; quelquefois même des promenoirs, des églises, des hospices destinés aux habitants du bourg ou village, viennent se grouper autour du château seigneurial.
Les malheurs qui désolèrent la France à la fin du XIVe siècle et au commencement du XVe ralentirent singulièrement l'essor donné aux constructions religieuses ou civiles. L'architecture suit l'impulsion donnée pendant les XIIIe et XIVe siècles, en perdant de vue peu à peu son point de départ; la profusion des détails étouffe les dispositions d'ensemble; le rationalisme est poussé si loin dans les combinaisons de la construction et dans le tracé, que tout membre de l'architecture qui se produit à la base de l'édifice pénètre à travers tous les obstacles, montant verticalement jusqu'au sommet sans interruption. Ces piles, ces moulures qui affectent des formes prismatiques, curvilignes, concaves avec arêtes saillantes et se pénètrent en reparaissant toujours, fatiguent l'oeil, préoccupent plus qu'elles ne charment, forcent l'esprit à un travail perpétuel, qui ne laisse pas de place à cette admiration calme que doit causer toute oeuvre d'art. Les surfaces sont tellement divisées par une quantité innombrable de nerfs saillants, de compartiments découpés, qu'on n'aperçoit plus nulle part les nus des constructions, qu'on ne comprend plus leur contexture et leur appareil. Les lignes horizontales sont bannies, si bien que l'oeil forcé de suivre ces longues lignes verticales ne sait où s'arrêter, et ne comprend pas pourquoi l'édifice ne s'élève pas toujours pour se perdre dans les nuages. La sculpture prend une plus grande importance, en suivant encore la méthode appliquée dès le XIIIe siècle; en imitant la flore, elle pousse cette imitation à l'excès, elle exagère le modelé; les feuillages, les fleurs ne tiennent plus à la construction, il semble que les artistes aient pris à tâche de faire croire à des superpositions pétrifiées; il en résulte une sorte de fouillis qui peut paraître surprenant, qui peut étonner par la difficulté de l'exécution, mais qui distrait et fait perdre de vue l'ensemble des édifices. Ce qu'il y a d'admirable dans l'ornementation appliquée à l'architecture du XIIIe siècle, c'est sa parfaite harmonie avec les lignes de l'architecture; au lieu de gêner elle aide à comprendre l'adoption de telle ou telle forme, on ne pourrait la déplacer, elle tient à la pierre. Au XVe siècle au contraire, l'ornementation n'est plus qu'un appendice qui peut être supprimé sans nuire à l'ensemble, de même que l'on enlèverait une décoration de feuillages appliquée à un monument pour une fête. Cette recherche puérile dans l'imitation exacte des objets naturels ne peut s'allier avec les formes rigides de l'architecture, d'autant moins qu'au XVe siècle ces formes ont quelque chose d'aigu, de rigoureux, de géométrique en complet désaccord avec la souplesse exagérée de la sculpture. L'application systématique dans l'ensemble comme dans les détails de la ligne verticale, en dépit de l'horizontalité des constructions de pierre, choque le bon sens même lorsque le raisonnement ne vient pas vous rendre compte de cet effet (voy. APPAREIL).
Les architectes du XIIIe siècle en diminuant les pleins dans leurs édifices, en supprimant les murs et les remplaçant peu à peu par des à-jours, avaient bien été obligés de garnir ces vides par des claires-voies de pierre (voy. MENEAU, ROSE); mais il faut dire que les compartiments de pierre découpée qui forment comme les clôtures ou les châssis de leurs baies sont combinés suivant les règles de la statique, et que la pierre conserve toujours son rôle. Au XIVe siècle déjà ces claires-voies deviennent trop grêles et ne peuvent plus se maintenir qu'à l'aide d'armatures en fer; cependant les dispositions premières sont conservées. Au XVe siècle, les claires-voies des baies, ajourées comme de la dentelle, présentant des combinaisons de courbes et de contre-courbes qui ne sont nullement motivées par la construction, donnant dans leur section des formes prismatiques aiguës, ne peuvent plus être solidement maintenues que par des artifices d'appareil, ou à l'aide de nombreux ferrements qui deviennent une des premières causes de destruction de la pierre. Non contents de garnir les baies par des châssis de pierre tracés sur des épures compliquées, les architectes du XVe siècle couvrent les nus des murs de meneaux aveugles qui ne sont que des placages simulant des vides là où souvent l'oeil, ne sachant où se reposer, demanderait un plein. Pendant le XIVe siècle déjà cet usage de masquer les nus sous de faux meneaux avait été fort goûté; mais au moins, à cette époque, ce genre de décoration était appliqué d'une façon judicieuse (voy. ARCHITECTURE RELIGIEUSE), entre des points d'appui, dans des espaces qui par leur position peuvent paraître légers, tandis qu'au XVe siècle, ces décorations de fausses baies couvrent les contre-forts et toutes les parties de l'architecture qui doivent présenter un aspect de résistance. Il semblait qu'alors les architectes eussent horreur du plein, et ne pussent se résoudre à laisser paraître leurs points d'appui. Tous leurs efforts tendaient à les dissimuler, pendant que souvent des murs, qui ne sont que des remplissages et ne portant rien auraient pu être mis à jour ou décorés d'arcatures ou de fausses baies, restent nus. Rien n'est plus choquant que ces murs lisses, froids, entre des contre-forts couverts de détails infinis, petits d'échelle et qui amaigrissent les parties des édifices auxquelles on attache une idée de force.
Plus on s'éloigne du domaine royal et plus ces défauts sont apparents dans l'architecture du XVe siècle, plus les constructeurs s'écartent des principes posés pendant les XIIIe et XIVe siècles, se livrent aux combinaisons extravagantes, prétendent faire des tours de force de pierre, et donnent à leur architecture des formes étrangères à la nature des matériaux, obtenues par des moyens factices, prodiguant le fer et les scellements, accrochant, incrustant une ornementation qui n'est plus à l'échelle des édifices. C'est sur les monuments de cette époque qu'on a voulu longtemps juger l'architecture dite gothique. C'est à peu près comme si on voulait porter un jugement sur l'architecture romaine à Balbek ou à Pola, sans tenir compte des chefs-d'oeuvre du siècle d'Auguste.
Nous devons ici faire une remarque d'une importance majeure; bien que la domination anglaise ait pu paraître, politiquement parlant, très-assurée dans le nord et dans l'ouest de la France pendant une partie des XIVe et XVe siècles, nous ne connaissons pas un seul édifice qui rappelle dans les contrées conquises les constructions que l'on élevait alors en Angleterre. L'architecture ne cesse de rester française. On ne se fait pas faute en Normandie ou dans les provinces de l'ouest d'attribuer certains édifices aux Anglais; que ceux-ci aient fait construire des monuments, nous voulons bien l'admettre, mais ils n'ont eu recours alors qu'à des artistes français, et le fait est facile à constater pour qui a vu les architectures des deux pays; les dissemblances sont frappantes comme principe, comme décoration, et comme moyens d'exécution. Pendant le XIIIe siècle les deux arts anglais et français ne diffèrent guère que dans les détails ou dans certaines dispositions générales des plans, mais à partir du XIVe siècle ces deux architectures prennent des voies différentes qui s'éloignent de plus en plus l'une de l'autre. Jusqu'à la Renaissance aucun élément n'est venu en France retarder ou modifier la marche de l'architecture; elle s'est nourrie de son propre fonds, abusant des principes, poussant la logique au point de torturer la méthode à force de vouloir la suivre et en tirer toutes les conséquences. Tous les exemples du Dictionnaire font voir comme on arrive par une pente insensible du XIIe siècle au XVe fatalement. Chaque tentative, chaque effort, chaque perfectionnement nouveau conduit rapidement à l'apogée, aussi rapidement à la décadence, sans qu'il soit possible d'oser dire: «C'est là où il faut s'arrêter.» C'est une chaîne non interrompue d'inductions, dont on ne peut briser un seul anneau, car ils ont tous été rivés en vertu du principe qui avait fermé le premier. Et nous dirons qu'il serait peut-être plus facile d'étudier l'architecture gothique en la prenant à sa décadence, en remontant successivement des effets aux causes, des conséquences aux principes, qu'en suivant sa marche naturelle; c'est ainsi que la plupart d'entre nous ont été amenés à l'étude des origines de cet art, c'est en le prenant à son déclin, en remontant le courant.
Par le fait, l'architecture gothique avait dit à la fin du XVe siècle son dernier mot, il n'était plus possible d'aller au delà, la matière était soumise, la science n'en tenait plus compte, l'extrême habileté manuelle des exécutants ne pouvait être matériellement dépassée; l'esprit, le raisonnement avaient fait de la pierre, du bois, du fer, du plomb, tout ce qu'on en pouvait faire, jusqu'à franchir les limites du bon sens. Un pas de plus, et la matière se déclarait rebelle, les monuments n'eussent pu exister que sur les épures ou dans le cerveau des constructeurs.
Dès le XIVe siècle l'Italie, qui n'avait jamais franchement abandonné les traditions antiques, qui n'avait que subi partiellement les influences des arts de l'Orient ou du Nord, relevait les arts romains. Philippe Brunelleschi, né en 1375 à Florence, après avoir étudié les monuments antiques de Rome, non pour en connaître seulement les formes extérieures mais plus encore pour se pénétrer des procédés employés par les constructeurs romains, revenait dans sa patrie au commencement du XVe siècle et après mille difficultés suscitées par la routine et l'envie, élevait la grande coupole de l'église de Sainte-Marie-des-Fleurs. L'Italie, qui conserve tout, nous a transmis jusqu'aux moindres détails de la vie de ce grand architecte, qui ne se borne pas à cette oeuvre seule; il construisit des citadelles, des abbayes, les églises du Saint-Esprit, de Saint-Laurent à Florence, des palais... Brunelleschi était un homme de génie, et peut être considéré comme le père de l'architecture de la Renaissance en Italie, car s'il sut connaître et appliquer les modèles que lui offrait l'antiquité, il donna cependant à ses oeuvres un grand caractère d'originalité rarement dépassé par ses successeurs, égalé peut-être par le Bramante, qui se distingue au milieu de tant d'artistes illustres, ses contemporains, par un goût pur, une manière simple, et une grande sobriété dans les moyens d'exécution.
À la fin du XVe siècle ces merveilles nouvelles qui couvraient le sol de l'Italie faisaient grand bruit en France. Quand Charles VIII revint de ses folles campagnes, il ramena avec lui une cour étonnée des splendeurs d'outre-monts, des richesses antiques et modernes que renfermaient les villes traversées par ces conquérants d'un jour. On ne rêva plus dès lors que palais, jardins ornés de statues, fontaines de marbre, portiques et colonnes. Les arts de l'Italie devinrent la passion du moment. L'architecture gothique épuisée, à bout de moyens pour produire des effets surprenants, s'empara de ces nouveaux éléments, on la vit bientôt mêler à ses décorations des réminiscences des arts italiens. Mais on ne change pas un art, non plus qu'une langue, du jour au lendemain. Les artistes florentins ou milanais qu'avait pu amener Charles VIII avec lui étaient singulièrement dépaysés au milieu de cette France encore toute gothique, leur influence ne pouvait avoir une action directe sur des corporations de gens de métiers habitués à reproduire les formes traditionnelles de leur pays. Ces corps de métiers, devenus puissants, possédaient toutes les branches des arts et n'étaient pas disposés à se laisser dominer par des étrangers, fort bien venus à la cour, mais fort mal vus par la classe moyenne. La plupart de ces artistes intrus se dégoûtaient bientôt, ne trouvant que des ouvriers qui ne les comprenaient pas ou ne voulaient pas les comprendre. Comme il arrive toujours d'ailleurs, les hommes qui avaient pu se résoudre à quitter l'Italie pour suivre Charles VIII en France n'étaient pas la crème des artistes italiens, mais bien plutôt ces médiocrités qui, ne pouvant se faire jour dans leur patrie, n'hésitent pas à risquer fortune ailleurs. Attirés par de belles promesses des grands, ils se trouvaient le lendemain, quand il fallait en venir à l'exécution, en face de gens de métiers, habiles, pleins de leur savoir, railleurs, rusés, indociles, maladroits par système, opposant à la faconde italienne une force d'inertie décourageante, ne répondant aux ordres que par ce hochement de tête gaulois qui fait présager des difficultés sans nombre là où il aurait fallu trouver un terrain aplani. La cour, entraînée par la mode nouvelle, ne pouvant être initiée à toutes les difficultés matérielles du métier, n'ayant pas la moindre idée des connaissances pratiques, si étendues alors, des constructeurs français, en jetant quelques malheureux artistes italiens imbus des nouvelles formes adoptées par l'Italie (mais probablement très-pauvres traceurs ou appareilleurs) au milieu de ces tailleurs de pierre, charpentiers, rompus à toutes les difficultés du tracé géométrique, ayant une parfaite connaissance des sections de plans les plus compliquées, et se jouant chaque jour avec ces difficultés; la cour, disons-nous, malgré tout son bon vouloir ou toute sa puissance, ne pouvait faire que ses protégés étrangers ne fussent bientôt pris pour des ignorants ou des impertinents. Aussi ces tentatives d'introduction des arts italiens en France à la fin du XVe siècle n'eurent-elles qu'un médiocre résultat. L'architecture indigène prenait bien par-ci par-là quelques bribes à la renaissance italienne, mettait une arabesque, un chapiteau, un fleuron, un mascaron imité sur les imitations de l'antiquité à la place de ses feuillages, de ses corbeilles, de ses choux et de ses chardons gothiques; mais elle conservait sa construction, son procédé de tracé, ses dispositions d'ensemble et de détail.
Les arts qui se développent à la fin du XIIe siècle sont sortis du sein de la nation gallo-romaine, ils sont comme le reflet de son esprit, de ses tendances, de son génie particulier; nous avons vu comme ils naissent en dehors des classes privilégiées en même temps que les premières institutions politiques conquises par les populations urbaines. Les arts de la Renaissance vont découler d'une tout autre source; patronnés par les grands, par les classes lettrées de la société française, ils trouveront longtemps une opposition soit dans le sein du clergé régulier, soit parmi les classes bourgeoises. Nous allons examiner comment ils vinrent s'appuyer sur la Réformation pour s'introduire définitivement sur le vieux sol gallo-romain.
Vers 1483 naissait, dans un petit village du comté de Mansfeld, Martin Luther; mais d'abord jetons les yeux un instant sur la situation du haut clergé à la fin du XVe siècle. Quelques années plus tard Léon X disait: «Maintenant, vivons en paix, la hache ne frappe plus l'arbre au pied, elle ne fait qu'en émonder les branches.» En effet, la papauté se reposant après de si longs et glorieux combats, brillait alors d'un éclat que rien ne semblait devoir ternir, elle régnait sur le monde chrétien autant par la puissance morale qu'elle avait si laborieusement acquise, que par le développement extraordinaire qu'elle avait su donner aux arts et aux lettres. Rome était devenue le centre de toute lumière, de tout progrès. La cour papale, composée d'érudits, de savants, de poëtes, entourée d'une auréole d'artistes, attirait les regards de l'Europe entière.
En Allemagne et en France les évêques étaient possesseurs de pouvoirs féodaux plus ou moins étendus, tout comme les seigneurs séculiers. Les grands établissements religieux, après avoir longtemps rendu d'immenses services à la civilisation, après avoir défriché les terres incultes, établi des usines, assaini les marais, propagé et conservé l'étude des lettres antiques et chrétiennes, lutté contre l'esprit désordonné de la féodalité séculière, offert un refuge à tous les maux physiques et moraux de l'humanité, trouvaient enfin un repos qu'on allait bientôt leur faire payer cher. En Germanie le pouvoir souverain était divisé entre un grand nombre d'électeurs ecclésiastiques et laïques, de marquis, de ducs, de comtes qui ne relevaient que de l'empereur. La portion séculière de cette noblesse souveraine n'acquittait qu'avec répugnance les subsides dus au saint-siége; obligée à une représentation qui n'était pas en rapport avec ses revenus, elle avait sans cesse besoin d'argent; lorsqu'en 1517 Léon X publia des indulgences qu'il permit de prêcher en Allemagne, d'abondantes aumônes qui devaient contribuer à l'achèvement de la grande église de Saint-Pierre de Rome furent réunies par les prédicateurs, tandis que les princes trouvaient les portes fermées lorsqu'ils envoyaient les collecteurs percevoir les impôts. C'est alors qu'un pauvre moine augustin attaque les indulgences dans la chaire à Wittemberg; immédiatement la lutte s'engage avec le saint-siége, lutte ardente pleine de passion de la part du moine saxon, qui se sentait soutenu par toute la noblesse d'Allemagne, pleine de modération et de calme de la part des pontifes romains. Ce pauvre moine était Martin Luther. Bientôt l'Allemagne fut en feu. Luther triomphait; la sécularisation des couvents était un appât pour la cupidité de tous ces princes séculiers qui pouvaient alors mettre la main sur les biens des abbayes, enlever les châsses d'or et d'argent, et les vases sacrés. La sécularisation des couvents eut lieu, car Luther, qui épuisait tout le vocabulaire des injures contre la papauté, les évêques et les moines, ménageait avec le plus grand soin ces princes qui d'un mot eussent pu étouffer sa parole. Le peuple, ainsi qu'il arrive lorsque l'équilibre politique est rompu, ne tarda pas à se mêler de la partie. Il n'y avait pas trois années que Luther avait commencé la guerre contre le pouvoir de la cour de Rome, que déjà autour de lui ses propres disciples le débordent et divisent la réforme en sectes innombrables; on voit naître les Buceriens, les Carlstadiens, les Zwingliens; les Anabaptistes, les OEcolampadiens, les Mélanchthoniens, les Illyriens; on voit un Munzer, curé d'Alstaedt, anabaptiste, soulever les paysans de la Souabe et de la Thuringe, périr avec eux à Franckenhausen, sous les coups de cette noblesse qui protégeait la réforme, et ne trouver chez Luther, en fait de sentiment de pitié (lui qui était la cause première de ces désastres), que ces paroles cruelles: «À l'âne du chardon, un bât et le fouet; c'est le sage qui l'a dit; aux paysans de la paille d'avoine. Ne veulent-ils pas céder, le bâton et le mousquet; c'est de droit. Prions pour qu'ils obéissent, sinon point de pitié; si on ne fait siffler l'arquebuse, ils seront cent fois plus méchants 29.»
Luther voulait que l'on conservât les images; un de ses disciples, Carlstadt, brise presque sous ses yeux les statues et les vitraux de l'église de Tous-les-Saints de Vittemberg. L'Allemagne se couvre de ruines, le marteau de ces nouveaux iconoclastes va frapper les figures des saints jusque dans les maisons, jusque dans les oratoires privés; les riches manuscrits couverts de peinture sont brûlés.
Voilà comment débute le XVIe siècle en Allemagne; par le fait le peuple n'était qu'un instrument, et la noblesse séculière profitait seule de la réforme par la sécularisation, ou plutôt la destruction des établissements religieux. «Trésors d'églises et de couvents, disait Mélancthon, disciple fidèle de Luther, les électeurs gardent tout et ne veulent même rien donner pour l'entretien des écoles!»
Cependant la France, sous le règne de François Ier, commençait à ressentir le contre-coup de cette révolution qui s'opérait en Allemagne, et à laquelle Charles-Quint, préoccupé de plus vastes projets, n'opposait qu'une résistance indécise. Peut-être même en affaiblissant le pouvoir du saint-siége la réforme servait-elle une partie de ces projets, et pensait-il pouvoir la diriger dans le sens de sa politique, et l'arrêter à son temps. Luther ne pouvait cependant exercer en France la même influence qu'en Allemagne; sa parole brutale, grossière, ses prédications semées d'injures ramassées dans les tavernes, n'eussent pas agi sur l'esprit des classes éclairées de notre pays; ses doctrines toutefois, condamnées par la Sorbonne, avaient rallié quelques adeptes; on a toujours aimé la nouveauté chez nous; et déjà lorsque parut Calvin, les diatribes de Luther contre le pape et les princes de l'Église avaient séduit des docteurs, des nobles lettrés, des écoliers en théologie, des artistes jaloux de la protection donnée aux Italiens et qui croyaient avoir tout à gagner en secouant le joug de Rome. La mode était à la réforme; il ne nous appartient pas de nous étonner de ces entraînements des peuples, nous qui avons vu s'accomplir une révolution en un jour aux cris de la réforme. Calvin était né en 1509 à Noyon. Luther, le moine saxon, avait la parole insolente, le visage empourpré, le geste et la voix terribles; Calvin, la démarche austère, la face cadavéreuse, l'apparence maladive; il ménagera la forme dans ses discours comme dans ses écrits; nature opiniâtre, prudente, il ne tombera pas chaque jour dans les plus étranges contradictions comme son prédécesseur de Wittemberg; mais marchant pas à pas, théologien diplomate, il ne reculera jamais. Luther, ne sachant comment maîtriser la tempête qu'il avait déchaînée contre la société, poussait la noblesse allemande au massacre de milliers de paysans fanatisés par un fou; Calvin poursuivra, dénoncera Servet, et le fera bruler vif parce qu'il se sera attaqué à sa vanité de réformateur. Voilà les deux hommes qui allaient modifier profondément une grande partie de l'Europe catholique, et qui, sous le prétexte d'affranchir les âmes de la domination du saint-siége, commençaient par s'appuyer sur le despotisme le plus intolérant, le plus fatal au développement de la liberté de conscience, le plus fatal aux arts qui ont besoin, pour conserver leur originalité, du libre arbitre; et qui demeurent inféconds là où s'élève un pouvoir qui réunit sous sa main le temporel et le spirituel. Le catholicisme ne pouvait soutenir cette guerre soulevée contre le dogme de l'Église qu'en opposant à l'esprit d'anarchie et d'intolérance une armée réunie sous une discipline sévère. Comme contre-poids au principe de la réforme, saint Ignace de Loyola s'élève, organise sa milice dont la force immense s'appuie sur le principe de l'obéissance absolue à l'esprit et à la lettre. Ainsi s'éteint au sein même du catholicisme ce germe vivifiant de discussion, de controverse, d'innovation hardies, qui avait fait naître nos grands artistes des XIIe et XIIIe siècles.
L'imprimerie donne tout à coup une extension immense à des luttes qui, sans elle, n'eussent peut-être pas dépassé les murs de Wittemberg. Grâce à ce moyen de répandre les idées nouvelles d'un bout de l'Europe à l'autre parmi toutes les classes de la société, chacun devient docteur, discute les Écritures, interprète à sa guise les mystères de la religion, chacun veut former une Église, et tout ce grand mouvement aboutit à la perte de la liberté de conscience, à la confusion du spirituel et du temporel sous un même despotisme. Henry VIII, roi théologien, comprend le premier l'importance politique de la réforme, et après avoir réfuté les doctrines de Luther, ne pouvant obtenir du pape la rupture de son mariage avec Catherine d'Aragon, il adopte tout à coup les principes du réformateur, épouse Anne de Boulen, confisque à son profit le pouvoir spirituel de l'Angleterre, en même temps qu'il supprime les abbayes, les monastères, et s'empare de leurs revenus et de leurs trésors. De pareils exemples étaient bien faits pour séduire la noblesse catholique; se soustraire à la prépondérance spirituelle du clergé, s'emparer des biens temporels ecclésiastiques, était un appât qui ne pouvait manquer d'entraîner la féodalité séculière vers la réforme; puis, encore une fois, la mode s'en mêlait en France; sans se ranger avec enthousiasme sous la bannière de Luther ou sous celle de Calvin, la curiosité était excitée; ces luttes contre le pouvoir si fort alors de la papauté, attiraient l'attention; on était, comme toujours, en France, disposé dans la classe éclairée, sans en prévoir les conséquences, à protéger les idées nouvelles. Marguerite de Navarre, dans sa petite cour de Nérac, donnait asile à Calvin, à Le Fèvre d'Étaples, qui tous deux étaient mal avec la Sorbonne. Les grandes dames se moquaient de la messe catholique, avaient composé une messe à sept points, et s'élevaient fort contre la confession. La Sorbonne se fâchait, on la laissait faire. La duchesse d'Étampes avait à coeur d'amener le roi François à écouter les réformistes. On disputait; chaque jour élevait un nouveau prédicateur cherchant à acquérir du renom en énonçant quelque curieuse extravagance; les esprits sains (et ils sont toujours en minorité) s'attristaient, voyaient bien quelles tempêtes s'amoncelaient derrière ces discussions de salons; mais il faut le dire, l'agitation était dans la société. Les anciennes études théologiques, ces sérieuses et graves méditations des docteurs des XIIe et XIIIe siècles, avaient fait leur temps, on voulait autre chose; l'étude du droit, fort avancée alors, venait protester contre l'organisation féodale. François Ier fondait en France des chaires de droit romain à l'instar de celles de Bologne; il dotait un collége trilingue dont Érasme eût été le directeur si Charles-Quint ne nous l'eût enlevé. On s'éprenait exclusivement des lettres antiques. C'était un mouvement irrésistible comme celui qui, au XIIe siècle, avait fait sortir la société de la barbarie; mais il manque au XVIe siècle une de ces figures comme celle de saint Bernard, pour contenir, régler et faire fructifier cette agitation qui bientôt va se perdre dans le sang et les ruines.
Mais voyez quelles étranges contradictions! comme ce siècle marche à l'aventure!... Nous avons dit un mot du peu de succès des tentatives de Charles VIII pour faire prévaloir en France les arts de la renaissance italienne; comme ces efforts n'avaient pu entamer l'esprit traditionnel des corporations d'artisans; nous avons vu (voy. ARCHITECTE) comme à la fin du XVe siècle la puissance de ces corporations avait absorbé l'unité de direction, et comment l'architecte avait peu à peu disparu sous l'influence séparée de chaque corps d'état agissant directement. L'Italie, Florence, Rome surtout, avait appris à nos artistes, ne fût-ce que par la présence en France de ces hommes amenés par Charles VIII et auxquels on voulait confier la direction des travaux, que ces merveilles, tant admirées au delà des alpes, étaient dues non point à des corps de métiers agissant séparément, mais à des artistes isolés, à des architectes, quelquefois sculpteurs et peintres en même temps, soumettant les ouvriers à l'unité de direction. On voit surgir sous le règne de François Ier des hommes, en France, qui, à l'imitation des maîtres italiens, et par la volonté de la cour et des grands seigneurs, viennent à leur tour imposer leurs projets aux corps d'artisans, et les faire exécuter sans admettre leur intervention autrement que comme ouvriers. Et parmi ces artistes, qui ont appris de l'Italie à relever leur profession, qui s'inspirent de son génie et des arts antiques si bien renouvelés par elle, beaucoup embrassent le parti de la réforme qui met Rome au ban de l'Europe! qui désigne Léon X, cet homme d'un goût si élevé, ce protecteur si éclairé des artistes, comme l'Antéchrist!
Mais il faut dire qu'en France la réforme ne se montre pas à son début, comme en Allemagne, ennemie des arts plastiques; elle ne brise pas les images, ne brûle pas les tableaux et les manuscrits enrichis de peintures; au contraire, presque exclusivement adoptée par la classe noble et par la portion la plus élevée du tiers état, on ne la voit faire des prosélytes au milieu des classes inférieures que dans quelques provinces de l'ouest, et dans ces contrées où déjà au XIIe siècle les Albigeois avaient élevé une hérésie en face de l'Église catholique. L'aristocratie plus instruite qu'elle ne l'avait jamais été, lettrée, adonnée avec passion à l'étude de l'antiquité, suivait le mouvement imprimé par le roi François Ier, déployait un luxe inconnu jusqu'alors dans la construction de ses châteaux et de ses maisons de ville. Elle démantelait les vieux manoirs féodaux pour élever des habitations ouvertes, plaisantes, décorées de portiques, de sculptures, de statues de marbre. La royauté donnait l'exemple en détruisant ce vieux Louvre de Philippe Auguste et de Charles V. La grosse tour du Louvre, de laquelle relevaient tous les fiefs de France, elle-même n'était pas épargnée, on la rasait pour commencer les élégantes constructions de Pierre Lescot. François Ier vendait son hôtel Saint-Paul «fort vague et ruyneux... auquel n'avons accoustumé faire résidence, parce que avons en nostre bonne ville plusieurs autres bons logis et places somptueuses, et que ledit hostel nous est et à nostredit domaine de peu de valeur 30...» L'architecture civile envahissait l'architecture féodale où jusqu'alors tout était presque entièrement sacrifié aux dispositions de défense; et le roi François accomplissait ainsi au moyen des arts, en entraînant sa noblesse dans cette nouvelle voie, la grande révolution politique commencée par Louis XI. Les seigneurs féodaux subissant l'empire de la mode, démolissant eux-mêmes leurs forteresses, prodiguant leurs trésors pour changer leurs châteaux sombres et fermés en maisons de plaisance, adoptant les nouveautés prêchées par les réformistes, ne voyaient pas que le peuple applaudissait à leur amour pour les arts qui détruisait leurs nids féodaux, ne les suivait pas dans leurs idées de réforme religieuse, que la royauté les laissait faire, et qu'à un jour donné rois et peuple, profitant de cet entraînement imprudent, viendraient leur arracher les derniers vestiges de leur puissance.
L'étude des lettres et des arts qui jusqu'alors avaient été exclusivement cultivés par le clergé et le tiers état, pénétrait dans la classe aristocratique et jetait ainsi un nouvel élément de fusion entre les différents ordres du pays. Malgré le désordre administratif, les fautes et les malheurs qui signalent le commencement du XVIe siècle en France, le pays était en voie de prospérité, le commerce, l'industrie, les sciences et les arts prenaient un développement immense; il semblait que la France eût des trésors inconnus qui comblaient toutes les brèches faites à son crédit par des revers cruels et des dilapidations scandaleuses. Les villes crevaient leurs vieilles enceintes de tous côtés pour s'étendre; on reconstruisait sur des plans plus vastes les hôtels de ville, les marchés, les hospices; on jetait des ponts sur les rivières; on perçait de nouvelles routes; l'agriculture, qui jusqu'alors avait été un des plus puissants moyens d'influence employés par les établissements religieux, commençait à être étudiée et pratiquée par quelques grands propriétaires appartenant au tiers état; elle devint «l'objet de dispositions législatives dont quelques-unes sont encore en vigueur 31.» L'État établissait une police sur les eaux et forêts, sur l'exploitation des mines. Ce grand mouvement effaçait peu à peu l'éclat jeté par les monastères dans les siècles précédents. Des abbayes étaient sécularisées, leur influence morale se perdait, et beaucoup d'entre elles tombaient en des mains laïques. La France était remplie d'églises élevées pendant les trois derniers siècles, lesquelles suffisaient, et au delà, aux besoins du culte, et la réforme diminuait le nombre des fidèles. Rome, et tout le clergé catholique n'avaient pas, dès le commencement du XVIe siècle, compris toute l'importance des doctrines prêchées par les novateurs. L'Église qui se croyait, après de si glorieux combats, définitivement affermie sur sa base divine, n'avait pas pris les armes assez tôt; elle allait au concile de Trente arrêter les progrès de l'incendie, mais il était déjà bien tard, et il fallut faire la part du feu. Une réforme était devenue nécessaire dans son sein, et l'Église l'avait elle-même solennellement reconnu au concile de Latran; elle fut débordée par cette prodigieuse activité intellectuelle du XVIe siècle, par les nouvelles tendances politiques des populations d'Allemagne et de France; elle fut trahie par son ancienne ennemie, la féodalité, et la féodalité fut à son tour emportée par la tempête qu'elle avait soulevée contre l'Église. L'esprit original, natif, individuel des peuples s'épuisa dans ces luttes terribles qui chez nous désolèrent la seconde moitié du XVIe siècle, et la royauté seule s'établit puissante sur ces ruines. Louis XIV clôt la Renaissance. Les arts, comme toujours, furent associés à ces grands mouvements politiques. Jusqu'à Louis XIV c'est un fleuve rapide, fécondant, varié dans son cours, roulant dans un lit tantôt large tantôt resserré, attirant à lui toutes les sources, intéressant à suivre dans ses détours; sous Louis XIV, ce fleuve devient un immense lac aux eaux dormantes, infécondes, aux reflets uniformes, qui étonne par sa grandeur mais qui ne nous transporte nulle part, et fatigue le regard par la monotonie de ses aspects. Aujourd'hui les digues sont rompues et les eaux s'échappent de toutes parts en désordre par cent issues; où vont-elles? Nul ne le sait.
Avec la Renaissance s'arrêtent les développements de l'architecture religieuse en France. Elle se traîne pendant le XVIe siècle indécise, conservant et repoussant tour à tour ses traditions, n'ayant ni le courage de rompre avec les formes et le système de construction des siècles précédents, ni le moyen de les conserver (voy. ARCHITECTURE RELIGIEUSE). L'architecture monastique frappée au coeur s'arrête court. L'architecture civile prend un nouvel essor pendant toute la durée du XVIe siècle et produit seule des oeuvres vraiment originales (voy. ARCHITECTURE CIVILE). Quant à l'architecture militaire, il n'est pas besoin de dire qu'elle se modifie profondément au moment où l'artillerie vient changer le système de l'attaque et celui de la défense des places fortes.
Note 8: (retour) Mab., Ann. Ben., t. III, p. 330.
Note 9: (retour) Bibl. Clun., col. 1, 2, 3, 4.--Cluny au XIe siècle, par l'abbé F. Cucherat, 1851, 1 vol. Lyon. Paris.
Note 10: (retour) Bull. Clun., p. 1, 2, 3.--Ibid.
Note 11: (retour) Udalrici Antiq. consuet. Clun. mon., lib. III, c. VIII et IX.
Note 12: (retour) Cluny au XIe siècle, par l'abbé F. Cucherat.
Note 13: (retour) Udalrici Antiq. cons. Clun. mon., lib. II. c. VIII, in fine.--Bernardi Cons. cænob. Clun., p. I, c. XXVII.--L'abbé Cucherat, p. 83.
Note 14: (retour) S. Anselme de Cant., par M. C. de Rémusat. Paris, 1853, p. 43.
Note 15: (retour) L'abbé Cucherat, p. 104.
Note 16: (retour) Ann. Benéd., t. IV, p. 207 et 208.
Note 17: (retour) «Inter prædictas cryptas et cellam novitiorum, posita sit alia cella ubi aurifices, inclusores et vitrei magistri operentur; quæ cella habeat longitudinis CXXV pedes, latitudinis XXV.»
Note 18: (retour) Cluny au XIe siècle. par l'abbé Cucherat, p. 106 et 107.
Note 19: (retour) Lettres sur l'Histoire de France, par Aug. Thierry. Paris, 1842, p. 401 et 402.
Note 20: (retour) Lettres sur l'Hist. de France, par Aug. Thierry. Paris, 1842, p, 412.--Hug. Pietav. Hist. Vezeliac monast., lib. III, apud d'Achery, Spicilegium, t. II, p. 533 et 535.
Note 21: (retour) Hist. des communes de France, par M. le baron C. F. E, Dupin. Paris, 1834.
Note 22: (retour) Ibid.
Note 23: (retour) Grégoire VII, saint François d'Assises et saint Thomas d'Aquin, par J. Delécluze, Paris, 1844; t. II, p. 64 à 85.--Ouvrages inédits d'Abailard, par M. Cousin. Introduction, p. CLV et suiv.
Note 24: (retour) Abailard et Héloïse, essai historique, par M. et Mme Guizot. Nouvelle édition, entièrement refondue. Paris, 1853.
Note 25: (retour) M. Félix de Verneilh (l'Architecture byzantine en France. Paris, 1852.)
Note 26: (retour) L'architecture byzantine en France, par M. Félix de Verneilh.
Note 27: (retour) Voir l'article de M. Vitet, inséré dans le Journal des Savants, cahier de janvier, février et mai 1853, sur l'architecture byzantine en France, par M. de Verneilh.
Note 28: (retour) La dénomination d'architecture romane est très-vague, sinon fausse. La langue romane «était circonscrite sur un sol dont on connaît les limites, en deçà et au delà de la Loire.» En peut-on dire autant de l'architecture que l'on désigne sous le nom de romane? (Voy. dans l'art. de M. Vitet précité, p. 30 et 31, la judicieuse critique sur cette dénomination.)
Note 29: (retour) Lettre de Luther à Rubel. (Histoire de la Vie, des Ouvr. et des Doctr. de Luther, par M. Audin. Paris.)
Note 30: (retour) Aliénation de l'hostel Saint-Paul, an. 1516. Hist de la Ville de Paris. D. Félibien; t. III; p. justif., p. 574.
Note 31: (retour) Essai sur l'histoire du tiers état, par M. A. Thierry, t. I, p. 116; édit. Furne, 1853; Recueil des anc. lois franç. par M. Isambert., t. XI et XII; édit. de Villers-Cotterets, août 1539.
ARCHITECTURE RELIGIEUSE. Chez tous les peuples l'architecture religieuse est la première à se développer. Non-seulement au milieu des civilisations naissantes, le monument religieux répond au besoin moral le plus puissant, mais encore il est un lieu d'asile, de refuge; une protection contre la violence. C'est dans le temple ou l'église que se conservent les archives de la nation, ses titres les plus précieux sont sous la garde de la Divinité; c'est sous son ombre que se tiennent les grandes assemblées religieuses ou civiles, car dans les circonstances graves, les sociétés qui se constituent, ont besoin de se rapprocher d'un pouvoir surhumain pour sanctionner leurs délibérations. Ce sentiment que l'on retrouve chez tous les peuples, se montre très-prononcé dans la société chrétienne. Le temple païen n'est qu'un sanctuaire où ne pénètrent que les ministres du culte et les initiés, le peuple reste en dehors de ses murs, aussi les monuments de l'antiquité là où ils étaient encore debout, en Italie, sur le sol des Gaules, ne pouvaient convenir aux chrétiens. La basilique antique avec ses larges dimensions, sa tribune, ses ailes ou bas côté, son portique antérieur, se prêtait au culte de la nouvelle loi. Il est même probable que les dispositions de l'édifice romain eurent une certaine influence sur les usages adoptés par les premiers chrétiens du moment qu'ils purent sortir des catacombes et exercer leur culte ostensiblement. Mais dans les limites que nous nous sommes tracées, nous devons prendre, comme point de départ, la basilique chrétienne de l'époque carlovingienne, dont les dispositions s'éloignaient déjà de la basilique antique. Alors on ne se contentait plus d'un seul autel, il fallait élever des tours destinées à recevoir des cloches pour appeler les fidèles, et les avertir des heures de prières. La tribune de la basilique antique n'était pas assez vaste pour contenir le clergé nombreux réuni dans les églises; le choeur devait empiéter sur les portions abandonnées au public dans le monument romain. L'église n'était pas isolée, mais autour d'elle, comme autour du temple païen, se groupaient des bâtiments destinés à l'habitation des prêtres et des clercs; des portiques, des sacristies, quelquefois même des écoles, des bibliothèques, de petites salles pour renfermer les trésors, les chartes, les vases sacrés et les ornements sacerdotaux, des logettes pour des pénitents ou ceux qui profitaient du droit d'asile. Une enceinte enveloppait presque toujours l'église et ses annexes, le cimetière et des jardins; cette enceinte, fermée la nuit, était percée de portes fortifiées. Un grand nombre d'églises étaient desservies par un clergé régulier dépendant d'abbayes ou de prieurés, et se rattachant ainsi à l'ensemble de ces grands établissements. Les églises collégiales, paroissiales et les chapelles elles-mêmes, possédaient dans une proportion plus restreinte tous les services nécessaires à l'exercice du culte, de petits cloîtres, des sacristies, des trésors, des logements pour les desservants. D'ailleurs les collégiales, paroisses et chapelles étaient placées sous la juridiction des évêques, les abbayes et les prieurés exerçaient aussi des droits sur elles, et parfois même les seigneurs laïques construisaient des chapelles, érigeaient des paroisses en collégiales, sans consulter les évêques, ce qui donna lieu souvent à de vives discussions entre ces seigneurs et les évêques. Les cathédrales comprenaient dans leurs dépendances les bâtiments du chapitre, de vastes cloîtres, les palais des évêques, salles synodales etc. (voy. ÉVÊCHÉ, SALLE SYNODALE, CLOÎTRE, ARCHITECTURE MONASTIQUE, TRÉSOR, SACRISTIE, SALLE CAPITULAIRE).

Nous donnons ici (1) pour faire connaître quelle était la disposition générale d'une église de moyenne grandeur au Xe siècle, un plan qui sans être copié sur tel ou tel édifice existant, résume l'ensemble de ces dispositions. I est le portique qui précède la nef, le Narthex de la basilique primitive, sous lequel se tiennent les pénitents auxquels l'entrée de l'église est temporairement interdite, les pèlerins qui arrivent avant l'ouverture des portes. De ce porche, qui généralement est couvert en appentis, on pénètre dans la nef et les bas côtés par trois portes fermées pendant le jour par des voiles. N les fonts baptismaux placés soit au centre de la nef, soit dans l'un des collatéraux H. G la nef au milieu de laquelle est réservé un passage libre séparant les hommes des femmes. P la tribune, les ambons, et plus tard le jubé où l'on vient lire l'épître et l'évangile. A le bas choeur où se tiennent les clercs. O l'entrée de la confession, de la crypte qui renferme le tombeau du saint sur lequel l'église a été élevée; des deux côtés les marches pour monter au sanctuaire. C l'autel principal. B l'exèdre au milieu duquel est placé le siège de l'évêque, de l'abbé ou du prieur; les stalles des chanoines ou des religieux s'étendent plus ou moins à droite et à gauche. E les extrémités du transsept. D des autels secondaires. F la sacristie, communiquant au cloître L et aux dépendances. Quelquefois, du porche on pénètre dans le cloître par un passage et une porterie K. Alors les clochers étaient presque toujours placés, non en avant de l'église, mais près du transsept en M sur les dernières travées des collatéraux. Les religieux se trouvaient ainsi plus à proximité du service des cloches, pour les offices de nuit, ou n'étaient pas obligés de traverser la foule des fidèles pour aller sonner pendant la messe. L'abbaye Saint-Germain des Prés avait encore à la fin du siècle dernier ses deux tours ainsi placées. Cluny, Vézelay, beaucoup d'autres églises abbatiales, de prieurés, des paroisses même, un grand nombre de cathédrales possèdent ou possédaient des clochers disposés de cette manière. Châlons-sur-Marne laisse voir encore les étages inférieurs de ses deux tours bâties des deux côtés du choeur. L'abbé Lebeuf, dans son Histoire du diocèse d'Auxerre, rapporte qu'en 1215, l'évêque Guillaume de Seignelay, faisant rebâtir le choeur de la cathédrale de Saint-Étienne que nous admirons encore aujourd'hui, les deux clochers romans, qui n'avaient point encore été démolis mais qui étaient sapés à leur base pour permettre l'exécution des nouveaux ouvrages, s'écroulèrent l'un sur l'autre sans briser le jubé, ce qui fut regardé comme un miracle 32.
À cette époque (nous parlons du Xe siècle), les absides et les étages
inférieurs des clochers étaient presque toujours les seules parties
voûtées, les nefs, les bas côtés, les transsepts étaient couverts par
des charpentes. Cependant déjà des efforts avaient été tentés pour
établir des voûtes dans les autres parties des édifices religieux où ce
genre de construction ne présentait pas de grandes difficultés. Nous
donnons (2) le plan de la petite église de Vignory (Haute-Marne) qui
déjà contient un bas côté avec chapelles absidales pourtournant le
sanctuaire. Ce bas côté B est voûté en berceau; quatre autres petits
berceaux séparés par des arcs-doubleaux flanquent les deux travées qui
remplacent le transsept en avant de l'abside. Le sanctuaire C est voûté
en cul-de-four, et deux arcs-doubleaux DD contre-buttent les bas côtés
AA sur lesquels étaient élevés deux clochers; un seul subsiste encore,
reconstruit en grande partie au XIe siècle. Tout le reste de l'édifice
est couvert par une charpente apparente et façonnée
33. La coupe
transversale que nous donnons également sur la nef (3) fait comprendre
cette intéressante construction dans laquelle on voit apparaître la
voûte mêlée au système primitif des couvertures en bois. On remarquera
que la nef présente un simulacre de galerie qui rappelle encore la
galerie du premier étage de la basilique romaine; ce n'est plus à
Vignory qu'une décoration sans usage et qui paraît être une concession à
la tradition. Bientôt cependant on ne se contenta plus de voûter
seulement le choeur, les chapelles absidales et leurs annexes, on voulut
remplacer partout les charpentes destructibles par des voûtes en pierre,
en moellon ou en brique; ces charpentes brûlaient se pourrissaient
rapidement; quoique peintes, elles ne présentaient pas cet aspect
monumental et durable que les constructeurs du moyen âge s'efforçaient
de donner à l'église.

Les différentes contrées qui depuis le XIIIe siècle composent le sol de la France ne procédèrent pas de la même manière pour voûter la basilique latine. Dans l'ouest, à Périgueux, dès la fin du Xe siècle on élevait la cathédrale et la grande église abbatiale de Saint-Front (voy. ARCHITECTURE, développement de l') sous l'influence de l'église à coupoles de Saint-Marc de Venise 34.

Ce monument, dont nous donnons le plan et une coupe transversale, succédait à une basilique bâtie suivant la tradition romaine. C'était une importation étrangère à tout ce qui avait été élevé à cette époque sur le sol occidental des Gaules depuis l'invasion des barbares. Le plan (4) reproduit non-seulement la forme mais aussi la dimension de celui de Saint-Marc, à peu de différences près. La partie antérieure de ce plan laisse voir les restes de l'ancienne basilique latine modifiés à la fin du Xe siècle par la construction d'une coupole derrière le narthex, et d'un clocher posé à cheval sur les travées de l'ancienne nef. L'église de Saint-Front se trouvait alors posséder un avant-porche (le narthex primitif), un second porche voûté, le vestibule sous le clocher, et enfin le corps principal de la construction couvert par cinq coupoles posées sur de larges arcs-doubleaux et sur pendentifs (5).

Ici les
coupoles et les arcs-doubleaux ne sont pas tracés comme à Saint-Marc de
Venise, suivant une courbe plein cintre, mais présentent des arcs
brisés, des formes ogivales, bien qu'alors en France l'arc en
tiers-point ne fût pas adopté; mais les constructeurs de Saint-Front,
fort peu familiers avec ce système de voûtes, ont certainement recherché
l'arc brisé afin d'obtenir une plus grande résistance et une poussée
moins puissante (V. CONSTRUCTION, COUPOLE). Cette importation de la
coupole sur pendentifs ne s'applique pas seulement à l'église de
Saint-Front et à celle de la cité de Périgueux. Pendant les XIe et XIIe
siècles on construit dans l'Aquitaine une grande quantité d'églises à
coupoles; les églises de Souliac, de Cahors, d'Angoulême, de Trémolac,
de Saint-Avit-Senieur, de Salignac, de Saint-Émilion, de Saint-Hilaire
de Poitiers, de Fontevrault, du Puy en Vélay, et beaucoup d'autres
encore, possèdent des coupoles élevées sur pendentifs. Mais l'église de
Saint-Front présente seule un plan copié sur celui de Saint-Marc. Les
autres édifices que nous venons de citer conservent le plan latin avec
ou sans transsepts et presque toujours sans bas côtés. Nous donnons ici
le plan de la belle église abbatiale de Fontevrault (6) qui date du XIIe
siècle, et qui possède une série de quatre coupoles sur pendentifs dans
sa nef, disposées et contre-buttées ainsi que celles de la cathédrale
d'Angoulême, avec beaucoup d'art.

Voici (7) une des travées de la nef de l'église de Fontevrault. Jusqu'au XIIIe siècle l'influence de la coupole se fait sentir dans les édifices religieux de l'Aquitaine, du Poitou et de l'Anjou; la Cathédrale d'Angers, bâtie au commencement du XIIIe siècle, est sans bas côtés, et ses voûtes, quoique nervées d'arcs-ogives, présentent dans leur coupe de véritables coupoles (voy. VOÛTE). Les nefs des cathédrales de Poitiers et du Mans sont encore soumises à cette influence de la coupole, mais dans ces édifices les pendentifs disparaissent et la coupole vient se mélanger avec la voûte en arcs-ogives des monuments de l'Ile-de-France et du nord 35.
En Auvergne comme centre, et en suivant la Loire jusqu'à Nevers, un
autre système est adopté dans la construction des édifices religieux.
Dans ces contrées, dès le XIe siècle, on avait renoncé aux charpentes
pour couvrir les nefs; les bas côtés de la basilique latine étaient
conservés ainsi que la galerie supérieure. La nef centrale était voûtée
en berceau plein cintre avec ou sans arcs-doubleaux; des demi-berceaux
comme des arcs-boutants continus, élevés sur les galeries supérieures
contre-buttaient la voûte centrale, et les bas côtés étaient voûtés par
la pénétration de deux demi-cylindres suivant le mode romain. Des
culs-de-four terminaient le sanctuaire comme dans la basilique antique
et le centre du transsept était couvert par une coupole à pans accusés
ou arrondis aux angles, portée sur des trompes ou des arcs
concentriques, ou même quelquefois de simples encorbellements soutenus
par des corbeaux. Ce système de construction des édifices religieux est
continué pendant le XIIe siècle, et nous le voyons adopté jusqu'à
Toulouse, dans la grande église de Saint-Sernin. Voici le plan de
l'église du prieuré de Saint-Étienne de Nevers (8) bâtie pendant la
seconde moitié du XIe siècle et qui présente un des types les plus
complets des églises à nefs voûtées en berceau plein cintre contre-butté
par des demi-berceaux bandés sur les galeries des bas côtés.(9)
Le plan
de l'église de Notre-Dame du Port à Clermont-Ferrand, un peu potérieure;
(10) la coupe transversale de la nef de cette église, et (10 bis) la
coupe sur le transsept, dans laquelle apparaît la coupole centrale
également contre-buttée par des demi-berceaux reposant sur deux murs à
claire-voie portés sur deux arcs-doubleaux construits dans le
prolongement des murs extérieurs. Dans ces édifices toutes les poussées
des voûtes sont parfaitement maintenues; aussi se sont-ils conservés
intacts jusqu'à nos jours. Toutefois en étant inspirées de la basilique
romaine, ces églises ne conservaient pas au-dessus de la galerie
supérieure ou triforium, les fenêtres qui éclairaient les nefs
centrales des édifices romains; la nécessité de maintenir la voûte en
berceau par une buttée continue sous forme de demi-berceau sur les
galeries, interdisait aux constructeurs la faculté d'ouvrir des fenêtres
prenant des jours directs au-dessous de la voûte centrale. Les nefs de
ces églises ne sont éclairées que par les fenêtres des bas côtés ou par
les jours ouverts à la base du triforium; elles sont obscures, et ne
pouvaient convenir à des contrées où le soleil est souvent caché, où le
ciel est sombre.


Dans le Poitou, dans une partie des provinces de l'ouest et dans
quelques localités du midi, on avait adopté au XIe siècle un autre mode
de construire les églises et de les voûter; les bas côtés étaient élevés
jusqu'à la hauteur de la nef, et de petites voûtes d'arêtes ou en
berceau élevées sur ces bas côtés contre-buttaient le berceau central.
L'église abbatiale de Saint-Savin, près Poitiers, dont nous donnons le
plan (11), est construite d'après ce système; de longues colonnes
cylindriques portent des archivoltes sur lesquelles viennent reposer le
berceau plein cintre de la nef et les petites voûtes d'arêtes des deux
bas côtés, ainsi que l'indique la coupe transversale (12). Mais ici la
galerie supérieure de la basilique latine est supprimée, et la nef n'est
éclairée que par les fenêtres ouvertes dans les murs des bas côtés. Pour
de petites églises étroites, ce parti n'a pas d'inconvénients; il laisse
cependant le milieu du monument et surtout les voûtes dans l'obscurité
lorsque les nefs sont larges; il ne pouvait non plus convenir aux
grandes églises du nord. On observera que dans les édifices, soit de
l'Auvergne, soit du midi de la France, élevés suivant le mode de bas
côtés avec ou sans galeries contre-buttant la voûte centrale, les voûtes
remplacent absolument les charpentes puisque, non-seulement elles
ferment les nefs et bas côtés, mais encore elles portent la couverture
en tuiles ou en dalles de pierre. Ce fait est remarquable; reconnaissant
les inconvénients des charpentes, les architectes de ces provinces les
supprimaient complétement et faisaient ainsi disparaître toutes causes
de destruction par le feu.

Dans les provinces du nord, en Normandie, dans l'Ile-de-France, en Champagne, en Bourgogne, en Picardie, lorsque l'on se décide à voûter la basilique latine, on laisse presque toujours subsister la charpente au-dessus de ces voûtes; on réunit les deux moyens, la voûte, pour mieux clore l'édifice, pour donner un aspect plus digne et plus monumental aux intérieurs, pour empêcher les charpentes, en cas d'incendie, de calciner les nefs; la charpente, pour recevoir la couverture en tuiles, en ardoises ou en plomb. Les couvertures posées directement sur la maçonnerie des voûtes causaient des dégradations fréquentes dans les climats humides, elles laissaient pénétrer les eaux pluviales à l'intérieur par infiltration, ou même par suite de la porosité des matériaux employés, dalles ou terre cuite. Si les constructeurs septentrionaux, lorsqu'ils commencèrent à voûter leurs églises, employèrent ce procédé, ils durent l'abandonner bientôt en reconnaissant les inconvénients que nous venons de signaler, et ils protégèrent leurs voûtes par des charpentes qui permettaient de surveiller l'extrados de ces voûtes, qui laissait circuler l'air sec au-dessus d'elles et rendaient les réparations faciles. Nous verrons tout à l'heure comment cette nécessité contribua à leur faire adopter une combinaison de voûtes particulière. Les tentatives pour élever des églises voûtées ne se bornaient pas à celles indiquées ci-dessus. Déjà dès le Xe siècle les architectes avaient eu l'idée de voûter les bas côtés des basiliques latines au moyen d'une suite de berceaux plein cintre posant sur des arcs-doubleaux et perpendiculaires aux murs de la nef; la grande nef restait couverte par une charpente. Les restes de la basilique primitive de l'abbaye de Saint-Front de Périgueux conservent une construction de ce genre, qui existait fort développée dans l'église abbatiale de Saint-Remy de Reims avant les modifications apportées dans ce curieux monument pendant les XIIe et XIIIe siècles.

La figure (13) fera comprendre ce genre de bâtisses. Ces berceaux parallèles posant sur des arcs-doubleaux dont les naissances n'étaient pas très-élevées au-dessus du sol ne pouvaient pousser à l'intérieur les piles des nefs chargées par des murs élevés; et des fenêtres prenant des jours directs, étaient ouvertes au-dessus des bas côtés. Dans la Haute-Marne, sur les bords de la haute Saône, en Normandie, il devait exister au XIe siècle beaucoup d'églises élevées suivant ce système, soit avec des voûtes en berceaux perpendiculaires à la nef, soit avec des voûtes d'arêtes, sur les bas côtés; les nefs restaient couvertes seulement par des charpentes. La plupart de ces édifices ont été modifiés au XIIIe ou au XIVe siècle, c'est-à-dire qu'on a construit des voûtes hautes sur les murs des nefs en les contre-buttant par des arcs-boutants; mais on retrouve facilement les traces de ces dispositions primitives. Quelques édifices religieux bâtis par les Normands en Angleterre, ont conservé leurs charpentes sur les grandes nefs, les bas côtés seuls étant voûtés. Nous citerons, parmi les églises françaises, la petite église de Saint-Jean de Châlons-sur-Marne, dont la nef, qui date de la fin du XIe siècle, conserve encore sa charpente masquée par un berceau en planches fait il y a peu d'années; l'église du Pré-Notre-Dame, au Mans, de la même époque, qui n'avait dans l'origine que ses bas côtés voûtés; les grandes églises abbatiales de la Trinité et de Saint-Étienne de Caen, dont les nefs devaient être certainement couvertes primitivement par des charpentes apparentes, etc. À Saint-Remy de Reims il existe une galerie supérieure, aussi large que le bas côté, qui était aussi très-probablement voûtée de la même manière. Nous avons supposé dans la figure (13) les charpentes des bas côté enlevées, afin de laisser voir l'extrados des berceaux de ces bas côtés.
On ne tarda pas, dans quelques provinces, à profiter de ce dernier parti pour contre-butter les voûtes, qui remplacèrent bientôt les charpentes des nefs principales.

Dans la partie romane de la nef de la cathédrale de Limoges, dans les églises de Châtillon-sur-Seine, et de l'abbaye de Fontenay près Montbard de l'ordre de Cîteaux, on voit les bas côtés voûtés par une suite de berceaux parallèles perpendiculaires à la nef portant sur des arcs-doubleaux; les travées de ces nefs sont larges; la poussée continue du grand berceau supérieur se trouve contre-buttée par les sommets des berceaux perpendiculaires des bas côtés, et par des murs élevés sur les arcs-doubleaux qui portent ces berceaux; murs qui sont de véritables contre-forts, quelquefois même allégés par des arcs et servant en même temps de points d'appui aux pannes des combles inférieurs: l'exemple (14) que nous donnons ici fait comprendre toute l'ossature de cette construction; A, arcs-doubleaux des bas côtés portant les berceaux perpendiculaires à la nef, ainsi que les murs porte-pannes et contre-forts B, allégés par des arcs de décharge, véritables arcs-boutants noyés sous les combles. Dans ces édifices religieux, la charpente supérieure se trouvait supprimée, la tuile recouvrait simplement le berceau ogival C. Quant à la charpente des bas côtés, elle se trouvait réduite à des cours de pannes et des chevrons portant également ou de la tuile creuse, ou de grandes tuiles plates le plus souvent vernissées (voy. COUVERTURE). Mais les grandes nefs de ces églises ne pouvaient être éclairées par des jours directs, elles étaient obscures dans leur partie supérieure, ainsi on se trouvait toujours entre ces deux inconvénients, ou d'éclairer les nefs par des fenêtres ouvertes au-dessus des voûtes des bas côtés, et alors de couvrir ces nefs par des charpentes apparentes, ou de les voûter et de se priver de jours directs.
Tous ces monuments étaient élevés dans des conditions de stabilité
telles, qu'ils sont parvenus jusqu'à nous presque intacts.
Ces types se
perpétuaient pendant les XIe et XIIe siècles avec des différences peu
sensibles dans le centre de la France, dans le midi, l'ouest, et
jusqu'en Bourgogne. Dans l'Ile-de-France, la Champagne, la Picardie,
dans une partie de la Bourgogne et en Normandie, les procédés pour
construire les édifices religieux prirent une autre direction. Ces
contrées renfermaient des villes importantes et populeuses; il fallait
que les édifices religieux pussent contenir un grand nombre de fidèles;
la basilique antique, aérée, claire, permettant la construction de
larges nefs séparées des bas côtés par deux rangées de colonnes minces,
satisfaisait à ce programme. En effet, si nous examinons (fig. 15) la
coupe d'une basilique construite suivant la tradition romaine, nous
voyons une nef A, ou vaisseau principal, qui peut avoir de dix à douze
mètres de largeur, si nous subordonnons cette largeur à la dimension
ordinaire des bois dont étaient formés les entraits; deux bas côtés B de
cinq à six mètres de largeur, éclairés par des fenêtres G; au-dessus
deux galeries C permettant de voir le sanctuaire, et éclairées
elles-mêmes par des jours directs, puis pour éclairer la charpente et le
milieu de la nef, des baies supérieures E percées au-dessus des combles
des galeries. Cette construction pouvait être élevée sur un plan vaste,
à peu de frais. Mais, nous l'avons dit, il fallait à ces populations des
édifices plus durables, d'un aspect plus monumental, plus recueilli; et
d'ailleurs à la fin du Xe siècle les Normands n'avaient guère laissé
d'édifices debout dans les provinces du nord de la France. On songea
donc dès le XIe siècle à reconstruire les édifices religieux sur des
données nouvelles, et capables de résister à toutes les causes de ruine.
Le système de la voûte d'arête romaine formée par la pénétration de deux
demi-cylindres d'un diamètre égal, n'avait jamais été abandonné; aussi
fut-il appliqué aux édifices religieux, du moment que l'on renonça aux
charpentes; mais ce système ne peut être employé que pour voûter un plan
carré; or dans le plan de la basilique latine, le bas côté seul présente
un plan carré à chaque travée; quant à la nef, l'espacement compris
entre chaque pilier étant plus étroit que la largeur du vaisseau
principal, l'espace à voûter se trouve être un parallélogramme et ne
peut être fermé par une voûte d'arête romaine; exemple (16): soit une
portion de plan d'une église du XIe siècle, A les bas côtés, B la nef
principale; les surfaces C D E F sont carrées et peuvent être facilement
voûtées par deux demi-cylindres d'un diamètre égal, mais les surfaces G
H I K sont des parallélogrammes; si l'on bande un berceau ou
demi-cylindre de G en H, le demi-cylindre de G en I viendra pénétrer le
demi-cylindre G H au-dessous de sa clef, ainsi que l'indique la figure
(17).



Le cintrage de ces sortes de voûtes devait paraître difficile à des constructeurs inexpérimentés; de plus, ces voûtes, dites en arcs de cloître, sont pesantes, d'un aspect désagréable, surtout si elles sont très-larges, comme on peut s'en convaincre en examinant la figure (18). Les constructeurs septentrionaux du XIe siècle n'essayèrent même pas de les employer; ils se contentèrent de fermer les bas côtés par des voûtes d'arêtes romaines et de continuer à couvrir les grandes nefs par une charpente apparente, ainsi que l'indique la figure (18), où ils eurent l'idée d'élever des berceaux sur les murs des nefs, au-dessus des fenêtres supérieures. Ce second parti (19) ne pouvait être durable; les grandes voûtes A, n'étant point contre-buttées, durent s'écrouler peu de temps après leur décintrage; on plaçait des contre-forts extérieurs en B, mais ces contre-forts ne pouvaient maintenir la poussée continue des berceaux que sur certains points isolés, puis ils portaient à faux sur les reins des arcs-doubleaux C, les déformaient en disloquant ainsi tout l'ensemble de la bâtisse.

Pour diminuer la puissance de poussée des berceaux, on eut l'idée, vers le commencement du XIIe siècle, dans quelques localités, de les cintrer suivant une courbe brisée ou en tiers-point, en les renforçant (comme dans la nef de la cathédrale d'Autun) au droit des piles par des arcs-doubleaux saillants, maintenus par des contre-forts (20). Il y avait là une amélioration, mais ce mode n'en était pas moins vicieux; et la plupart des églises bâties suivant ce principe se sont écroulées quand elles n'ont pas été consolidées par des arcs-boutants un siècle environ après leur construction. C'est alors que les Clunisiens reconstruisaient la plupart de leurs établissements; de 1089 à 1140 environ, la grande église de Cluny, la nef de l'abbaye de Vézelay sont élevées; nous nous occuperons plus particulièrement de ce dernier monument religieux, encore debout aujourd'hui, tandis qu'une rue et des jardins ont remplacé l'admirable édifice de saint Hugues et de Pierre le Vénérable (voy. ARCHITECTURE MONASTIQUE).

À Vézelay, l'architecture religieuse allait faire un grand pas; sans abandonner le plein cintre, les constructeurs établirent des voûtes d'arêtes sur la nef principale aussi bien que sur les bas côtés; seulement pour faire arriver la pénétration des portions de voûtes cintrées suivant les formerets plein cintre jusqu'à la clef du grand berceau également plein cintre de la nef, ils eurent recours à des tâtonnements très-curieux à étudier (voy. VOÛTE). Voici une vue perspective de l'intérieur de cette nef regardant vers l'entrée, qui donne l'idée du système adopté (21), et n'oublions pas que cette nef était élevée au commencement du XIIe siècle, peu de temps après celle de Cluny, et que par conséquent l'effort était considérable, le progrès bien marqué, puisque la nef de l'église de Cluny était encore voûtée en berceau plein cintre, et que même après la construction de la nef de Vézelay, vers 1150, à Autun, à Beaune, à Saulieu, on construisait encore des voûtes en berceau (ogival, il est vrai) sur les grandes nefs, ainsi que l'indique la figure (20). L'innovation tentée à Vézelay n'eut pas cependant de bien brillants résultats, car si ces voûtes reportaient leur poussée sur des points isolés, au droit des piles, elles n'étaient épaulées que par des contre-forts peu saillants, elles firent déverser les murs, déformer les voûtes des bas côtés; et il fallut après que quelques-unes d'elles se furent écroulées, et toutes les autres aplaties, construire à la fin du XIIe siècle des arcs-boutants pour arrêter l'effet de cette poussée. À Cluny comme à Beaune, comme à la cathédrale d'Autun, il fallut de même jeter des arcs-boutants contre les murs des nefs pendant les XIIIe et XIVe siècles pour arrêter l'écartement des voûtes.

Il est certain que les effets qui se manifestèrent dans la nef de Vézelay durent surprendre les constructeurs qui croyaient avoir paré à l'écartement des grandes voûtes d'arêtes, non-seulement par l'établissement des contre-forts extérieurs, mais bien plus sûrement encore par la pose de tirants en fer qui venaient s'accrocher au-dessus des chapiteaux, à la naissance des arcs-doubleaux, à de forts gonds chevillés sur des longrines en bois placées en long dans l'épaisseur des murs (voy. CHAÎNAGE, CONSTRUCTION, TIRANT). Ces tirants qui remplissaient la fonction d'une corde à la base de l'arc-doubleau, cassèrent ou brisèrent leurs gonds; car à cette époque les fers d'une grande longueur devaient être fort inégaux et mal forgés.

Mais cette expérience ne fut point perdue. Dans cette même église de Vézelay, vers 1160, on bâtit un porche fermé, véritable narthex ou antéglise, conformément à l'usage alors adopté par la règle de Cluny (voy. ARCHITECTURE MONASTIQUE); et ce porche, dans lequel les arcs-doubleaux adoptent la courbe en tiers-point, présente des voûtes d'arêtes avec et sans arcs-ogives, construites très-habilement, et savamment contre-buttées par les voûtes d'arêtes rampantes des galeries supérieures, ainsi que l'indique la coupe transversale de ce porche (fig. 22). Mais ici comme dans les églises d'Auvergne, la nef principale ne reçoit pas de jours directs; pour trouver ces ours il eût fallu élever la voûte centrale jusqu'au point A; alors des fenêtres auraient pu être percées au-dessus du comble du triforium dans le mur B, une suite de petits arcs, ou un second triforium auraient éclairé ces combles en E, et pour contre-butter la grande voûte il eût suffi de construire, au droit de chaque arc-doubleau, un arc-boutant C reportant les poussées sur le contre-fort D, rendu plus résistant au moyen d'une plus forte saillie. Ce dernier pas était bien facile à franchir; aussi voyons-nous presque tous les édifices religieux du domaine royal, de la Champagne, de la Bourgogne et du Bourbonnais adopter ce parti, non sans quelques tâtonnements, pendant la seconde moitié du XIIe siècle. Mais en renonçant aux voûtes en berceau dans les provinces du nord et les remplaçant par des voûtes d'arêtes (même lorsqu'elles étaient combinées comme celles du porche de l'église de Vézelay, c'est-à-dire très-peu élevées), on devait en même temps renoncer aux couvertures posées à cru sur ces voûtes, il fallait des charpentes. Une nouvelle difficulté se présentait. Des voûtes construites d'après le système adopté dans le porche de Vézelay exigeaient ou des charpentes sans entraits, si les murs goutterots ne s'élevaient que jusqu'au point E, c'est-à-dire jusqu'à la hauteur de la clef des formerets, ou une surélévation de ces murs goutterots jusqu'au sommet G des grandes voûtes, si l'on voulait que les fermes fussent munies d'entraits. Or nous voyons que, pour obtenir des jours directs au-dessus du triforium en B, on était déjà amené à donner une grande élévation aux murs des nefs; il était donc important de gagner tout ce que l'on pouvait gagner sur la hauteur; on fut alors entraîné à baisser la clef des arcs-doubleaux des grandes voûtes au niveau des clefs des formerets, et comme conséquence les naissances de ces arcs-doubleaux durent être placées au-dessous des naissances de ces formerets (voy. VOUTE). Ce fut après bien des hésitations que, vers 1220, les sommets des arcs-doubleaux et des formerets atteignirent définitivement le même niveau. Les grandes voûtes de la nef et du porche de Vézelay ont de la peine à abandonner la forme primitive en berceau; évidemment les constructeurs de cette époque, tout en reconnaissant que la poussée continue de la voûte en berceau ne pouvait convenir à des édifices dont les plans ne donnent que des points d'appui espacés, qu'il fallait diviser cette poussée au moyen de formerets et de voûtes pénétrant le berceau principal, n'osaient encore aborder franchement le parti de la voûte en arcs-ogives; d'ailleurs ils commençaient à peine vers le milieu du XIIe siècle à poser des arcs-ogives saillants, et les arêtes des voûtes ne pouvaient être maintenues sans ce secours, à moins d'un appareil fort compliqué que des maçonneries en petits moellons ne comportaient pas. Les plus anciens arcs-ogives ne sont que des nervures saillantes, des boudins, des tores simples, doubles ou triples, qui sont évidemment placés sous les arêtes des voûtes dans l'origine, pour les décorer et pour donner un aspect moins froid et moins sec aux constructions. Dans le porche de Vézelay, par exemple, deux voûtes seulement sont munies d'arcs-ogives; ils ne sont qu'une décoration, et n'ajoutent rien à la solidité des voûtes qui ne sont pas combinées pour avoir besoin de leur secours. Les grandes voûtes, presque coupoles, des cathédrales d'Angers et de Poitiers, sont décorées d'arcs-ogives très-minces, sans utilité, et qui, au lieu de porter les remplissages, sont portés par eux au moyen de queues pénétrant dans les arêtes à peine saillantes de ces voûtes. Mais bientôt, pendant la seconde moitié du XIIe siècle, les architectes du nord s'emparent de ce motif de décoration pour établir tout leur système de construction des voûtes en arcs-d'ogives. Ils donnent aux arcs-ogives une épaisseur et une force assez grandes non-seulement pour qu'ils puissent se maintenir par la coupe de leurs claveaux, mais encore pour pouvoir s'en servir comme de cintres sur lesquels ils viennent bander les triangles de remplissages formant autant de petites voûtes indépendantes les unes des autres, et reportant tout leur poids sur ces cintres. Ce principe une fois admis, ces architectes sont complétement maîtres des poussées des voûtes, ils les font retomber et les dirigent sur les points résistants. C'est par l'application savante de ce principe qu'ils arrivent rapidement à reporter tout le poids et la poussée de voûtes énormes sur des piles extrêmement minces et présentant en projection horizontale une surface très-minime. Nous ne nous étendrons pas davantage sur ce chapitre, développé dans le mot VOÛTE.
La figure 19 fait voir comme les architectes qui construisaient des
églises étaient conduits, presque malgré eux et par la force des choses,
à donner une grande élévation aux nefs centrales comparativement à leur
largeur.
La plupart des auteurs qui ont écrit sur l'architecture
religieuse du moyen âge se sont émerveillés de la hauteur prodigieuse de
ces nefs, et ils ont voulu trouver dans cette élévation une idée
symbolique. Que l'on ait exagéré, à la fin du XIIIe siècle et pendant
les XIVe et XVe siècles, la hauteur des édifices religieux,
indépendamment des nécessités de la construction, nous voulons bien
l'admettre; mais au moment où l'architecture religieuse se développe
dans le nord de la France, lorsqu'on étudie scrupuleusement les
monuments, on est frappé des efforts que font les architectes pour
réduire au contraire, autant que possible, la hauteur des nefs. Un
exposé fort simple fera comprendre ce que nous avançons ici. Supposons
un instant que nous ayons une église à construire d'après les données
admises à la fin du XIIe siècle (23): la nef doit avoir 12 mètres d'axe
en axe des piles, les bas côtés 7 mètres; pour que ces bas côtés soient
d'une proportion convenable par rapport à leur hauteur, et pour qu'ils
puissent prendre des jours élevés de façon à éclairer le milieu de la
nef, ils ne peuvent avoir moins de 12 mètres de hauteur jusqu'à la clef
des voûtes. Il faut couvrir ces bas côtés par un comble de 5 mètres de
poinçon, compris l'épaisseur de la voûte, nous arrivons ainsi au faîtage
des combles des bas côtés avec une hauteur de 17 mètres. Ajoutons à cela
le filet de ces combles, et l'appui des croisées, ensemble 1 mètre, puis
la hauteur des fenêtres supérieures qui ne peuvent avoir moins de deux
fois la largeur de l'entre-deux des piles si l'on veut obtenir une
proportion convenable; or les bas côtés ayant 7 mètres de largeur,
l'entre-deux des piles de la nef sera de 5m,50, ce qui donnera à la
fenêtre une hauteur de 11 mètres. Ajoutons encore l'épaisseur de la clef
de ces fenêtres 0m,40, l'épaisseur du formeret 0m,30; l'épaisseur de la
voûte 0m,25, le bahut du comble 0m,60, et nous avons atteint, en nous
restreignant aux hauteurs les plus modérées, une élévation de 32 mètres
jusqu'à la base du grand comble, et de 30 mètres sous clef. Le vide de
la nef entre les piles étant de 10m,50, elle se trouvera avoir en
hauteur trois fois sa largeur environ. Or il est rare qu'une nef de la
fin du XIIe siècle, dans un monument à bas côtés simples et sans
triforium voûté, soit d'une proportion aussi élancée. Mais s'il s'agit
de construire une cathédrale avec doubles bas côtés comme Notre-Dame de
Paris; si l'on veut élever sur les bas côtés voisins de la nef un
triforium voûté, couvrir ce triforium par une charpente; si l'on veut
encore percer des fenêtres au-dessus de ces combles sous les formerets
des grandes voûtes, on sera forcément entraîné à donner une grande
élévation à la nef centrale. Aussi, en analysant la coupe transversale
de la cathédrale de Paris, nous serons frappés de la proportion courte
de chacun des étages de la construction, pour éviter de donner à la nef
principale une trop grande hauteur relativement à sa largeur. Les bas
côtés sont écrasés, le triforium est bas, les fenêtres supérieures
primitives extrêmement courtes, c'est au moyen de ces sacrifices que la
nef centrale de la cathédrale de Paris n'a sous clef qu'un peu moins de
trois fois sa largeur (voy. fig. 27); car il faut observer que cette
largeur des nefs centrales ne pouvait dépasser une certaine limite, à
cause de la maigreur des points d'appui, et du mode de construction des
voûtes maintenues seulement par une loi d'équilibre; les nefs les plus
larges connues n'ont pas plus de 16m,60 d'axe en axe des piles. Cette
nécessité de ne pas élever les voûtes à de trop grandes hauteurs, afin
de pouvoir les maintenir, contribua plus que toute autre chose à engager
les architectes de la fin du XIIe siècle, dans les provinces du nord, à
chercher et trouver un système de voûtes dont les clefs ne dussent pas
dépasser le niveau du sommet des fenêtres supérieures. Mais, nous
l'avons dit déjà, ils étaient embarrassés lorsqu'il fallait poser des
voûtes, même en arcs d'ogives, sur des parallélogrammes. L'ancienne
méthode adoptée dans la voûte d'arête romaine, donnant en projection
horizontale un carré coupé en quatre triangles égaux par les deux
diagonales, ne pouvait être brusquement mise de côté; cette
configuration restait imprimée dans les habitudes du tracé, car il faut
avoir pratiqué l'art de la construction pour savoir combien une figure
géométrique transmise par la tradition a d'empire, et quels efforts
d'intelligence il faut à un praticien pour la supprimer et la remplacer
par une autre. On continua donc de tracer les voûtes nouvelles en arcs
d'ogives sur un plan carré formé d'une couple de travées (24).

Les arcs-doubleaux AB, EF étaient en tiers-point, les arcs diagonaux ou arcs-ogives plein cintre. L'arc CD également en tiers-point, comme les arcs-doubleaux, mais plus aigu souvent. Les clefs des formerets AC, CE, BD, DF atteignaient le niveau de la clef G, et les fenêtres étaient ouvertes sous ces formerets; ce mode de construire les voûtes avait trois inconvénients: le premier, de masquer les fenêtres par la projection des arcs diagonaux AF, BE; le second, de répartir les poussées inégalement sur les piles; car les points ABEF recevant la retombée des arcs-doubleaux et des arcs-ogives étaient bien plus chargés et poussés au vide que les points C et D ne recevant que la retombée d'un seul arc. On plaçait bien sous les points ABEF trois colonnettes pour porter les trois naissances, et une seule sous les points CD; mais les piles inférieures ABCDEF et les arcs-boutants extérieurs étaient pareils comme force et comme résistance; le troisième, de forcer d'élever les murs goutterots fort au-dessus des fenêtres si l'on voulait que les entraits de charpentes pussent passer librement au-dessus des voûtes; car les arcs-ogives AF, BE diagonales d'un carré, bandés sur une courbe plein cintre, élevaient forcément la clef G à une hauteur égale au rayon GB; tandis que les arcs-doubleaux AB, EF quoique bandés sur une courbe en tiers-point, n'élevaient leurs clefs H qu'à un niveau inférieur à celui de la clef G; en outre les triangles AGB, EGF étaient trop grands: il fallait, pour donner de la solidité aux remplissages, que leurs lignes de clefs GH fussent très-cintrées, dès lors les points I s'élevaient encore de près d'un mètre au-dessus de la clef H. Ces voûtes, pour être solides, devaient donc être très-bombées et prendre une grande hauteur; et nous venons de dire que les constructeurs cherchaient à réduire ces hauteurs. C'est alors, vers le commencement du XIIIe siècle, que l'on renonça définitivement à ce système de voûtes et que l'on banda les arcs-ogives dans chaque travée des nefs, ainsi que l'indique la figure 25. Par suite de ce nouveau mode, les piles ABCD furent également poussées et chargées, les fenêtres ouvertes sous les formerets AC, BD, démasquées; les clefs G ne furent élevées qu'à une hauteur égale au rayon AG au-dessus des naissances des arcs; et les triangles ABG, CDG plus petits, purent être remplis sans qu'on fût obligé de donner beaucoup de flèche aux lignes de clefs GH. Il fut facile alors de maintenir les sommets des formerets et les clefs G, H au même niveau, et par conséquent de poser les charpentes immédiatement au-dessus des fenêtres hautes en tenant compte seulement des épaisseurs des clefs des formerets et de la voûte, épaisseurs gagnées à l'extérieur par la hauteur des assises de corniche. La coupe transversale que nous donnons ici (26) sur IK, fait voir comment les constructeurs étaient arrivés dès les premières années du XIIIe siècle à perdre en hauteur le moins de place possible dans la combinaison des voûtes, tout en ménageant des jours supérieurs très-grands destinés à éclairer directement le milieu des nefs.

Il avait fallu cinquante années aux architectes de la fin du XIIe siècle pour arriver des voûtes encore romanes d'Autun et de Vézelay à ce grand résultat; et de ce moment toutes les constructions des édifices religieux dérivent de la disposition des voûtes; la forme et la dimension des piles, leur espacement, l'ouverture des fenêtres, leur largeur et hauteur, la position et la saillie des contre-forts, l'importance de leurs pinacles, la force, le nombre et la courbure des arcs-boutants, la distribution des eaux pluviales, leur écoulement, le système de couverture, tout procède de la combinaison des voûtes. Les voûtes commandent l'ossature du monument au point qu'il est impossible de l'élever, si l'on ne commence par les tracer rigoureusement avant de faire poser les premières assises de la construction. Cette règle est si bien établie que, si nous voyons une église du milieu du XIIIe siècle dérasée au niveau des bases, et dont il ne reste que le plan, nous pourrons tracer infailliblement les voûtes, indiquer la direction de tous les arcs, leur épaisseur. À la fin du XIVe siècle, la rigueur du système est encore plus absolue; on pourra tracer, en examinant la base d'un édifice, non-seulement le nombre des arcs des voûtes, leur direction, et reconnaître leur force, mais encore le nombre de leurs moulures et jusqu'à leurs profils. Au XVe siècle, ce sont les arcs des voûtes qui descendent eux-mêmes jusqu'au sol, et les piles ne sont que des faisceaux verticaux formés de tous les membres de ces arcs. Après cela on se demande comment des hommes sérieux ont pu repousser et repoussent encore l'étude de l'architecture du moyen âge, comme n'étant que le produit du hasard?
Il nous faut revenir sur nos pas, maintenant que nous avons tracé sommairement l'histoire de la voûte, du simple berceau plein cintre et de la coupole, à la voûte en arcs d'ogives. Nous avons vu comment dans les églises de l'Auvergne, d'une partie du centre de la France, de la Bourgogne et de la Champagne, du Xe au XIIe siècle, les bas côtés étaient surmontés souvent d'un triforium voûté, soit par un demi-berceau, comme à Saint-Étienne de Nevers, à Notre-Dame du Port de Clermont, soit par des berceaux perpendiculaires à la nef, comme à Saint-Remy de Reims, soit par des voûtes d'arêtes, comme dans le porche de Vézelay. Nous retrouvons ces dispositions dans quelques églises normandes, à l'abbaye aux Hommes de Caen par exemple, où le triforium est couvert par un berceau butant, qui est plus qu'un quart de cylindre (voy. ARC-BOUTANT, fig. 49). Dans le domaine royal, à la fin du XIIe siècle, pour peu que les églises eussent d'importance, le bas côté était surmonté d'une galerie voûtée en arcs d'ogives, c'était une tribune longitudinale qui permettait, les jours solennels, d'admettre un grand concours de fidèles dans l'enceinte des églises; car par ce moyen la superficie des collatéraux se trouvait doublée. Mais nous avons fait voir aussi comment cette disposition amenait les architectes, soit à élever démesurément les nefs centrales, soit à sacrifier les jours supérieurs ou à ne leur donner qu'une petite dimension. La plupart des grandes églises du domaine royal et de la Champagne, bâties pendant le règne de Philippe Auguste, possèdent une galerie voûtée au-dessus des collatéraux; nous citerons la cathédrale de Paris, les églises de Mantes et de Saint-Germer, les cathédrales de Noyon et de Laon, le choeur de Saint-Remy de Reims, le croisillon sud de la cathédrale de Soissons, etc. Ces galeries de premier étage laissent apparaître un mur plein dans la nef, entre leurs voûtes et l'appui des fenêtres supérieures, afin d'adosser les combles à pentes simples qui les couvrent, comme à Notre-Dame de Paris, à Mantes; ou bien sont surmontées d'un triforium percé dans l'adossement du comble et l'éclairant, comme à Laon, à Soissons, à Noyon. L'architecte de la cathédrale de Paris, commencée en 1168, avait, pour son temps, entrepris une grande tâche, celle d'élever une nef de onze mètres d'ouverture entre les piles, avec doubles bas côtés et galerie supérieure voûtés. Voici comment il résolut ce problème (27).

Il ne donna aux collatéraux qu'une médiocre hauteur; les fenêtres du second collatéral pouvaient à peine alors donner du jour dans les deux bas côtés A, B. La galerie construite au-dessus du collatéral B fut couverte par des voûtes en arcs d'ogives rampantes, de manière à ouvrir de grandes et hautes fenêtres dans le mur extérieur de C en D. La claire-voie E permettait ainsi à ces fenêtres d'éclairer le vaisseau principal, la projection de la lumière suivant la ligne ponctuée DF. Un comble assez plat pour ne pas obliger de trop relever les appuis des fenêtres hautes, couvrit les voûtes de la galerie, le mur GH resta plein, et les fenêtres supérieures ne purent éclairer que les grandes voûtes.

Très-probablement des arcs-boutants à double volée
contre-butaient alors ces grandes voûtes. À l'extérieur, l'aspect de
cette vaste église ne laissait pas que d'être majestueux, plein d'unité,
facile à comprendre (28); mais il n'en était pas de même à l'intérieur,
où apparaissaient de graves défauts de proportion. Les collatéraux sont
non-seulement bas, écrasés, mais ils ont l'inconvénient de présenter des
hauteurs d'arcades à peu près égales à celles de la galerie supérieure;
le mur nu surmontant les archivoltes de premier étage, devait paraître
lourd au-dessus de la claire-voie, et était assez misérablement percé
par les fenêtres perdues sous les formerets des grandes voûtes (29).
Il
semble (et on peut encore se rendre compte de cet effet en examinant la
première travée de la nef laissée dans son état primitif) que les
constructeurs aient été embarrassés de finir un édifice commencé sur un
plan vaste et largement conçu. Jusqu'à la hauteur de la galerie on
trouve dans les moyens d'exécution une sûreté, une franchise qui se
perdent dans les oeuvres hautes, trahissant au contraire une certaine
timidité. C'est qu'en effet, jusqu'aux appuis des fenêtres supérieures,
la tradition des constructions romanes servait de guide, mais à partir
de cette arase il fallait employer un mode de construire encore bien
nouveau.
Ces difficultés et ces défauts n'apparaissent pas au même degré dans les
ronds-points des grands édifices de cette époque; par suite de leur
plantation circulaire, les constructions se maintenaient plus
facilement; les voûtes supérieures n'exerçaient pas dans les absides une
poussée comparable à celle des voûtes des nefs agissant sur deux murs
parallèles, isolés, maintenus sur les piles inférieures par une loi
d'équilibre et non par leur stabilité propre. Ces piles, plus
rapprochées dans les choeurs à cause du rayonnement du plan (voy.
CATHÉDRALE), donnaient une proportion moins écrasée aux arcades des bas
côtés et galeries hautes, les, fenêtres supérieures elles-mêmes, mieux
encadrées par suite du rapprochement des faisceaux de colonnettes
portant les voûtes, ne semblaient pas nager dans un espace vague.
Le rond-point de la cathédrale de Paris, tel que Maurice de Sully l'avait
laissé en 1196, était certainement d'une plus heureuse proportion que
les travées parallèles du choeur ou de la nef, mais ce n'était encore, à
l'intérieur du moins, qu'une tentative, non une oeuvre complète, réussie.
Une construction, moins vaste mais mieux conçue, avait, à la même
époque, été commencée à Soissons par l'évêque Nivelon de Chérisy en
1175; nous voulons parler du croisillon sud de la cathédrale, dont le
choeur et la nef ont été rebâtis ou achevés au commencement du XIIIe
siècle. Ce croisillon est par exception, comme ceux de la cathédrale de
Noyon, en forme d'abside semi-circulaire (voy. TRANSSEPT); une sacristie
ou trésor à deux étages voûtés, le flanque vers sa partie est (30).
Par l'examen du plan on peut reconnaître l'oeuvre d'un savant architecte.
Ce bas côté, composé de piles résistantes sous les nervures de la grande
voûte, et de simples colonnes pour porter les retombées des petites
voûtes du collatéral, est d'une proportion bien plus heureuse que le bas
côté du choeur de Notre-Dame de Paris. La construction est à la fois,
ici, légère et parfaitement solide, et la preuve, c'est qu'elle est
encore bien conservée, malgré la terrible commotion occasionnée par
l'explosion d'une poudrière en 1813. Comme à Notre-Dame de Paris, comme
à Noyon, comme à Saint-Remy de Reims, le collatéral est surmonté d'une
galerie voûtée; mais à Soissons, le mur d'adossement du comble de cette
galerie est décoré par un triforium, passage étroit pris dans
l'épaisseur du mur, les triples fenêtres supérieures remplissent
parfaitement les intervalles entre les piles, sont d'une heureuse
proportion et éclairent largement le vaisseau central. Voici (31) une
travée intérieure de ce rond-point.
Dans le choeur de l'église de Mantes les architectes de la fin du XIIe
siècle avaient, de même qu'à Notre-Dame de Paris, élevé une galerie sur
le collatéral, mais ils avaient voûté cette galerie par une suite de
berceaux en tiers-point reposant sur des linteaux et des colonnes
portées par les arcs-doubleaux inférieurs. Ici les berceaux sont
rampants (32), car les formerets ABC du côté intérieur ayant une base
plus courte que les formerets extérieurs FDE à cause du rayonnement de
l'abside, la clef E est plus élevée que la clef C et ces berceaux sont
des portions de cônes. Cette disposition facilite l'introduction de la
lumière à l'intérieur par de grandes roses ouvertes sous les formerets
FDE. Les exemples que nous avons donnés jusqu'à présent tendent à
démontrer que la préoccupation des constructeurs à cette époque dans le
domaine royal était: 1° de voûter les édifices religieux; 2° de les
éclairer largement; 3° de ne pas se laisser entraîner à leur donner trop
de hauteur sous clef. L'accomplissement de ces trois conditions commande
la structure des petites églises aussi bien que des grandes. Les roses,
qui permettent d'ouvrir des jours larges, sont souvent percées sous les
formerets des voûtes des nefs, au-dessus du comble des bas côtés, comme
dans l'église d'Arcueil par exemple. Bien mieux! dans la Champagne, où
les nefs des églises des bourgs ou villages conservent des charpentes
apparentes jusque vers 1220, on rencontre encore des dispositions telles
que celle indiquée dans la fig. 33. Pour économiser sur la hauteur,
les fenêtres de la nef sont percées au dessus des piles; les
arcs-doubleaux des bas côtés voûtés portent des chéneaux, et ces bas
côtés sont couverts par une succession de combles à doubles pentes
perpendiculaires à la nef, et fermés par des pignons accolés.

Il est difficile de trouver une construction moins dispendieuse pour une contrée où la pierre est rare et le bois commun, prenant une moins grande hauteur proportionnellement à sa largeur, en même temps qu'elle fait pénétrer partout à l'intérieur la lumière du jour. Ce parti fut adopté dans beaucoup de petites églises de Normandie et de Bretagne, mais plus tard et avec des voûtes sur la nef centrale. Dans ce cas, les fenêtres de la nef sont forcément ouvertes au-dessus des archivoltes des collatéraux, afin de faire porter les retombées des grandes voûtes sur les piles, les pignons extérieurs sont à cheval sur les arcs-doubleaux des bas côtés et les chéneaux au milieu des voûtes; les fenêtres éclairant ces bas côtés et percées sous les pignons sont alors jumelles, pour laisser les piles portant les voûtes des bas côtés passer derrière le pied-droit qui les sépare, ou bien se trouvent à la rencontre des pignons, ce qui est fort disgracieux (voy. ÉGLISE). Nous le répétons, les architectes du commencement du XIIIe siècle, loin de prétendre donner une grande hauteur aux intérieurs de leurs édifices, étaient au contraire fort préoccupés, autant par des raisons d'économie que de stabilité, de réduire ces hauteurs. Mais ils n'osaient encore donner aux piles isolées des nefs une élévation considérable. La galerie voûtée de premier étage leur paraissait évidemment utile à la stabilité des grands édifices, elle leur avait été transmise par tradition, et ils ne croyaient pas pouvoir s'en passer; c'était pour eux comme un étrésillonnement qui donnait de la fixité aux piles des nefs; ils n'adoptaient pas encore franchement le système d'équilibre qui devint bientôt le principe de l'architecture gothique.
Dès les premières années du XIIIe siècle la cathédrale de Meaux avait été bâtie; elle possédait des collatéraux avec galerie de premier étage voûtée, et triforium pris, comme au croisillon sud de Soissons, comme à la cathédrale de Laon, dans l'épaisseur du mur d'adossement du comble des galeries. Or, cette église, élevée à la hâte, avait été mal fondée; il se déclara des mouvements tels dans ses maçonneries, peu de temps après sa construction, qu'il fallut y faire des réparations importantes; parmi celles-ci, il faut compter la démolition des voûtes des bas côtés du choeur, en conservant celles de la galerie du premier étage, de sorte que le bas côté fut doublé de hauteur; on laissa toutefois subsister dans les travées parallèles du choeur les archivoltes et la claire-voie de la galerie supprimée, qui continuèrent à étrésillonner les piles parallèlement à l'axe de l'église. Dans le même temps, de 1200 à 1225, on construisait la nef de la cathédrale de Rouen, où l'on établissait bénévolement une disposition semblable à celle qu'un accident avait provoquée à la cathédrale de Meaux, c'est-à-dire qu'on étrésillonnait toutes les piles de la nef entre elles parallèlement à l'axe de l'église à peu près à moitié de leur hauteur, au moyen d'une suite d'archivoltes simulant une galerie de premier étage qui n'existe pas, et n'a jamais existé. À Eu, même disposition. Le choeur de l'église abbatiale d'Eu avait été élevé, ainsi que le transsept et la dernière travée de la nef, avec bas côtés surmontés d'une galerie voûtée de premier étage dans les dernières années du XIIe siècle. La nef ne fut élevée qu'un peu plus tard, vers 1225, et comme à la cathédrale de Rouen, avec un simulacre de galerie seulement, en renonçant aux voûtes des bas côtés et élevant ceux-ci jusqu'aux voûtes de la galerie. Ce n'était donc que timidement, dans quelques contrées du moins, qu'on s'aventurait à donner une grande hauteur aux bas côtés et à supprimer la galerie voûtée de premier étage, ou plutôt à faire profiter les collatéraux de toute la hauteur de cette galerie, en ne conservant plus que le triforium pratiqué dans le mur d'adossement des combles latéraux. Cependant déjà des architectes plus hardis ou plus sûrs de leurs matériaux avaient, dès les premières années du XIIIe siècle, bâti de grandes église, telles que les cathédrales de Chartres et de Soissons, par exemple, sans galerie de premier étage sur les bas côtés, ou sans étrésillonnement simulant ces galeries et rendant les piles des nefs solidaires. Ce qui est certain, c'est qu'au commencement du XIIIe siècle on n'admettait plus les collatéraux bas, qu'on sentait le besoin de les élever, d'éclairer le milieu des nefs par de grandes fenêtres prises dans les murs de ces collatéraux, et que ne voulant pas élever démesurément les voûtes des nefs, on renonçait aux galeries de premier étage, et on se contentait du triforium pratiqué dans le mur d'adossement des combles des bas côtés, en lui donnant une plus grande importance. La cathédrale de Bourges nous donne la curieuse transition des grandes églises à galeries voûtées et à doubles bas côtés, comme Notre-Dame de Paris, aux églises définitivement gothiques, telles que les cathédrales de Reims et d'Amiens, du Mans, et de Beauvais surtout. Bourges, c'est Notre-Dame de Paris moins la galerie de premier étage.

La coupe transversale de cette immense cathédrale que nous donnons ici (34) nous fait voir le premier bas côté A débarrassé de la galerie qui le surmonte à la cathédrale de Paris. Les piles s'élèvent isolées jusqu'aux voûtes qui, à Notre-Dame de Paris, sont au premier étage; les jours B qui à Paris ne peuvent éclairer la nef qu'en passant à travers la claire-voie de la galerie supérieure, éclairent directement la nef à Bourges. Le second bas côté C est seul réduit aux proportions de celui de Paris et s'éclaire par des jours directs D. Deux triforiums EE décorent les murs d'adossement des deux combles FF des deux collatéraux. Les voûtes sont éclairées par les fenêtres G pratiquées, comme à Notre-Dame de Paris, au-dessus du comble du premier bas côté surmonté de sa galerie. C'est à Bourges plus que partout ailleurs, peut-être, qu'on aperçoit les efforts des constructeurs pour restreindre la hauteur des édifices religieux dans les limites les plus strictes. Examinons cette coupe transversale: impossible de construire un bas côté extérieur plus bas que le collatéral C; il faut le couvrir, la hauteur du premier comble F est donnée forcément par les pentes convenables pour de la tuile; il faut éclairer la nef, les fenêtres B sont larges et basses, elles commandent la hauteur du collatéral intérieur A; il faut aussi poser un comble sur les voûtes de ce collatéral, la hauteur de ce comble donne l'appui des fenêtres G; ces fenêtres supérieures elles-mêmes sont courtes, et d'une proportion écrasée, elles donnent la hauteur des grandes voûtes. Même proportion de la nef qu'à la cathédrale de Paris; la nef de Bourges sous clef a environ en hauteur trois fois sa largeur. Ainsi donc, avant de chercher une idée symbolique dans la hauteur des nefs gothiques, voyons-y d'abord une nécessité contre laquelle les constructeurs se débattent pendant cinquante années avant d'arriver à la solution du problème, savoir: d'élever de grands édifices voûtés, d'une excessive largeur, de les rendre stables, de les éclairer, et de donner à toutes les parties de l'architecture une proportion heureuse. Or ce problème est loin d'être résolu à Bourges. Les piles seules de la nef sont démesurément longues, les fenêtres sont courtes, les galeries de triforium écrasées, le premier collatéral hors de proportion avec le second.
Si les doubles collatéraux étaient utiles dans le voisinage du transsept et du choeur, ils étaient à peu près sans usage dans les nefs, ne pouvant servir que pour les processions. On y renonça bientôt; seulement, ne conservant qu'un bas côté dans les nefs des cathédrales, on le fit plus large. L'étroitesse des collatéraux doubles ou simples des églises de la fin du XIIe siècle et du commencement du XIIIe siècle était motivée par la crainte de voir leurs voûtes pousser les piles à l'intérieur (voy. CONSTRUCTION).
Dans le choeur de Beauvais, bâti dix ans plus tard que celui de Bourges, même disposition pour l'unique bas côté qui donne entrée dans les chapelles; un triforium est percé dans l'adossement du comble de ces chapelles, et des fenêtres éclairant directement le choeur, sont ouvertes au-dessus du triforium sous les voûtes. À la cathédrale du Mans le choeur avec double bas côté, bâti pendant la première moitié du XIIIe siècle, présente la même coupe que celui de Bourges, mais beaucoup mieux étudiée, les rapports de proportion entre les deux bas côtés sont meilleurs (voy. CATHÉDRALE), les fenêtres supérieures moins courtes, les chapelles rayonnantes prennent un plus grand développement, tout le système de la construction est plus savant. Mais un parti simple et large devait être adopté dans le domaine royal pour la construction des églises dès 1220. De même que dans les nefs, on remplaçait les doubles bas côtés étroits par un seul bas côté très-large, on renonçait également dans les ronds-points aux deux collatéraux qui obligeaient les constructeurs, comme à Chartres, comme à Bourges, comme au Mans encore, à ne donner aux chapelles rayonnantes qu'une médiocre hauteur. On sentait le besoin d'agrandir ces chapelles et par conséquent de les élever et de les éclairer largement. Si dans la Notre-Dame de Paris de Maurice de Sully, il a existé des chapelles absidales, ce qui est douteux, elles ne pouvaient être que très-petites et basses (voy. ABSIDE). À Bourges et à Chartres ces chapelles ne sont encore que des niches propres à contenir seulement l'autel; elles sont espacées et permettent au collatéral de prendre des jours directs entre elles. À Reims, à Amiens surtout, ces chapelles sont aussi hautes que le bas côté et profitent de tout l'espace compris entre les contre-forts recevant les arcs-boutants supérieurs; elles empiètent même sur leur épaisseur (voy. ARC-BOUTANT, fig. 60. CATHÉDRALE). Alors plus de triforium entre l'archivolte d'entrée de ces chapelles et le formeret des voûtes du bas côté comme à Beauvais, dont le choeur est une exception, le triforium n'existe qu'entre les archivoltes du bas côté et l'appui des fenêtres hautes. Mais ici il nous faut encore retourner en arrière. Nous avons dit et fait voir par des exemples que le triforium, dans les églises bâties de 1160 à 1220, était percé dans les murs d'adossement des combles des bas côtés. Aux XIe et XIIe siècles il s'ouvre sur des galeries voûtées dans les édifices du centre de la France, tels que l'église de Notre-Dame-du-Port (fig. 10). Mais en Champagne, en Normandie, sur le domaine royal, le triforium est une claire-voie donnant simplement sous les charpentes des bas côtés et les éclairant (voy. TRIFORIUM); du milieu de la nef on pouvait donc apercevoir les fermes, les chevrons, et le dessous des tuiles de ces couvertures à travers les arcades du triforium, c'est ainsi dans les cathédrales de Langres, de Sens et dans beaucoup d'églises de second ordre. La vue de ces dessous de charpentes sombres n'était pas agréable, et les combles, ne pouvant être parfaitement clos, laissaient pénétrer dans l'église l'air et l'humidité. Pour éviter ces inconvénients, dès les premières années du XIIIe siècle, le triforium fut fermé du côté des charpentes par un mur mince portant sur des arcs de décharge, et ne devint plus qu'une galerie étroite permettant de circuler en dedans de l'église au-dessous des appuis des grandes fenêtres supérieures. Dans la nef de la cathédrale d'Amiens, à Notre-Dame de Reims, à Châlons, et dans presque toutes les églises du nord dont la construction remonte aux premières années du XIIIe siècle, les choses sont ainsi disposées. Mais au XIIe siècle on avait adopté un mode de décoration des édifices religieux qui prenait une importance considérable; nous voulons parler des vitraux colorés. Les peintures murales, fort en usage dans les siècles antérieurs, ne pouvaient lutter avec ces brillantes verrières, qui, en même temps qu'elles présentaient des sujets parfaitement visibles par les temps les plus sombres, laissaient passer la lumière et atteignaient une richesse et une intensité de couleurs qui faisaient pâlir et effacent même complétement les fresques peintes auprès d'elles. Plus le système de l'architecture adopté forçait d'agrandir les baies, plus on les remplissait de vitraux colorés, et moins il était possible de songer à peindre sur les parties lisses des murs des sujets historiques. Il est question de vitraux colorés dans des édifices religieux fort anciens, à une époque où les fenêtres destinées à les éclairer étaient très-petites; nous ne savons comment étaient traitées ces verrières, puisqu'il n'en existe pas qui soient antérieures au XIIe siècle, mais il est certain qu'avec le mode de coloration et de distribution des verrières les plus anciennes que nous connaissions, il est impossible de faire de la peinture harmonieuse, autre que de la peinture d'ornement. Dans des soubassements, sur des nus de murs, près de l'oeil, les fresques peuvent encore soutenir la coloration translucide des verrières, mais à une grande hauteur, l'effet rayonnant des vitraux colorés est tel qu'il écrase toute peinture modelée. Les tentatives faites depuis peu dans quelques-uns de nos édifices religieux pour allier la peinture murale à sujets avec les vitraux ne font, à notre avis, que confirmer notre opinion. Dans ce cas, ou les vitraux paraissent durs, criards, ou la peinture modelée semble flasque, pauvre et poudreuse. L'ornementation plate dont les couleurs sont très-divisées, et les formes fortement redessinées par de larges traits noirs, ne comportant que des tons francs, simples, est la seule qui puisse se placer à côté des vitraux colorés, et même faire ressortir leur brillante harmonie (voy. PEINTURE, VITRAUX). Préoccupés autant de l'effet décoratif des intérieurs de leurs édifices religieux, que du système de construction qui leur semblait devoir être définitivement adopté, les architectes du XIIIe siècle se trouvaient peu à peu conduits, pour satisfaire aux exigences du nouvel art inauguré par eux, à supprimer tous les nus des murs dans les parties hautes de ces édifices. Ne pouvant harmoniser de larges surfaces peintes avec les vitraux colorés, reconnaissant d'ailleurs que ces vitraux sont certainement la plus splendide décoration qui puisse convenir à des intérieurs de monuments élevés dans des climats où le ciel est le plus souvent voilé, que les verrières colorées enrichissent la lumière pâle de notre pays, font resplendir aux yeux des fidèles une clarté vivante en dépit du ciel gris et triste, ils profitèrent de toutes les occasions qui se présentaient d'ouvrir de nouveaux jours, afin de les garnir de vitraux.

Dans les pignons ils avaient percé des roses qui remplissaient entièrement l'espace laissé sous les voûtes; des formerets ils avaient fait les archivoltes des fenêtres supérieures et inférieures; ne laissant plus entre ces fenêtres que les points d'appui rigoureusement nécessaires pour porter les voûtes, divisant même ces points d'appui en faisceaux de colonnettes afin d'éviter les surfaces plates, ils ouvrirent aussi les triforiums et en firent des claires-voies vitrées. Cette transition est bien sensible à Amiens. La nef de la cathédrale d'Amiens, élevée de 1230 à 1240, possède un triforium avec mur d'adossement plein derrière les combles des bas côtés (35); et l'oeuvre haute du choeur bâtie de 1255 à 1265, nous montre un triforium à claire-voie vitrée; de sorte qu'il n'existe plus dans ce choeur ainsi ajouré, en fait de murs lisses, que les triangles compris entre les archivoltes des bas côtés, les faisceaux des piles, et l'appui du triforium; c'est-à-dire une surface de vingt mètres de nus, pour une surface de huit cents mètres environ de vides ou de piles divisées en colonnettes.

Les parties supérieures du choeur de la cathédrale d'Amiens ne marquent pas la première tentative d'un triforium ajouré. Déjà les architectes du choeur de la cathédrale de Troyes, de la nef et du choeur de l'église abbatiale de Saint-Denis, bâtis vers 1240, avaient considéré le triforium comme une véritable continuation de la fenêtre supérieure; nous donnons (36) une travée perspective de la nef de l'église abbatiale de Saint-Denis, qui fait comprendre ce dernier parti, adopté depuis lors dans presque toutes les grandes églises du domaine royal. Mais pour vitrer et laisser passer la lumière par la claire-voie pratiquée en A dans l'ancien mur d'adossement du comble du bas côté, il était nécessaire de supprimer le comble à pente simple, de le remplacer par une couverture B à double pente, ou par une terrasse. L'établissement du comble à double pente exigeait un chéneau en C, et des écoulements d'eau compliqués. Ainsi, en se laissant entraîner aux conséquences rigoureuses du principe qu'ils avaient admis, les architectes du XIIIe siècle, chaque fois qu'ils voulaient apporter un perfectionnement dans leur mode d'architecture, étaient amenés à bouleverser leur système de construction, de couverture, d'écoulement des eaux; et ils n'hésitaient jamais à prendre un parti franc.
Dans les édifices religieux de l'époque romane, les eaux des combles
s'écoulaient naturellement par l'égout du toit sans chéneaux pour les
recueillir et les conduire à l'extérieur. La pluie qui fouette sur le
grand comble A (37) s'égoutte sur les toitures des bas côtés B, et de là
tombe à terre. Dès le commencement du XIIe siècle on avait reconnu déjà
dans les climats pluvieux, tels que la Normandie, les inconvénients de
ce système primitif, et l'on avait établi des chéneaux à la base des
combles des bas côtés seulement en C, avec gargouilles saillantes en
pierre dénuées de sculpture. Mais lorsque l'on se mit à élever de
très-vastes églises, la distance entre les combles A et B était telle
que l'eau, poussée par le vent, venait frapper les murs, les vitres des
fenêtres largement ouvertes, et pénétrait à l'intérieur; les tuiles
dérangées par le vent tombaient du comble supérieur sur les combles des
bas côtés, et causaient des dommages considérables aux couvertures; de
1200 à 1220 des assises formant chemin de couronnement, furent posées à
la base des grands combles, et les eaux s'échappèrent le long des
larmiers dont les saillies étaient très-prononcées (voy. LARMIER,
CHÉNEAU). C'est ainsi que les écoulements d'eaux pluviales sont disposés
à la cathédrale de Chartres. Bientôt on creusa ces assises de
couronnement posées à la base des combles, en chéneaux dirigeant les
eaux par des gargouilles saillantes au droit des arcs-boutants munis de
caniveaux (voy. ARC-BOUTANT); puis ces chéneaux furent bordés de
balustrades, ce qui permettait d'établir au sommet de l'édifice une
circulation utile pour surveiller et entretenir les toitures, d'opposer
un obstacle à la chute des tuiles ou ardoises des combles supérieurs sur
les couvertures basses. Plus les édifices religieux devenaient
importants, élevés, et plus il était nécessaire de rendre l'accès facile
à toutes hauteurs, soit pour réparer les toitures, les verrières et les
maçonneries à l'extérieur, soit pour tendre et orner les intérieurs lors
des grandes solennités. Ce n'était donc pas sans raisons que l'on
établissait à l'extérieur une circulation assez large dans tout le
pourtour des édifices religieux; à la base des combles des collatéraux
en D (fig. 35 et 36), au-dessus du triforium en E, à la base des grands
combles en F; à l'intérieur en G dans le triforium. Pour ne pas
interrompre la circulation au droit des piles dans les grands édifices
religieux du XIIIe siècle on ménageait un passage à l'intérieur dans le
triforium derrière les piles en H, à l'extérieur en I entre la pile et
la colonne recevant l'arrivée de l'arc-boutant. Plus tard les
constructeurs ayant reconnu que ces passages avaient nui souvent à la
stabilité des édifices, montèrent leurs piles pleines, faisant
pourtourner les passages dans le triforium et au-dessus, derrière ces
piles, ainsi qu'on peut l'observer dans les cathédrales de Narbonne et
de Limoges; mais alors les bas côtés étaient couverts en terrasses
dallées (38).
Des besoins nouveaux, l'expérience des constructeurs, des habitudes de richesse et de luxe, modifiaient ainsi rapidement l'architecture religieuse pendant le XIIIe siècle. Dans le domaine royal on remplaçait toutes les anciennes églises romanes par des monuments conçus d'après un mode tout nouveau. Les établissements religieux qui, pendant le XIIe siècle, avaient jeté un si vif éclat, et qui, possesseurs alors de biens immenses, avaient élevé de grandes églises, penchant vers leur déclin déjà au XIIIe siècle, laissaient seuls subsister les monuments qui marquaient l'époque de leur splendeur; les prieurés, les paroisses pauvres conservaient par force leurs églises romanes, en remplaçant autant qu'il était possible les charpentes par des voûtes, commençant des reconstructions partielles que le manque de ressources les obligeait de laisser inachevées souvent; mais tous, riches ou pauvres, étaient possédés de la fureur de bâtir, et de remplacer les vieux édifices romans par d'élégantes constructions élevées avec une rapidité prodigieuse. Les évêques étaient à la tête de ce mouvement et faisaient, dans toutes les provinces du nord, rebâtir leurs cathédrales sur de nouveaux plans que l'on venait modifier et amplifier encore à peine achevées. Les grandes cathédrales élevées de 1160 à 1240, n'étaient pourvues de chapelles qu'au chevet. Les nefs, ainsi que nous l'avons dit plus haut, n'étaient accompagnées que de collatéraux doubles ou simples. La cathédrale de Paris, entre autres, était dépourvue de chapelles même au rond-point probablement; celles de Bourges et de Chartres n'ont que de petites chapelles absidales pouvant à peine contenir un autel. En 1230 la cathédrale de Paris était achevée (voy. CATHÉDRALE), et en 1240 déjà on crevait les murs des bas côtés de la nef pour établir des chapelles éclairées par de larges fenêtres à meneaux entre les saillies des contre-forts. Cette opération était continuée vers 1260 sur les côtés parallèles du choeur, les deux pignons du transsept étaient entièrement reconstruits avec roses et claires-voies au-dessous, les fenêtres supérieures de la nef et du choeur élargies et allongées jusqu'au-dessus des archivoltes de la galerie de premier étage; par suite, les voûtes de cette galerie modifiées, et enfin au commencement du XIVe siècle on établissait de grandes chapelles tout autour du rond-point. Tel était alors le désir de satisfaire aux besoins et aux goûts du moment, que l'on n'hésitait pas à reprendre de fond en comble un immense édifice tout neuf, pour le mettre en harmonie avec les dernières dispositions adoptées. Toutefois la construction des chapelles de la nef de la cathédrale de Paris, devance de beaucoup l'adoption de ce parti dans les autres églises du domaine royal. À Reims, la nef, dont la partie antérieure date de 1250 environ, n'a pas de chapelles; à Amiens on ne les établit que pendant le XIVe siècle; à cette époque on n'admettait plus guère de bas côtés sans chapelles, les plans des nefs des cathédrales de Clermont-Ferrand, de Limoges, de Narbonne, de Troyes, ont été conçus avec des chapelles. Ceux des cathédrales de Laon, de Rouen, de Coutances, de Sens, sont modifiés pour en recevoir, de 1300 à 1350.
Les nefs des églises appartenant à la règle de Cluny étaient précédées d'une avant-nef ou porche fermé, ayant une très-grande importance, comme à Vézelay, à la Charité-sur-Loire, à Cluny même, ces porches étaient surmontés de deux tours; quatre tours accompagnaient en outre les deux croisillons du transsept, et un clocher central couronnait la croisée. Cette disposition, qui date du XIIe siècle, n'est pas adoptée dans les églises de la règle de Cîteaux; les nefs ne sont précédées que d'un porche bas, fermé aussi, mais peu profond; le pignon de la façade n'est pas flanqué de tours, non plus que les bras de la croisée; une seule flèche s'élève sur le milieu du transsept; ainsi étaient les églises de Clairvaux, de Fontenay, de Morimond, de Pontigny, etc. Ce luxe de tours ne pouvait convenir à l'austérité de la règle de Cîteaux: les religieux de cet ordre n'admettaient que le strict nécessaire; un seul clocher sur le milieu de l'église devait suffire aux besoins du monastère (voy. ARCHITECTURE MONASTIQUE). Les cathédrales du domaine royal, à la fin du XIIe siècle, prirent aux grandes églises monastiques une partie de leurs dispositions, en repoussèrent d'autres. Elles devaient être largement ouvertes à la foule, ces porches fermés, resserrés, interceptant les issues, si bien appropriés aux besoins des monastères, ne convenaient pas aux cathédrales; on y renonça. On se contenta de porches très-ouverts comme à la cathédrale de Laon, comme à celle de Chartres (voy. cette CATHÉDRALE), ou même vers le commencement du XIIIe siècle, de portails évasés, s'ouvrant directement sur les parvis comme à la cathédrale de Paris, à Amiens, à Reims, à Sens, à Séez, à Coutances, à Bourges, etc. Mais telle était l'influence des grandes églises abbatiales dans les provinces, que nous voyons leurs dispositions se perpétuer dans les cathédrales, les collégiales ou les simples paroisses élevées dans leur voisinage. Les porches de Cluny et de Cîteaux se retrouvent dans la cathédrale d'Autun, voisine de Cluny, dans la collégiale de Beaune, dans les églises de Bourgogne et du Mâconnais; seulement ces porches s'ouvrent sur leurs trois faces, et ne forment plus une avant-nef fermée. La règle de Cîteaux a sur les constructions religieuses une influence plus marquée encore, autour de ses grands établissements. Dans le domaine royal les cathédrales adoptent les tours des grandes églises bénédictines clunisiennes. La cathédrale de Laon possédait et possède encore en partie deux tours couronnées de flèches sur la façade, quatre tours aux extrémités des bras de croix, et une tour carrée sur les arcs-doubleaux de la croisée centrale. Chartres présente la même disposition, sauf la tour centrale; Reims, cette reine des églises françaises, avant l'incendie de la fin du XVe siècle était munie de ses six tours, et d'un clocher central terminé par une flèche en bois; de même à Rouen. C'est en Normandie surtout que les tours centrales avaient pris une grande importance dans les églises monastiques comme dans les cathédrales ou les paroisses, et leurs étages décorés de galeries à jour se voyaient de l'intérieur, formant comme une immense lanterne donnant de l'air, de la lumière et de l'espace au centre de l'édifice. Les églises de Saint-Étienne et de la Trinité de Caen, de l'abbaye de Jumiéges, les cathédrales de Coutances, de Bayeux 36, et quantité de petites églises, possèdent des tours centrales qui font ainsi partie du vaisseau intérieur, et ne sont pas seulement des clochers, mais plutôt des coupoles on lanternes donnant de la grandeur et de la clarté au centre de l'édifice. En revanche, les clochers de façade des églises, normandes sont étroits, terminés par des flèches en pierre d'une excessive acuité. Dans l'Ile-de-France, les tours centrales sont rares; quand elles existent, ce sont plutôt des clochers terminés par des flèches en bois, mais ne se voyant pas à l'intérieur des édifices, tandis que les tours des façades sont larges, hautes, construites avec luxe, puissamment empatées, comme dans les églises de Notre-Dame de Paris et de Mantes (voy. TOUR, FLÈCHE, CLOCHER).
À l'est de la France, sur les bords du Rhin, là où l'architecture
carlovingienne laissait des monuments d'une grande importance, pendant
les XIe et XIIe siècles, des églises avaient été élevées suivant un mode
particulier comme plan et comme système de construction. Plusieurs de
ces monuments religieux possédaient deux absides en regard, l'une à
l'est, l'autre à l'ouest. C'était là une disposition fort ancienne dont
nous trouvons des traces dans l'Histoire de Grégoire de Tours
37. Comme
pour appuyer le texte de cet auteur, nous voyons encore à la cathédrale
de Nevers une abside et un transsept du côté de l'est qui datent du XIe
siècle; le sol de cette abside est relevé sur une crypte ou confession.
L'auteur du plan de l'abbaye de Saint-Gall (voy. ARCHITECTURE
MONASTIQUE), dans le curieux dessin du IXe siècle parvenu jusqu'à nous,
trace une grande et une petite église, chacune avec deux absides, l'une
du côté de l'entrée, l'autre pour le sanctuaire. Sur le territoire
carlovingien par excellence, les cathédrales de Trêves et de Mayence,
l'église abbatiale de Laach (XIe, XIIe et XIIIe siècles) entre autres,
possèdent des absides à l'occident comme à l'orient. Les cathédrales de
Besançon et de Verdun présentaient des dispositions pareilles, modifiées
aujourd'hui, mais dont la trace est parfaitement visible; cette dernière
cathédrale même se trouve avoir deux transsepts en avant de ses absides,
et quatre tours plantées dans les angles rentrants formés par les
transsepts accompagnaient les deux ronds-points. Des escaliers à vis,
d'une grande importance, flanquaient les deux tours du côté de l'ouest;
ce parti se trouve plus franchement accusé encore dans l'église
cathédrale de Mayence, dans l'église abbatiale de Laach, et est indiqué
déjà dans le plan de l'abbaye de Saint-Gall. Lorsque l'on visite la
cathédrale de Strasbourg on est frappé de l'analogie des constructions
du choeur avec celles des cathédrales de Mayence et de Spire, et il y a
lieu de croire qu'au XIIe siècle Notre-Dame de Strasbourg possédait ses
deux absides comme la plupart des grandes églises rhénanes. Voici (39)
le plan de la cathédrale de Verdun telle qu'elle était à la fin du XIIe
siècle, et débarrassée de toutes les adjonctions qui la dénaturent
aujourd'hui; en A est le sanctuaire autrefois fort élevé au-dessus du
sol de la nef, avec crypte au-dessous, comme à Spire, à Mayence, à
Besançon et à Strasbourg. Il existe encore à Verdun des traces de cette
crypte ou confession sous les chapelles B qui étaient relevées au niveau
du sanctuaire; en C le transsept de l'est, D la nef, E l'entrée
ancienne, F le transsept de l'ouest, G l'abside occidentale, convertie
aujourd'hui en vestibule; en H un cloître; en B et en I des tours.
Probablement il existait au centre du transsept de l'est, en C, une
coupole à pans coupés portée sur des arcs posés en gousset ou sur des
trompillons, comme à Spire, à Mayence et à Strasbourg. On le voit, ces
dispositions ne rappelaient nullement celles adoptées au XIIe siècle
dans les églises du domaine royal, de la Normandie, du Poitou et de
l'Aquitaine. Il entrait dans ces plans un élément étranger aux
traditions latines, et cet élément avait été introduit dans l'Austrasie
dès l'époque de Charlemagne; c'était, on n'en peut guère douter, le
produit d'une influence orientale, comme un mélange de la basilique
latine et du plan de Sainte-Sophie de Constantinople. Mais si les
architectes de l'Austrasie, par suite des traditions qui leur avaient
été transmises, n'éprouvaient plus, au XIe siècle, de difficultés pour
voûter les absides et les coupoles des transsepts, ils se trouvaient
dans le même embarras que tous leurs confrères de l'Occident, lorsqu'il
fallait voûter des nefs établies sur le plan latin; d'un autre côté, par
cela même qu'ils n'avaient pas cessé de faire des voûtes, et que les
traditions romaines s'étaient assez bien conservées en Austrasie, ils
firent l'application de la voûte d'arête antique avec moins d'hésitation
que les constructeurs de l'Ile-de-France et de la Champagne; ils
arrivaient à la construire sans avoir passé par la voûte en berceau
comme les architectes bourguignons et des provinces du centre, et sans
chercher dans l'arc en tiers-point un moyen de diminuer les poussées.
Aussi, dans les provinces de l'ancienne Austrasie, la courbe en
tiers-point ne vient-elle que fort tard, ou exceptionnellement, non
comme une nécessité, mais comme le résultat d'une influence, d'une
mode irrésistible, vers le milieu du XIIIe siècle. Entre les monuments
purement rhénans et les cathédrales de Strasbourg et de Cologne par
exemple, à peine si l'on aperçoit une transition; il y a continuation du
mode roman de l'est jusqu'au moment où l'architecture du domaine royal
étudiée, complète et arrivée à son dernier degré de perfection, fait une
brusque invasion, et vient poser ses règles sur les bords du Rhin comme
dans toutes les provinces de France. On rencontre bien parfois dans les
provinces austrasiennes l'application du style adopté au commencement du
XIIIe siècle dans le domaine royal, mais ce ne sont que les formes de
cette architecture et non son principe qui sont admis, et cela est bien
frappant dans la grande salle ronde bâtie au nord de la cathédrale de
Trêves, où l'on voit toutes les formes, les profils et l'ornementation
de l'architecture française du commencement du XIIIe siècle, adaptés à
un plan et à des dispositions de constructions qui appartiennent aux
traditions carlovingiennes.
Examinons donc comment les constructeurs lorrains ou plutôt des provinces situées entre le Rhin, la Champagne et les Flandres, avaient procédé au XIe siècle, pour résoudre ce problème tant cherché de l'établissement des voûtes sur les nefs des basiliques latines. Nous l'avons dit, pour les absides dont la partie semi-circulaire, sans bas côtés et sans chapelles rayonnantes, était voûtée en cul-de-four, et dont les côtés parallèles étaient puissamment épaulés par des tours carrées construites sur les petites chapelles s'ouvrant dans les croisillons du transsept, nulle difficulté; mais pour les nefs avec leurs collatéraux, il fallait appliquer, lorsque l'on renonça aux charpentes apparentes (car dans ces contrées, comme partout, les incendies ruinaient les édifices religieux de fond en comble), un système de voûtes qui ne poussât pas les murs en dehors. C'est dans une pauvre église peu visitée que nous allons suivre pas à pas les tentatives des constructeurs de l'Alsace et de la Lorraine.

Il est intéressant d'étudier certains édifices, peu importants d'ailleurs, mais qui, par les modifications qu'ils ont subies, donnent l'histoire et les progrès d'un art. Telle est la cathédrale de Saint-Dié. Bâtie pendant la seconde moitié du XIe siècle, cette église présentait probablement alors la disposition du plan rhénan adopté dans la cathédrale de Verdun; l'abside de l'est fut rebâtie au XIVe siècle sur les fondements anciens; quant à l'abside de l'ouest, elle a été remplacée, si jamais elle fut élevée, par une façade moderne; mais la partie la plus intéressante pour nous aujourd'hui, la nef, existe encore; voici (40) le plan de cette nef. Nous avons indiqué en noir les constructions du XIe siècle, et en gris les modifications apportées au plan primitif pendant le XIIe siècle: les piles AB supportaient des voûtes d'arêtes construites suivant le mode romain, c'est-à-dire par la pénétration de deux demi-cylindres, et séparées entre elles par des arcs-doubleaux; des fenêtres jumelles éclairaient la nef sous les formerets de ces voûtes qui étaient contre-butées par des arcs-doubleaux latéraux bandés de A en C et de B en D; les parallélogrammes ACDB étaient couverts par un plafond rampant formé simplement de chevrons, ainsi que l'indique la figure 41.

Mais alors, si la nef centrale était voûtée facilement par suite de la disposition carrée de chaque travée ABBA, les collatéraux ne pouvaient l'être que par une voûte oblongue, et la difficulté qui avait arrêté les architectes de la Champagne quand ils avaient voulu voûter les nefs centrales, évitée dans ce cas pour celles-ci, se reproduisait dans les bas côtés. En admettant même que les obstacles qui empêchaient de faire des voûtes d'arêtes sur un plan parallélogramme eussent été franchis en faisant pénétrer des demi-cylindres dont le diamètre eût été CA, dans de grands demi-cylindres dont le diamètre eût été AB, les formerets CD eussent eu leur clef au niveau des archivoltes AB; dès lors les combles, par leur inclinaison, seraient venus masquer les fenêtres jumelles percées sous les formerets des grandes voûtes. Le système de chevronnage posé simplement de AB en CD et formant plafond rampant, avait l'avantage de ne pas perdre la hauteur du comble des bas côtés.

Ces charpentes furent détruites par un incendie, et au XIIe siècle les
constructeurs, renonçant aux plafonds rampants, voulurent aussi voûter
les bas côtés; ils établirent alors entre les piles du XIe siècle (fig.
40) des piles plus minces E pour obtenir des plans EBDF carrés, sur
lesquels ils purent sans difficulté faire des voûtes d'arêtes composées
de demi-cylindres égaux se pénétrant, et dont les clefs ne s'élevaient
pas assez pour les empêcher de trouver la hauteur d'un comble de H en K
(fig. 42)
38. Cette disposition de voûtes d'arêtes à plan carré sur les
nefs et sur les bas côtés au moyen de la pile intermédiaire posée entre
les piles principales, se retrouve au XIIe siècle dans les cathédrales
de Mayence, de Spire, dans la curieuse église de Rosheim, et dans
beaucoup d'édifices religieux d'Alsace et de Lorraine, non plus comme à
Saint-Dié obtenue par suite d'une modification au plan primitif, mais
définitivement admise, comme un procédé pour voûter à la fois les nefs
centrales et les collatéraux; et ce problème une fois résolu, les
constructeurs lorrains et alsaciens l'appliquèrent jusqu'au moment où
l'architecture du domaine royal fit invasion chez eux.
Avant d'aller plus loin, nous devons expliquer ce que nous entendons par influence byzantine, architecture byzantine, pour faire comprendre comment cette influence s'exerce sur l'architecture religieuse du territoire compris entre le Rhin, le Rhône et l'Océan.

Il existe en Orient trois plans types qui ont été appliqués aux églises; le plus ancien est le plan circulaire, dont le Saint-Sépulcre de Jérusalem est un des modèles les plus connus. Le second type est un dérivé de la basilique antique, mais avec transsept terminé par deux absides, telle est l'église de la Nativité du couvent de Bethléem (43). Le troisième est le plan byzantin proprement dit, se composant d'une coupole centrale posée sur pendentifs avec quatre ouvertures vers les quatre points cardinaux, galeries latérales, une ou trois absides à l'est, et narthex du côté de l'entrée. Telle est l'église de Sergius à Constantinople (44), antérieure à la grande église de Sainte-Sophie que nous donnons ici (45).

Telle sont, avec certaines modifications, les
petites églises d'Athènes dont nous présentons l'un des types (église de
Kapnicarea) (46). Ces monuments, bien que très-différents par leurs
dimensions et la manière dont ils sont construits, dérivent du même
principe.
C'est toujours la coupole centrale sur pendentifs, épaulée par
des voûtes latérales en berceau, ou d'arêtes, ou en quart de sphère.
L'église circulaire terminée par une coupole avec jour central ou
fenêtres percées à la base de la voûte, était plutôt un lieu consacré,
une enceinte destinée à conserver soit des traces divines, comme
l'église de l'ascension à Jérusalem
39, soit une sépulture, comme le
Saint-Sépulcre, qu'une église dans la véritable acception du mot.
Cependant cette forme primitive, adoptée dès l'époque de Constantin, eut
une influence sur tous les édifices chrétiens élevés en Orient, dans
lesquels on retrouve toujours la coupole centrale, à moins que par
exception, comme dans l'église de Bethléem, le parti de la basilique
romaine n'ait été presque complétement appliqué (43).
Dès les premiers siècles du christianisme, il semblerait que le plan circulaire adopté en Orient eût aussi exercé en Occident une influence notable sur l'architecture religieuse. Sans parler des nombreux édifices circulaires qui, sous le règne de Constantin, furent élevés à Rome et qui, après tout, étaient romains aussi bien que le Saint-Sépulcre; du Ve au XIIe siècle on bâtit en Occident un assez grand nombre d'églises rondes. À Paris, Childebert fit bâtir l'église Saint-Vincent (aujourd'hui Saint-Germain l'Auxerrois), que l'on désignait sous le nom de Saint-Vincent le Rond 40. À la gauche du portail de la cathédrale de Paris il existait une chapelle qui avait conservé le nom de Saint-Jean le Rond 41.
À l'abbaye Saint-Bénigne de Dijon, on voit encore l'étage inférieur de la rotonde commencée au VIIe siècle derrière l'abside de l'église. Cette rotonde avait trois étages compris la crypte, avec galeries de pourtour comme le Saint-Sépulcre 42. Charlemagne avait élevé l'église circulaire d'Aix-la-Chapelle, imitée au XIIe siècle dans l'abbaye d'Ottmarsheim. Au XIe siècle, à Neuvy-Saint-Sépulcre, près Châteauroux, on jetait les fondements d'une église reproduisant les dispositions du Saint-Sépulcre de Jérusalem. Au XIIe siècle, on construisait la grande église abbatiale de Charroux, dont la nef se terminait par une immense rotonde avec bas côtés triples (voy. SAINT-SÉPULCRE). À la même époque, au fond du Languedoc, l'église de Rieux-Minervois s'élevait sur un plan circulaire précédé d'un petit porche. Et Comme pour faire ressortir l'importance de certaines traditions, nous voyons encore en plein XVIe siècle; Catherine de Médicis faire construire au nord de l'église abbatiale de Saint-Denis-en-France, un monument circulaire avec bas côté à deux étages, comme le Saint-Sépulcre de Jérusalem, pour abriter la sépulture de son époux et de ses successeurs. Quand l'ordre religieux et militaire du Temple fut institué, les commanderies de cet ordre prirent comme type de leurs églises ou plutôt de leurs chapelles (car ces monuments sont tous d'une petite dimension), le plan du Saint-Sépulcre de Jérusalem (voy. TEMPLE). Mais si l'on peut considérer ces édifices circulaires comme procédant d'une influence orientale, puisque l'édifice mère qui leur servait d'original était en Orient, on ne peut toutefois les regarder comme byzantins, puisque le Saint-Sépulcre de Jérusalem est un monument de la décadence romaine. De même, si nous prenons l'église du monastère de Bethléem comme le type qui, au XIIe siècle, a fait élever les églises à transsepts terminés par des absides semi-circulaires, telles que les cathédrales de Noyon, de Soissons, de Bonn sur le Rhin, de l'église de Saint-Macaire sur la Garonne, nous ne pouvons guère non plus considérer cette influence comme orientale, puisque l'église de la Nativité de Bethléem est une basilique romaine couverte par une charpente apparente, et ne différant de Saint-Paul-hors-les-murs, par exemple, que par les deux absides ouvertes dans les deux pignons de la croisée.
Les véritables types byzantins, c'est Sainte-Sophie de Constantinople, ce sont les petites églises de Grèce et de Syrie, élevées depuis le règne de Justinien, ce sont les églises à coupole portée sur quatre pendentifs (voy. PENDENTIF). Or ces monuments n'ont une influence directe bien marquée que sur les bords du Rhin, par suite de la prépondérance donnée aux arts d'Orient par Charlemagne, dans la partie occidentale de l'Aquitaine surtout, par l'imitation de Saint-Marc de Venise, et en Provence par les relations constantes des commerçants des Bouches-du-Rhône avec la Grèce, Constantinople et le littoral de l'Adriatique. Partout ailleurs si l'influence byzantine se fait sentir, c'est à l'insu des artistes pour ainsi dire, c'est par une infusion plus ou moins prononcée due, en grande partie, à l'introduction d'objets d'art, d'étoffes, de manuscrits orientaux dans les différentes provinces des Gaules, ou par des imitations de seconde main, exécutées par des architectes locaux. Aux XIe et XIIe siècles les relations de l'Occident avec l'Orient étaient comparativement beaucoup plus suivies qu'elles ne le sont aujourd'hui. Sans compter les croisades, qui précipitaient en Orient des milliers de Bretons, d'Allemands, de Français, d'Italiens, de Provençaux, il ne faut pas perdre de vue l'importance des établissements religieux orientaux, qui entretenaient des rapports directs et constants avec les monastères de l'Occident; le commerce; l'ancienne prépondérance des arts et des sciences dans l'empire byzantin; l'extrême civilisation des peuples arabes; la beauté et la richesse des produits de leur industrie; puis enfin, pour ce qui touche particulièrement à l'architecture religieuse, la vénération que tous les chrétiens occidentaux portaient aux édifices élevés en terre sainte. Un exemple, au premier abord, reposant sur une base bien fragile, mais qui, par le fait, est d'une grande valeur, vient particulièrement appuyer ces dernières observations, et leur ôter ce qu'elles pourraient avoir d'hypothétique aux yeux des personnes qui, en archéologie, n'admettent avec raison que des faits. Dans l'ancienne église Saint-Sauveur de Nevers, écroulée en 1839, existait un curieux chapiteau du commencement du XIIe siècle, sur lequel était sculptée une église que nous donnons ici (47). Cette église est complétement byzantine; coupole au centre, portée sur pendentifs que le sculpteur a eu le soin d'indiquer naïvement par les arcs-doubleaux apparaissant à l'extérieur, à la hauteur des combles; transsept terminé par des absides semi-circulaires, construction de maçonnerie qui rappelle les appareils ornés des églises grecques; absence de contre-forts, si apparents à cette époque, dans les églises françaises; couvertures qui n'ont rien d'occidental; clocher cylindrique planté à côté de la nef, sans liaison avec elle, contrairement aux usages adoptés dans nos contrées et conformément à ceux de l'Orient; porte carrée, non surmontée d'une archivolte; petites fenêtres cintrées; rien n'y manque, c'est là un édifice tout autant byzantin que Saint-Marc de Venise, qui n'a de byzantin que ses coupoles à pendentifs et son narthex, et qui, comme plan, rappelle une seule église orientale détruite aujourd'hui, celle des Saints-Apôtres 43.

Or à Nevers, au XIIe siècle, voici un ouvrier sculpteur qui, sur un chapiteau, figure une église que l'on croirait être un petit modèle venu d'Orient; ou bien ce sculpteur avait été en Grèce ou en Syrie, ou on lui avait remis, pour être reproduit, un fac-similé d'une église byzantine; dans l'un comme dans l'autre cas, ceci prouve qu'à cette époque, au milieu de contrées où les monuments religieux construits n'ont presque rien qui rappelle l'architecture byzantine, ni comme plan, ni comme détail d'ornementation, on savait cependant ce qu'était une église byzantine, les arts d'Orient n'étaient pas ignorés et devaient par conséquent exercer une influence. Seulement, ainsi que nous l'avons dit déjà (voy. ARCHITECTURE), cette influence ne se produit pas de la même manière partout. C'est un art plus ou moins bien étudié et connu, dont chaque contrée se sert suivant les besoins du moment, soit pour construire, soit pour disposer, soit pour décorer ses édifices religieux. Dans le Périgord, l'Angoumois, une partie du Poitou et de la Saintonge, c'est la coupole sur pendentifs qui est prise à l'Orient. En Auvergne, c'est la coupole sur trompes formée d'arcs concentriques, les appareils façonnés et multicolores. Sur les bords du Rhin, ce sont les grandes dispositions des plans, l'ornementation de l'architecture qui reflètent les dispositions et l'ornementation byzantines; en Provence, la finesse des moulures, les absides à pans coupés qui rappellent les églises grecques. En Normandie et en Poitou, on retrouve comme une réminiscence des imbrications, des zigzags, des combinaisons géométriques, et des entrelacs si fréquents dans la sculpture chrétienne d'Orient.
Les croisades n'ont qu'une bien faible part dans cette influence des arts byzantins sur l'Occident, car c'est précisément au moment où les guerres en Orient prennent une grande importance, que nous voyons l'architecture occidentale abandonner les traditions gallo-romaines ou byzantines pour se développer dans un sens complétement nouveau. On s'explique comment l'architecture religieuse, tant qu'elle resta entre les mains des clercs, dut renfermer quelques éléments orientaux, par la fréquence des rapports des établissements religieux de l'Occident avec la terre sainte et tout le Levant, ou le nord de l'Italie, qui, plus qu'aucune autre partie du territoire occidental, avait été envahie par les arts byzantins 44. Mais quand les arts de l'architecture furent pratiqués en France par des laïques, vers le milieu du XIIe siècle, ces nouveaux artistes étudièrent et pratiquèrent leur art sans avoir à leur disposition ces sources diverses auxquelles les architectes appartenant à des ordres religieux avaient été puiser. Ils durent prendre l'architecture là où les monastères l'avait amenée, ils profitèrent de cette réunion de traditions accumulées par les ordres monastiques, mais en faisant de ces amalgames, dans lesquels les éléments orientaux et occidentaux se trouvaient mélangés à doses diverses, un art appartenant au génie des populations indigènes.
L'architecture religieuse se développe dans les provinces de France en raison de l'importance politique des évêques ou des établissements religieux. Dans le domaine royal, les monastères ne pouvaient s'élever à un degré d'influence égal à celui de la royauté. Mais des établissements tels que Cluny étaient en possession aux XIe et XIIe siècles d'une puissance bien autrement indépendante et étendue que celle du roi des Français. Un souverain, si faible de caractère qu'on le suppose, n'eût pu tolérer dans son domaine une sorte d'État indépendant, ne relevant que du Saint-Siége, se gouvernant par ses propres lois, ayant de nombreux vassaux, sur lesquels le roi n'exerçait aucun droit de suzeraineté. Aussi voyons-nous dans le domaine royal les évêques qui, au temporel, étaient de véritables seigneurs féodaux, luttant souvent eux-mêmes contre le pouvoir immense des abbés, acquérir une puissance très-étendue sous la suzeraineté royale. L'épiscopat, ayant vis-à-vis la royauté les caractères de la vassalité, ne lui portait pas ombrage, et profitait de sa puissance naissante. C'est aussi dans le domaine royal que les grandes cathédrales s'élèvent en prenant, comme monuments religieux, une importance supérieure à celle des églises abbatiales, tandis qu'en dehors du territoire royal, ce sont au contraire les églises abbatiales qui dominent les cathédrales. Comme seigneurs féodaux, les évêques se trouvaient dans le siècle; ils n'avaient ni le pouvoir ni surtout la volonté de conserver les formes de l'architecture consacrée par la tradition; bien mieux, gênés par l'importance et l'indépendance de puissantes abbayes, ils saisirent avec ardeur les moyens que les artistes laïques leur offraient au XIIe siècle de se soustraire au monopole que les ordres religieux exerçaient sur les arts comme sur tous les produits de l'intelligence. Alors l'Église était la plus saisissante expression du génie des populations, de leur richesse et de leur foi; chaque évêque devait avoir fort à coeur de montrer son pouvoir spirituel par l'érection d'un édifice qui devenait comme la représentation matérielle de ce pouvoir, et qui, par son étendue et sa beauté, devait mettre au second rang les églises monastiques répandues sur son diocèse. Si le grand vassal du roi, seigneur d'une province, élevait un château supérieur comme force et comme étendue à tous les châteaux qu'il prétendait faire relever du sien, de même l'évêque d'un diocèse du domaine royal, appuyé sur la puissance de son suzerain temporel, érigeait une cathédrale plus riche, plus vaste et plus importante que les églises des abbayes qu'il prétendait soumettre à sa juridiction. Tel était ce grand mouvement vers l'unité gouvernementale qui se manifestait même au sein de la féodalité cléricale ou séculière, pendant le XIIe siècle, non-seulement dans les actes politiques, mais jusque dans la construction des édifices religieux ou militaires. Cette tendance des évêques à mettre les églises abbatiales au second rang par un signe matériel aux yeux des populations; nous dirons plus, ce besoin à la fois religieux et politique, si bien justifié d'ailleurs par les désordres qui s'étaient introduits au sein des monastères dès la fin du XIIe siècle, de rendre l'unité à l'Église, fit faire à l'épiscopat des efforts inouïs pour arriver à construire rapidement de grandes et magnifiques cathédrales, et explique comment quelques-uns de ces édifices remarquables par leur étendue, la richesse de leur architecture, et leur aspect majestueux, sont élevés avec négligence et parcimonie, n'ont pas de fondations, ou présentent des constructions qui, par la pauvreté des matériaux employés, ne sont guère en rapport avec cette apparence de luxe et de grandeur.
Des esprits sages et réfléchis parmi nous cherchent à démontrer (nous ne savons trop pourquoi) que notre vénérable architecture religieuse nationale pèche par plus d'un point, et présente notamment de ces négligences incroyables de construction qui compromettent la durée d'un certain nombre d'édifices; ils voudront bien tenir compte de ces nécessités impérieuses plus fortes que les artistes, et qui les contraignent bien malgré eux dans tous les temps, à ne pas employer les moyens indiqués par l'expérience ou la science... De ces deux manières de raisonner quelle est la plus juste?... La cathédrale de Reims est admirablement fondée; ses piles, élevées en grands et beaux matériaux de choix, bien posés et ravalés, n'ont subi aucun mouvement; ses voûtes, solidement et judicieusement contre-butées par des arcs-boutants bien couverts, d'une portée raisonnable, par des contre-forts largement empatés, ne présentent pas une fissure, et cette cathédrale a été la proie d'un incendie terrible, et l'incurie de plusieurs siècles l'a laissée livrée aux intempéries, et cependant, on ne découvre dans toute sa construction ni une lézarde, ni une déformation; donc les architectes du XIIIe siècle étaient d'excellents constructeurs... Ou bien: la cathédrale de Séez est élevée sur de vieilles fondations imparfaites, qui partout ont cédé; les matériaux employés dans sa construction sont de qualité médiocre; sur tous les points on a cherché l'économie, tout en voulant élever un vaste et magnifique monument; cette cathédrale craque de toutes parts, se disloque et se lézarde, sa ruine est imminente; donc les architectes du XIIIe siècle étaient de mauvais constructeurs, ne fondant pas leurs édifices, les élevant en matériaux insuffisants comme résistance, etc., etc.
Les évêques comme les architectes de ces temps ont dû obéir à une donnée politique et religieuse qui ne leur permettait pas le choix des moyens. Les diocèses pauvres devaient élever d'immenses et magnifiques cathédrales tout comme les diocèses riches. Et ne jetons pas le blâme aux architectes qui, placés dans des conditions défavorables, avec des ressources insuffisantes, ont encore su, avec une adresse rare, remplir le programme imposé par les besoins de leur temps, et élever des édifices proches de leur ruine aujourd'hui, mais qui n'en ont pas moins duré six cents ans, après avoir rempli leur grande mission religieuse. Avant de juger sévèrement, voyons si les évêques qui cachaient leur pauvreté sous une apparence de richesse et de splendeur pour concourir à la grande oeuvre de l'unité nationale par l'unité du pouvoir religieux, si les architectes hardis qui, sans s'arrêter devant des difficultés matérielles, insurmontables pour nous, ont élevé des édifices encore debout, ne sont pas plus méritants, et n'ont pas développé plus de science et d'habileté que ceux abondamment pourvus de tout ce qui pouvait faciliter leurs entreprises.
La peinture, la statuaire, la musique et la poésie doivent être jugées d'une manière absolue; l'oeuvre est bonne ou mauvaise, car le peintre, le sculpteur, le musicien, et le poëte peuvent s'isoler, ils n'ont besoin pour exprimer ce que leur esprit conçoit que d'un peu de couleur, d'un morceau de pierre ou de marbre, d'un instrument, ou d'une écritoire; mais l'architecture est soumise à des circonstances complétement étrangères à l'artiste, et plus fortes que lui; or, un des caractères frappants de l'architecture religieuse, inaugurée par les artistes laïques à la fin du XIIe siècle, c'est de pouvoir se prêter à toutes les exigences, de permettre l'emploi de l'ornementation la plus riche et la plus chargée qui ait jamais été appliquée aux édifices, ou des formes les plus simples et des procédés les plus économiques. Si à cette époque quelques grandes églises affectent une richesse apparente, qui contraste avec l'extrême pauvreté des moyens de construction employés, cela tient à des exigences dont nous venons d'indiquer les motifs; motifs d'une importance telle que force était de s'y soumettre. «Avant tout, la cathédrale doit être spacieuse, splendide, éclatante de verrières, décorée de sculptures; les ressources sont modiques, n'importe! il faut satisfaire à ce besoin religieux dont l'importance est supérieure à toute autre considération; contentons-nous de fondations imparfaites, de matériaux médiocres, mais élevons une église à nulle autre égale dans le diocèse; elle périra promptement, n'importe! il faut qu'elle soit élevée; si elle tombe, nos successeurs en bâtiront une autre...» Voilà comment devait raisonner un évêque à la fin du XIIe siècle; et s'il était dans le faux au point de vue de l'art, il était dans le vrai au point de vue de l'unité religieuse.
Ce n'était donc ni par ignorance ni par négligence que les architectes du XIIIe siècle construisaient mal, quand ils construisaient mal, puisqu'ils ont élevé des édifices irréprochables comme construction, mais bien parce qu'ils étaient dominés par un besoin moral n'admettant aucune objection, et la preuve en est dans cette quantité innombrable d'églises de second ordre, de collégiales, de paroisses où la pénurie des ressources a produit des édifices d'une grande sobriété d'ornementation, mais où l'art du constructeur apparaît d'autant plus que les procédés sont plus simples, les matériaux plus grossiers ou de qualité médiocre. Par cela même que beaucoup de ces édifices construits avec parcimonie sont parvenus jusqu'à nous, après avoir traversé plus de six siècles, on leur reproche leur pauvreté, on accuse leurs constructeurs! mais s'ils étaient tombés, si les cathédrales de Chartres, de Reims ou d'Amiens étaient seules debout aujourd'hui, ces constructeurs seraient donc irréprochables? (voy. CONSTRUCTION, ÉGLISE.) Dans notre siècle, l'unité politique et administrative fait converger toutes les ressources du pays vers un but, suivant les besoins du temps, et cependant nous sommes témoins tous les jours de l'insuffisance de ces ressources lorsqu'il s'agit de satisfaire à de grands intérêts, tels que les chemins de fer par exemple. Mais au XIIe siècle, le pays morcelé par le système féodal, composé de provinces, les unes pauvres, les autres riches, les unes pleines d'activité et de lumières, les autres adonnées à l'agriculture, et ne progressant pas, ne pouvait agir avec ensemble; il fallait donc que l'effort de l'épiscopat fût immense pour réunir des ressources qui lui permissent d'ériger en cinquante années des cathédrales sur des plans d'une étendue à laquelle on n'était pas arrivé jusqu'alors, et d'une richesse, comme art, supérieure à tout ce que l'on avait vu. De même qu'au XIe siècle le grand développement pris par les établissements religieux avait influé sur toutes les constructions religieuses de cette époque; de même, au commencement du XIIIe siècle, les grandes entreprises des évêques se reflétaient sur les édifices religieux de leurs diocèses. Au XIe siècle, les églises monastiques avaient servi de modèles aux églises collégiales, aux paroisses et même aux cathédrales; au XIIIe siècle, ce sont à leur tour les cathédrales qui imposent les dispositions de leurs plans, leur système de construction et de décoration aux églises collégiales, paroissiales et monastiques. Le but de l'épiscopat se trouvait ainsi rempli, et son influence morale prédominait en même temps que l'influence matérielle des édifices qu'il s'était mis à construire avec tant d'ardeur, et au prix d'énormes sacrifices. Ces grands monuments sont donc pour nous respectables sous le point de vue de l'art, et comme l'une des productions les plus admirables du génie humain, mais aussi parce qu'ils rappellent un effort prodigieux de notre pays vers l'unité nationale. En effet, à la fin du XIIe siècle, l'entreprise de l'épiscopat était populaire. La puissance seigneuriale des abbés se trouvait attaquée par la prédominance de la cathédrale. La noblesse séculière, qui n'avait pas vu sans envie la richesse croissante des établissements monastiques, leur immense influence morale, aidait les évêques dans les efforts qu'ils faisaient pour soumettre les abbayes à leur juridiction. Les populations urbaines voyaient dans la cathédrale (non sans raisons) un monument national, comme une représentation matérielle de l'unité du pouvoir vers laquelle tendaient toutes leurs espérances. Les églises abbatiales étaient des édifices particuliers qui ne satisfaisaient que le sentiment religieux des peuples, tandis que la cathédrale était le sanctuaire de tous, c'était à la fois un édifice religieux et civil (voy. CATHÉDRALE), où se tenaient de grandes assemblées, sorte de forum sacré qui devenait la garantie des libertés politiques en même temps qu'un lieu de prières. C'était enfin le monument par excellence. Il n'est donc pas étonnant que les évêques aient pu réunir tout à coup dans ces temps d'émancipation politique et intellectuelle, les ressources énormes qui leur permettaient de rebâtir leurs cathédrales sur tous les points du domaine royal. En dehors du domaine royal, la cathédrale se développe plus lentement, elle le cède longtemps et jusqu'à la fin du XIIIe siècle aux églises abbatiales. Ce n'est qu'à l'aide de la prépondérance du pouvoir monarchique sur ces provinces, que l'épiscopat élève les grands monuments religieux sur les modèles de ceux du nord. Telles sont les cathédrales de Bordeaux, de Limoges, de Clermont-Ferrand, de Narbonne, de Béziers, de Rodez, de Mende, de Bayonne, de Carcassonne, et ces édifices sont de véritables exceptions, des monuments exotiques, ne se rattachant pas aux constructions indigènes de ces contrées.
Le midi de la France avait été livré à l'hérésie des Albigeois pendant
le XIIe siècle et une partie du XIIIe; son architecture religieuse était
restée stationnaire alors que dans le nord elle faisait de si rapides
progrès. La plupart des églises avaient été détruites pendant les
guerres civiles, résultat de la lutte des hérésiarques avec le
catholicisme, et il est difficile aujourd'hui de savoir, à cause de la
rareté des exemples, quelle était la marche suivie par cette
architecture. Parmi les monuments religieux antérieurs au XIIe siècle,
nous trouvons des plans qui rappellent les dispositions de ceux du
Poitou, d'autres qui ont les rapports les plus directs avec ceux de
l'Auvergne, telle est par exemple la grande église de Saint-Sernin de
Toulouse, la partie ancienne des cathédrales d'Auch et de Saint-Papoul;

d'autres enfin qui sont construits dans des données qui paraissent
appartenir au comté de Toulouse; ce sont ceux-là dont nous nous
occuperons particulièrement.
Nous avons vu que la plupart des édifices religieux du nord, du Poitou, de l'Auvergne et de la Bourgogne procédaient de la basilique latine. Dans une partie de l'Aquitaine et sur les bords du Rhin, par exception, des églises avaient été élevées sans collatéraux. En Provence et sur le territoire du comté de Toulouse, nous retrouvons, avant le XIIIe siècle, des traces de monuments religieux qui procédaient d'une disposition antique dont la basilique de Constantin à Rome est le type; c'est une nef couverte par des voûtes d'arêtes, contre-butées par des contre-forts intérieurs fermés par des berceaux plein cintre (48). Les cathédrales de Marseille et de Fréjus, monuments presque antiques, ont encore conservé cette donnée. Dans le comté de Toulouse, sauf la partie ancienne de la cathédrale de Toulouse, qui date du XIIe siècle et qui est construite d'après ce système, les autres édifices antérieurs aux guerres des Albigeois n'existent plus; mais dès le XIIIe siècle, sitôt après les désastres, nous voyons reproduire ce mode de bâtir les édifices religieux. Dans la ville basse de Carcassonne, les deux églises élevées par les habitants, sur l'ordre de saint Louis, reproduisent cette disposition de nefs sans collatéraux avec contre-forts intérieurs contre-butant la voûte principale; seulement alors la voûte en arcs d'ogive a remplacé la voûte d'arête romaine, et les travées, beaucoup moins larges que la nef, forment comme autant de chapelles entre les contre-forts. Dans le mur de clôture qui ferme et surmonte les chapelles, de longues fenêtres sont ouvertes qui éclairent l'intérieur (49).

Le sanctuaire de ces églises se composait, ou d'une seule abside, telle est l'église de Montpezat (Tarn-et-Garonne), fin du XIIIe siècle (50), ou de trois absides, une grande et deux petites, comme à Carcassonne. La plupart de ces églises étaient précédées d'un porche surmonté d'un seul clocher, placé dans l'axe de l'église. Pendant le XIVe siècle, la grande cathédrale d'Alby fut construite d'après ce système; seulement on établit deux étages de chapelles afin de renfermer entièrement les contre-forts dans l'intérieur (51), et les voûtes en arcs d'ogive des chapelles de premier étage, bandées sur les formerets de la voûte de la nef, atteignirent son niveau. Les jours étaient pris dans les murs de clôture des chapelles hautes par de longues et étroites fenêtres. Au lieu de trois absides percées dans le mur de l'est, comme dans les deux églises de Carcassonne, le choeur d'Alby se termine par sept chapelles rayonnantes à double étage comme celles de la nef (voy. CATHÉDRALE). Cette disposition est grandiose; la nef de Sainte-Cécile d'Alby n'a pas moins de 17m, 70 dans oeuvre, mais il faut dire que, pour le culte catholique, les grandes églises sans bas côtés ne sont pas commodes. Rien dans ce grand vaisseau n'indique la place des fidèles, celle du clergé; à Alby, on a dû établir, au XVIe siècle, un choeur fermé par une élégante claire-voie de pierre, qui forme comme un bas côté autour du sanctuaire; les chapelles sont petites. Ce monument, sans collatéraux, sans transsept, dans lequel le sanctuaire est comme un meuble apporté après coup, est plutôt une salle qu'une cathédrale appropriée aux besoins du culte. Les chapelles du premier étage, qui communiquent entre elles par de petites portes, n'ont pas d'utilité, ce sont des tribunes qui ont l'inconvénient de reculer les jours, et assombrissent par conséquent l'intérieur.

Ce monument, bâti en briques, a été couvert de peintures qui datent de la fin du XVe siècle et du commencement du XVIe, cette décoration produit un grand effet, et dissimule la lourdeur de ces voûtes qui, à cause de l'extrême largeur de la nef, prennent leur naissance à moitié environ de la hauteur totale du dans-oeuvre; les contre-forts renfermés à l'intérieur, par leur projection, cachent les fenêtres et font paraître les piliers portant les voûtes plats et maigres. Dépourvu de ses peintures, cet intérieur serait froid, triste et lourd, et ne supporterait pas la comparaison avec nos grandes cathédrales du nord. La cathédrale d'Alby produisit quelques imitations, les églises abbatiales de Moissac, de Saint-Bertrand de Comminges, entre autres; ce type ne dépassa pas le territoire où il s'était développé, mais s'y perpétua jusqu'à l'époque de la renaissance. Le midi de la France avait été épuisé par les guerres religieuses pendant les XIIe et XIIIe siècles, il ne pouvait produire que de pauvres édifices; en adoptant l'église à une seule nef, sans bas côté, comme type de ses monuments religieux, il obéissait à la nécessité, ces constructions étant beaucoup moins dispendieuses que nos églises du nord, avec leurs transsepts, leurs collatéraux, leurs chapelles rayonnantes autour du choeur, leurs galeries supérieures, leurs arcs-boutants et leurs grandes claires-voies à menaux décorées de splendides verrières.

Le souvenir des guerres civiles faisait donner à ces édifices religieux l'aspect de constructions militaires, et beaucoup d'entre eux étaient réellement fortifiés. L'église abbatiale de Moissac avait été fortifiée au moment des guerres des Albigeois; les cathédrales d'Alby, de Béziers, de Narbonne, et presque toutes les églises paroissiales ou monastiques élevées pendant les XIIIe et XIVe siècles étaient défendues comme de véritables forteresses, adoptaient par conséquent des formes simples, ne prenaient que des jours étroits et rares à l'extérieur, se couronnaient de tours crénelées, de mâchicoulis, s'entouraient d'enceintes, se construisaient sur des points déjà défendus par la nature, n'ouvraient que des portes latérales, détournées souvent, difficiles d'accès, protégées par des défenses (voy. CATHÉDRALE, ÉGLISE). Après les guerres civiles étaient survenues les guerres avec l'Aragon; toutes les villes du Languedoc faisant partie du domaine royal sous saint Louis, Philippe le Hardi, Philippe le Bel et Charles V, frontières du Roussillon et du comté de Foix, étaient continuellement en butte aux incursions de leurs puissants voisins. Chaque édifice avait été utilisé dans ces villes, pour la défense, et naturellement les églises, comme les plus élevés et les plus importants, devenaient des forts, participaient autant de l'architecture militaire que de l'architecture religieuse. La Guyenne, dont la possession était continuellement contestée pendant les XIIIe et XIVe siècles, entre les rois de France et d'Angleterre, conservait ses vieilles églises romanes, mais ne bâtissait que de rares et pauvres édifices religieux, pâles reflets de ceux du nord. Quant à la Bourgogne, riche, populeuse, unie, elle développait son architecture religieuse sous l'inspiration de celle du domaine royal, mais en y mêlant son génie fortement pénétré des traditions romaines, et dans lequel les églises clunisiennes et cisterciennes avaient laissé des traces inaltérables. Cette province est une des plus favorisées en matériaux de qualités excellentes. Les bassins supérieurs de la Seine, de l'Yonne et de la Saône fournissent abondamment des pierres calcaires et des grès durs et tendres, faciles à exploiter en grands morceaux, d'une beauté de grain, d'une résistance et d'une durée sans égales. Aussi, les édifices bourguignons sont-ils, en général, bâtis en grands matériaux, bien conservés, et d'un appareil savamment tracé. Cette abondance et ces qualités supérieures de la pierre, influent sur les formes de l'architecture bourguignonne, surtout à l'époque où l'emploi des matériaux joue un grand rôle dans la contexture des édifices religieux. Au XIIIe siècle, les constructeurs de cette province profitent de la facilité qui leur était donnée d'obtenir de grands blocs très-résistants, et pouvant sans danger être posés en délit, pour éviter de multiplier les assises dans les points d'appui principaux. Ils ne craignent pas d'élever des piles monolithes, ils sont des premiers à établir sur les corniches, à la chute des combles, de larges chéneaux formant à l'intérieur, des plafonds entre les formerets des voûtes et les murs (voy. Arc formeret, fig. 45). Possédant des calcaires faciles à tailler, mais très-fermes cependant, ils donnent à leurs profils de fortes saillies, les accentuent énergiquement, à leur sculpture d'ornement de la grandeur, une physionomie plantureuse qui distingue leur décoration de pierre entre celle des provinces voisines. Les architectes bourguignons n'adoptent que tard les meneaux compliqués, les balustrades à jour, la maigreur qui déjà, dans la seconde moitié du XIIIe siècle, s'attachait aux formes architectoniques de la Champagne et de l'Ile-de-France.
À Paris, à Reims, à Troyes, l'architecture ogivale penchait déjà vers sa décadence, que dans l'Auxois, le Dijonnais et le Mâconnais se conservaient encore les dispositions simples, la fermeté des profils, la largeur de l'ornementation, l'originalité native de la province. Ce n'est qu'au XVe siècle que l'architecture bourguignonne devient sèche, monotone; alors les caractères particuliers à chaque province s'effacent, il n'y a plus qu'une seule architecture sur le territoire qui compose la France d'aujourd'hui; ou du moins les différences que l'on peut remarquer dans chaque province tiennent plutôt à une imitation grossière ou imparfaite d'une architecture admise qu'à des influences ou des traditions locales.
Nous avons donné (fig. 20) la coupe transversale de la cathédrale d'Autun, bâtie vers 1150, et dont la nef est voûtée en berceau ogival; peu après la construction de cet édifice on élevait à Langres la cathédrale qui existe encore aujourd'hui 45. C'est la cathédrale d'Autun, avec des voûtes en arcs d'ogive sur la nef et le transsept, bas côté pourtournant le choeur, et une seule chapelle au chevet.

Voici (52) le plan de la cathédrale d'Autun, et (53) celui de la cathédrale de Langres. Le porche de la cathédrale d'Autun est peu postérieur à la construction de la nef; la façade de la cathédrale de Langres ayant été rebâtie dans le dernier siècle, nous ne savons si jamais elle fut précédée d'un porche. Le choeur de la cathédrale de Langres, avec son bas côté pourtournant, est fort intéressant à étudier, car jusqu'alors dans cette partie de la France, les absides étaient presque toujours simples, sans collatéraux et voûtées en quart de sphère. Langres, dont le sanctuaire date de 1160 environ, donne la transition entre les choeurs construits suivant la donnée romane et ceux élevés à la fin du XIIe et au commencement du XIIIe siècle. Nous voyons à Langres, comme à Autun, le choeur commencer par une travée en tout semblable, à celles de la nef. À Autun, cette première travée est doublée d'une seconde, puis vient l'abside principale simple, sans bas côtés, flanquée de deux petites absides comme les églises du Rhin. À Langres, après la première travée du choeur, c'est une série de colonnes posées en hémicycle, portant les voûtes d'arêtes à nervures du collatéral. Ces voûtes sont naïvement tracées; car chaque travée rayonnante du collatéral formant coin, et les arcs-ogives donnant en projection horizontale des lignes droites, il s'ensuit que les rencontres des diagonales ou les clefs sont bien plus rapprochées du sanctuaire que du mur extérieur; les naissances des archivoltes bandées d'une colonne à l'autre étant au même niveau que les naissances des formerets tracés sur les murs du pourtour, et les arcs formerets comme les archivoltes étant des tiers-points, les clefs de ces formerets sont plus élevées que les clefs des archivoltes, et par conséquent les lignes de clefs des voûtes sont fortement inclinées (voy. VOÛTE). Les archivoltes de la première travée du choeur donnant la hauteur du triforium percé dans le mur d'adossement du comble, il reste dans la partie circulaire, entre la base de ce triforium et les archivoltes bandées sur les colonnes, un espace plus grand. Il y a donc changement de système complet entre les parties parallèles du choeur et le rond-point, ce sont pour ainsi dire deux édifices qui sont accolés l'un à l'autre, et se relient mal. Les grandes voûtes rendent encore cette discordance plus sensible, car la première travée est fermée par une voûte en arcs d'ogive, et le rond-point par un cul-de-four engendré par le dernier arc-doubleau ogival; et fait remarquable, cette voûte en cul-de-four est maintenue par des arcs-boutants qui datent de sa construction. À la naissance du cul-de-four s'ouvraient de petites fenêtres plein cintre dont les archivoltes venaient le pénétrer, tandis que sous les formerets de la première travée les fenêtres pouvaient être hautes et percées dans les murs goutterots. Le système de la construction ogivale franchement adopté dans tout le reste de l'édifice déjà, se trouvait ainsi complétement étranger au rond-point qui restait roman, au moins dans sa partie supérieure. Un défaut d'harmonie aussi choquant ne pouvait manquer de faire faire aux constructeurs de nouveaux efforts pour appliquer aux ronds-points, comme à tout le reste des édifices, le mode de voûter en arcs d'ogive. Comme ornementation, la cathédrale de Langres reste également romane, le triforium s'ouvre dans les combles couvrant les bas côtés; les piles sont composées de pilastres cannelés, comme à Autun, à Beaune, à Cluny, à la Charité-sur-Loire, conformément à la tradition antique; les contre-forts du choeur sont plaqués de gros pilastres cannelés, terminés par des chapiteaux corinthiens, les chapiteaux des colonnes du choeur sont des imitations de chapiteaux romains 46. La partie antérieure de la nef elle-même, élevée de 1180 à 1190, laisse voir des chapiteaux à crochets, quoique les piles restent composées de pilastres cannelés comme dans le choeur et le transsept.

Sur une partie du territoire bourguignon, la tradition romane se prolongeait donc assez tard dans les églises épiscopales, et l'on n'adoptait la voûte en arcs d'ogive et les arcs-boutants que par nécessité, et comme un moyen nouvellement appliqué pour voûter les édifices sans pousser les murs. Ce ne fut que de 1200 à 1210 que l'architecture ogivale fut franchement introduite en Bourgogne, lorsqu'il y avait déjà vingt et trente ans qu'elle régnait dans le domaine royal et la Champagne. Un des premiers et des plus beaux exemples de l'architecture ogivale bourguignonne se trouve dans le choeur et le transsept de l'abbaye de Vézelay, et cette abbaye appartenait politiquement plutôt au Nivernais qu'à la Bourgogne (voy. ABSIDE, fig. 8, le plan du rond-point). Ce choeur dut être bâti par l'abbé Hugues, de 1198 à 1206; car en cette dernière année l'abbé Hugues fut déposé pour avoir endetté le monastère de 2220 livres d'argent 47. Les voûtes du choeur de Vézelay avaient été élevées dans l'origine sans arcs-boutants. Mais il paraîtrait que peu après leur achèvement on fut obligé d'en construire. Le triforium donnait dans le comble du collatéral comme à la cathédrale de Langres, et bientôt ce comble fut remplacé par des demi-voûtes d'arêtes butant la naissance des grandes voûtes. Voici (54) les deux premières travées de ce choeur (coupe longitudinale) et (55) le plan de ces deux premières travées.
On remarquera la disposition particulière des piles, et la division des
travées. La première travée est largement ouverte; c'est une archivolte
partant de la grosse pile du transsept, laquelle est composée d'un
faisceau de colonnes engagées, et reposant son sommier de droite sur une
colonne monolithe. Au-dessus du triforium cette travée se divise en deux
au moyen d'une pile intermédiaire portant un arc-doubleau. La voûte se
compose de deux arcs-ogives reposant sur les deux points d'appui
principaux AB (fig. 55). Mais la seconde travée se divise en deux au
moyen des colonnes jumelles C. La première division est fermée par une
voûte en arcs d'ogive, la seconde projette contre la clef E, un arc CE
qui vient puissamment contre-buter la poussée des arcs rayonnants du
rond-point. D'après cette disposition les fenêtres hautes peuvent toutes
être de même dimension comme largeur et comme hauteur, l'effort des arcs
rayonnants sur le sommet de l'arc-doubleau GE est bien maintenu par la
diagonale CE, et la travée divisée BCG sert de transition entre les
travées rayonnantes IG et la première grande travée AB, afin d'éviter la
poussée qu'exerceraient les petites archivoltes rayonnantes IG sur
l'archivolte plus large GB, si cette archivolte n'eût pas été divisée.
Ce danger de la poussée n'était plus à craindre sur la pile B, à cause
de la grande charge reportée sur cette pile, et l'on pouvait sans
inconvénients laisser ouverte dans toute sa largeur l'archivolte AB.
Le problème que les architectes de la cathédrale de Langres n'avait pu
résoudre, savoir: de faire concorder la construction des voûtes des
ronds-points avec celle des travées parallèles, se trouvait ainsi très
nettement et très-habilement résolu, trente ou quarante ans plus tard,
dans le choeur de l'église abbatiale de Vézelay, et par des procédés qui
n'étaient pas entièrement ceux qu'employaient les architectes du domaine
royal, moins soumis aux traditions romanes.
Comme disposition de plan,
il se présentait toujours une difficulté dans la construction des choeurs
des grandes églises cathédrales, c'était le rayonnement des travées qui
espaçait démesurément les points d'appui de la circonférence extérieure,
si les points de la circonférence intérieure conservaient le même
espacement que ceux des parties parallèles; ou qui rapprochait trop ces
points d'appui intérieurs, si ceux de la circonférence extérieure
étaient convenablement distancés; quand les choeurs étaient pourtournés
de doubles collatéraux comme à Notre-Dame de Paris, comme à Bourges, cet
inconvénient était bien plus sensible encore. Dès 1170, c'est-à-dire peu
de temps après la construction du choeur de la cathédrale de Langres,
l'architecte de Notre-Dame de Paris avait su élever un choeur avec double
bas côté, qui déjà résolvait ces difficultés, en s'affranchissant des
traditions romanes. Ne voulant pas donner aux travées intérieures du
rond-point un entre-colonnement à moindre que celui des travées
parallèles B (56), CD étant le diamètre du cercle, il s'ensuivait que la
première travée rayonnante donnait un premier espace LMHG difficile et
un second espace HGEF impossible à voûter. Car comment établir un
formeret de F en E? Eût-il été plein cintre que sa clef se fût élevée à
un niveau très-supérieur à la clef de l'archivolte en tiers-point LM. La
seconde travée rayonnante s'ouvrant davantage encore augmentait la
difficulté. Le constructeur éleva donc des piles intermédiaires OP entre
les colonnes du second bas côté, une pile intermédiaire également en Q
sur le mur de précinction de la première travée, et deux piles
intermédiaires RS sur le mur de précinction des travées suivantes. Cette
disposition donnant 2, 3 piles dans la première travée, 2, 3 et 4 piles
dans les autres, rendait impossible la construction de voûtes en arcs
d'ogive qui ne se composaient alors que de diagonales d'un carré ou d'un
parallélogramme ne pouvant retomber par conséquent que sur des piles
correspondantes en nombre égal.
Ce constructeur ne fut pas arrêté par
cette difficulté; il abandonna le système de voûtes en arcs d'ogive
croisées, et ses arcs-doubleaux MGF, NIK établis, il banda d'autres arcs
NP, MP, GR, PR, PS, IS, passant ainsi sans difficulté du nombre pair au
nombre impair; quant aux triangles de remplissage, ils procédèrent de
cette construction des arcs (voy. VOÛTE). On arrivait ainsi de
l'archivolte de la travée intérieure aux deux arcs-doubleaux du second
collatéral et aux trois formerets du mur de précinction; sous ces
formerets pouvaient s'ouvrir trois fenêtres égales comme hauteur et
largeur à celles des travées parallèles. L'ordonnance extérieure et
intérieure de l'édifice se suivait sans interruption, sans que l'unité
fût rompue dans la partie rayonnante du choeur.
Il n'est pas besoin de faire ressortir ce qu'il y avait d'habileté dans ce système, et combien l'art de l'architecture s'était développé déjà dans l'Ile-de-France dès la fin du XIIe siècle; combien l'unité d'ordonnance et de style préoccupait les artistes de cette province. Jamais, en effet, dans les monuments religieux, grands ou petits de l'Ile-de-France, on ne rencontre de ces discordances, de ces soudures plus ou moins adroitement déguisées qui, dans les édifices, même des provinces voisines, dénotent l'effort de gens auxquels manque le génie créateur qui conçoit son oeuvre tout d'une pièce, et l'exécute sans hésitation.
Ce beau parti, qui consistait à donner aux travées des ronds-points une largeur égale aux travées parallèles des nefs, ne fut pas suivi, malheureusement, dans les autres cathédrales du domaine royal. À Bourges (1230), le choeur de la cathédrale rappelle la belle disposition de celui de Paris (57). Mais si les voûtes sont très-adroitement combinées dans le second bas côté, les piliers de ce second collatéral n'étant pas doublés, comme à Notre-Dame de Paris, les piles intérieures ont dû être rapprochées, et par leur multiplicité et l'étroitesse des entre-colonnements, elles masquent les bas côtés et les chapelles.

À Chartres (1220), le choeur de la cathédrale (58) présente un plan qui ne fait pas grand honneur à son architecte: il y a désaccord entre le rond-point et les parties parallèles du sanctuaire; les espacements des colonnes du second collatéral sont lâches, les voûtes assez pauvrement combinées; et malgré la grande largeur des entre-colonnements du deuxième bas-côté, il a fallu cependant rapprocher les piles intérieures; mais ici apparaît une disposition dont les architectes du XIIIe siècle ne se départent plus à partir de 1220 environ; nous voyons, en effet, les piliers intérieurs du rond-point prendre comme surface en plan, une moins grande importance que ceux des travées parallèles. Cela était fort bien raisonné d'ailleurs. Ces piles, plus rapprochées et ne recevant qu'une seule nervure de la grande voûte, n'avaient pas besoin d'être aussi épaisses que celles des travées parallèles, plus espacées et recevant un arc-doubleau et deux arcs-ogives des grandes voûtes.

Le choeur de la cathédrale du Mans, contemporain de celui de Chartres, présente une beaucoup plus belle disposition (59); les voûtes du double collatéral rappellent la construction de celles de Bourges, mais plus adroitement combinées; ici les chapelles sont grandes, profondes, et laissent encore entre elles cependant des espaces libres pour ouvrir des fenêtres destinées à éclairer le double bas côté. Comme à Bourges, ces deux collatéraux sont inégaux en hauteur, et le second, plus bas, est surmonté d'un triforium et de fenêtres éclairant le premier bas côté.

À dater de 1220 à 1230, il est rare de voir les sanctuaires des cathédrales entourés de doubles collatéraux: on se contente d'un bas côté simple, et les chapelles rayonnantes prennent plus d'importance. Dans les églises ogivales primitives, comme la cathédrale de Rouen, par exemple, dont les sanctuaires ne possèdent qu'un seul collatéral, les chapelles ne sont qu'en nombre restreint, de manière à permettre entre elles l'ouverture de jours directs dans le bas côté (60) 48. Nous voyons ici des voûtes combinées suivant un mode peu usité à cette époque. Entre les chapelles, dans le bas côté, le grand triangle ABC est divisé par un arc venant se réunir à la clef des arcs-ogives; c'était là un moyen moins simple que celui employé à Notre-Dame de Paris, pour faire une voûte portant sur cinq points d'appui, mais qui était plus conforme au principe de la voûte gothique. Dans le collatéral du choeur de la cathédrale d'Auxerre, le même système de voûte a été adopté avec plus d'adresse encore (voy. VOÛTE). Vers le milieu du XIIIe siècle on renonce, dans les églises munies de bas côté pourtournant le sanctuaire avec chapelles rayonnantes, à conserver des fenêtres entre ces chapelles. Celles-ci se rapprochent et ne laissent plus entre elles que l'empatement du contre-fort recevant les arcs-boutants. Ces chapelles, comme toutes les absides, adoptent définitivement en plan la forme polygonale plus solide et plus facile à construire.

Les chapelles à plan
circulaire étaient un reste de la tradition romane qui devait
disparaître comme toutes les autres. Voici (61) le plan du Choeur de la
cathédrale de Beauvais (1240 à 1250) qui fait voir combien les
dispositions des plans s'étaient simplifiées à mesure que l'architecture
ogivale poursuivait résolûment les conséquences de son principe
49. Il
est facile de voir, en examinant ce plan, jusqu'à quel point les
architectes du XIIIe siècle cherchaient à débarrasser les intérieurs de
leurs édifices religieux des obstacles qui pouvaient gêner la vue, et
combien ils étaient désireux d'obtenir des espaces larges, et par
conséquent de diminuer et le nombre et l'épaisseur des points d'appui
(voy. CATHÉDRALE).
Plus tard, au XIVe siècle, on élevait l'église
abbatiale de Saint-Ouen, qui résumait les données les plus simples de
l'architecture religieuse. Nef sans chapelles; transsept avec bas côté;
choeur avec bas côtés et chapelles rayonnantes, celle du chevet plus
grande; tour sur le transsept, et deux clochers sur la façade (62)
50.
À partir du XIVe siècle, l'architecture des édifices religieux devient à peu près uniforme sur tout le territoire soumis au pouvoir royal; les plans sont pour ainsi dire classés d'après la dimension des édifices, et suivent, sans de notables différences, les dispositions et le mode de construire adoptés à la fin du XIIIe siècle; c'est seulement dans les détails, dans l'ornementation, dans les profils des moulures que la transformation se fait sentir. Nous renvoyons donc nos lecteurs aux différentes parties des édifices religieux traitées dans le Dictionnaire pour apprécier la nature de cette transformation, en connaître les causes et les résultats. Le XIIIe siècle avait tant produit, en fait d'architecture religieuse, qu'il laissait peu à faire aux siècles suivants. Les guerres, qui bouleversèrent la France pendant les XIVe et XVe siècles, n'auraient plus permis d'entreprendre des édifices d'une importance égale à nos grandes cathédrales, en admettant qu'elles n'eussent pas été toutes élevées avant ces époques désastreuses. Les édifices religieux complétement bâtis pendant le XIVe siècle sont rares, plus rares encore pendant le siècle suivant. On se contentait alors ou de terminer les églises inachevées, ou de modifier les dispositions primitives des églises des XIIe et XIIIe siècles, ou de les restaurer et de les agrandir. C'est à la fin du XVe siècle et au commencement du XVIe, alors que la France commence à ressaisir sa puissance, qu'un nouvel élan est donné à l'architecture religieuse, mais la tradition gothique, bien que corrompue, abâtardie, subsiste. Beaucoup de grandes cathédrales sont terminées, un grand nombre de petites églises, dévastées pendant les guerres, ou tombées de vétusté par suite d'un long abandon et de la misère publique, sont rebâties ou réparées. Mais bientôt la réformation vient arrêter ce mouvement, et la guerre, les incendies, les pillages, détruisent ou mutilent de nouveau la plupart des édifices religieux à peine restaurés. Cette fois le mal était sans remède, lorsqu'à la fin du XVIe siècle le calme se rétablit de nouveau, la renaissance avait effacé les dernières traces du vieil art national, et si, longtemps encore, dans la construction des édifices religieux, les dispositions des églises françaises du XIIIe siècle furent suivies, le génie qui avait présidé à leur construction était éteint, dédaigné. On voulait appliquer les formes de l'architecture romaine antique, que l'on connaissait mal, au système de construction des églises ogivales, que l'on méprisait sans les comprendre. C'est sous cette inspiration indécise que fut commencée et achevée la grande église de Saint-Eustache de Paris, monument mal conçu, mal construit, amas confus de débris empruntés de tous côtés, sans liaison et sans harmonie; sorte de squelette gothique revêtu de haillons romains cousus ensemble comme les pièces d'un habit d'arlequin. Telle était la force vitale de l'architecture religieuse née avec la prédominance du pouvoir royal en France, que ses dispositions générales se conservent jusque pendant le siècle dernier; les plans restent gothiques, les voûtes hautes continuent à être contre-butées par des arcs-boutants. Mais cette architecture bâtarde est frappée de stérilité. Les architectes semblent bien plus préoccupés de placer les ordres romains dans leurs monuments que de perfectionner le système de la construction, ou de chercher des combinaisons nouvelles; l'exécution devient lourde, grossière et maniérée en même temps. Nous devons cependant rendre cette justice aux artistes du XVIIe siècle qu'ils savent conserver dans leurs édifices religieux une certaine grandeur, une sobriété de lignes et un instinct des proportions que l'on ne retrouve nulle part ailleurs en Europe à cette époque. Pendant qu'en Italie les architectes se livraient aux extravagances les plus étranges, aux débauches de goût les plus monstrueuses, on élevait en France des églises qui, relativement, sont des chefs-d'oeuvre de style, bien qu'alors on se piquât de ne trouver la perfection que dans les monuments de la Rome antique ou moderne. Cette préférence pour les arts et les artistes étrangers et surtout Italiens, nous était venue avec la Renaissance, avec la protection accordée par les souverains à tout ce qui venait d'outre-monts. La monarchie qui, du XIIe au XVIe siècle, avait grandi au milieu de cette population d'artistes et d'artisans français, dont le travail et le génie n'avaient pas peu contribué à augmenter sa gloire et sa puissance, oubliant son origine toute nationale, tendait dorénavant à imposer ses goûts à la nation. Du jour où la cour voulut diriger les arts, elle étouffa le génie naturel aux vieilles populations gallo-romaines. La protection doit être discrète si elle ne veut pas effaroucher les arts, qui, pour produire des oeuvres originales, ont surtout besoin de liberté. Depuis Louis XIV, les architectes qui paraissaient présenter le plus d'aptitude, envoyés à Rome sous une direction académique, jetés ainsi en sortant de l'école dans une ville dont ils avaient entendu vanter les innombrables merveilles, perdaient peu à peu cette franchise d'allure, cette originalité native, cette méthode expérimentale qui distinguaient les anciens maîtres des oeuvres; leurs cartons pleins de modèles amassés sans ordre et sans critique, ces architectes revenaient étrangers au milieu des ouvriers qui jadis étaient comme une partie d'eux-mêmes, comme leurs membres. La royauté de Louis XIV s'isolait des populations rurales en attirant la noblesse féodale à la cour pour affaiblir une influence contre laquelle ses prédécesseurs avaient eu tant de luttes à soutenir, elle s'isolait également des corporations d'ouvriers des grandes villes, en voulant tenir sous sa main et soumettre à son goût la tête des arts; elle croyait ainsi atteindre cette unité politique et intellectuelle, but constant de la monarchie et des populations depuis le XIIe siècle, et ne voyait pas qu'elle se plaçait avec sa noblesse et ses artistes en dehors du pays. Cet oubli d'un passé si plein d'enseignements était bien complet alors, puisque Bossuet lui-même, qui écrivait l'histoire avec cette grandeur de vue des prophètes lisant dans l'avenir, ne trouvait que des expressions de dédain pour notre ancienne architecture religieuse, et n'en comprenait ni le sens ni l'esprit.
Note 32: (retour) Mém. concer. l'hist. civ. et ecclés. d'Auxerre et de son ancien diocèse, par l'abbé Lebeuf, publié par MM. Challe et Quantin; t. I, p. 377. Paris, Didron. Auxerre, Perriquet, 1848.
Note 33: (retour) Ce curieux édifice; le plus complet que nous connaissions de cette date, a été découvert par M. Mérimée, inspecteur général des monuments historiques, et restauré depuis peu avec une grande intelligence par M. Boeswilwald. La charpente avait été plafonnée dans le dernier siècle, mais quelques-unes de ses fermes étalent encore intactes.
Note 34: (retour) L'architecture byzantine en France, par M. F. de Verneilh. 1 vol. in-4° Paris, 1852.
Note 35: (retour) L'étude de ces curieux édifices a été poussée fort loin par M. F. de Verneilh dans l'ouvrage que nous avons cité plus haut; nous ne pouvons qu'y renvoyer nos lecteurs. Des planches, très-bien exécutées par M. Gaucherel, expliquent le texte de la manière la plus claire.
Note 36: (retour) Cette disposition primitive à Bayeux fut modifiée au XIIIe siècle par la construction d'une voûte au centre de la croisée.
Note 37: (retour) Liv. II. Grégoire de Tours, en parlant de l'église bâtie à Clermont par saint Numatius, dit: «au-devant est une abside de forme ronde,» inante absidem rotundam habens; On peut entendre, «une abside du côté de l'entrée,» ce qui n'excluait pas l'abside du sanctuaire. Grég. de Tours, vol. I, p. 180; édit. Renouard, 1836.
Note 38: (retour) Cette construction fut encore modifiée au XIIIe siècle par la réfection de nouvelles voûtes sur la nef contre-butées par des arcs-boutants; mais un retrouve facilement les traces de ces transformations successives.
Note 39: (retour) Voy. L'Architecture monastique, par M. Albert Lenoir. Paris, 1852; p. 249 et suiv.
Note 40: (retour) Le T. des Antiq. de Paris., par J. Du Breul. Paris, 1634; liv. III.
Note 41: (retour) Ibid.; liv. I.
Note 42: (retour) Dom Planchet, Hist. de Bourgogne, Mabillon, Annal. Benedict., t. IV, p. 132.
Note 43: (retour) Ce curieux fragment fut découvert dans les décombres de l'église Saint-Sauveur de Nevers en 1813, par M. Mérimée, inspecteur général des monuments historiques et par nous. Il fut transporté dans le Musée de la ville, sur nos pressantes sollicitations, et nous espérons qu'il s'y trouve encore. (Voy. les Annales Archéologiques, vol. II, p. 116 et suiv. La gravure est accompagnée d'une judicieuse et savante notice de M. Didron, à laquelle nous ne pouvons mieux faire que de renvoyer nos lecteurs.)
Note 44: (retour) Voy. sur l'Architecture byzantine en France, l'extrait des articles publiés par M. Vitet (cahiers de janvier, février et mai 1853), p. 36 et suiv.
Note 45: (retour) La cathédrale de Langres est sur le territoire champenois; mais comme style d'architecture, elle appartient à la Bourgogne.
Note 46: (retour) Langres est une ville romaine; on y voit encore une porte antique décorée de pilastres cannelés.
Note 47: (retour) Gallia Christiana.--La livre d'argent était divisée en 20 sous, et le sou en 12 deniers, 12 livres de pain coûtaient environ, à cette époque, 1 denier. La livre d'argent représentait donc environ 500 francs de notre monnaie, et 2220 livres 1,110,000 francs.
Note 48: (retour) Nous donnons le plan de ce choeur avec la chapelle de la Vierge construite au XIVe siècle, sur l'emplacement d'une chapelle de chevet, semblable aux deux autres qui existent encore, mais un peu plus grande.
Note 49: (retour) Le plan que nous donnons ici est celui du choeur de Beauvais, tel qu'il fut exécuté au XIIIe siècle, avant les restaurations des XIVe et XVIe siècles.
Note 50: (retour) Les clochers indiqués sur ce plan avaient été commencés au XVIe siècle seulement; ils ne furent jamais terminés, mais ils présentaient une disposition particulière qui ne manquait pas de grandeur, donnait un large porche, et, au total, un beau parti de plan. Leurs souches ont été démolies pour faire place à une façade dans le style du XIVe siècle.
ARCHITECTURE MONASTIQUE. Pendant les premiers siècles du christianisme, des chrétiens fuyant les excès et les malheurs auxquels la société nouvelle était en butte, s'établirent dans des lieux déserts. C'est en Orient où l'on voit d'abord la vie cénobitique se développer et suivre, dès le IVe siècle, la règle écrite par saint Basile; en Occident les solitudes se peuplent de religieux réunis par les règles de saint Colomban et de saint Ferréol. Mais alors ces premiers religieux retirés dans des cavernes, dans des ruines, ou dans des huttes séparées, adonnés à la vie contemplative, et cultivant quelques coins de terre pour subvenir à leur nourriture, ne formaient pas encore ces grandes associations connues plus tard sous le nom de monastères; ils se réunissaient seulement dans un oratoire construit en bois ou en pierre sèche, pour prier en commun. Fuyant le monde, professant la plus grande pauvreté, ces hommes n'apportaient dans leurs solitudes ni art, ni rien de ce qui pouvait tenter la cupidité des barbares, ou des populations indigènes. Au VIe siècle, saint Benoît donna sa règle; du Mont-Cassin elle se répandit bientôt dans tout l'Occident avec une rapidité prodigieuse, et devint la seule pratiquée pendant plusieurs siècles. Pour qu'une institution ait cette force et cette durée, il faut qu'elle réponde à un besoin général. En cela, et considérée seulement au point de vue philosophique, la règle de saint Benoît est peut-être le plus grand fait historique du moyen âge. Nous qui vivons sous des gouvernements réguliers, au milieu d'une société policée, nous nous représentons difficilement l'effroyable désordre de ces temps qui suivirent la chute de l'empire romain en Occident: partout des ruines, des déchirements incessants, le triomphe de la force brutale, l'oubli de tout sentiment de droit, de justice, le mépris de la dignité humaine; des terres en friches sillonnées de bandes affamées, des villes dévastées, des populations entières chassées, massacrées, la peste, la famine, et à travers ce chaos d'une société à l'agonie, des inondations de barbares revenant périodiquement dans les Gaules, comme les flots de l'Océan sur des plages de sable. Les moines descendus du Mont-Cassin, en se répandant en Germanie, dans les Gaules, et jusqu'aux limites septentrionales de l'Europe, entraînent avec eux une multitude de travailleurs, défrichent les forêts, rétablissent les cours d'eau, élèvent des monastères, des usines, autour desquels les populations des campagnes viennent se grouper, trouvant dans ces centres une protection morale plus efficace que celle accordée par des conquérants rusés et cupides. Ces nouveaux apôtres ne songent pas seulement aux besoins matériels qui doivent assurer leur existence et celle de leurs nombreux colons, mais ils cultivent et enseignent les lettres, les sciences et les arts; ils fortifient les âmes, leur donnent l'exemple de l'abnégation, leur apprennent à aimer et protéger les faibles, à secourir les pauvres, à expier des fautes, à pratiquer les vertus chrétiennes, à respecter leur semblables; ce sont eux qui jettent au milieu des peuples avilis les premiers germes de liberté, d'indépendance, qui leur donnent l'exemple de la résistance morale à la force brutale, et qui leur ouvrent, comme dernier refuge contre les maux de l'âme et du corps, un asile de prière inviolable et sacré. Aussi voyons-nous, dès le IXe siècle, les établissements monastiques arrivés déjà à un grand développement; non-seulement ils comprennent les édifices du culte, les logements des religieux, les bâtiments destinés aux approvisionnements, mais aussi des dépendances considérables, des infirmeries pour les vieillards, des écoles, des cloîtres pour les novices, pour les étrangers; des locaux séparés pour divers corps d'états, des jardins, etc., etc. Le plan de l'abbaye de Saint-Gall, exécuté vers l'année 820, et que possèdent encore les archives de ce monastère supprimé, est un projet envoyé par un dessinateur à l'abbé Gozbert. Mabillon pense que ce dessin est dû à l'abbé Éginhard, qui dirigeait les constructions de la cour sous Charlemagne; quel que soit son auteur, il est d'un grand intérêt, car il donne le programme d'une abbaye à cette époque, et la lettre à l'abbé Gozbert, qui accompagne le plan, ne peut laisser de doutes sur l'autorité du personnage qui l'a écrite 51. Nous présentons ici (1) une réduction de ce dessin 52.

L'église occupe une grande place dans ce plan, elle est à deux absides opposées comme beaucoup d'églises rhénanes (voy, ARCHITECTURE RELIGIEUSE): A est le choeur à l'orient, la confession sous le sanctuaire; BD l'exèdre, la place de l'abbé et des dignitaires; C l'autel de sainte Marie et de saint Gall, avec une sorte de galerie alentour, intitulée sur le plan involutio circum; derrière l'autel dédié à saint Gall est son sarcophage. E des stalles pour les religieux, les deux ambons pour lire l'épître et l'évangile; F divers autels; G les fonts baptismaux; H un second choeur à l'occident; I un second exèdre pour les religieux; K l'école, avec ses cours disposées comme les impluvium romains, et des salles alentour; des latrines isolées communiquent au bâtiment par un passage; à l'ouest de ce bâtiment, des celliers, une boulangerie et une cuisine pour les hôtes; L la sacristie à la droite du choeur oriental; M une salle pour les scribes à la gauche du choeur, avec bibliothèque au-dessus; NN deux escaliers à vis, montant dans deux salles circulaires où se trouvent placés des autels dédiés aux archanges saints Michel et Gabriel; O l'entrée de l'église réservée au peuple, avec narthex; autour du sanctuaire I un double collatéral pour les fidèles; P le vestibule des familiers du couvent; R le vestibule des hôtes et des écoliers. Le long du bas côté nord sont disposées diverses salles destinées aux maîtres des écoles, à ceux qui demandent asile, des dortoirs; S le réfectoire avec vestiaire au-dessus; T le cellier avec salle au-dessus pour conserver des provisions de bouche; U des bains; V le dortoir avec chauffoir au-dessous; le tuyau de la cheminée est isolé; X des latrines isolées et réunies au dortoir par un passage étroit et coudé; Y la cuisine avec passage étroit et coudé communiquant au réfectoire; ces passages sont évidemment disposés ainsi afin d'empêcher les odeurs de se répandre, soit dans le dortoir, soit dans le réfectoire; Z l'officine pour faire le pain sacré; b le jardin potager, chaque plate-bande est indiquée avec le nom des légumes qui doivent y être cultivés; b' la maison du jardinier; d le verger avec l'indication des arbres à fruits et leur nom; e un bâtiment réservé aux novices d'un côté et aux infirmes de l'autre avec chapelle double, chacun de ces bâtiments contient un cloître avec salles alentour, des chauffoirs, des latrines isolées; f les poulaillers et le logement du chef de la basse-cour; g le logement du médecin; h un petit jardin pour cultiver des plantes médicinales; h' la pharmacie; i le logement de l'abbé; j la cuisine de l'abbé, un cellier, des bains, et les chambres de ses familiers; l le logement des hôtes avec écurie, chambres pour les serviteurs, réfectoire au centre, chauffoir et latrines isolées; m des logements avec écuries et étables pour les palefreniers, les bergers, porchers, les familiers, les serviteurs, etc.; n l'habitation des tonneliers, cordiers, bouviers, avec étables; des magasins de grains, une officine pour torréfier des graines; o des bâtiments destinés à la fabrication de la cervoise, des logements de serfs, un moulin à bras et des mortiers; p les logements et ateliers des cordonniers, bourreliers, armuriers, fabricants de boucliers, tourneurs, corroyeurs, orfévres, serruriers, ouvriers fouleurs; q le fruitier; r les logements des pèlerins, des pauvres, leur cuisine et réfectoire.
Sous Charlemagne les établissements religieux avaient acquis des richesses et une importance déjà considérables; ils tenaient la tête de l'enseignement, de l'agriculture, de l'industrie, des arts et des sciences; seuls, ils présentaient des constitutions régulières, stables. C'était de leur sein que sortaient tous les hommes appelés à jouer un rôle en dehors de la carrière des armes. Depuis sa fondation jusqu'au concile de Constance, en 1005, l'ordre de Saint-Benoît avait fondé quinze mille soixante-dix abbayes dans le monde alors connu, donné à l'Église vingt-quatre papes, deux cents cardinaux, quatre cents archevêques, sept mille évêques. Mais cette influence prodigieuse avait été la cause de nombreux abus, même au sein du clergé régulier; la règle de Saint-Benoît était fort relâchée dès le Xe siècle, les invasions périodiques des Normands avaient détruit des monastères, dispersé les moines; la misère, le désordre qui en est la suite, altéraient les caractères de cette institution; le morcellement féodal achevait de détruire ce que l'abus de la richesse et du pouvoir, aussi bien que le malheur des temps, avait entamé. L'institut monastique ne pouvait revivre et reprendre le rôle important qu'il était appelé à jouer pendant les XIe et XIIe siècles qu'après une réforme. La civilisation moderne, à peine naissante sous le règne de Charlemagne, semblait expirante au Xe siècle; mais de l'ordre de Saint-Benoît, réformé par les abbés de Cluny, par la règle de Cîteaux, il devait surgir des rejetons vivaces. Au Xe siècle Cluny était un petit village du Mâconnais, qui devint, par testament, la propriété du duc d'Aquitaine, Guillaume le Pieux. Vers la fin de sa vie le duc Guillaume voulut, suivant l'usage d'un grand nombre de seigneurs puissants, fonder un nouveau monastère. Il manda Bernon, d'une noble famille de Séquanie, abbé de Gigny et de Baume, et voulut, en compagnie de ce saint personnage, chercher un lieu propice à la réalisation de son projet. «Ils arrivèrent enfin, dit la chronique, dans un lieu écarté de toute société humaine, si désert qu'il semblait en quelque sorte l'image de la solitude céleste. C'était Cluny. Mais comme le duc objectait qu'il n'était guère possible de s'établir en tel lieu, à cause des chasseurs et des chiens qui remplissaient et troublaient les forêts dont le pays était couvert, Bernon répondit en riant: Chassez les chiens et faites venir des moines; car ne savez-vous pas quel profit meilleur vous demeurera des chiens de chasse ou des prières monastiques? Cette réponse décida Guillaume, et l'abbaye fut créée 53.» C'était vers 909. Nous croyons devoir transcrire ici le testament, l'acte de donation du duc Guillaume; cette pièce est une oeuvre remarquable autant par l'élévation et la simplicité du langage, que par les détails pleins d'intérêt qu'elle renferme, et l'esprit qui l'a dictée 54; elle fait comprendre d'ailleurs l'importance morale et matérielle que l'on donnait alors aux établissements religieux, les influences auxquelles on voulait les soustraire, et la grande mission civilisatrice qui leur était confiée: elle révèle enfin toute une époque.
«Tout le monde peut comprendre, dit le testateur, que Dieu n'a donné des biens nombreux aux riches que pour qu'ils méritent les récompenses éternelles, en faisant un bon usage de leurs possessions temporaires. C'est ce que la parole divine donne à entendre et conseille manifestement lorsqu'elle dit: Les richesses de l'homme sont la rédemption de son âme (Proverbes). Ce que moi, Guillaume, comte et duc, et Ingelberge, ma femme, pesant mûrement, et désirant, quand il en est temps encore, pourvoir à mon propre salut, j'ai trouvé bon, et même nécessaire, de disposer au profit de mon âme de quelques-unes des choses qui me sont advenues dans le temps. Car je ne veux pas, à mon heure dernière, mériter le reproche de n'avoir songé qu'à l'augmentation de mes richesses terrestres et au soin de mon corps, et ne m'être réservé aucune consolation pour le moment suprême qui doit m'enlever toutes choses. Je ne puis, à cet égard, mieux agir qu'en suivant le précepte du Seigneur: Je me ferai des amis parmi les pauvres, et en prolongeant perpétuellement mes bienfaits dans la réunion de personnes monastiques que je nourrirai à mes frais; dans cette foi, dans cette espérance, que si je ne puis parvenir assez moi-même à mépriser les choses de la terre, cependant je recevrai la récompense des justes, lorsque les moines, contempteurs du monde, et que je crois justes aux yeux de Dieu, auront recueilli mes libéralités. C'est pourquoi, à tous ceux qui vivent dans la foi et implorent la miséricorde du Christ, à tous ceux qui leur succéderont et qui doivent vivre jusqu'à la fin des siècles, je fais savoir que, pour l'amour de Dieu et de notre sauveur Jésus-Christ, je donne et livre aux saints apôtres Pierre et Paul tout ce que je possède à Cluny, situé sur la rivière de Grône, avec la chapelle qui est dédiée à sainte Marie, mère de Dieu, et à saint Pierre, prince des apôtres, sans rien excepter de toutes les choses qui dépendent de mon domaine de Cluny (villa), fermes, oratoires, esclaves des deux sexes, vignes, champs, prés, forêts, eaux, cours d'eau, moulins, droit de passage, terres incultes ou cultivées, sans aucune réserve. Toutes ces choses sont situées dans la comté de Mâcon ou aux environs, et renfermées dans leurs confins, et je les donne auxdits apôtres, moi, Guillaume et ma femme Ingelberge, d'abord pour l'amour de Dieu, ensuite pour l'amour du roi Eudes, mon seigneur, de mon père et de ma mère; pour moi et pour ma femme, c'est-à-dire pour le salut de nos âmes et de nos corps; pour l'âme encore d'Albane, ma soeur, qui m'a laissé toutes ces possessions dans son testament; pour les âmes de nos frères et de nos soeurs, de nos neveux et de tous nos parents des deux sexes; pour les hommes fidèles qui sont attachés à notre service; pour l'entretien et l'intégrité de la religion catholique. Enfin, et comme nous sommes unis à tous les chrétiens par les liens de la même foi et de la même charité, que cette donation soit encore faite pour tous les orthodoxes des temps passés, présents et futurs. Mais je donne sous la condition qu'un monastère régulier sera construit à Cluny, en l'honneur des apôtres Pierre et Paul, et que là se réuniront les moines, vivant selon la règles de Saint-Benoît, possédant, détenant et gouvernant à perpétuité les choses données: de telle sorte que cette maison devienne la vénérable demeure de la prière, qu'elle soit pleine sans cesse de voeux fidèles et de supplications pieuses, et qu'on y désire et qu'on y recherche à jamais, avec un vif désir et une ardeur intime, les merveilles d'un entretien avec le ciel. Que des sollicitations et des prières continuelles y soient adressées sans relâche au Seigneur, tant pour moi que pour toutes les personnes que j'ai nommées. Nous ordonnons que notre donation serve surtout à fournir un refuge à ceux qui, sortis pauvres du siècle, n'y apporteront qu'une volonté juste; et nous voulons que notre superflu devienne ainsi leur abondance. Que les moines, et toutes les choses ci-dessus nommées, soient sous la puissance et domination de l'abbé Bernon, qui les gouvernera régulièrement, tant qu'il vivra, selon sa science et sa puissance. Mais, après sa mort, que les moines aient le droit et la faculté d'élire librement pour abbé et pour maître un homme de leur ordre, suivant le bon plaisir de Dieu et la règle de Saint-Benoît, sans que notre pouvoir, ou tout autre, puisse contredire ou empêcher cette élection religieuse 55. Que les moines payent pendant cinq ans à Rome la redevance de dix sous d'or pour le luminaire de l'église des apôtres, et que, se mettant ainsi sous la protection desdits apôtres, et ayant pour défenseur le pontife de Rome 56, ils bâtissent eux-mêmes un monastère à Cluny, dans la mesure de leur pouvoir et de leur savoir, dans la plénitude de leur coeur. Nous voulons encore que, dans notre temps, et dans le temps de nos successeurs, Cluny soit, autant que le permettront du moins l'opportunité du temps et la situation du lieu, ouvert chaque jour, par les oeuvres et les intentions de la miséricorde, aux pauvres, aux nécessiteux, aux étrangers et aux pèlerins.
Il nous a plu d'insérer dans ce testament que, dès ce jour, les moines réunis à Cluny, en congrégation, seront pleinement affranchis de notre puissance et de celle de nos parents, et ne seront soumis ni aux faisceaux, de la grandeur royale, ni au joug d'aucune puissance terrestre 57. Par Dieu, en Dieu et tous ses saints, et sous la menace redoutable du jugement dernier, je prie, je supplie que ni prince séculier, ni comte, ni évêque, ni le pontife lui-même de l'Église romaine, n'envahisse les possessions des serviteurs de Dieu, ne vende, ne diminue, ne donne à titre de bénéfice, à qui que ce soit, rien de ce qui leur appartient, et ne permette d'établir sur eux un chef contre leur volonté! Et pour que cette défense lie plus fortement les méchants et les téméraires, j'insiste et j'ajoute, et je vous conjure, ô saints apôtres Pierre et Paul, et toi pontife des pontifes du siége apostolique, de retrancher de la communion de la sainte Église de Dieu et de la vie éternelle, par l'autorité canonique et apostolique que tu as reçue de Dieu, les voleurs, les envahisseurs, les vendeurs de ce que je vous donne, de ma pleine satisfaction et de mon évidente volonté. Soyez les tuteurs et les défenseurs de Cluny, et des serviteurs; de Dieu qui y demeureront et séjourneront ensemble, ainsi que de tous leurs domaines destinés à l'aumône, à la clémence et à la miséricorde de notre très-pieux Rédempteur. Que si quelqu'un, mon parent ou étranger, de quelque condition ou pouvoir qu'il soit (ce que préviendra, je l'espère, la miséricorde de Dieu et le patronage des apôtres), que si quelqu'un, de quelque manière et par quelque ruse que ce soit, tente de violer ce testament, que j'ai voulu sanctionner par l'amour de Dieu tout-puissant, et par le respect dû aux princes des apôtres Pierre et Paul, qu'il encoure d'abord la colère de Dieu tout-puissant; que Dieu l'enlève de la terre des vivants, et efface son nom du livre de vie; qu'il soit avec ceux qui ont dit à Dieu: Retire-toi de nous; qu'il soit avec Dathan et Abiron, sous les pieds desquels la terre s'est ouverte, et que l'enfer a engloutis tout vivants. Qu'il devienne le compagnon de Judas, qui a trahi le Seigneur, et soit enseveli comme lui dans des supplices éternels. Qu'il ne puisse, dans le siècle présent, se montrer impunément, aux regards humains, et qu'il subisse, dans son propre corps, les tourments de la damnation future, en proie à la double punition d'Héliodore et d'Antiochus, dont l'un s'échappa à peine et demi-mort des coups répétés de la flagellation la plus terrible, et dont l'autre expira misérablement, frappé par la main d'en haut, les membres tombés en pourriture et rongés par des vers innombrables. Qu'il soit enfin avec tous les autres sacriléges qui ont osé souiller le trésor de la main de Dieu: et, s'il ne revient pas, à résipiscence, que le grand porte-clefs de toute la monarchie des églises, et à lui joint saint Paul, lui ferment à jamais l'entrée du bienheureux paradis, au lieu d'être pour lui, s'il l'eût voulu, de très-pieux intercesseurs. Qu'il soit saisi, en outre, par la loi mondaine, et condamné par le pouvoir judiciaire à payer cent livres d'or aux moines qu'il aura voulu attaquer, et que son entreprise criminelle ne produise aucun effet. Et que ce testament soit revêtu de toute autorité, et demeure à toujours ferme et inviolable dans toutes ses stipulations. Fait publiquement dans la ville de Bourges.»
Les imprécations contenues dans cet acte de donation contre ceux qui oseront mettre la main sur les biens des moines de Cluny, ou altérer leurs priviléges, font voir de quelles précautions les donateurs croyaient alors devoir entourer leur legs 58. Le vieux duc Guillaume ne s'en tint pas là, il fit le voyage de Rome afin de faire ratifier sa donation, et payer à l'église des apôtres la redevance promise. Bernon, suivant la règle de Saint-Benoît, installa à Cluny douze moines de ses monastères, et éleva des bâtiments qui devaient contenir la nouvelle congrégation. Mais c'est saint Odon, second abbé de Cluny, qui mérite seul le titre de chef et de créateur de la maison. Odon descendait d'une noble famille franque; c'était un homme profondément instruit, qui bientôt acquit une influence considérable: il fit trois voyage à Rome, réforma dans cette capitale le monastère de Saint-Paul-hors-les-murs; il soumit également à la règle de Cluny les couvents de Saint-Augustin de Pavie, de Tulle en Limousin, d'Aurillac en Auvergne, de Bourg-Dieu et de Massay en Berry, de Saint-Benoît-sur-Loire, de Saint-Pierre-le-Vif à Sens, de Saint-Allire de Clermont, de Saint-Julien de Tours, de Sarlat en Périgord, de Roman-Moûtier dans le pays de Vaud; il fut choisi comme arbitre des différends qui s'étaient élevées entre Hugues, roi d'Italie, et Albéric, patrice de Rome. Ce fut Odon qui le premier réalisa la pensée d'adjoindre à son abbaye, et sous l'autorité de l'abbé, les communautés nouvelles qu'il érigeait et celles dont il parvenait à réformer l'observance. «Point d'abbés particuliers, mais des prieurs seulement pour tous ces monastères; l'abbé de Cluny seul les gouvernait: unité de régime, de statuts, de règlements, de discipline. C'était une agrégation de monastères autour d'un seul, qui en devenait ainsi la métropole et la tête. Ce système fut bientôt compris et adopté par d'autres établissements monastiques, et notamment par Cîteaux, fondé en 1098. Conservant la règle de Saint-Benoît, ces agrégations ne différaient entre elles que par le centre d'autorité monastique, par les divers moyens imaginés pour maintenir l'esprit bénédictin, et par une plus ou moins grande austérité dans la discipline commune. Nulle ne se proposait, à vrai dire, une autre fin que celle de ses compagnes. Ce n'étaient point là proprement des différences d'ordres, mais seulement de congrégations. Partout la règle de Saint-Benoît demeurait sauve, et par là l'unité de l'ordre se maintenait intacte, malgré des rivalités qui éclatèrent plus tard 59.»
Ces réformes étaient devenues bien nécessaires, car depuis longtemps les abbés et les moines avaient étrangement faussé la règle de Saint-Benoît. Pendant les invasions des Normands particulièrement, la discipline s'était perdue au milieu du désordre général, les abbayes étaient devenues des forteresses plus remplies d'hommes d'armes que de religieux; les abbés eux-mêmes commandaient des troupes laïques, et les moines chassés de leurs monastères étaient obligés souvent de changer le froc contre la cotte de buffle 60. Toutefois, si après les réformes de Cluny et de Cîteaux les abbés ne se mêlèrent plus dans les querelles armées des seigneurs laïques, ils ne cessèrent de s'occuper d'intérêts temporels, d'être appelés par les souverains non-seulement pour réformer des monastères, mais aussi comme conseillers, comme ministres, comme ambassadeurs. Dès avant les grandes associations clunisiennes et cisterciennes, on avait senti le besoin de réunir en faisceau certaines abbayes importantes. Vers 842, l'abbé de Saint Germain des Prés, Ébroïn et ses religieux avaient formé une association avec ceux de Saint-Remy de Reims. Quelque temps auparavant les moines de Saint-Denis en avaient fait autant. Par ces associations les monastères se promettaient une amitié et une assistance mutuelle tant en santé qu'en maladie, avec un certain nombre de prières qu'ils s'obligeaient de faire après la mort de chaque religieux des deux communautés 61. Mais c'est sous saint Odon et saint Maïeul, abbés de Cluny, que la règle de Saint-Benoît réformée va prendre un lustre tout nouveau, fournir tous les hommes d'intelligence et d'ordre qui, pendant près de deux siècles, auront une influence immense dans l'Europe occidentale, car Cluny est le véritable berceau de la civilisation moderne.
Maïeul gouverna l'abbaye de Cluny pendant quarante ans, jusqu'en 994. La chronique dit que ce fut un ange qui lui apporta le livre de la règle monastique; devenu l'ami et le confident d'Othon le Grand, la tiare lui fut offerte par son fils Othon II, qu'il avait réconcilié avec sa mère, sainte Adélaïde: il refusa, sur ce que, disait-il, «les Romains et lui différaient autant de moeurs que de pays.» Sous son gouvernement un grand nombre de monastères furent soumis à la règle de Cluny; parmi les plus importants nous citerons ceux de Payerne, du diocèse de Lausanne; de Classe, près de Ravenne; de Saint-Jean-l'Évangéliste, à Parme; de Saint-Pierre-au-ciel-d'or, à Pavie; l'antique monastère de Lérins, en Provence; de Saint-Pierre, en Auvergne; de Marmoutier, de Saint-Maur-les-Fossés et de Saint-Germain d'Auxerre, de Saint-Bénigne de Dijon, de Saint-Amand, de Saint-Marcel-les-Châlons.
Saint Odilon, désigné par Maïeul comme son successeur, fut confirmé par cent soixante dix-sept religieux de Cluny: il réunit sous la discipline clunisienne les monastères de Saint-Jean d'Angély, de Saint-Flour, de Thiern, de Talui, de Saint-Victor de Genève, de Farfa en Italie; ce fut lui qui exécuta la réforme de Saint-Denis en France qu'Hugues Capet avait demandée à Maïeul. Casimir, fils de Miceslas II, roi de Pologne, chassé du trône après la mort de son père, fut, sous Maïeul, diacre au monastère de Cluny; rappelé en Pologne en 1041, il fut relevé de ses voeux par le pape, se maria, régna, et en mémoire de son ancien état monastique, il créa et dota en Pologne plusieurs couvents qu'il peupla de religieux de Cluny. On prétend que ses sujets, pour perpétuer le souvenir de ce fait, s'engagèrent à couper leurs cheveux en forme de couronne, symbole de la tonsure monastique. Saint Odilon fut en relations d'estime ou d'amitié avec les papes Sylvestre II, Benoît VIII, Benoit IX, Jean XVIII, Jean XIX et Clément II; avec les empereurs Othon III, saint Henri, Conrad le Salique, Henri le Noir; avec l'impératrice sainte Adélaïde, les rois de France Hugues Capet et Robert, ceux d'Espagne, Sanche, Ramir et Garcias, saint Étienne de Hongrie, Guillaume le Grand, comte de Poitiers. Ce fut lui qui fonda ce que l'on appela la trêve de Dieu, et la fête des morts. Il bâtit à Cluny un cloître magnifique orné de colonnes de marbre qu'il fit venir par la Durance et le Rhône. «J'ai trouvé une abbaye de bois, disait-il, et je la laisse de marbre.» Mais bientôt l'immense influence que prenait Cluny émut l'épiscopat: l'évêque de Mâcon, qui voyait croître en richesses territoriales, en nombre et en réputation les moines de Cluny, voulut les faire rentrer sous sa juridiction générale. En exécution des volontés du fondateur laïque de l'abbaye, les papes avaient successivement accordé aux abbés des bulles formelles d'exemption; ils menacèrent même d'excommunication tout évêque qui serait tenté d'entreprendre sur les immunités accordées à Cluny par le saint-siége. «Les évêques ne pouvaient pénétrer dans l'abbaye, la visiter, y exercer leurs fonctions, sans y être appelés par l'abbé. Ils devaient excommunier tout individu qui troublerait les moines dans leurs possessions, leur liberté; et s'ils voulaient au contraire jeter un interdit sur les prêtres, les simples laïques, les serviteurs, les fournisseurs, les laboureurs, sur tous ceux enfin qui vivaient dans la circonscription abbatiale, et qui étaient nécessaires à la vie physique ou spirituelle des moines, cet interdit était nul de plein droit. Ces chartes abondent dans le cartulaire de l'abbaye; plus de quarante papes, à différentes époques, confirment ou amplifient les priviléges ecclésiastiques du monastère. En 1025, l'évêque de Mâcon, Gaulenus, dénonça à l'archevêque de Lyon, son métropolitain, les abbés et religieux de Cluny, qui troublaient l'état mis en l'Église dès sa naissance, pour s'exempter de la juridiction ordinaire de leur diocésain 62.»
L'abbé fut condamné après une longue résistance et se soumit. Le temps n'était pas encore venu où la papauté pouvait soutenir les priviléges qu'elle accordait; mais cette première lutte avec le pouvoir épiscopal explique la solidarité qui unit Cluny et la cour de Rome quelques années plus tard.
À vingt ans, Hugues, sous Odilon, était déjà prieur à Cluny; il était lié d'affection intime avec le moine Hildebrand. Hugues, fils de Dalmace, comte de Semur en Brionnais, succéda à saint Odilon; Hildebrand devint Grégoire VII. Tous deux, dans ces temps si voisins de la barbarie, surent faire prédominer un grand principe, l'indépendance spirituelle de l'Église. Grégoire VII triompha de Henri IV par le seul ascendant de l'opinion publique et religieuse, et en mourant exilé, il n'en assura pas moins le trône pontifical sur des bases inébranlables; saint Hugues sut rester l'ami des deux rivaux qui remplirent le XIe siècle de leurs luttes. Il est le représentant de l'esprit monastique arrivé à son apogée, dans un siècle où l'esprit monastique seul était capable, par son unité, son indépendance, ses lumières, et l'ordre qui le dirigeait, de civiliser le monde. Que ceux qui reprochent aux bénédictins leurs immenses richesses, leur prépondérance, leur esprit de propagande, et l'omnipotence qu'ils avaient su acquérir, se demandent si tous ces biens terrestres et intellectuels eussent été alors plus utilement placés pour l'humanité en d'autres mains? Était-ce la féodalité séculière sans cesse divisée, guerroyante, barbare, ignorante; était-ce le peuple qui se connaissait à peine lui-même; était-ce la royauté dont le pouvoir contesté s'appuyait tantôt sur le bras séculier, tantôt sur l'ascendant des évêques, tantôt sur le peuple des villes, qui pouvaient ainsi réunir en un faisceau toutes les forces vitales d'un pays, les coordonner, les faire fructifier, les conserver et les transmettre intactes à la postérité? Non, certes; les ordres religieux, voués au célibat, réunis sous une règle commune, attachés par des voeux inviolables et sacrés, prenant pour base la charité, étaient seuls capables de sauver la civilisation, de prendre en tutelle les grands et les peuples pendant cette minorité des nations. Les ordres religieux au XIe siècle ont acquis cette immense influence et ce pouvoir ne relevant que d'un chef spirituel, parce que grands et peuples comprenaient instinctivement la nécessité de cette tutelle sans laquelle tout fût retombé dans le chaos. Par le fait, au XIe siècle, il n'y avait que deux ordres en Europe, l'ordre militaire et l'ordre religieux; et comme dans ce monde, les forces morales finissent toujours par l'emporter sur la force matérielle lorsqu'elle est divisée, les monastères devaient acquérir plus d'influence et de richesses que les châteaux; ils avaient pour eux l'opinion des peuples qui, à l'ombre des couvents, se livraient à leur industrie, cultivaient leurs champs avec plus de sécurité que sous les murs des forteresses féodales; qui trouvaient un soulagement à leurs souffrances morales et physiques dans ces grands établissements où tout était si bien ordonné, où la prière et la charité ne faisaient jamais défaut; lieu d'asile pour les âmes malades, pour les grands repentirs, pour les espérances déçues, pour le travail et la méditation, pour les plaies incurables du coeur, pour la faiblesse et la pauvreté; dans un temps où la première condition de l'existence mondaine était une taille élevée, un bras pesant, des épaules capables de porter la cotte d'armes. Un siècle plus tard, Pierre le Vénérable, dans une réponse à saint Bernard, explique mieux que nous ne saurions le faire les causes de la richesse de Cluny. «Tout le monde sait, dit-il, de quelle manière les maîtres séculiers traitent leurs serfs et leurs serviteurs. Ils ne se contentent pas du service usuel qui leur est dû; mais ils revendiquent sans miséricorde les biens et les personnes, les personnes et les biens. De là, outre les cens accoutumés, ils les surchargent de services innombrables, de charges insupportables et graves, trois ou quatre fois par an, et toutes les fois qu'ils le veulent. Aussi voit-on les gens de la campagne abandonner le sol et fuir en d'autres lieux. Mais, chose plus affreuse! ne vont-ils pas jusqu'à vendre pour de l'argent les hommes que Dieu a rachetés au prix de son sang? Les moines, au contraire, quand ils ont des possessions, agissent bien d'autre sorte. Ils n'exigent des colons que les choses dues et légitimes; ils ne réclament leurs services que pour les nécessités de leur existence; ils ne les tourmentent d'aucune exaction, ils ne leur imposent rien d'insupportable; s'ils les voient nécessiteux, ils les nourrissent de leur propre substance. Ils ne les traitent pas en esclaves, en serviteurs, mais en frères... Et voilà pourquoi les moines sont propriétaires à aussi bon titre, à meilleur titre même que les laïques.» Il faut donc voir dans l'immense importance de Cluny, au XIe siècle, un mouvement national, un commencement d'ordre et de raison, après les déréglements et le pillage. Saint Hugues, en effet, participe à toutes les grandes affaires de son siècle, comme le feront plus tard l'abbé Suger et saint Bernard lui-même. Saint Hugues n'est pas seulement occupé de réformer des monastères et de les soumettre à la règle de Cluny, de veiller à ce que l'abbaye mère croisse en grandeur et en richesses, à ce que ses priviléges soient maintenus, il est mêlé à tous les événements importants de son siècle; les rois et les princes le prennent pour arbitre de leurs différends. Alphonse VI, roi de Castille, qui professait pour lui la plus vive amitié, le charge de fonder deux monastères clunisiens en Espagne, il contribue à la construction de la grande église mère commencée par Hugues. Guillaume le Conquérant sollicite l'abbé de Cluny de venir gouverner les affaires religieuses de l'Angleterre. D'antiques abbayes deviennent, pendant le gouvernement de saint Hugues, des dépendances de Cluny; ce sont celles de Vézelay, de Saint-Gilles, Saint-Jean d'Angély, Saint-Pierre de Moissac, Maillezais, Saint-Martial de Limoges, Saint-Cyprien de Poitiers, Figeac, Saint-Germain d'Auxerre, Saint-Austre-moine de Mauzac, et Saint-Bertin de Lille; tout en conservant leur titre d'abbé, les supérieurs de ces établissements religieux sont nommés par l'abbé général. «Déjà, cinq ans auparavant, saint Hugues ne consentait à se charger du monastère de Lézat qu'à la condition que l'élection de l'abbé lui serait abandonnée et à ses successeurs après lui. En pareille circonstance, dit Mabillon, il mettait toujours cette condition, afin, comme l'exprime la charte, de ne point travailler en vain, et dans la crainte que le monastère réformé ne vînt bientôt à retomber dans un état pire que le premier 63.» Saint Hugues fonde le monastère de la Charité-sur-Loire; de son temps Cluny était un véritable royaume, «sa domination s'étendait sur trois cent quatorze monastères et églises, l'abbé général était un prince temporel qui, pour le spirituel, ne dépendait que du saint-siège. Il battait monnaie sur le territoire même de Cluny, aussi bien que le roi de France dans sa royale cité de Paris 64...»
Pour gouverner des établissements répartis sur tout le territoire occidental de l'Europe, des assemblées de chapitres généraux sont instituées; à des époques rapprochées et périodiques, on verra de tous les points de l'Italie, de l'Allemagne, de la France, de l'Aquitaine, de l'Espagne, du Portugal, de l'Angleterre, de la Hongrie, de la Pologne, accourir à la voix de l'abbé les supérieurs et délégués des monastères. «Saint Benoît voulait que, dans les affaires importantes, l'abbé consultât toute la communauté. Cette sage précaution, cette espèce de liberté religieuse sera transportée en grand dans l'immense congrégation de Cluny. Au chapitre général, on discutera des intérêts et des besoins spirituel du cloître, comme les conciles font les intérêts et les besoins de l'Église. On rendra compte de l'état de chaque communauté; toutes seront groupées par provinces monastiques, et le chapitre général, avant de se séparer, nommera deux visiteurs pour chacune de ces provinces. Leur devoir sera d'y aller assurer l'exécution des mesures décrétées dans le chapitre général, de voir de près l'état des choses, d'entendre et d'accueillir au besoin les plaintes des faibles, et d'y régler toutes choses pour le bien de la paix 65.»
Ainsi, politiquement, Cluny donnait l'exemple de l'organisation centrale qui, plus tard, sera suivie par les rois. Mais non content de cette surveillance exercée par des visiteurs, nommés en chapitre général, Hugues veut voir par lui-même; nous le suivons tour à tour sur tous les points de l'Europe où sont établies des filles de Cluny, il fait rédiger les coutumes de son monastère par un de ses savants disciples, Bernard 66; il fonde à Marcigny un couvent de femmes, dans lequel viennent bientôt se réfugier un grand nombre de dames illustres, Mathilde de Bergame et Gastonne de Plaisance; Véraise et Frédoline, du sang royal d'Espagne; Marie, fille de Malcolm d'Écosse; la soeur de saint Anselme de Cantorbéry; Adèle de Normandie, fille de Guillaume le Conquérant; Mathilde, veuve d'Étienne de Blois; Hermingarde de Boulogne, soeur de cette princesse, et Émeline de Blois, sa fille. Parmi tant de personnages, Aremburge de Vergy, mère de saint Hugues, vient aussi se retirer au monastère de Marcigny. En Angleterre, en Flandre, et jusqu'en Espagne, cette nouvelle communauté eut bientôt des églises et des prieurés sous sa dépendance.
Rien de comparable à ce mouvement qui se manifeste au XIe siècle en faveur de la vie religieuse régulière. C'est qu'en effet là seulement, les esprits d'élite pouvaient trouver un asile assuré et tranquille, une existence intellectuelle, l'ordre et la paix. La plupart des hommes et des femmes qui s'adonnaient à la vie monastique n'étaient pas sortis des classes inférieures de la société, mais, au contraire, de ses hautes régions. C'est la tête du pays qui se précipitait avec passion dans cette voie, comme la seule qui pût conduire, non-seulement à la méditation et aux inspirations religieuses, mais au développement de l'esprit, qui pût ouvrir un vaste champ à l'activité de l'intelligence.
Mais une des grandes gloires des ordres religieux, gloire trop oubliée par des siècles ingrats, ç'a été le défrichement des terres, la réhabilitation de l'agriculture, abandonnée depuis la conquête des barbares aux mains de colons ou de serfs avilis. Aucune voix ne s'éleva à la fin du siècle dernier pour dire que ces vastes et riches propriétés possédées par les moines avaient été des déserts arides, des forêts sauvages, ou des marais insalubres qu'ils avaient su fertiliser. Certes, après l'émancipation du tiers état, l'existence des couvents n'avait plus le degré d'utilité qu'ils acquirent du Xe au XIIe siècle; mais à qui les classes inférieures de la société, dans l'Europe occidentale, devaient-elles leur bien-être et l'émancipation qui en est la conséquence, si ce n'est aux établissements religieux de Cluny et de Cîteaux 67?
De nos jours on a rendu justice aux bénédictins, et de graves autorités ont énuméré avec scrupule les immenses services rendus à l'agriculture par les établissements clunisiens et cisterciens; partout où Cluny ou Cîteaux fondent une colonie, les terres deviennent fertiles, les marais pestilentiels se changent en vertes prairies, les forêts sont aménagées, les coteaux arides se couvrent de vignobles. Qui ne sait que les meilleurs bois, les moissons les plus riches, les vins précieux proviennent encore aujourd'hui des terres dont les moines ont été dépossédés? À peine l'oratoire et les cellules des bénédictins étaient-ils élevés au milieu d'un désert, que des chaumières venaient se grouper alentour, puis à mesure que l'abbaye ou le prieuré s'enrichissait, le hameau devenait un gros village, puis une bourgade, puis une ville. Cluny, Paray-le-Monial, Marcigny-les-Nonains, Charlieu, Vézelay, Clairvaux, Pontigny, Fontenay, Morimond, etc., n'ont pas une autre origine. La ville renfermait des industriels instruits par les moines; des tanneurs, des tisserands, des drapiers, des corroyeurs livraient à l'abbaye, moyennant salaire, les produits fabriqués de ses troupeaux, sans craindre le chômage, la plaie de nos villes manufacturières modernes; leurs enfants étaient élevés gratuitement à l'abbaye, les infirmes et les vieillards soignés dans des maisons hospitalières bien disposées et bien bâties; souvent les monastères élevaient des usines pour l'extraction et le façonnage des métaux; c'étaient alors des forgerons, des chaudronniers, des orfévres même qui venaient se grouper autour des moines, et s'il survenait une année de disette, si la guerre dévastait les campagnes, les vastes greniers de l'abbaye s'ouvraient pour les ouvriers sans pain; la charité alors ne se couvrait pas de ce manteau froid de nos établissements modernes, mais elle accompagnait ses dons de paroles consolantes, elle était toujours là présente, personnifiée par l'Église. Non contente de donner le remède, elle l'appliquait elle-même, en suivait les progrès, connaissait le malade, sa famille, son état, et le suivait jusqu'au tombeau. Le paysan de l'abbaye était attaché à la terre, comme le paysan du seigneur séculier, mais par cela même, loin de se plaindre de cet état, voisin de l'esclavage politiquement parlant, il en tirait protection et assistance perpétuelle pour lui et ses enfants. Ce que nous avons vu établi au IXe siècle dans l'enceinte d'une villa (voy. le plan de l'abbaye de Saint-Gall) s'étendait, au XIe siècle, sur un vaste territoire, ou remplissait les murs d'une ville. Dire que cet état de choses ne comportait aucun abus serait une exagération; mais au milieu d'une société divisée et désordonnée comme celle du XIe siècle, il est certain que les établissements monastiques étaient un bien immense, le seul praticable. Ce n'est pas tout, les monastères, dans un temps où les routes étaient peu sûres, étaient un refuge assuré pour le voyageur, qui jamais ne frappait en vain à la porte des moines. Ceux qui ont visité l'Orient savent combien est précieuse l'hospitalité donnée par les couvents à tous venants, mais combien devait être plus efficace et plus magnifique surtout, celle que l'on trouvait dans des maisons comme Cluny, comme Clairvaux. À ce propos qu'on nous permette de citer ici un passage d'Udalric 68: «Comme les hôtes à cheval étaient reçus par le custode ou gardien de l'hôtellerie, ainsi les voyageurs à pied l'étaient par l'aumônier. À chacun, l'aumônier distribuait une livre de pain et une mesure suffisante de vin. En outre, à la mort de chaque frère, on distribuait, pendant trente jours, sa portion au premier pauvre qui se présentait. On lui donnait en sus de la viande comme aux hôtes, et à ceux-ci un denier au moment du départ. Il y avait tous les jours dix-huit prébendes ou portions destinées aux pauvres du lieu, auxquels on distribuait en conséquence une livre de pain; pour pitance, des fèves quatre jours la semaine, et des légumes les trois autres jours. Aux grandes solennités, et vingt-cinq fois par an, la viande remplaçait les fèves. Chaque année, à Pâques, on donnait à chacun d'eux neuf coudées d'étoffe de laine, et à Noël une paire de souliers. Six religieux étaient employés à ce service, le majordome, qui faisait la distribution aux pauvres et aux hôtes, le portier de l'aumônerie; deux allaient chaque jour au bois, dans la forêt, avec leurs ânes; les deux autres étaient chargés du four. On distribuait des aumônes extraordinaires à certains jours anniversaires et en mémoire de quelques illustres personnages, tels que saint Odilon, l'empereur Henri, le roi Ferdinand (fils de Sanche le Grand roi de Castille et de Léon, mort le 27 décembre 1065) et son épouse, et les rois d'Espagne. Chaque semaine, l'aumônier lavait les pieds à trois pauvres, avec de l'eau chaude en hiver, et il leur donnait à chacun une livre de pain et la pitance. En outre, chaque jour, on distribuait douze tourtes, chacune de trois livres, aux orphelins et aux veuves, aux boiteux et aux aveugles, aux vieillards et à tous les malades qui se présentaient. C'était encore le devoir de l'aumônier de parcourir, une fois la semaine, le territoire de l'abbaye, s'informant des malades, et leur remettant du pain, du vin, et tout ce qu'on pouvait avoir de meilleur.» Udalric ajoute plus loin que l'année où il écrivit ses coutumes, on avait distribué deux cent cinquante jambons, et fait l'aumône à dix-sept mille pauvres. Chaque monastère dépendant de Cluny imitait cet exemple selon ses moyens. Si nous ajoutons à ces occupations, toutes charitables, l'activité extérieure des moines de Cluny, leur influence politique et religieuse, les affaires considérables qu'ils avaient à traiter, la gestion spirituelle et temporelle de leurs domaines et des prieurés qui dépendaient de l'abbaye mère, l'enseignement de la jeunesse, les travaux littéraires du cloître, et enfin l'accomplissement de nombreux devoirs religieux de jour et de nuit, on ne s'étonnera pas de l'importance qu'avait acquise cette maison à la fin du XIe siècle, véritable gouvernement qui devait tout attirer à lui, grands et petits, influence morale et richesses. C'est alors aussi que la construction de la grande église est commencée.

Du temps de saint Hugues, l'église de Cluny ne suffisait plus au nombre des moines; cet abbé entreprit, en 1089, de la reconstruire; la légende dit que saint Pierre en donna le plan au moine Gauzon pendant son sommeil. C'était certainement l'église la plus vaste de l'Occident. Voici (2) le plan de l'abbaye telle qu'elle existait encore 69 à la fin du siècle dernier; malheureusement à cette époque déjà, comme dans la plupart des grands monastères de bénédictins, les bâtiments claustraux avaient été presque entièrement reconstruits, mais l'église était intacte. Commencée par la partie du choeur sous saint Hugues, elle ne fut dédiée qu'en 1131. Le narthex ne fut achevé qu'en 1220. A était l'entrée du monastère, fort belle porte du XIIe siècle à deux arcades qui existe encore. En avant de l'église en R, cinq degrés conduisaient dans une sorte de parvis au milieu duquel s'élevait une croix de pierre, puis on trouvait un grand emmarchement interrompu par de larges paliers qui descendait à l'entrée du narthex, flanqué de deux tours carrées; la tour méridionale était le siége de la justice, la prison; celle du nord était réservée à la garde des archives. Il ne semble pas que les églises clunisiennes aient été précédées de porches de cette importance avant le XIIe siècle. Le narthex B de Cluny datait des premières années du XIIIe siècle, ceux de la Charité-sur-Loire et de Vézelay ont été bâtis au XIIe. À Vézelay, cependant, il existait un porche construit en même temps que la nef à la fin du XIe siècle ou au commencement du XIIe, mais il était bas et peu profond. Il est difficile de savoir exactement à quel usage cette avant-nef était destinée; une nécessité absolue avait dû forcer les religieux de la règle de Cluny, vers le milieu du XIIe siècle, d'adopter cette disposition, car elle se développe tout à coup, et prend une grande importance. À Cluny, à la Charité, à Vézelay, le narthex est une véritable église avec ses collatéraux, son triforium, ses deux tours. À Vézelay, le triforium se retourne au-dessus de la porte d'entrée de la nef intérieure, et devient ainsi une véritable tribune sur laquelle avait été placé un autel au XIIe siècle dans la niche centrale formant originairement l'une des baies éclairant le pignon occidental (voy. ARCHITECTURE RELIGIEUSE, fig. 22). Ce vestibule était-il destiné à contenir la suite des nobles visiteurs qui étaient reçus par les moines, ou les nombreux pèlerins qui se rendaient à l'abbaye à certaines époques de l'année? Était-il un narthex réservé pour les pénitents? Cette dernière hypothèse nous paraîtrait la plus vraisemblable; un texte vient l'appuyer; dans l'ancien pontifical de Châlon-sur-Saône, si voisin de Cluny, on lisait: «Dans quelques églises, le prêtre, par ordre de l'évêque, célèbre la messe sur un autel très-rapproché des portes du temple, pour les pénitents placés devant le portail de l'église 70.» À Cluny même, près la porte d'entrée à gauche, dans le vestibule, on voyait encore, avant la révolution, une table de pierre de quatre pieds de long sur deux pieds et demi de large, qui pouvait passer pour un autel du XIIe siècle 71.
Du vestibule on entrait dans la grande église par une porte plein cintre dont le linteau représentait probablement, comme à Moissac, les vingt-quatre vieillards de la vision de saint Jean 72, bien que les descriptions ne relatent que vingt-trois figures. Au-dessus, dans le tympan, était sculpté de dimension colossale, comme aussi dans le tympan de la porte méridionale de l'abbaye de Moissac, le Christ assis tenant l'Évangile et bénissant; autour de lui étaient les quatre évangélistes et quatre anges supportant l'auréole ovoïde dont il était entouré. La nef immense était bordée de doubles collatéraux comme l'église Saint-Bernin de Toulouse; elle était voûtée en berceau plein cintre. Au-dessus de la porte d'entrée, dans l'épaisseur du mur séparant le narthex de la nef, et formant un encorbellement de 2m,00 à l'intérieur, était pratiquée une chapelle dédiée à saint Michel, à laquelle on arrivait par deux escaliers à vis. Nous avons vu qu'à l'abbaye de Saint-Gall (fig. 1) une petite chapelle circulaire, élevée au-dessus du sol, était également dédiée à saint Michel. À Vézelay, à la cathédrale d'Autun, c'est une niche qui surmonte le portail et dans laquelle pouvait être placé un autel. Il semblerait que cette disposition appartînt aux églises clunisiennes; en tous cas elle mérite d'être mentionnée, car nous la retrouvons à Saint-Andoche de Saulieu; dans l'église de Montréal, près Avallon, sous forme de tribune avec son autel encore en place (voy. TRIBUNE). Mais ce qui caractérise la grande église de Cluny, c'est ce double transsept dont aucune église en France ne nous donne d'exemple. En D était l'autel principal, en E l'autel de retro, en F le tombeau de saint Hugues, mort en 1109. La grande quantité de religieux qui occupaient Cluny à la fin du XIe siècle explique cette disposition du double transsept; en effet les stalles devaient s'étendre depuis l'entrée du transsept oriental jusque vers le tombeau du pape Gélase, en G, et fermaient ainsi les deux croisillons de la première croisée. Le second transsept devait être réservé au culte, à l'entrée comme à la sortie des religieux; et les deux croisillons du premier transsept, derrière les stalles, étaient destinés au service des quatre chapelles ouvertes à l'est, peut-être aussi aux hôtes nombreux que l'abbaye était souvent obligée de loger, soit pendant les grandes assemblées, lors des séjours des papes et des personnages souverains. Du côté du midi était un immense cloître entouré de bâtiments dont on retrouve des traces encore aujourd'hui en O et en I.--K, L, étaient les deux abbatiales reconstruites à la fin du XVe siècle et au commencement du XVIe; M une boulangerie qui subsiste encore; S, N, les bâtiments rebâtis au commencement du siècle dernier sur l'emplacement des constructions primitives; P la paroisse; T la rue longeant la clôture de l'abbaye; V les jardins avec de grands viviers. Une chronique de l'abbaye fait remonter au gouvernement de saint Hugues «la construction d'un immense réfectoire, au midi du cloître. Ce réfectoire, long de cent pieds et large de soixante, contenait six rangs de tables, sans compter trois autres tables transversales, destinées aux fonctionnaires de la communauté. Il était orné de peintures qui retraçaient les histoires mémorables de l'ancien et du Nouveau Testament, les portraits des principaux fondateurs et bienfaiteurs de l'abbaye. À l'un des bouts une grande peinture représentait le jugement dernier 73.» Cet usage de peindre la scène du jugement dernier dans les réfectoires de la règle de Cluny était fréquent; il y a quelque temps que l'on voyait les traces d'une de ces représentations dans le réfectoire de l'abbaye de Moissac, détruit aujourd'hui pour donner passage au chemin de fer de Bordeaux à Toulouse.
La ville de Cluny, qui est bâtie au midi de l'abbaye sur le rampant d'un
coteau s'inclinant vers l'église, renferme encore une grande quantité de
charmantes maisons des XIIe et XIIIe siècles; elle fut entourée de murs
vers la fin du XIIe siècle par les abbés, et pour reconnaître ce
service, la ville s'engagea dès lors à payer des dîmes au monastère.
Outre les deux tours du narthex, l'église de Cluny possédait trois
clochers posés à cheval sur son premier transsept et un clocher sur le
centre de la deuxième croisée, que l'on désignait sous le nom de
clocher des lampes, parce qu'il contenait à sa base les couronnes de
lumières qui brûlaient perpétuellement au-dessus du grand autel. Il
n'est pas douteux que l'abbaye ne fût entourée de murs fortifiés avant
la construction des murs de la ville, et lorsque celle-ci faisait, pour
ainsi dire, partie du monastère. La curieuse abbaye de Tournus, dont
nous donnons ici le plan (3), était entourée de murs continuant les
remparts de la ville du côté nord et possédant ses défenses
particulières du côté du midi dans la cité même
74. Une charte de
Charles le Chauve désigne ainsi Tournus: «Trenorchium castrum,
Tornutium villa, et cella Sancti Valeriani;» le château, la ville de
Tournus, et l'enceinte sacrée de Saint-Valérian. Ces divisions étaient
fréquentes au moyen âge, et lorsque les monastères étaient voisins de
villes, soit parce qu'ils s'étaient établis proche de cités déjà
existantes, soit parce que successivement des habitations laïques
s'étaient agglomérées près d'eux, ils avaient toujours le soin de
conserver un côté découvert donnant sur la campagne, ne se laissant pas
entourer de toutes parts. À Paris, l'abbaye Saint-Germain des Prés
possédait une vaste étendue de terrains situés à l'ouest du monastère,
et il fallut que la ville s'étendît singulièrement pour déborder ces
prés qui se prolongeaient jusqu'au delà de la rue du Bac. L'abbaye de
Moissac avait son enceinte fortifiée, séparée de l'enceinte de la ville
par une rue commune. Il en était de même à l'abbaye Saint-Remy de Reims,
à celle de Saint-Denis; les abbayes de la Trinité, de Saint-Étienne, à
Caen (4), se trouvaient dans une situation analogue
75.

Il arrivait souvent aussi que les monastères bâtis à une certaine distance de villes populeuses étaient peu à peu gagnés par les constructions particulières; alors, au moment des guerres, on englobait les enceintes de ces monastères dans les nouvelles fortifications des villes; c'est ainsi qu'à Paris, le prieuré de Saint-Martin des Champs, les Chartreux, le Temple, les Célestins, l'abbaye Sainte-Geneviève, Saint-Germain des Prés, les Blancs-Manteaux, furent successivement compris dans l'enceinte de la ville, quoique ces établissements eussent été originairement élevés extra muros.
Comme propriétaires fonciers, les ordres religieux possédaient tous les droits de seigneurs féodaux, et cette situation même ne contribua pas peu à leur décadence lorsque le pouvoir royal d'une part, et les priviléges des communes de l'autre, prirent une grande importance; elle les plaçait souvent, et à moins d'exemptions particulières, que le suzerain n'admettait qu'avec peine, dans l'obligation de fournir des hommes d'armes en temps de guerre, où de tenir garnison. À la fin du XIIe siècle, quand la monarchie devient prépondérante, les grands établissements religieux qui se sont élevés, humbles d'abord, en face de la féodalité, absorbent le château, puis sont absorbés à leur tour dans l'unité monarchique; mais c'est au moment où ils passent de l'état purement monastique à l'état de propriétaires féodaux, c'est-à-dire sous les règnes de Philippe Auguste et de saint Louis, qu'ils s'entourent d'enceintes fortifiées. Toute institution tient toujours par un point au temps où elle fleurit. L'institut monastique, du moment qu'il était possesseur de terres, devenait forcément pouvoir féodal, car on ne comprenait pas alors la propriété sous une autre forme; les abbés les plus illustres de Cluny avaient senti combien cette pente était glissante, et pendant les XIe et XIIe siècles ils avaient, par des réformes successives, essayé d'enlever à la propriété monastique son caractère féodal; mais les moeurs étaient plus fortes que les réformes, et Cluny qui par sa constitution, son importance, le personnel influent qui faisait partie de l'ordre, les bulles des papes, et ses richesses, paraissait invulnérable, devait être attaqué par le seul côté qui donnait au suzerain le moyen de s'immiscer dans ses affaires; et ce côté attaquable, c'étaient les droits seigneuriaux des abbés.
Dans les dernières années du XIe siècle, trois religieux de Molesmes, saint Robert, saint Albéric et saint Étienne, après s'être efforcés de réformer leur abbaye, qui était tombée dans le plus grand relâchement, allèrent à Lyon, en compagnie de quatre autres frères, trouver l'archevêque Hugues, légat du saint-siége, et lui exposèrent qu'ils désiraient fonder un monastère où la règle de Saint-Benoît fut suivie avec la plus grande rigueur; le légat loua leur zèle, mais les engagea à n'entreprendre cette tâche qu'en compagnie d'un plus grand nombre de religieux. En effet, bientôt quatorze frères se joignirent à eux, et ayant reçu l'avis favorable du légat, ils partirent ensemble de Molesmes et allèrent s'établir dans une forêt nommée Cîteaux, située dans le diocèse de Châlon. C'était une de ces solitudes qui couvraient alors une grande partie du sol des Gaules. Le vicomte de Beaune leur abandonna ce désert. La petite colonie se mit à l'oeuvre et éleva bientôt ce que les annales cisterciennes appellent le monastère de bois. Ce lieu était humide et marécageux; l'oratoire fut bâti en un an, de 1098 à 1099, ce n'était qu'une pauvre chapelle. Les vingt et un religieux n'eurent dans l'origine ni constitution ni règlements particuliers, et s'attachèrent littéralement à la règle de Saint-Benoît; ce ne fut qu'un peu plus tard que saint Albéric rédigea des statuts. «Les nouveaux solitaires devaient vivre des travaux de leurs mains, dit l'auteur des annales de l'ordre, sans toutefois manquer aux devoirs auxquels ils étaient obligés en qualité de religieux... Saint Pierre de Cluny, ajoute cet auteur, faisant réflexion sur leur vie, la croit non-seulement difficile, mais même impossible aux forces humaines. Comment se peut-il faire, s'écrie-t-il, que des solitaires accablés de fatigues et de travaux, qui ne se nourrissent que d'herbes et de légumes, qui n'entretiennent pas les forces du corps, et même peuvent à peine conserver la vie, entreprennent des travaux que les gens de la campagne les plus robustes trouveraient très-rudes et très-difficiles à supporter, et qu'ils souffrent tantôt les ardeurs du soleil, tantôt les pluies, les neiges et les glaces de l'hiver?... Si les religieux recevaient des frères convers 76, c'était pour n'être pas obligés de sortir de l'enceinte du monastère, et pour que ces frères pussent s'employer aux affaires extérieures.» Saint Robert et ses compagnons, en fondant Cîteaux, comprenaient déjà quelle prise donnait aux pouvoirs séculiers la règle de Saint-Benoît, entre les mains des riches établissements de Cluny; aussi avec quelle rigueur ces fondateurs repoussent-ils les donations qui ne tendaient qu'à les soulager d'une partie de leurs rudes labeurs, au détriment de leur indépendance; ne conservant que le sol ingrat qui pouvait à peine les nourrir, afin de n'être à charge à personne, «car, ajoute l'auteur déjà cité, c'est ce qu'ils craignaient le plus au monde.» Cependant Eudes, duc de Bourgogne, éleva un château dans le voisinage, afin de se rapprocher de ces religieux qu'il avait aidés de ses dons lors de la construction de leur oratoire; son fils Henri voulut bientôt partager leurs travaux, il se fit moine. Mais Cîteaux ne prit un grand essor que quand saint Bernard et ses compagnons vinrent s'y renfermer; à partir de ce moment, une nouvelle milice se présente pour relever celle fournie par Cluny un siècle auparavant. De la forêt marécageuse où les vingt et un religieux de Molesmes ont bâti quelques cabanes de bois, cultivé quelque coin de terre, vont sortir, en moins de vingt-cinq ans, plus de soixante mille moines cisterciens, qui se répandront du Tibre au Volga, du Mançanarez à la Baltique. Ces moines appelés de tous côtés par les seigneurs féodaux pour défricher des terres abandonnées, pour établir des usines, élever des troupeaux, assainir des marais, vont prêter à la papauté le concours le plus puissant par leur union, par la parole de leur plus célèbre chef; à la royauté et au peuple, par la réhabilitation de l'agriculture; car au milieu d'eux, sous le même habit, on verra des seigneurs puissants conduire la charrue à côté du pauvre colon. Cîteaux enlèvera des milliers de bras à la guerre pour remplir ses huit ou dix mille granges 77. Ses travaux ne s'arrêteront pas là, son immortel représentant prêchera la seconde croisade; Cîteaux défendra l'Europe contre les Maures d'Espagne, par la formation des ordres militaires de Calatrava, d'Alcantara, de Montesa. Les templiers demanderont des règlements à saint Bernard. Cîteaux, plus encore que Cluny, viendra au secours des pauvres, non-seulement par des aumônes, mais en employant leurs bras; et ses dons sortis de monastères simples et austères d'aspect, répartis par des moines se livrant chaque jour aux travaux les plus rudes, paraîtront plus précieux en ce qu'ils ne sembleront pas l'abandon du superflu, mais le partage du nécessaire. Ce n'est pas sur les lieux élevés que se fondent les monastères cisterciens, mais dans les vallons marécageux, le long des cours d'eau: c'est là que la culture pourra fertiliser le sol en convertissant des marais improductifs en prairies arrosées par des cours d'eau; c'est là que l'on pourra trouver une force motrice pour les usines, moulins, huileries, scieries, etc. Cîteaux, la Ferté, Clairvaux, Morimond, Pontigny, Fontenay, l'abbaye du Val, sont bâtis dans de creux vallons, et encore aujourd'hui, autour de ces établissements ruinés, on retrouve à chaque pas la trace des immenses travaux des moines, soit pour retenir les eaux dans de vastes étangs, soit pour les diriger dans des canaux propres aux irrigations, soit pour les amener dans des biefs de moulins. Comme exemple de ce que nous avançons ici, et pour donner une idée de ce qu'était, à la fin du XIIe siècle, un monastère cistercien, voici (5) le plan général de l'abbaye de Clairvaux, fondée par saint Bernard 78. On remarquera tout d'abord que ce plan se divise en deux sections distinctes; la plus importante, celle de l'est, renferme les bâtiments affectés aux religieux; en A sont placés l'église et deux cloîtres dont nous donnons plus bas le détail; en B des fours et moulins à grains et à huile; en C la cellule de saint Bernard, son oratoire et son jardin religieusement conservés; en E des piscines alimentées par l'étang; en F le logement des hôtes; en G la maison abbatiale, voisine de l'entrée et de l'hôtellerie; en H des écuries; en I le pressoir et grenier à foin; en Y des cours d'eau; et en S un oratoire. L'entrée principale de l'abbaye est en D. La section du plan située à l'ouest et séparée de la première par une muraille, comprend les dépendances et les logements des frères convers attachés à l'abbaye. T, est un jardin (promenoir). K, le parloir. L, des logements et ateliers d'artisans. M, la boucherie. N, des granges et étables. 0, des pressoirs publics. P, la porte principale. R, les restes du vieux monastère. V, une tuilerie.

X, son four. Des cours d'eau circulent au milieu de ces divers bâtiments et usines. Une enceinte générale, garnie de quelques tours de guet, enveloppe tout le monastère ainsi que ses dépendances; des jardins potagers et des vergers sont situés à l'extrémité est, et arrosés par des rigoles. Voici (6) le plan des bâtiments réservés aux religieux.

On remarquera tout d'abord que l'église A est terminée à l'abside par neuf chapelles carrées. Quatre autres chapelles orientées s'ouvrent sur le transsept; outre les stalles des religieux disposées en avant de la croisée, d'autres stalles sont placées immédiatement après la porte d'entrée dans la nef; ces stalles étaient probablement réservées aux frères convers. B, est le grand cloître avec son lavabo couvert, grand bassin d'une seule pièce muni d'une infinité de petites gargouilles tout alentour (voy. LAVABO). C, la salle capitulaire éclairée sur un petit jardin. D, le parloir des moines 79; le silence le plus absolu devant être observé entre les religieux, un endroit spécial était réservé pour les entretiens nécessaires, afin de ne pas exciter le scandale parmi les frères. E, le chauffoir 80; c'était là qu'après le chant des laudes, au lever du soleil, les religieux transis pendant l'office de la huit allaient se réchauffer et graisser leurs sandales, avant de se rendre aux travaux du matin. F, la cuisine ayant sa petite cour de service, son cours d'eau T, une laverie et un garde-manger à proximité. G, le réfectoire, placé en face du grand bassin des ablutions. H, le cimetière au nord de l'église. I, le petit cloître avec huit cellules réservées aux copistes, éclairées du côté du nord et s'ouvrant au midi sur l'une des galeries de ce cloître. K, l'infirmerie et ses dépendances. L, le noviciat. M, l'ancien logis des étrangers. N, l'ancien logis abbatial. O, le cloître des vieillards infirmes. P, la salle de l'abbé. Q, la cellule et l'oratoire de saint Bernard. R, des écuries. S, des granges et celliers. U, une scierie et un moulin à huile, mus par le cours d'eau T. V, un atelier de corroyeurs. X, la sacristie. Y, la petite bibliothèque, armariolum, où les frères déposaient leurs livres de lecture. Z, un rez-de-chaussée au-dessus duquel est établi le dortoir, auquel on accède par un escalier droit pris dans le couloir qui se trouve à côté du parloir D. Au-dessus de ce parloir était disposée la grande bibliothèque, à laquelle on montait par un escalier donnant dans le croisillon sud de l'église. Cet escalier conduisait également au dortoir, afin que les religieux pussent descendre à matines directement dans l'église. Du porche peu profond de l'église on parvient à la cuisine et à ses dépendances, sans passer dans le cloître, par une ruelle qui longe les granges et celliers; cette ruelle est accessible aux chariots par une porte charretière percée à la droite du porche. Ainsi, communications faciles avec le dehors pour les services, et clôture complète pour les religieux profès, si bon semble. Au sud du petit cloître on voit une grande salle, c'est une école ou plutôt le lieu de réunion des moines, destinée aux conférences en usage dans l'ordre de Cîteaux. Ces conférences étaient de véritables combats théologiques, dans ce temps où déjà la scolastique s'était introduite dans l'étude de la théologie; et, en effet, dans le plan original, ce lieu est désigné ainsi: Thesiù p. pugnand.
On conçoit que de rudes travaux manuels, et de nombreux devoirs religieux ne pouvaient satisfaire entièrement l'intelligence d'hommes réunis en grand nombre, et parmi lesquels on comptait des personnages distingués, tant par leur rang que par leur éducation littéraire. Autour du petit cloître venait donc se grouper ce qui était destiné à la pâture intellectuelle du monastère: la bibliothèque, les cellules des copistes, la salle où se discutaient les thèses théologiques; et comme pour rappeler aux religieux qu'ils ne devaient pas s'enorgueillir de leur savoir, de la vivacité de leur intelligence et des succès qu'ils pouvaient obtenir parmi leurs frères, l'infirmerie, l'asile des vieillards dont l'esprit aussi bien que le corps était affaibli par l'âge et les travaux, se trouvait là près du centre intellectuel du couvent. Entre cette salle et le dessous du dortoir, des latrines sont disposées le long des cours d'eau. À côté de la grande salle K est une petite chapelle, désignée sous le nom de chapelle des comtes de Flandre.
Certes, ce plan est loin de satisfaire aux exigences académiques auxquelles on croit, de nos jours, devoir sacrifier le bon sens et les programmes les mieux écrits; mais si nous prenons la peine de l'analyser, nous resterons pénétrés de la sagesse de ses dispositions. Les besoins matériels de la vie, granges, celliers, moulins, cuisines, sont à proximité du cloître, mais restent rependant en dehors de la clôture, afin que le voisinage de ces services ne puisse distraire les religieux profès. Au sud de l'église est le cloître, entouré de toutes les dépendances auxquelles les religieux doivent accéder facilement; chacune de ces dépendances prend l'espace de terrain qui lui convient. Au delà, un plus petit cloître paraît réservé aux travaux intellectuels. Si nous jetons les yeux sur le plan d'ensemble (5), nous voyons les usines, les vastes granges, les étables, les logements des artisans disposés dans une première enceinte en dehors de la clôture religieuse, sans symétrie, mais en raison du terrain, des cours d'eau, de l'orientation. Une troisième enceinte à l'est renferme les jardins, viviers, prises d'eau, etc. Tout l'établissement enfin est enclos dans des murs et des ruisseaux pouvant mettre l'abbaye à l'abri d'un coup de main.
De tous ces bâtiments si bien disposés et qui étaient construits de façon à durer jusqu'à nos jours, il ne reste plus que des fragments; l'abbaye de Clairvaux, entièrement reconstruite dans le siècle dernier, ne présente qu'un faible intérêt. Cette abbaye avait la plus grande analogie avec l'abbaye mère. La plupart de ses dispositions étaient copiées sur celles de Cîteaux. La constitution de l'ordre, qui avait été rédigée définitivement en 1119 dans une assemblée qui prit le nom de premier Chapitre général de Cîteaux, par Hugues de Mâcon, saint Bernard et dix autres abbés de l'ordre, et qui est un véritable chef-d'oeuvre d'organisation, en s'occupant des bâtiments, dit: «Le monastère sera construit (si faire se peut) de telle façon qu'il réunisse dans son enceinte toutes les choses nécessaires; savoir: l'eau, un moulin, un jardin, des ateliers pour divers métiers, afin d'éviter que les moines n'aillent au dehors.» L'église doit être d'une grande simplicité. «Les sculptures et les peintures en seront exclues; les vitraux uniquement de couleur blanche sans croix ni ornements 81. Il ne devra point être élevé de tours de pierre ni de bois pour les cloches, d'une hauteur immodérée, et par cela même en désaccord avec la simplicité de l'ordre... Tous les monastères de Cîteaux seront placés sous l'invocation de la sainte Vierge... Des granges ou métairies seront réparties sur le sol possédé par l'abbaye; leur culture confiée aux frères convers aidés par des valets de ferme... Les animaux domestiques devront être propagés, autant qu'ils ne sont qu'utiles... Les troupeaux de grand et de petit bétail ne s'éloigneront pas à plus d'une journée des granges, lesquelles ne seront pas bâties à moins de deux lieues de Bourgogne l'une de l'autre 82.»
Nous donnons (7) le plan cavalier de l'abbaye de Cîteaux, tête de l'ordre; il est facile de voir que les dispositions de ce plan ont été copiées à Clairvaux 83. O est la première entrée à laquelle on accède par une avenue d'arbres; une croix signale au voyageur la porte du monastère. Une chapelle D est bâtie à côté de l'entrée. Aussitôt que le frère portier entendait frapper à la porte, il se levait en disant: Deo gratias 84, rendant ainsi grâces à Dieu de ce qu'il arrivait un étranger; en ouvrant il ne prononçait que cette parole: Benedicite, se mettait à genoux devant lui, puis allait prévenir l'abbé. Quelque graves que fussent ses occupations, l'abbé venait recevoir celui que le ciel lui envoyait; après s'être prosterné à ses pieds, il le conduisait à l'oratoire: cet usage explique la destination de cette petite chapelle située près de la porte. Après une courte prière, l'abbé confiait son hôte au frère hospitalier, chargé de s'informer de ses besoins, de pourvoir à sa nourriture, à celle de sa monture s'il était à cheval. Une écurie F était à cet effet placée près de la grande porte intérieure E. Les hôtes mangeaient ordinairement avec l'abbé, qui avait pour cela une table séparée de celle des frères. Après les complies, deux frères semainiers, désignés chaque dimanche au chapitre pour cet office, venaient laver les pieds du voyageur.

De la première entrée on accédait dans une cour A, autour de laquelle étaient placées des granges, des écuries, étables, etc., puis un grand bâtiment G, contenant des celliers et le logement des frères convers qui ne se trouvaient pas ainsi dans l'enceinte réservée aux religieux profès. En H était le logement de l'abbé et des hôtes, également au dehors du cloître; en N l'église, à laquelle les frères convers et les hôtes accédaient par une porte particulière en S. B le grand cloître; K le réfectoire; I la cuisine; M les dortoirs et leur escalier L; C le petit cloître, et P les cellules des copistes, comme à Clairvaux, avec la bibliothèque au-dessus; R la grande infirmerie, pour les vieillards incapables de se livrer aux travaux actifs, et les malades. Une enceinte enveloppait tous les bâtiments, les jardins et cours d'eau destinés à leur arrosage. On voit qu'ici l'article de la constitution de l'ordre concernant la disposition des bâtiments était scrupuleusement exécuté. Sur l'église, une seule flèche, de modeste apparence, élevée au centre du transsept, suffisait au petit nombre de cloches nécessaires au monastère; mais à Cîteaux l'abside était terminée carrément, et en cela le choeur de l'église de Clairvaux, bâti pendant la seconde moitié du XIIe siècle, différait de l'abbaye mère.

L'abbaye de Pontigny, fondée en 1114, un an avant celle de Clairvaux, dans une vallée du diocèse d'Auxerre, jusqu'alors inculte et déserte, paraît avoir adopté la seconde, vers la fin du XIIe siècle dans le plan de son église, une abside avec chapelles carrées rayonnantes; voici (8) le plan de cette abbaye. De même qu'à Clairvaux et qu'à Cîteaux le transsept possède quatre chapelles carrées. L'église A est précédée d'un porche bas, s'ouvrant en dehors par une suite d'arcades. Ici le grand cloître C est situé au nord de l'église, mais cette disposition peut s'expliquer par la situation du terrain. Il fallait que les services du monastère fussent, conformément aux usages de Cîteaux, à proximité de la petite rivière qui coule de l'est à l'ouest, et l'église ne pouvait être bâtie sur la rive droite de ce cours d'eau, parce qu'elle est vaseuse, tandis que la rive gauche donne un bon sol, dès lors le cloître devant être forcément entre l'église et ce cours d'eau, ne pouvait être bâti qu'au nord de la nef. D'ailleurs, le climat est beaucoup moins rude à Pontigny qu'à Clairvaux et Cîteaux, et l'orientation méridionale du cloître était moins nécessaire. B est l'oratoire primitif qui avait été conservé; D la salle du chapitre; E le grand réfectoire; F la cuisine et ses dépendances avec sa petite cour séparée sur le cours d'eau; G le chauffoir; H le noviciat; I les pressoirs; K la sacristie; L des granges avec les logements des frères convers à proximité, en dehors de la clôture des religieux, comme à Cîteaux et à Clairvaux. Le logement de l'abbé et des hôtes, ainsi que les dépendances étaient à l'ouest proche de la première entrée du monastère. M la chapelle de Saint-Thomas Becket qui fut, comme chacun sait, obligé de se réfugier à Pontigny. Un grand bassin aux ablutions était placé au milieu du cloître. De vastes jardins entouraient cet établissement, et s'étendaient à l'est de l'église.
Comparativement à Cîteaux et à Clairvaux, Pontigny est un monastère de second ordre, et cependant sa filiation s'étendait en France, en Italie, en Hongrie, en Pologne et en Angleterre; trente maisons étaient placées sous sa juridiction, toutes fondées de 1119 à 1230. Parmi ces maisons nous citerons celles de Condom, de Châblis, du Pin, de Cercamp, de Saint-Léonard en France; de San-Sebastiano, de Saint-Martin de Viterbe en Italie; de Sainte-Croix, de Zam, de Kiers en Hongrie, etc., etc.
Il ne paraît pas que l'abbaye de Pontigny ait jamais été entourée de fortes murailles comme sa mère Cîteaux, et ses soeurs Clairvaux et Morimond; c'était là un établissement presque exclusivement agricole, nous n'y trouvons plus ce petit cloître réservé aux travaux littéraires; pas d'école, pas de cellules pour les copistes, pas de grande bibliothèque. Les moines de Pontigny, en effet, convertirent bientôt la vallée déserte et marécageuse où ils s'étaient établis en un riche territoire qui est devenu l'une des vallées les plus fertiles de l'Auxois; ils possédaient 2895 arpents de bois, ils avaient planté des vignes à Châblis, à Pontigny, à Saint-Bris; entretenaient 40 arpents de beaux prés, trois moulins, une tuilerie, et de nombreux domaines 85.


Comme Pontigny, l'abbaye des Vaux-de-Sernay dans le diocèse de Paris était un établissement purement agricole; fondé en 1128 (9), il n'avait pas l'importance des établissements de Clairvaux, de Morimond, de Pontigny, mais on trouve dans ce plan la simplicité d'ordonnance et la régularité des édifices enfantés par Cîteaux; toujours les quatre chapelles ouvertes à l'est dans le transsept, et comme à Cîteaux une abside carrée. En A est l'église; en B le cloître; en C le réfectoire, disposé perpendiculairement au cloître conformément au plan de Cîteaux et contrairement aux usages monastiques adoptés par les autres règles. La cuisine et le chauffoir étaient à proximité.
Le grand bâtiment qui prolonge le transsept contenait au rez-de-chaussée
la salle du chapitre, la sacristie, parloirs, etc.; au bout, des
latrines; au-dessus, le dortoir. Près de l'entrée, comme à Pontigny, il
existe une grange considérable; en E un moulin. Le colombier D, que nous
avons réuni à ce plan, se trouve éloigné du cloître dans les vastes
dépendances qui entourent l'abbaye
86. Mais voici maintenant une abbaye
de troisième classe de l'ordre de Cîteaux, c'est Fontenay près Montbard
(9 bis). L'église A est d'une extrême simplicité comme construction, son
abside est carrée, sans chapelles, et quatre chapelles carrées s'ouvrent
seulement sur le transsept; cette disposition apparaît toujours, comme
on le voit, dans les églises de la règle de Cîteaux, ainsi que le porche
fermé en avant de la nef. Le cloître C est placé au midi, le cours d'eau
H étant de ce côté de l'église. En F est la salle capitulaire, à la
suite le réfectoire, les cuisines et le chauffoir avec sa cheminée; en D
sont les dortoirs; mais ces constructions ont été relevées au XVe
siècle. Dans l'origine le dortoir était placé, suivant l'usage, à la
suite du transsept de l'église, afin de faciliter aux moines l'accès du
choeur pour les offices de nuit. Le long du ruisseau sont établis des
granges, celliers, etc. La porte est en E avec les étables et écuries.
Les autres services de cet établissement ont disparu aujourd'hui. Le
monastère de Fontenay est situé dans un vallon resserré, sauvage, et de
l'aspect le plus pittoresque; des étangs considérables, retenus par les
moines en amont du couvent à l'est, servent encore aujourd'hui à faire
mouvoir de nombreuses usines, telles que moulins, fouleries, scieries,
dans les bâtiments desquelles on rencontre quantité de fragments du XIIe
siècle. Fontenay était surtout un établissement industriel, comme
Pontigny était un établissement agricole. On trouve en amont du
monastère des traces considérables de mâchefer, ce qui donne lieu de
supposer que les moines avaient établi des forges autour de la maison
religieuse
87.
Nous avons vu plus haut que des métairies étaient
établies dans le voisinage des grandes abbayes pour la culture des
terres, qui bientôt vinrent augmenter les domaines des religieux. Ces
métairies conservaient leur nom primitif de villæ: c'étaient de
grandes fermes occupées par des frères convers et des valets sous la
direction d'un religieux qui avait le titre de frère hospitalier, car
dans ces villæ comme dans les simples granges isolées même,
l'hospitalité était assurée au voyageur attardé; et à cet effet, une
lampe brûlait toute la nuit dans une petite niche pratiquée au-dessus ou
à côté de la porte de ces bâtiments ruraux, comme un fanal destiné à
guider le pèlerin, et à ranimer son courage
88.
Voici donc (10) l'une de ces métairies; dépendance de Clairvaux, elle est jointe au plan de ce monastère donné plus haut, et est intitulée villæ Outraube. En A est la porte principale de l'enceinte, traversée par un cours d'eau B; deux granges immenses, dont l'une est à sept nefs, sont bâties en C; l'une de ces granges a son entrée sur les dehors. Dans une enceinte particulière D sont disposés les bâtiments d'habitation des frères convers et des valets, en E sont des étables et écuries. Une autre porte s'ouvre à l'extrémité opposée à la première, en F, c'est là que loge le frère hospitalier. Ces villæ n'étaient pas toujours munies de chapelles, et ses habitants devaient se rendre aux églises des abbayes ou prieurés voisins pour entendre les offices.
Il fallait, conformément aux statuts de l'ordre, qu'une villa, qu'une grange, fussent placées à une certaine distance de l'abbaye mère pour prendre le titre d'abbaye et qu'elles pussent suffire à l'entretien de treize religieux au moins. Quand les établissements ruraux ne possédaient que des revenus trop modiques pour nourrir treize religieux, ils conservaient leur titre de villa ou de simple grange 89.
L'ordre bénédictin de Cluny possédait des établissements secondaires qui avaient des rapports avec les granges cisterciennes; on les désignait sous le nom d'Obédiences 90. Ces petits établissements possédaient tout ce qui constitue le monastère: un oratoire, un cloître avec ses dépendances; puis autour d'une cour voisine, ouverte, les bâtiments destinés à l'exploitation.
C'était dans les obédiences que l'on reléguait pendant un temps plus ou
moins long les moines qui avaient fait quelque faute et devaient subir
une pénitence; ils se trouvaient soumis à l'autorité d'un prieur, et
condamnés aux plus durs travaux manuels, remplissant les fonctions, qui
dans les grands établissements, étaient confiées aux valets. La plupart
de ces domaines ruraux sont devenus depuis longtemps des fermes
abandonnées aux mains laïques, car bien avant la révolution du dernier
siècle les moines n'étaient plus astreints à ces pénitences corporelles;
cependant nous en avons vu encore un certain nombre dont les bâtiments
sont assez bien conservés.
Auprès d'Avallon, entre cette ville et le village de Savigny, dans un vallon fertile, perdu au milieu des bois et des prairies, on voit encore s'élever un charmant oratoire de la fin du XIIe siècle avec les restes d'un cloître et des dépendances en ruine. Nous donnons (11) le plan de cette obédience qui a conservé le nom de prieuré de Saint-Jean les Bons-Hommes. En A est l'oratoire dont la nef est couverte par un berceau ogival construit en briques de 0m,40 d'épaisseur, toute la construction est d'ailleurs en belles pierres bien appareillées et taillées. Une porte B très-simple mais d'un beau caractère permet aux étrangers ou aux colons du voisinage de se rendre aux offices sans entrer dans le cloître; une seconde porte C sert d'entrée aux religieux pour les offices; en D est le cloître, sur lequel s'ouvre une jolie salle E dans laquelle après laudes les religieux se réunissaient pour recevoir les ordres touchant la distribution du travail du jour. Le dortoir était au-dessus; en F le réfectoire et la cuisine; en G des celliers, granges et bâtiments d'exploitation. Une cour H ouverte en I sur la campagne était destinée à contenir les étables et chariots nécessaires aux travaux des champs. On entrait dans l'enceinte cloîtrée par une porte K. Le frère portier était probablement logé dans une cellule en L. Les traces de ces dernières constructions sont à peine visibles aujourd'hui. En M était la sacristie ayant une issue sur le jardin. Un petit ruisseau passait au nord de l'oratoire en N, et une clôture enfermait du côté de l'est le jardin particulier de ce petit monastère. Voici (12) une élévation prise du côté de l'abside de la chapelle qui donne une idée de ces constructions dont l'extrême simplicité ne manque ni de grâce ni de style. L'entrée de la salle E est charmante, et rappelle les constructions clunisiennes du XIIe siècle.

On comprend comment de vastes établissements, richement dotés, tels que Cluny, Jumiéges, Saint-Denis, Vézelay, Cîteaux, Clairvaux, apportaient dans la construction de leurs bâtiments un soin et une recherche extraordinaires; mais lorsque l'on voit que ce soin, ce respect, dirons-nous, pour l'institut monastique s'étendent jusque dans les constructions les plus médiocres, jusque dans les bâtiments ruraux les plus restreints, on se sent pris d'admiration pour cette organisation bénédictine qui couvrait le sol de l'Europe occidentale d'établissements à la fois utiles et bien conçus, ou l'art véritable, l'art qui sait ne faire que ce qu'il faut, mais faire tout ce qu'il faut, n'était jamais oublié. On s'est habitué dans notre siècle à considérer l'art comme une superfluité que les riches seuls peuvent se permettre; nos colléges, nos maisons d'écoles, nos hospices, nos séminaires, sembleraient aux yeux de certaines personnes ne pas remplir leur but, s'ils n'étaient pas froids et misérables d'aspect, repoussants, dénués de tout sentiment d'art; la laideur paraît imposée dans nos programmes d'établissements d'éducation ou d'utilité publique; comme si ce n'était pas un des moyens les plus puissants de civilisation que d'habituer les yeux à la vue des choses convenables et belles à la fois; comme si l'on gagnait quelque chose à placer la jeunesse et les classes inférieures au milieu d'objets qui ne parlent pas aux yeux, et ne laissent qu'un souvenir froid et triste! C'est à partir du moment où l'égalité politique est entrée dans les moeurs de la nation qu'on a commencé à considérer l'art comme une chose de luxe et non plus comme une nourriture commune, aussi nécessaire et plus nécessaire peut-être aux pauvres qu'aux riches. Les bénédictins ne traitaient pas les questions d'utilité avec le pédantisme moderne, mais en fertilisant le sol, en établissant des usines, en desséchant des marais, en appelant les populations des campagnes au travail, en instruisant la jeunesse, ils habituaient les yeux aux belles et bonnes choses; leurs constructions étaient durables, bien appropriées aux besoins et gracieuses cependant, et loin de leur donner un aspect repoussant ou de les surcharger d'ornements faux, de décorations menteuses, ils faisaient en sorte que leurs écoles, leurs couvents, leurs églises, laissassent des souvenirs d'art qui devaient fructifier dans l'esprit des populations. Ils enseignaient la patience et la résignation aux pauvres, mais ils connaissaient les hommes, sentaient qu'en donnant aux classes ignorantes et déshéritées, la distraction des yeux à défaut d'autre, il faut se garder du faux luxe, et que l'enseignement purement moral ne peut convenir qu'à des esprits d'élite. Cluny avait bien compris cette mission, et était entrée dans cette voie hardiment; ses monuments, ses églises, étaient un livre ouvert pour la foule; les sculptures et les peintures dont elle ornait ses portes, ses frises, ses chapiteaux, et qui retraçaient les histoires sacrées, les légendes populaires, la punition des méchants et la récompense des bons, attiraient certainement plus l'attention du vulgaire, que les éloquentes prédications de saint Bernard. Aussi voyons-nous que l'influence de cet homme extraordinaire (influence qui peut être difficilement comprise par notre siècle où toute individualité s'efface) s'exerce sur les grands, sur les évêques, sur la noblesse et les souverains, sur le clergé régulier qui renfermait alors l'élite intellectuelle de l'Occident; mais en s'élevant par sa haute raison au-dessus des arts plastiques, en les proscrivant comme une monstrueuse et barbare interprétation des textes sacrés, il se mettait en dehors de son temps, il déchirait les livres du peuple; et si sa parole émouvante, lui vivant, pouvait remplacer ces images matérielles, après lui, l'ordre monastique eût perdu un de ses plus puissants moyens d'influence, s'il eût tout entier adopté les principes de l'abbé de Clairvaux. Il n'en fut pas ainsi, et le XIIIe siècle commençait à peine, que les cisterciens eux-mêmes, oubliant la règle sévère de leur ordre, appelaient la peinture et la sculpture pour parer leurs édifices.
Cette constitution si forte des deux plus importantes abbayes de l'Occident, Cluny et Cîteaux, toutes deux bourguignonnes, donne à toute l'architecture de cette province un caractère particulier, un aspect robuste et noble qui n'existe pas ailleurs et qui reste imprimé dans ses monuments jusque vers le milieu du XIIIe siècle. Les clunistes avaient formé une école d'artistes et d'artisans très-avancée dans l'étude de la construction et des combinaisons architectoniques, des sculpteurs habiles, dont les oeuvres sont empreintes d'un style remarquable; c'est quelque chose de grand, d'élevé, de vrai, qui frappe vivement l'imagination, et se grave dans le souvenir. L'école de statuaire des clunistes possède une supériorité incontestable sur les écoles contemporaines du Poitou et de la Saintonge, de la Provence, de l'Aquitaine, de la Normandie, de l'Alsace, et même de l'Ile-de-France. Quand on compare la statuaire et l'ornementation de Vézelay des XIe et XIIe siècles, de Dijon, de Souvigny, de la Charité-sur-Loire, de Charlieu, avec celle des provinces de l'ouest et du nord, on demeure convaincu de la puissance de ces artistes, de l'unité d'école à laquelle ils s'étaient formés (VOY. STATUAIRE, SCULPTURE). Les grandes abbayes bourguignonnes établies dans des contrées où la pierre est abondante et d'une excellente qualité, avaient su profiter de la beauté, de la dimension et de la force des matériaux tirés du sol, pour donner à leurs édifices cette grandeur et cette solidité qui ne se retrouvent plus dans les provinces où la pierre est rare, basse et fragile. L'architecture de Cluny, riche déjà dès le XIe siècle, fine dans ses détails, pouvait encore être imitée dans des contrées moins favorisées en matériaux; mais le style d'architecture adopté par les cisterciens était tellement inhérent à la nature du calcaire bourguignon qu'il ne put se développer ailleurs que dans cette province. Ces raisons purement matérielles, et les tendances générales des ordres monastiques vers le luxe extérieur, tendances vainement combattues, contribuèrent à limiter l'influence architectonique de la règle de Cîteaux. Pendant que saint Bernard faisait de si puissants efforts pour arrêter la décadence, déjà prévue par lui, de l'ordre bénédictin, une révolution dans l'enseignement allait enlever aux établissements monastiques leur prépondérance intellectuelle.
Au XIIe siècle après de glorieuses luttes, des travaux immenses, l'ordre monastique réunissait dans son sein tous les pouvoirs. Saint Bernard représente le principe religieux intervenant dans les affaires temporelles, les gouvernant même quelquefois; Suger, abbé de Saint-Denis, c'est le religieux homme d'État, c'est un ministre, un régent de France. Pierre le Vénérable personnifie la vie religieuse; il est, comme le dit fort judicieusement M. de Rémusat, «l'idéal du moine 91.» À côté de ces trois hommes apparaît Abeilard, l'homme de la science. (VOY. ARCHITECTURE, développements de l'.) Deux écoles célèbres déjà au commencement du XIIe siècle étaient établies dans le cloître Notre-Dame et dans l'abbaye de Saint-Victor, Abeilard en fonda une nouvelle qui, se réunissant à d'autres élevées autour de la sienne, constitua l'Université de Paris. La renommée de ce nouveau centre d'enseignement éclipsa bientôt toutes les écoles des grandes abbayes d'Occident.
Les établissements religieux n'avaient pas peu contribué, par le modèle d'organisation qu'ils présentaient, la solidarité entre les habitants d'un même monastère, par leur esprit d'indépendance, au développement des communes. Des chartes d'affranchissement furent accordées au XIIe siècle, non-seulement par des évêques, seigneurs temporels 92, mais aussi par des abbés. Les moines de Morimond, de Cîteaux, de Pontigny, furent des premiers à provoquer des établissements de communes autour d'eux. Tous les monastères en général, en maintenant l'unité paroissiale, enfantèrent l'unité communale, leurs archives nous donnent des exemples d'administrations municipales copiées sur l'administration conventuelle. Le maïeur, le syndic représentaient l'abbé, et les anciens appelés à délibérer sur les affaires et les intérêts de la commune, les vieillards du monastère qui aidaient l'abbé de leurs conseils 93; l'élection, qui était la base de l'autorité dans le monastère, était également adoptée par la commune. Plus d'une fois les moines eurent lieu de se repentir d'avoir ainsi aidé au développement de l'esprit municipal, mais ils étaient, dans ce cas comme dans bien d'autres, l'instrument dont la Providence se servait pour civiliser la chrétienté, quitte à le briser lorsqu'il aurait rempli sa mission. Avant le XIIe siècle un grand nombre de paroisses, de collégiales étaient devenues la proie de seigneurs féodaux qui jouissaient ainsi des bénéfices ecclésiastiques, enlevés au pouvoir épiscopal. Peu à peu, grâce à l'esprit de suite des ordres religieux, à leur influence, ces bénéfices leur furent concédés par la noblesse séculière, à titre de donations, et bientôt les abbés se dessaisirent de ces fiefs en faveur des évêques qui rentrèrent ainsi en possession de la juridiction dont ils avaient été dépouillés; car il faut rendre cette justice aux ordres religieux qu'ils contribuèrent puissamment à rendre l'unité à l'Église, soit en reconnaissant et défendant l'autorité du saint-siége, soit en réunissant les biens ecclésiastiques envahis par la féodalité séculière, pour les replacer sous la main épiscopale. Des hommes tels que saint Hugues, saint Bernard, Suger, Pierre le Vénérable, avaient l'esprit trop élevé pour ne pas comprendre que l'état monastique, tel qu'il existait de leur temps, et tel qu'ils l'avaient fait, était un état transitoire, une sorte de mission temporaire, appelée à tirer la société de la barbarie, mais qui devait perdre une grande partie de son importance du jour où le succès viendrait couronner leurs efforts; en effet, à la fin du XIIe siècle déjà, l'influence acquise par les bénédictins dans les affaires de ce monde s'affaiblissait, l'éducation sortait de leurs mains, les bourgs et villages qui s'étaient élevés autour de leurs établissements, érigés en communes, possédant des terres à leur tour, n'étaient plus des agglomérations de pauvres colons abrutis par la misère; ils devenaient indépendants, quelquefois même insolents. Les évêques reprenaient la puissance diocésaine, et prétendaient, avec raison, être les seuls représentants de l'unité religieuse; les priviléges monastiques étaient souvent combattus par eux, comme une atteinte à leur juridiction, ne relevant, elle aussi, que de la cour de Rome. La papauté, qui avait trouvé un secours si puissant dans l'institut monastique pendant les XIe et XIIe siècles, à l'époque de ses luttes avec le pouvoir impérial, voyant les gouvernements séculiers s'organiser, n'avait plus les mêmes motifs pour accorder une indépendance absolue aux grandes abbayes; elle sentait que le moment était venu de rétablir la hiérarchie catholique conformément à son institution primitive; et avec cette prudence et cette connaissance des temps qui caractérisent ses actes, elle appuyait le pouvoir épiscopal.
Pendant le cours du XIIe siècle, l'institut bénédictin ne s'était pas borné, comme nous avons pu le voir, au développement de l'agriculture. L'ordre de Cîteaux particulièrement, s'occupant avec plus de sollicitude de l'éducation des basses classes que celui de Cluny, avait organisé ses frères convers en groupes; il y avait les frères meuniers, les frères boulangers, les frères brasseurs, les frères fruitiers, les frères corroyeurs, les fouleurs, les tisserands, les cordonniers, les charpentiers, les maçons, les maréchaux, les menuisiers, les serruriers, etc. Chaque compagnie avait un contre-maître, et à la tête de ces groupes était un moine directeur qui était chargé de distribuer et régler le travail. Au commencement du XIIe siècle, sous l'influence de ce souffle organisateur, il s'était même élevé une sorte de compagnie religieuse, mais vivant dans le monde, qui avait pris le titre de pontifices (constructeurs de ponts) 94. Cette congrégation se chargeait de l'établissement des ponts, routes, travaux hydrauliques, chaussées, etc. Leurs membres se déplaçaient suivant qu'on les demandait sur divers points du territoire. Les ordres religieux ouvraient ainsi la voie aux corporations laïques du XIIIe siècle, et lorsqu'ils virent le monopole du progrès soit dans les lettres, les sciences ou les arts, sortir de leurs mains, ils ne se livrèrent pas au découragement, mais, au contraire, ils se rapprochèrent des nouveaux centres.
Vers 1120, Othon, fils de Léopold, marquis d'Autriche, à peine âgé de vingt-ans se retira à Morimond avec plusieurs jeunes seigneurs ses amis, et prit l'habit de religieux; distinguant en lui un esprit élevé, l'abbé du monastère l'envoya à Paris après son noviciat, avec quelques-uns de ses compagnons, pour y étudier la théologie scolastique. C'est le premier exemple de religieux profès quittant leur cloître pour puiser au dehors un enseignement qu'alors, dans la capitale du domaine royal, remuait profondément toutes les intelligences. Othon s'assit bientôt dans la chaire abbatiale de Morimond, nommé par acclamation. Il éleva l'enseignement, dans cette maison, à un degré supérieur; depuis lors nombre de religieux appartenant aux ordres de Cluny et de Cîteaux allèrent chercher la science dans le cloître de Notre-Dame, et dans les écoles fondées par Abeilard, afin de maintenir l'enseignement de leurs maisons au niveau des connaissances du temps. Mais la lumière commençait à poindre hors du cloître, et son foyer n'était plus à Cluny ou à Cîteaux. À la fin du XIIe siècle et pendant le XIIIe siècle, ces établissements religieux ne s'en tinrent pas là, et fondèrent des écoles à Paris même, sortes de succursales qui prirent les noms des maisons mères, où se réunirent des religieux qui vivaient ainsi suivant la règle, et enseignaient la jeunesse arrivant de tous les points de l'Europe pour s'instruire dans ce domaine des sciences. Les ordres religieux conservaient donc ainsi leur action sur l'enseignement de leur temps, bien qu'ils n'en fussent plus le centre.
Du IXe au XIe siècle les ordres religieux préoccupés de grandes réformes, se plaçant à la tête de l'organisation sociale, avaient eu trop à faire pour songer à fonder de vastes et magnifiques monastères. Leurs richesses, d'ailleurs, ne commencèrent à prendre un grand développement qu'à cette époque, par suite des nombreuses donations qui leur étaient faites, soit par les souverains voulant augmenter leur salutaire influence, soit par les seigneurs séculiers au moment des croisades. C'est aussi à cette époque que l'architecture monastique prend un caractère particulier; rien cependant n'est encore définitivement arrêté; il fallait une longue expérience pour reconnaître quelles étaient les dispositions qui convenaient le mieux. Cluny avait son programme, Cîteaux avait le sien, tout cela différait peu de la donnée primitive adoptée déjà du temps où l'abbaye de Saint-Gall fut tracée. Mais c'est vers la fin du XIIe siècle et au commencement du XIIIe, que les établissements monastiques, devenus riches, n'ayant plus à lutter contre la barbarie du siècle, moins préoccupés de grands intérêts moraux, peuvent songer à construire des demeures commodes, élégantes même, bien disposées, en rapport avec les habitudes séculières de ce temps. Les données principales sont conservées: le cloître placé sur un des côtés de la nef, le plus souvent au sud, donne entrée dans la salle du chapitre, le trésor, la sacristie, et au-dessus le dortoir, bâti dans le prolongement du transsept, par les motifs déduits plus haut. Le long de la galerie du cloître opposée et parallèle à celle qui longe la nef, est élevé le réfectoire, aéré, vaste, n'ayant presque toujours qu'un rez-de-chaussée. En retour et venant rejoindre le porche de l'église, sont placés à rez-de-chaussée les celliers, au-dessus les magasins de grains, de provisions. La cuisine est toujours isolée, possédant son officine, son entrée et sa cour particulières. En aile à l'est, à la suite du réfectoire, ou le long d'un second cloître, la bibliothèque, les cellules des copistes, le logement de l'abbé, l'infirmerie. Près de l'entrée de l'église, du côté opposé, l'hôtellerie pour les étrangers, l'aumônerie, les prisons, puis enfin les dépendances autour des bâtiments du grand cloître, séparées par des cours ou des jardins. À l'est un espace libre, retiré, planté, et qui semble destiné à l'usage particulier de l'abbé et des religieux. Pour résumer ce programme, une fois l'église donnée, les services purement matériels, ou qui peuvent être remplis par des laïques, sont toujours placés du côté de l'ouest dans le voisinage du porche, tandis que tout ce qui tient à la vie morale et à l'autorité religieuse, se rapproche du choeur de l'église. Mais si pendant le XIe siècle l'institut bénédictin s'était porté de préférence vers l'agriculture, s'il avait, par un labeur incessant, par sa persévérance, fertilisé les terres incultes qui lui avaient été données; au milieu du XIIe siècle cette tâche était remplie; les monastères, entourés de villages nouvellement fondés et habités par des paysans, n'avaient plus les mêmes raisons pour s'adonner presque exclusivement à la culture, ils pouvaient dorénavant affermer leurs terres, et se livrer à l'enseignement. Après avoir satisfait aux besoins matériels des populations, en rétablissant l'agriculture sur le sol occidental de l'Europe, ils étaient appelés à nourrir les intelligences, et déjà ils avaient été dépassés dans cette voie. Aussi nous voyons vers la fin de ce siècle, les ordres se rapprocher des villes, ou rebâtir leurs monastères devenus insuffisants près des grands centres de population; conservant seulement l'église, ce lieu consacré, ils élèvent de nouveaux cloîtres, de vastes et beaux bâtiments en rapport avec ces besoins naissants. C'est ainsi que l'architecture monastique commence à perdre une partie de son caractère propre, et se fond déjà dans l'architecture civile.
À Paris, le prieur de Cluny fait rebâtir complétement le couvent de Saint-Martin des Champs, sauf le sanctuaire de l'église, dont la construction remonte à la réforme de ce monastère. Voici (13) le plan de ce prieuré 95. L'abbé de Sainte-Geneviève fait également reconstruire son abbaye (14) 96. Puis, un peu plus tard, c'est l'abbé de Saint-Germain des Prés qui, laissant seulement subsister la nef de l'église, commence la construction d'un nouveau monastère qui fut achevé par un architecte laïque, Pierre de Montereau (15) 97.


Ce n'est pas à dire cependant que les ordres religieux, au commencement du XIIIe siècle, abandonnassent complétement les campagnes, s'ils sentaient la nécessité de se rapprocher des centres d'activité, de participer à la vie nouvelle des peuples ayant soif d'organisation et d'instruction, ils continuaient encore à fonder des monastères ruraux; il semblerait même qu'à cette époque la royauté désirât maintenir la prédominance des abbayes dans les campagnes; peut-être ne voyait-elle pas sans inquiétude les nouvelles tendances des ordres à se rapprocher des villes, en abandonnant ainsi les champs aux influences féodales séculières qu'ils avaient jusqu'alors si énergiquement combattues. La mère de saint Louis fit de nombreuses donations pour élever de nouveaux établissements dans les campagnes; ce fut elle qui fonda, en 1236, l'abbaye de Maubuisson, destinée aux religieuses de l'ordre de Cîteaux. On retrouve encore dans ce plan (16) la sévérité primitive des dispositions cisterciennes, mais dans le style de l'architecture, comme à l'abbaye du Val, dont la reconstruction remonte à peu près à la même époque, des concessions sont faites au goût dominant de l'époque; la sculpture n'est plus exclue des cloîtres, le rigorisme de saint Bernard le cède au besoin d'art, qui alors se faisait sentir jusque dans les constructions les plus modestes. L'abbaye de Maubuisson était en même temps un établissement agricole et une maison d'éducation pour les jeunes filles. Au XIIIe siècle, les religieux ne cultivaient plus la terre de leurs propres mains, mais se contentaient de surveiller leurs fermiers, et de gérer leurs biens ruraux, à plus forte raison les religieuses. Déjà même au commencement du XIIe siècle, le travail des champs semblait dépasser les forces des femmes, et il est probable que la règle qui s'appliquait aux religieuses comme aux religieux, ne fut pas longtemps observée par celles-ci.

Il est curieux de lire la lettre qu'Héloïse, devenue abbesse du Paraclet, adresse à ce sujet à Abeilard, et on peut juger par les objections contenues dans cette lettre, combien de son temps on s'était peu préoccupé de l'organisation intérieure des couvents de femmes. Si, au XIIIe siècle, les règlements monastiques auxquels les religieuses étaient assujetties se ressentaient du relâchement des moeurs à cette époque, cependant nous voyons, en examinant le plan de l'abbaye de Maubuisson, que ce monastère ne différait pas de ceux adoptés pour les communautés d'hommes.
En A est l'église, dans le prolongement du transsept, suivant l'usage, la salle du chapitre, la sacristie, etc.; au-dessus le dortoir. En B le cloître; en C le réfectoire; en D le pensionnat; en E le parloir, et le logement des tourières; en F les cuisines; G, les latrines disposées des deux côtés d'un cours d'eau; H, est le logis de l'abbesse; I des fours et écuries; K l'apothicairerie; L, l'habitation réservée pour le roi saint Louis, lorsqu'il se rendait à Maubuisson avec sa mère. Car, à partir du XIIIe siècle, on trouve dans les abbayes fondées par les personnes royales, un logis réservé pour elles. M, est l'infirmerie; N, une grange; O, un colombier; P, une porcherie; Q, des écuries, étables; de I aux écuries, étaient construits des bâtiments qui contenaient le logement des hôtes, mais ces constructions sont d'une époque plus récente; en R était l'abreuvoir. De vastes jardins et des cours d'eau entouraient ces bâtiments situés dans un charmant vallon, en face la ville de Pontoise, et le tout était ceint de murailles flanquées de tourelles 98.
Le nouvel ordre politique qui naissait avec le XIIIe siècle devait nécessairement modifier profondément l'institut monastique; il faut dire que les établissements religieux, du moment qu'ils cessaient de combattre soit les abus de pouvoir des seigneurs séculiers, soit les obstacles que leur opposaient des terres incultes, ou l'ignorance et l'abrutissement des populations rurales, tombaient rapidement dans le relâchement. Leurs richesses, leur importance, comme pouvoir religieux, et comme possesseurs territoriaux et féodaux par conséquent, ne pouvant manquer d'introduire au milieu des monastères des habitudes de luxe qui n'étaient guère en rapport avec les voeux monastiques. Saint Bernard s'était élevé avec énergie contre les abus qui déjà de son temps lui semblaient devoir amener promptement la décadence des ordres, et sorti de Cîteaux, il avait cherché à rendre à la règle de Saint-Benoît sa pureté primitive, avec une constance et une rigueur de principes qui eurent un plein succès tant qu'il vécut. De son temps la vie monacale conquit une immense influence morale, et s'étendit jusque dans les camps par l'institution et le développement des ordres militaires. Il n'y avait pas alors de famille princière qui n'eût des représentants dans les différents monastères de l'Occident, et la plupart des abbés étaient de race noble. L'institut monastique tenait la tête de la civilisation.
Du jour où le pouvoir royal se fut constitué, où la France eut un véritable gouvernement, ces petites républiques religieuses perdirent peu à peu de leur importance; et renfermées dans leurs devoirs de religieux, de propriétaires fonciers, de corps enseignant, l'activité qu'elles avaient déployée au dehors pendant les XIe et XIIe siècles ne trouvant plus une pâture suffisante, se perdit en querelles intestines, au grand détriment de l'institut tout entier. La noblesse fournit tous les jours un contingent moins nombreux aux couvents, et livrée dès le XIIIe siècle exclusivement à la carrière des armes, commençant à dédaigner la vie religieuse qui n'offrait plus qu'une existence intérieure et bornée, elle laissa bientôt ainsi les ordres monastiques tomber dans un état qui ressemblait passablement à celui de riches et paisibles propriétaires réunis en commun sous une discipline qui devenait de moins en moins rigide. Bientôt les abbés, considérés par le roi comme des seigneurs féodaux, ne pouvaient, comme tels, se mettre en dehors de l'organisation politique établie; tant que les pouvoirs séculiers étaient divisés, il leur était possible, sinon facile, de maintenir et même d'accroître le leur; mais quand ces pouvoirs féodaux vinrent se confondre dans la royauté basée sur l'unité nationale, la lutte ne pouvait durer, elle n'avait pas de but d'ailleurs, elle était contraire à l'esprit monastique qui n'avait fait que tracer la route aux pouvoirs pour arriver à l'unité. Les grands établissements religieux se résignèrent donc, et cessèrent de paraître sur la scène politique. L'ordre du Temple seul, par sa constitution, put continuer à jouer un rôle dans l'État, et à prendre une part active aux affaires extérieures; réunissant les restes de la puissance des ordres religieux à la force militaire, il dut faire ombrage à la royauté, et l'on sait comment, au commencement du XIVe siècle, cette institution fut anéantie par le pouvoir monarchique.
L'influence de la vie militaire sur la vie religieuse se fait sentir dès le XIIIe siecle dans l'architecture monastique. Les constructions élevées par les abbés à cette époque se ressentent de leur état politique; seigneurs féodaux, ils en prennent les allures. Jusqu'alors si les couvents étaient entourés d'enceintes, c'était plutôt des clôtures rurales que des murailles propres à résister à une attaque à main armée; mais la plupart des monastères que l'on bâtit au XIIIe siècle perdent leur caractère purement agricole pour devenir des villes fortifiées, ou même de véritables forteresses, quand la situation des lieux le permet. Les abbayes de l'ordre de Cîteaux, érigées dans des vallées creuses, ne permettaient guère l'application d'un système défensif qui eût quelque valeur; mais celles qui appartenaient à d'autres règles de l'ordre bénédictin, construites souvent sur des penchants de coteaux, ou même des lieux escarpés, s'entourent de défenses établies de façon à pouvoir soutenir un siége en règle ou au moins se mettre à l'abri d'un coup de main. Parmi les abbayes qui présentent bien nettement le caractère d'un établissement à la fois religieux et militaire, nous citerons l'abbaye du mont Saint-Michel en mer. Fondée, si l'on en croit les légendes, vers la fin du VIIIe siècle, elle fut à plusieurs reprises dévastée par les guerres et les incendies. En 1203, devenue vassale du domaine royal, elle fut presque totalement reconstruite par l'abbé Jourdain au moyen de sommes considérables que lui envoya Philippe Auguste; les bâtiments nouveaux furent continués par les successeurs de cet abbé jusque vers 1260.

Le mont Saint-Michel est situé au fond d'une baie sablonneuse couverte chaque jour par l'Océan aux heures des marées, non loin de Pontorson et d'Avranches. C'était un point militaire important à cette époque où la monarchie française venait de s'emparer de la Normandie, et où elle pouvait craindre chaque jour une descente des Anglo-Normands. Toutefois Philippe Auguste laisse le mont en la possession des abbés, il les considère comme vassaux, et en leur donnant des subsides pour mettre leur propriété en état de défense, il ne semble pas douter que les religieux ne puissent conserver ce poste aussi bien que l'eût pu faire un possesseur séculier.
C'est là un fait caractéristique de l'époque. Voici le plan général de
ce rocher baigné par la mer deux fois par jour, et dont le sommet est
élevé à plus de soixante-dix mètres au-dessus de son niveau (17). Une
étroite plage rocailleuse s'ouvre au sud du côté de Pontorson; à
quelques pas de la mer, le rocher s'élève abrupt. On trouve une première
porte fortifiée en C avec corps de garde
99. Une seconde porte s'ouvre
en D et donne entrée dans la petite ville, habitée de temps immémorial
par des pêcheurs. De cette porte on accède aux boulevards par un
escalier, et en suivant les remparts qui s'élèvent sur le rocher vers
l'est, on arrive bientôt à des emmarchements considérables tournant vers
le nord jusqu'à la porte de l'abbaye F, défendue par une première
enceinte E. En B est le cloître; en A l'église qui est érigée sur le
point culminant de la montagne; les espaces G, disposés en espaliers du
côté sud, étaient les jardins de l'abbaye; sous l'église est une
citerne; H un chemin de ronde auquel on accédait par un immense escalier
fort roide L K, et qui était destiné, en cas de siége, à permettre
l'introduction de secours du côté de la pleine mer; L est une fontaine
d'eau saumâtre, mais bonne pour les usages ordinaires; M un oratoire sur
un rocher isolé, dédié à saint Hubert; P une entrée fortifiée donnant
accès dans une cour où les magasins de l'abbaye sont placés en Q; V et S
sont des citernes et R un moulin à vent posé sur une tour; I une grande
trémie en maçonnerie et charpente, par laquelle, au moyen d'un treuil,
on faisait monter les provisions du monastère; 0 est la paroisse de la
ville, et T le cimetière. Si nous franchissons le seuil de la première
défense de l'abbaye, voici (18) le plan des bâtiments qui, formant
rez-de-chaussée, entourent le sommet du rocher. En A sont les premières
entrées défendues par un boulevard auquel on monte par un petit escalier
droit; B est la porte, formidable défense couronnée par deux tourelles
et une salle, dont le plan est détaillé en C. Sous cette porte est
pratiqué un escalier roide, qui conduit à une seconde clôture défendue
par des herses et mâchicoulis, et à une salle de laquelle on ne peut
s'introduire dans le monastère que par des guichets masqués et des
escaliers tortueux et étroits. Au-dessus de cette salle est une défense
D percée de meurtrières et de mâchicoulis. Chaque arrivant devait
déposer ses armes avant d'entrer dans les bâtiments de l'abbaye, à moins
d'une permission expresse du prieur
100. Le réfectoire est situé en F;
on ne peut y arriver du dehors que par un couloir sombre défendu par des
herses, et un escalier à vis; de plain-pied avec la salle d'entrée, sous
le réfectoire, est la salle où l'on introduisait les pauvres auxquels on
distribuait des aumônes. En G est une salle devant servir de réfectoire
à la garnison, avec escalier particulier pour descendre dans le chemin
de ronde.
Du côté du midi, en I, sont placées les caves du logement de
l'abbé et des hôtes, en L et en K des prisons et défenses. Au-dessus de
ces soubassements, les bâtiments gagnent sur le rocher et prennent plus
d'importance; (19) on arrive par des détours inextricables, des
escaliers étroits et coudés, au point B où se trouvaient placées les
cuisines. D était le dortoir des moines, E la salle dite des
Chevaliers
101. C'est une vaste crypte reconstruite au XVIe siècle pour
supporter le choeur de l'église qui fut rebâti à cette époque; F H sont
les soubassements de l'ancienne nef et du transsept romans, afin de
suppléer au rocher qui, sur ces points, n'offrait pas une assez grande
surface; G les logements de l'abbé et des hôtes; I le dessous de la
bibliothèque. Le cloître est situé au-dessus de la grande salle des
Chevaliers E. L'aire de ce cloître est couverte de plomb afin de
recueillir les eaux pluviales qui se rendent dans deux citernes
disposées sous le bras de croix du nord. Au-dessus de la porte en A est
une salle de guet.
Enfin l'église (20) domine cet ensemble de bâtiments gigantesques, construits en granit, et qui présentent l'aspect le plus imposant au milieu de cette baie brumeuse. Les grands bâtiments qui donnent sur la pleine mer; du côté nord, peuvent passer pour le plus bel exemple que nous possédions de l'architecture religieuse et militaire du moyen âge, aussi les a-t-on nommés de tout temps, la merveille 102.

La salle des Chevaliers (fig. 19, E) possède deux vastes cheminées et des latrines en encorbellement. Nous donnons (21) une vue extérieure de ces bâtiments prise de la mer; et (22) une vue prise du côté de l'est.

La flèche qui surmontait la tour centrale de l'église est détruite depuis longtemps; elle avait été réédifiée à plusieurs reprises, et la dernière fois par l'abbé Jean de Lamps, vers 1510; nous la supposons rétablie dans la vue que nous donnons ici; une statue colossale de l'archange Saint-Michel, qui se voyait de fort loin en pleine mer, couronnait son sommet. La foudre détruisit cette flèche peu après sa construction. L'abbaye du Mont-Saint-Michel se trouvait dans une situation exceptionnelle; c'était une place militaire qui soutint des siéges, et ne put être enlevée par l'armée anglaise en 1422. Rarement les établissements religieux présentaient des défenses aussi formidables, ils conservaient presque toujours l'apparence de villæ crénelées, défendues par quelques ouvrages de médiocre importance; on retrouvait l'architecture monacale sous cette enveloppe militaire; d'ailleurs, dépourvus originairement de moyens de défense, ils ne se fortifiaient que successivement et suivant qu'ils s'assimilaient plus ou moins aux seigneuries féodales. Voici l'abbaye de Saint-Allyre à Clermont, en Auvergne, dont la vue cavalière donne une idée de ces agglomérations de constructions moitié monastiques, moitié militaires (23) 103. Bâtie dans un vallon, elle ne pouvait résister à un siége en règle, mais elle était assez bien munie de murailles et de tours pour soutenir l'attaque d'un corps de partisans.

A est la porte du monastère défendue par une tour, à côté V les écuries destinées aux montures des hôtes; B une première cour qui n'est point défendue par des murs crénelés, mais seulement entourée de bâtiments formant une clôture et ne prenant leurs jours qu'à l'intérieur. B' une seconde porte crénelée, qui conduit dans une ruelle commandée par l'église C, bien munie de crénaux et de mâchicoulis; La face orientale, l'abbaye de l'église, est couronnée par deux tours, l'une qui commande l'angle de la ruelle, l'autre qui domine la porte S donnant entrée dans les bâtiments; de plus un mâchicoulis surmonte cette porte.

On entre dans une première cour étroite et fermée, puis dans le cloître G. EE' sont des clochers crénelés, sortes de donjons qui dominent les cours et bâtiments. Sous le clocher E était l'entrée de l'église pour les fidèles; I les dortoirs; K le réfectoire et L la cuisine; H la bibliothèque; N les pressoirs; 0 l'infirmerie; M les logements des hôtes et de l'abbé; X des granges et celliers. Des jardins garnis de treilles étaient placés en P, suivant l'usage, derrière l'abside de l'église. Une petite rivière R 104, protégeait la partie la plus faible des murailles et arrosait un grand verger planté en T. Cette abbaye avait été fondée pendant le IXe siècle, mais la plupart des constructions indiquées dans ce plan dataient de la seconde moitié du XIIe siècle. Il y a lieu de penser même que les défenses ne remontaient pas à une époque antérieure au XIIIe siècle.
Les abbés étant, comme seigneurs féodaux, justiciers sur leurs domaines, des prisons faisaient partie des bâtiments du monastère; elles étaient presque toujours placées à côté des clochers, souvent même dans leurs étages inférieurs. Si dans le voisinage des villes et dans les campagnes les constructions monastiques, au XIIIe siècle, rappelaient chaque jour davantage les constructions féodales des seigneurs séculiers; dans l'enceinte des villes, au contraire, les abbayes tendaient à se mêler à la vie civile; souvent elles détruisaient leurs murailles primitives pour bâtir des maisons régulières ayant vue et entrée sur le dehors. Ces maisons furent d'abord occupées par ces artisans que nous avons vus enfermés dans l'enceinte des couvents; mais si ces artisans dépendaient encore du monastère, ce n'était plus que comme fermiers pour ainsi dire, obtenant l'usufruit de leurs logis au moyen d'une redevance sur les bénéfices qu'ils pouvaient faire dans l'exercice de leur industrie; ils n'étaient, d'ailleurs, astreints à aucune règle religieuse. Une fois dans cette voie, les monastères des villes perdirent bientôt toute action directe sur ces tenanciers, et les dépendances séculières des maisons religieuses ne furent plus que des propriétés, supportant un produit de location. On ne peut douter toutefois que les corporations de métiers n'aient pris naissance au milieu de ces groupes industriels que les grandes abbayes avaient formés autour d'elles. C'est ainsi que l'institut bénédictin avait initié les populations à la vie civile, et à mesure que celle-ci se développait sous le pouvoir protecteur de la royauté, les monastères voyaient leur importance et leur action extérieure décroître. L'enseignement seul leur restait; mais leur qualité de propriétaires fonciers, leur richesse, la gestion de biens considérables qui s'étaient démesurément accumulés dans leurs mains depuis les croisades, ne leur laissaient guère le loisir de se dévouer à l'enseignement, de manière à pouvoir rivaliser avec les écoles établies dans les cloîtres des grandes cathédrales sous le patronage des évêques, et surtout à Paris sur la montagne Sainte-Geneviève.
Au commencement du XIIIe siècle donc, l'institut bénédictin avait terminé sa mission active; c'est alors qu'apparaît saint Dominique, fondateur de l'ordre des frères Prêcheurs. Après avoir défriché le sol de l'Europe, après avoir jeté au milieu des peuples les premières bases de la vie civile, et répandu les premières notions de liberté, d'ordre, de justice, de morale et de droit, le temps était venu pour les ordres religieux de développer et guider les intelligences, de combattre par la parole autant que par le glaive les hérésies dangereuses des Vaudois, des Pauvres de Lyon, des Ensabattés, des Flagellants, etc., et enfin des Albigeois qui semblaient les résumer toutes. Les frères Prêcheurs acquirent bientôt une immense influence, et les plus grandes intelligences surgirent parmi eux. Jean le Teutonique, Hugues de Saint-Cher, Pierre de Vérone, Jean de Vicence, saint Hyacinthe, et saint Thomas d'Aquin, remplirent l'Europe de leurs prédications et de leurs écrits. C'est aussi vers ce temps (1209) que saint François d'Assise institua l'ordre des frères Mineurs. L'établissement de ces deux ordres, les Dominicains et les frères Mineurs: les premiers adonnés à la prédication, au développement de l'intelligence humaine, au maintien de la foi orthodoxe, à l'étude de la philosophie; les seconds prêchant la renonciation aux biens terrestres, la pauvreté absolue, était une sorte de réaction contre l'institution quasi-féodale des ordres bénédictins. En effet, dans sa règle, saint François d'Assise, voulant revenir à la simplicité des premiers apôtres, n'admet pas de prieur, tous les frères sont mineurs, ne doivent rien posséder, mais, au contraire, mendier pour les pauvres et pour subvenir à leurs besoins; il prétendait «amener le riche à faire don de ses biens aux pauvres, pour acquérir le droit de demander lui-même l'aumône sans rougir, et relever ainsi l'état de pauvreté 105.» Mais saint François n'était pas mort que son ordre s'était déjà singulièrement écarté de cette simplicité et de cette pauvreté primitives; et dès le XIIIe siècle, les frères mineurs élevèrent des monastères qui par leur richesse ne le cédaient en rien aux abbayes des ordres bénédictins. Saint Louis avait pris en grande affection les frères prêcheurs et mendiants; de son temps même, cette extrême sollicitude pour les disciples de saint Dominique, de saint François d'Assise, pour les hermites augustins et les carmes, qui jusqu'alors étaient à peine connus, fut l'objet de satires amères. Comme politique saint Louis était certainement disposé à donner aux nouveaux ordres une prédominance sur les établissements trop indépendants de Cluny et de Cîteaux, et il trouvait chez les frères prêcheurs une arme puissante pour vaincre ces hérésies populaires nées au XIIe siècle avec tous les caractères d'un soulèvement des classes inférieures contre le pouvoir clérical et séculier. Saint Louis fit bâtir à Paris le couvent des Jacobins; qui avaient été mis par maître Jean, doyen de Saint-Quentin, et par l'Université, dès 1221, en possession d'une maison dans la rue Saint-Jacques, en face Saint-Étienne des Grecs 106. L'église de ce couvent présentait une disposition inusitée jusqu'alors: le vaisseau se composait de deux nefs divisées par une rangée de colonnes. Peut-être cette disposition parut-elle favorable aux prédications, car les stalles des religieux étant placées dans l'une des nefs, l'autre parallèle restait libre pour les fidèles qui pouvaient ainsi plus facilement voir et entendre le prédicateur séant dans une chaire à l'une des extrémités. Mais les frères prêcheurs arrivaient tard, et comme la nature de leur mission devait les obliger de se rapprocher des grands centres de population, ils ne trouvaient plus de vastes terrains qui leur permissent d'étendre et de disposer les constructions de leurs monastères suivant une donnée uniforme. On trouve donc plus rarement dans les couvents des ordres mendiants cette ordonnance traditionnelle qui est si bien conservée dans les établissements des bénédictins, surtout de la règle de Cîteaux.

Le plan des Jacobins de Paris (24) est fort irrégulier: le réfectoire joignait le Parloir aux bourgeois qui traversait les murailles de la ville élevées sous Philippe Auguste. Ce réfectoire avait été bâti, en 1256, au moyen d'une amende de dix mille livres que le sire Enguerrand de Coucy, troisième du nom, avait été condamné à payer pour avoir fait pendre trois jeunes Flamands, qui avaient été pris chassant dans ses forêts 107. Les Jacobins, resserrés le long de ces murailles de ville, finirent par obtenir le Parloir aux bourgeois que le roi Charles V leur donna en 1365, après avoir acquis le cens et la rente de cette propriété municipale. Depuis, les bâtiments du couvent furent reconstruits en partie; mais l'église A et le réfectoire B dataient de la construction primitive. L'école de Saint-Thomas D, était une jolie salle de la renaissance, que nous avons vu démolir il y a peu de temps.

L'église des Jacobins d'Agen, bâtie vers le milieu du XIIIe siècle, est à deux nefs, ainsi que celle des Jacobins de Toulouse, élevée dans la seconde moitié du XIIIe siècle. Nous donnons ici (24 bis) le plan de ce bel établissement. Originairement l'église était complétement dépourvue de chapelles, celles des nefs comme celles du rond-point ne furent élevées que pendant les XIVe et XVe siècles. L'entrée des fidèles est au sud sur le flanc de la nef de droite; à l'extrémité antérieure de la nef de gauche A, étaient les stalles des religieux. Sur la paroi de la nef de droite adossée au petit cloître C, on remarque la chaîre détruite aujourd'hui, mais dont les traces sont visibles, et qui se trouve indiquée sur un vieux plan déposé au Capitole de Toulouse; l'entrée des fidèles était précédée d'une cour ou narthex ouvert; c'était par cette cour que l'on pénétrait également dans le monastère en passant par le petit cloître. En B est le grand cloître; en D la salle capitulaire; en F la sacristie; en E une petite chapelle dédiée à saint Antonin; en G le réfectoire. Les bâtiments indiqués en gris sont du dernier siècle. Toutes ces constructions sont en brique, exécutées avec un grand soin et couvertes à l'intérieur de peintures qui datent des XIIIe et XIVe siècles 108. Alors les frères prêcheurs s'étaient fort éloignés, dans leurs constructions du moins, de l'humilité recommandée par leur fondateur (VOY. CLOÎTRE, CHAPELLE, ÉGLISE, RÉFECTOIRE).

De fondation ancienne 109, l'ordre des frères Ermites de Saint-Augustin n'avait acquis qu'une faible influence jusqu'à l'institution des ordres mendiants, mais alors il prit un grand développement et fut spécialement protégé par les rois de France pendant les XIIIe, XIVe et XVe siècles. Cependant les établissements des frères augustins conservèrent longtemps leur caractère de simplicité primitive; leurs églises étaient presque toujours, ou composées d'une seule nef, ou d'une nef avec deux bas côtés, mais sans transsept, sans chapelles rayonnantes, sans tours: ainsi étaient disposées les églises des grands augustins à Paris. Voici (24 ter) le monastère des frères augustins de Sainte-Marie des Vaux-Verts près Bruxelles 110, qui nous offre un exemple parfaitement complet de ces établissements de frères mendiants avec tous les développements qu'ils avaient pris à la fin du XVe siècle. A est l'église sans transsept et sans tours, conformément aux usages admis dans les couvents augustins; B la bibliothèque, longue galerie au-dessus du cloître; C les dortoirs des religieux; D le dortoir des laïques; E le grand cloître des religieux; F le cloître des laïques; G, le réfectoire; H l'infirmerie; I la cuisine, communiquant au réfectoire par un petit pont couvert; K des logements pour les hommes (hôtes), L et pour les femmes; M des maisons d'artisans; N, le logis de l'empereur (Charles-Quint); 0 chêne, dit la légende, sous lequel se trouvèrent réunies sept têtes couronnées; P la porte principale du monastère; R des vacheries et greniers à fourrages; S des jardins avec un labyrinthe, allées plantées d'arbres, chapelles, etc. Ce séjour était admirable, au milieu des bois, dans un vallon pourvu de belles eaux, voisin de prairies et de grands vergers, et l'on comprend que, dans des établissements pareils, les souverains aimassent à se reposer loin des affaires et de l'étiquette des cours; et si les frères mendiants avaient, dans leurs bâtiments, conservé quelque chose de la simplicité première de leur règle, ils n'en avaient pas moins fait de leurs couvents des résidences délicieuses comme situation, comme disposition, et comme réunion de tout ce qui pouvait contribuer à rendre la vie agréable et tranquille. Des habitudes de luxe et de mollesse ne pouvaient manquer de s'introduire parmi eux, du moment qu'ils avaient converti leurs pauvres cabanes de bois et leurs maigres champs en vastes palais et en jardins magnifiques, qu'ils recevaient des souverains dans leurs murs, et pouvaient leur offrir les délassements que les grands affectionnent d'ordinaire, tels que la chasse, la pêche, ou les entretiens de gens doctes et distingués, de bonnes bibliothèques, et surtout le calme et la liberté des champs.

Peut-être l'institution des ordres mendiants contribua-t-elle à prolonger l'existence de la vie religieuse; elle en conserva du moins quelque temps l'unité. Mais ce n'était plus cette large et puissante organisation bénédictine; les temps héroïques de saint Hugues et de saint Bernard étaient passés. À partir du XIIIe siècle, l'architecture monastique ne présente plus de ces belles dispositions d'ensemble qu'on aime à voir à Cluny, à Cîteaux, à Clairvaux: chaque jour amène une modification à l'ordonnance première; les services se divisent; le monastère semble se confondre peu à peu avec les habitations séculières. Bientôt chaque moine aura sa cellule; l'abbé se fait bâtir un logis à part, une résidence souvent assez éloignée des bâtiments principaux du couvent; il a son entrée particulière, sa cour, son jardin. C'est un seigneur dont la vie ne diffère que peu de celle des laïques. Ces signes de décadence sont de plus en plus marqués jusqu'à l'époque de la réformation, où la vie monastique fut moralement effacée, si elle ne fut pas abolie de fait, en Occident. Il suffit de jeter les yeux sur les plans d'abbayes successivement modifiées pendant les XIVe et XVe siècles, pour reconnaître cette confusion, ce défaut d'unité. Ces symptômes sont frappants dans les abbayes bénédictines de Saint-Ouen de Rouen, de Fécamp, de Saint-Julien de Tours que nous donnons ici (25). Cette abbaye avait été rebâtie au XIIIe siècle et successivement modifiée pendant les XIe et XVe siècles. B est l'entrée du monastère, également destinée aux fidèles se rendant à l'église; A est le choeur réservé aux religieux; D la nef pour le public; C la porte des religieux; X la cellule du portier; V la procure; E le cloître; L la sacristie prise aux dépens d'une salle qui n'était pas destinée à cet usage; M des magasins; N les prisons; F le réfectoire et la cuisine G; K une chambre pour les visiteurs (parloir); le dortoir était au-dessus de la grande salle dans le prolongement du transsept, suivant l'ancien usage; Z des caves; au-dessus, des chambres à provisions; I la boulangerie; H une infirmerie et sa cuisine G; à côté, des écuries; R le logis de l'aumônier et son jardin; T le jardin des religieux; P le palais abbatial avec sa cour, son entrée particulière, ses écuries et communs 0, et son jardin à l'est; S la chapelle de la Sainte-Trinité. On voit que si dans ce plan les anciennes dispositions traditionnelles sont encore conservées, il règne une certaine confusion dans les services qui n'existait pas dans les plans du XIIe siècle.

Mais si nous examinons le plan d'une abbaye reconstruite au XIVe siècle, nous serons encore plus frappés de l'amas de dépendances, de services, qui viennent s'agglomérer autour des bâtiments principaux. Constance, femme du roi Robert, avait fait construire l'église Notre-Dame à Poissy, et y installa des moines augustins; depuis, Philippe le Bel fit refaire entièrement tous les bâtiments du monastère pour y mettre des religieuses de l'ordre de Saint-Dominique. Voici (26) le plan d'une portion de cette abbaye: H est une entrée fortifiée avec les bâtiments de la gabelle et le logement du médecin; A l'église; B le grand cloître; C le réfectoire; D E des dortoirs; F le dortoir des novices; K des cimetières. À l'ouest de l'église sont des greniers et la buanderie; N la cuisine maigre; la cuisine grasse est à l'extrémité du dortoir de l'ouest, à l'angle du cloître. De la cuisine maigre on communique à une salle isolée dans laquelle est percé un puits avec manége. G le petit cloître; autour, l'infirmerie et sa cuisine, des appartements pour les étrangers, et L une chapelle dédiée à saint Jean; O des ateliers pour des menuisiers et une cuisine; M la chapelle dédiée à saint Dominique; autour, les appartements des princesses avec dépendances et cuisines; près des cuisines maigres le logement de la prieure; à la suite, à l'est, le bâtiment des étrangers; à la suite du petit cloître, au sud, des granges, des celliers, des dépendances pour les princesses du sang royal, qui venaient souvent résider à l'abbaye de Poissy; puis de beaux jardins, viviers, etc. Une des raisons qui contribuaient le plus à jeter une grande confusion dans les dispositions des bâtiments des établissements monastiques, c'était cette habitude prise par les rois, reines ou princesses, par la haute noblesse séculière, surtout à partir du XIIIe siècle, de faire des séjours souvent assez longs dans les abbayes qui prenaient alors le titre de royales. À l'abbaye des dames de Maubuisson, nous avons vu le logis du roi; à Poissy, toute une portion considérable des bâtiments du monastère est réservée aux membres de la famille royale. Cet usage ne fit que prendre plus de consistance pendant le XIVe siècle. Philippe de Valois, en 1333, datait ses lettres d'État de l'abbaye du Val, où il résidait. Charles V y demeura également en 1369. À la fin du XIIIe siècle le trésor des rois de France était déposé au Temple à Paris; le roi Philippe le Bel y prit quelquefois son logement avant l'abolition de l'ordre; il y demeura en 1301, depuis le 16 janvier jusqu'au 25 février 111. Souvent les personnes royales se faisaient enterrer dans les églises monastiques fondées ou enrichies par elles: la mère de saint Louis, la reine Blanche, fut enterrée dans le choeur de l'église de Maubuisson; une soeur du même roi était morte et avait été ensevelie à Cluny. Et enfin, chacun sait que la grande église de l'abbaye de Saint-Denis fut consacrée à la sépulture des rois de France depuis les commencements de la monarchie.
Au XIIIe siècle l'enceinte des abbayes servait aussi de lieu de réunion aux souverains qui avaient à traiter des affaires d'une grande importance. Lorsque Innocent IV fut forcé de quitter Rome et de chercher dans la chrétienté un lieu où il pût, en dehors de toute influence, venger l'abaissement du trône pontifical, il choisit la ville de Lyon; et là dans le réfectoire du couvent de Saint-Just, en l'année 1245, il ouvrit le concile général pendant lequel la déposition de l'empereur Frédéric II fut proclamée. Les évêques d'Allemagne et d'Angleterre n'y voulurent point paraître, et saint Louis même s'abstint; il ne put toutefois refuser l'entrevue que le souverain pontife sollicitait, et l'abbaye de Cluny fut prise pour lieu de rendez-vous. Le pape attendit quinze jours le roi de France, qui arriva avec sa mère et ses frères, accompagné de trois cents sergents d'armes et d'une multitude de chevaliers. De son côté, le pape avait avec lui dix-huit évêques; voici comment la chronique du monastère de Cluny parle de cette entrevue 112: «Et il faut savoir que, dans l'intérieur du monastère, reçurent l'hospitalité le seigneur pape avec ses chapelains et toute sa cour; l'évêque de Senlis avec sa maison; l'évêque d'Évreux avec sa maison; le seigneur roi de France avec sa mère, son frère, sa soeur et toute leur suite; le seigneur empereur de Constantinople avec toute sa cour; le fils du roi d'Aragon avec tous ses gens; le fils du roi de Castille avec tous ses gens; et beaucoup d'autres chevaliers, clercs et religieux que nous passons sous silence. Et cependant, malgré ces innombrables hôtes, jamais les moines ne se dérangèrent de leur dortoir, de leur réfectoire, de leur chapitre, de leur infirmerie, de leur cuisine, de leur cellier, ni d'aucun des lieux réputés conventuels. L'évêque de Langres fut aussi logé dans l'enceinte du couvent.» Innocent IV séjourna un mois entier à Cluny, et saint Louis quinze jours.
Ce passage fait bien connaître ce qu'étaient devenues les grandes abbayes au XIIIe siècle, à quel degré de richesse elles étaient arrivées, quelle était l'étendue incroyable de leurs dépendances, de leurs bâtiments, et combien l'institution monastique devait s'altérer au milieu de ces influences séculières. Saint Louis et ses successeurs se firent les protecteurs immédiats de Cluny; mais par cette protection même, attentive et presque jalouse, ils enlevaient au grand monastère cette indépendance qui, pendant les XIe et XIIe siècles, avait été d'un si puissant secours au saint-siége 113.
En perdant leur indépendance; les ordres religieux perdirent leur originalité comme artistes constructeurs; d'ailleurs, l'art de l'architecture enseigné et professé par eux; était sorti de leurs mains à la fin du XIIe siècle, et à partir de cette époque, sauf quelques données traditionnelles conservées dans les couvents, quelques dispositions particulières apportées par les nouveaux ordres prêcheurs, l'architecture monastique ne diffère pas de l'architecture civile. À la fin du XVe siècle la plupart des abbayes étaient tombées en commende, et celle de Cluny elle-même échut à la maison de Lorraine. Au XVIe siècle, avant la réformation, beaucoup furent sécularisées. Autour des établissements religieux tout avait marché, tout s'était élevé, grâce à leurs efforts persévérants, à l'enseignement qu'ils avaient répandu dans les classes inférieures. Pendant le cours du XIIIe siècle, les ordres mendiants avaient eux-mêmes rempli leur tâche: ils ne pouvaient que décliner. Quand arriva la tempête religieuse du XVIe siècle, ils furent hors d'état de résister, et depuis cette époque jusqu'à la révolution du dernier siècle, ce ne fut qu'une longue agonie. Il faut rendre cette justice aux bénédictins qu'ils employèrent cette dernière période de leur existence (comme s'ils prévoyaient leur fin prochaine) à réunir une masse énorme de documents enfouis dans leurs riches bibliothèques, et à former ces volumineux recueils qui nous sont devenus si précieux aujourd'hui, et qui sont comme le testament de cet ordre.
Nous ne nous sommes occupés que des établissements religieux qui eurent une influence directe sur leur temps, des institutions qui avaient contribué au développement de la civilisation; nous avons dû passer sous silence un grand nombre d'ordres qui, malgré leur importance au point de vue religieux, n'exercèrent pas une action particulière sur les arts et sur les sciences. Parmi ceux-ci il en est un cependant que nous ne saurions omettre: c'est l'ordre des Chartreux, fondé à la fin du XIe siècle par saint Bruno. Alors que les clunisiens étaient constitués en gouvernement, étaient mêlés à toutes les affaires de cette époque, saint Bruno établissait une règle plus austère encore que celle de Cîteaux: c'était la vie cénobitique dans toute sa pureté primitive. Les chartreux jeûnaient tous les vendredis au pain et à l'eau; ils s'abstenaient absolument de viande, même en cas de maladie, leur vêtement était grossier, et faisaient horreur à voir, ainsi que le dit Pierre le Vénérable au second livre des Miracles. Ils devaient vivre dans la solitude la plus absolue, le prieur et le procureur de la maison pouvant seuls sortir de l'enceinte du monastère; chaque religieux était renfermé dans une cellule, à laquelle on ajouta un petit jardin vers le milieu du XIIe siècle.
Les chartreux devaient garder le silence en tous lieux, se saluant entre eux sans dire un mot. Cet ordre, qui conserva plus que tout autre la rigidité des premiers temps, avait sa principale maison à la Grande-Chartreuse, près Grenoble; il était divisé en seize ou dix-sept provinces, contenant cent quatre-vingt-neuf monastères, parmi lesquels on en comptait quelques-uns de femmes. Ces monastères prirent tous le nom de chartreuses, et étaient établis de préférence dans des déserts, dans des montagnes, loin des lieux habités. L'architecture des chartreux se ressent de l'excessive sévérité de la règle; elle est toujours d'une simplicité qui exclut toute idée d'art. Sauf l'oratoire et les cloîtres, qui présentaient un aspect monumental, le reste du couvent ne consistait qu'en cellules, composées primitivement d'un rez-de-chaussée avec un petit enclos de quelques mètres. À partir du XVe siècle seulement les arts pénétrèrent dans ces établissements, mais sans prendre un caractère particulier; les cloîtres, les églises devinrent moins nus, moins dépouillés; on les décora de peintures qui rappelaient les premiers temps de l'ordre, la vie de ses patriarches. Les chartreuses n'eurent aucune influence sur l'art de l'architecture; ces couvents restent isolés pendant le moyen âge, et c'est à cela qu'ils durent de conserver presque intacte la pureté de leur règle. Cependant, dès le XIIIe siècle, les chartreuses présentaient, comparativement à ce qu'elles étaient un siècle auparavant, des dispositions presque confortables, qu'elles conservèrent sans modifications importantes jusque dans les derniers temps.

Nous donnons le plan de la chartreuse de Clermont 114, modifiée en 1676 (27).
On peut voir avec quel soin tout est prévu et combiné dans cette agglomération de cellules, ainsi que dans les services généraux. En O est la porte du monastère, donnant entrée dans une cour, autour de laquelle sont disposés, en P, quelques chambres pour les hôtes; un fournil en T; en N des étables avec chambres de bouviers; en Q des granges pour les grains et le foin. C est une petite cour relevée, avec fontaine, réservée au prieur; G le logis du prieur; B est le choeur des frères et A le sanctuaire; L la sacristie; M des chapelles; K la chapelle de Pontgibaud; E la salle capitulaire; S un petit cloître intérieur; X le réfectoire, et V la cuisine avec ses dépendances; a la cellule du sous-supérieur avec son petit jardin b. De la première cour, on ne communique au grand cloître que par le passage F, assez large pour permettre le charroi du bois nécessaire aux chartreux; D est le grand préau entouré par les galeries du cloître, donnant entrée dans les cellules I, formant chacune un petit logis séparé, avec jardin particulier; R des tours de guet; Z la prison; Y le cimetière; H est une tour servant de colombier.

Les chartreux ne se réunissaient au réfectoire que certains jours de l'année 115; habituellement ils ne sortaient point de leurs cellules; un frère leur apportait leur maigre pitance à travers un tour. Le plan (28) d'une des cellules indique clairement quelles étaient les habitudes claustrales des chartreux. A est la galerie du cloître; B un premier couloir qui isole le religieux du bruit ou du mouvement du cloître; K un petit portique qui permet au prieur de voir l'intérieur du jardin, et d'approvisionner le chartreux de bois ou d'autres objets nécessaires déposés en L, sans entrer dans la cellule; C une première salle chauffée; D la cellule avec son lit et trois meubles: un banc, une table et une bibliothèque; F le promenoir couvert, avec des latrines à l'extrémité; H le jardin; I le tour dans lequel on dépose la nourriture; ce tour est construit de manière que le religieux ne peut voir ce qui se passe dans la galerie du cloître. Un petit escalier construit dans le couloir B donnait accès dans les combles soit pour la surveillance, soit pour les réparations nécessaires. Ces dispositions se retrouvent à peu près les mêmes dans tous les couvents de chartreux répandus sur le sol de l'Europe occidentale.
Nous ne finirons pas cet article sans transcrire le singulier programme de l'abbaye de Thélème, donné par Rabelais, parodiant, au XVIe siècle, ces grandes fondations du moyen âge. Cette bouffonnerie, au fond de laquelle on trouve un côté sérieux, comme dans tout ce qu'a laissé cet admirable écrivain, dévoile la tendance des esprits à cette époque, en fait d'architecture, et combien on respectait peu ces institutions qui avaient rendu tant de services. Ce programme rentre d'ailleurs dans notre sujet en ce qu'il présente un singulier mélange de traditions monastiques, et de dispositions empruntées aux châteaux élevés pendant les premiers temps de la renaissance. Après une conversation burlesque entre frère Jean et Gargantua, celui-ci se décide à fonder une abbaye d'hommes et de femmes, de laquelle on pourra sortir quand bon semblera. Donc: «Pour le bastiment et assortiment de l'abbaye, Gargantua feit livrer de content vingt et sept cens mille huict cens trente et ung moutons à la grand laine, et, par chascun an, jusques à ce que le tout feust parfaict, assigna, sur la recepte de la Dive, seize cens soixante et neuf mille escuz au soleil et autant à l'estoille poussiniere. Pour la fondation et entretenement d'icelle, donna à perpetuité vingt et trois cens soixante neuf mille cinq cens quatorze nobles à la rose, de rente foncière, indemnez, amortys, et soluables par chascun an à la porte de l'abbaye. Et de ce leur passa belles lettres. Le bastiment feut en figure exagone, en telle façon que à chascun angle estoyt bastie une grosse tour ronde, à la capacité de soixante pas en diametre. Et estoyent toutes pareilles en grosseur et portraict. La riviere de la Loire decouloit sus l'aspect du septentrion. Au pied d'icelle estoyt une des tours assise nommée Artice. En tirant vers l'orient estoyt une autre nommée Calaer. L'autre ensuivant Anatole; l'autre après Mesembrine; l'autre après Hesperie; la derniere, Cryere. Entre chascune tour estoyt espace de trois cens douze pas. Le tout basty à six estaiges, comprenent les caves soubz terre pour ung. Le second estoyt voulté à la forme d'une anse de penier. Le reste estoyt embranché de guy de Flandres à forme de culz de lampes. Le dessus couvert d'ardoise fine, avec l'endoussure de plomb à figures de petitz manequins et «animaulx bien assortiz et dorés, avec les goutieres qui issoyent hors la muraille entre les croysées, painctes en figure diagonale d'or et azur, iusques en terre, ou finissoyent en grandz eschenaulx, qui tous conduisoyent en la riviere par dessoubz le logis.
«Ledict bastiment estoyt cent foys plus magnifique que n'est Bonivet, ne Chambourg, ne Chantilly, car en icelluy estoyent neuf mille troys cens trente et deux chambres, chascune guarnie de arriere chambre, cabinet, guarderobe, chapelle et issue en une grande salle. Entre chascune tour, au mylieu dudict corps de logis, estoyt une vis brisée dedans icelluy mesme corps. De laquelle les marches estoyent part de porphyre, part de pierre numidicque, part de marbre serpentin, longues de vingt et deux piedz; l'espoisseur estoyt de troys doigtz, l'asseize par nombre de douze entre chascun repous. Entre chascun repous estoyent deux beaulx arceaulx d'anticque, par lesquels estoyt receue la clairté; et par iceulx on entroyt en ung cabinet faict à claire-voye de largeur de ladicte vis, et montoit jusques au-dessus de la couverture, et là finoit en pavillon. Par icelle vis on entroyt de chascun cousté en une grande salle et des salles en chambre. De la tour Artice jusques à Cryere estoyent les belles grandes librairies en grec, latin, hebrieu, françois, toscan et hespaignol, departies par les divers estaiges, selon iceulx languaiges. Au milieu estoyt une merveilleuse vis, de laquelle l'entrée estoyt par le dehors du logis en ung arceau large de six toises. Icelle estoit faicte en telle symetrie et capacité que six hommes d'armes, la lance sus la cuisse, pouvoyent de front ensemble monter jusques au-dessus de tout le bastiment. Depuis la tour Anatole jusques à Mesembrine estoyent belles grandes galleries, toutes painctes des anticques proesses, histoyres et descriptions de la terre. Au mylieu estoyt une pareille montée et porte, comme avons dict du cousté de la riviere...
«Au mylieu de la basse court estoyt une fontaine magnifique de bel alabastre. Au-dessus, les troys Graces, avecques cornes d'abundance, et iectoyent l'eau par les mamelles, bouche, aureilles, yeulx, et aultres ouvertures du corps. Le dedans du logis sus la dicte basse court estoyt sus gros pilliers de cassidoine et porphyre, à beaulx arcs d'anticque, au dedans desquelz estoyent belles gualleries longues et amples, ornées de painctures, de cornes de cerfz, licornes, rhinocerotz, hippopotames, dens d'elephans et aultres choses spectables. Le logys des dames comprenoyt depuis la tour Artice jusques à la porte Mesembrine. Les hommes occupoyent le reste. Devant ledict logys des dames, affin qu'elles eussent l'esbatement, entre les deux premieres tours au dehors, estoyent les lices, l'hippodrome, le theatre et natatoires, avecques les bains mirificques à triple solier, bien guarniz de tous assortimens et foison d'eau de myrrhe. Jouxte la riviere estoyt le beau jardin de plaisance. Au milieu d'icelluy le beau labyrinthe. Entre les deux aultres tours estoyent les jeux de paulme et de grosse balle. Du cousté de la tour Criere estoyt le vergier, plein de tous arbres fructiers, tous ordonnez en ordre quincunce. Au bout estoit le grand parc, foizonnant en toute saulvaigine. Entre les tierces tours estoyent les butes pour l'arquebouse, l'arc et l'arbaleste. Les offices hors la tour Hesperie, à simple estaige. L'escurie au delà des offices. La faulconnerie au devant d'icelles, gouvernée par asturciers bien expertz en l'art. Et estoit annuellement fournie par les Candiens, Venitiens et Sarmates, de toutes sortes d'oyseaulx paragons, aigles, gerfaulx, autours, sacres, laniers, faulcons, esparviers, esmerillons et aultres, tous bien faictz et domesticques, que, partans du chasteau pour s'esbatre es champs, prenoyent tout ce que rencontroyent. La venerie estoit ung peu plus loing, tirang vers le parc...
«Toutes les salles, chambres et cabinets, estoyent tapissez en diverses sortes, selon les saisons de l'année. Tout le pavé estoyt couvert de drap verd. Les lietz estoyent de broderie...
«En chascune arriere chambre estoit ung mirouer de crystallin enchassé en or fin, autour guarny de perles, et estoit de telle grandeur qu'il povoit veritablement representer toute la personne...»
La règle des Thelemites se bornait à cette clause:
«Fay ce que vouldras, parce que,» ajoute Rabelais, «gens liberes, bien nayz, bien instruictz, conversans en compaignies honnestes, ont par nature ung insting et aiguillon qui tous jours les poulse à faictz vertueux, et retire de vice, lequel ilz nommoient honneur... Iceulx, quand par vile subjection et contraincte sont deprimez et asserviz, destournent la noble affection par laquelle à vertu franchement tendoyent, à deposer et enfraindre ce joug de servitude. Car nous entreprenons tousjours choses defendues, et convoitons ce que nous est denié... Tant noblement estoyent apprins qu'il n'estoit entre eux celluy ne celle qui ne sceust lire, escripre, chanter, jouer d'instrumens harmonieux, parler de cinq à six languaiges,. et en iceulx composer tant en carme qu'en oraison solue...» Toute l'histoire des premiers moments de la renaissanoe est dans ce peu de mots, et l'on sait où cette facile et galante morale conduisit la société, et comment tant de gens «bien nayz, bien instruictz, furent poulsez par nature à faictz vertueux.»
Nous avons dû dans cet article, déjà bien long, nous occuper seulement des dispositions générales des monastères, nous renvoyons nos lecteurs, pour l'étude des différents services et bâtiments qui les composaient, aux mots: ARCHITECTURE RELIGIEUSE, ÉGLISE, CLOÎTRE, PORCHE, RÉFECTOIRE, CUISINE, DORTOIR, CHAPITRE, BIBLIOTHÈQUE, GRANGE, PORTE, CLOCHERS, TOUR, ENCEINTE, etc., etc. 116
Note 51: (retour) Le plan original de l'abbaye de Saint-Gall (en Suisse) est conservé dans les archives de ce monastère; il est reproduit à une petite échelle par dom Mabillon (Annales Benedictini, t. II, p. 571), et récemment publié en fac-simile par M. F. Keller, avec une notice descriptive. (Voy. Instructions sur l'arch. monast., par M. Albert Lenoir.)
Note 52: (retour) Voici le passage de cette lettre donné par Mabillon (Ann. Bened., t. II, p. 571, 572). «Hæc tibi, duldissime fili Cozberte, de positione officinarum paucis exemplata direxi, quibus sollertiam exerceas tuam, meamque devotionem utcumque cognoscas, qua tuæ bonæ voluntati satisfacere me segnem non inveniri confido. Ne suspiceris autem me hæc ideo elaborasse, quod vos putemus nostris indigere magisteriis; sed potius, ob amorem tui, tibi soli perscrutanda pinxisse amicabili fraternitatis intuitu crede.--Vale in Christo semper memor nostri, amen.»
Note 53: (retour) Histoire de l'abbaye de Cluny, par M. P. Lorain. Paris, 1845; p. 16.
Note 54: (retour) C'est de l'excellent ouvrage de M. P. Lorain que nous extrayons cette traduction. (Bibl. Clun., col. 1, 2, 3, 4.)
Note 55: (retour) «...Ita ut nec nostra, nec alicujus potestatis contradictione, contra religiosam dumtaxat electionem impediantur...»
Note 56: (retour) «...Habeantque tuitionem ipsorum apostolorum atque romanum pontificem defensorem...»
Note 57: (retour) «Placuit etiam huic testamento inseri ut ab hac die, nec nostro, nec parentum nostrorum, nec fascibus regiæ magnitudinis, nec cujuslibet terrenæ potestatis jugo subjiciantur iidem monachi ibidem congregati...»
Note 58: (retour) On avait toujours cru devoir employer ces sortes d'imprécations, car déjà, dès le VIIe siècle, dans un acte de donation d'une certaine Théodétrude à l'abbaye de Saint-Denis, on lit ce passage «...Propterea rogo et contestor coram Deo et Angelis ejus, omni nationi hominum tam propinquis quam extraneis, ut nullus contra deliberatione mea impedimentum sancto Dionysio de hac re quæ ad me per has litteras deputatum est facere præsumat. si fuerit qui minas suas ad hoc apposuerit faciendo, æternus Rex peccata mea absolvat, et ille maledictus in inferno interiori et Anathema et Maranatha percussus cum Juda cruciandus descendat, et peccatum quem amittit in filios et in domo sua crudelissima plaga ut leprose pro hujus culpa a Deo percussus, ut non sit qui inhabitet in domo ejus, ut eorum plaga in multis timorem concutiat, et quantum res ipsa meliorata valuerit, duplex, salisfactione fisco egenti exsolvat...» (Hist. de l'abb. de Saint-Denis, Félibien, pièces just., p. IV.) Dans une charte de Gammon pour le monastère de Limeux, en 697 (Annal. Bened., t. I, append., art, 34); dans la charte de fondation des monastères de Poultiers et de Vézelay, donnée par Gérard de Roussillon au IXe siècle (Hug. Pict., Courtépée), et dans beaucoup d'autres pièces, ces malédictions se présentent à peu près dans les mêmes termes, comme on le voit d'ailleurs par les Formules de Marculphe.
Note 59: (retour) Histoire de l'abbaye de Cluny, par M. P. Lorain.
Note 60: (retour) En 893, un abbé de Saint-Denis, Ebles, fut tué en Aquitaine d'un coup de pierre à l'attaque d'un château qu'il assiégeait comme capitaine d'une troupe de soldats. (Hist. de l'abb. de Saint-Denys, par D. Felibien, p. 100.)
Note 61: (retour) Hist. de l'abb. de Saint-Germain des Prez, par D. Bouillart. Paris, 1724, p. 30; in-f°.
Note 62: (retour) Hist. de l'abb. de Cluny, par M. P. Lorain, p. 41 et suiv.
Note 63: (retour) Cluny au XIe siècle, par l'abbé Cucherat. (Voy. Mabillon, Ann. Ben., t. V, p. 70. «...Ne in vacuum laborare videretur, et ne semel recuperatus locus iterum in pejora laberetur.»)
Note 64: (retour) Hist. de Saint-Étienne Harding, p. 264.--Voy. Essai sur l'hist. monét. de l'abb. de Cluny, 1842, p. 8 (tiré à 25 exempl.), par M. Anatole Barthélemy.
Note 65: (retour) Cluny au XIe siècle, par l'abbé Cucherat, p. 23.
Note 66: (retour) Bibl. Clun., dans les notes d'André Duchesne, col. 24.
Note 67: (retour) Mabillon, sixième préface de ses Acta sanctorum ord. S. Bened., t. V. nº 48 et 49.
Note 68: (retour) Udalr. Antiq. consuet., lib. III, cap. 24. Nous empruntons cette traduction à l'ouvrage de M. l'abbé Cucherat, que nous avons déjà eu l'occasion de citer tant de fois. Les Antiquiores consueludines cluniacensis monasterii d'Udalric se trouvent intégralement imprimées dans le Spicilegium, t. I, in-folio, p. 641 et suiv. On les a réunies à l'oeuvre du moine Bernard dont il est l'abréviateur, in-4° en 126 p.
Note 69: (retour) Ce plan est à l'échelle de 0m,0005 pour mètre.
Note 70: (retour) «In quibusdam ecclesiis sacerdos in aliquo altari foribus proximiori celebrat missam, jussu episcopi, poenitentibus ante fores ecclesiæ constitutis.» (Lorain. p. 66.)
Note 71: (retour) Ibid.
Note 72: (retour) Apocalypse.
Note 73: (retour) Hist. de l'abb. de Cluny, Lorain.
Note 74: (retour) Ce plan est à l'échelle de 0m,0005 pour mètre.
Note 75: (retour) La vue cavalière de l'abbaye Saint-Étienne de Caen, que nous donnons ici, est copiée sur une gravure de la Topographie de la Gaule (NORMANDIE). Merians, éd. Francfort, 1662. Voy. aussi les Monog. d'abb. Bib. Sainte-Geneviève.
Note 76: (retour) Les frères convers différaient des frères profes, en ce que leurs voeux étaient simples et non solennels. C'étaient des serviteurs que les cisterciens pouvaient s'attacher avec la permission de l'évêque diocésain. À une époque où les monastères étaient pleins de religieux de race noble, les frères convers étaient pris parmi les laboureurs, les gens de métiers: ils portaient un costume régulier toutefois et mangeaient à la table commune au réfectoire. On comprend que dans des temps où la condition du peuple des campagnes était aussi misérable que possible, les Couvents cisterciens ne devaient pas manquer de frères convers qui retrouvaient ainsi, en entrant dans le cloître, la sécurité, une grande liberté relative, et une existence assurée.
Note 77: (retour) Cîteaux arriva promptement au nombre incroyable de deux mille maisons monastiques des deux sexes; chaque maison possédait cinq ou six granges. (Histoire de l'abbaye de Morimond, par l'abbé Dubois, 2e édit., 1852; Annales de l'ordre de Cîteaux: Essai sur l'histoire de l'ordre de Cîteaux, par D. P. Le Nain, 1696.)
Note 78: (retour) Nous devons ce plan à l'obligeance de M. Harmand, bibliothécaire de la ville de Troyes, et de M. Millet, architecte de ce diocèse, qui a bien voulu nous en fournir un calque.
Note 79: (retour) Colloquii locus.
Note 80: (retour) Calefactorium.
Note 81: (retour) Il existe encore, en effet, dans la grande église abbatiale de Pontigny, des vitraux blancs de l'époque de sa construction, dont les plombs seuls forment des dessins d'un beau style, et comme le ferait un simple trait sur une surface incolore (voy. VITRAIL).
Note 82: (retour) Voy. la Notice sur l'abbaye de Pontigny, par le baron Chaillou des Barres, 1844.
Note 83: (retour) Ce plan est extrait de la topogr. de la France. Bibl. imp. Estamp. Ces bâtiments furent complétement altérés au commencement du dernier siècle.
Note 84: (retour) Jul. Pâris. Espr. primit. de Cît., sect 10 et 11: De l'off. du portier. Hist. de l'abb. de Morimond, par l'abbé Dubois.
Note 85: (retour) L'église de Pontigny et la grange à l'entrée sont encore conservées; cette église, quoique d'une simplicité un peu puritaine, ne laisse pas d'être fort belle; nous ne savons s'il a jamais existé un clocher sur le transsept; il n'en reste plus de traces.
Note 86: (retour) Ce plan nous a été communiqué par M. Bérard, architecte, qui a fait sur cette abbaye un travail graphique important, accompagné d'une excellente notice à laquelle nous renvoyons nos lecteurs. Ces plans sont aujourd'hui la propriété du ministère d'État.
Note 87: (retour) Fontenay appartient aujourd'hui aux descendants du célèbre Montgolfier; le monastère est devenu une papeterie importante.
Note 88: (retour) Annales cist., t. II, p. 50.
Note 89: (retour) Annales cist., t. III., p. 440, et t. IV, p. 370.
Note 90: (retour) Du Cange, Gloss.
Note 91: (retour) Saint-Anselme de Cant., par M. C. de Rémusat, Paris, 1853; voir les chap. I et II.
Note 92: (retour) Entre autres ceux de Reims, d'Amiens, de Laon.
Note 93: (retour) Hist. de l'abb. de Morimond, par M. l'abbé Dubois, chap. XXIII.
Note 94: (retour) Du Cange, Gloss.: «Pontifex, pontium exstructor. Fratres Pontis sub finem secundæ stirpis regum Franc. ad hoc potissimum institui, ut viatoribus tutelam, hospitium, aliaque necessaria præstarent. Fratres Pontis dicti quod pontes construerent uti facilius et tutius fluvios transire possent viatores. Sic avenionensem pontem præsidente et architecto S Benezeto exstruere ut fusius docetur in ejusdem sancti historia Aquis edita ana. 1707, in-16. Horum hospitalariurum Pontificum, seu Factorum Pontium (sic aliquando vocantur) habitus erat vestis alba cum signo pontis et crucis de panno supra pectus, ut loquitur charta ann. 1471, pro Hospitali Pontis S. Spiritus, ex schedis D. Lancelot.»
Note 95: (retour) A, l'église, dont le choeur remonte aux premières années du XIIe siècle, et la nef fut rebâtie vers 1240. B, le cloître. C, chapelle Notre-Dame. D, réfectoire. G, salle capitulaire. H, mortuaire. E, petit dortoir. I, grandes salles, dortoirs au-dessus. K, celliers. L, cuisine. N, chapelle Saint-Michel.
Note 96: (retour) A, l'église, la base de la tour est seule conservée, sa construction date du XIe siècle. B, le grand cloître. C, le chapitre. D, jardin. E, le réfectoire. F, les cuisines.
Note 97: (retour) A, l'église. B, le cloître. C, la porte principale de l'abbaye du côté de la ville. D, porte dite papale du côté des prés. E, salle capitulaire et dortoirs au-dessus. F, la chapelle de la Vierge, bâtie par P. de Montereau. G, le réfectoire, bâti par le même architecte. H, celliers et pressoirs. I, la maison abbatiale. K, les fossés. L, jardins. M, dépendances. L'infirmerie à l'extrémité du bâtiment E.
Note 98: (retour) Voir la notice de M. Hérard sur cette abbaye. Paris, 1851, et le curieux travail graphique de cet architecte, déposé aux archives des Monuments hist. minist. d'État. Le chemin de fer de Creil passe aujourd'hui à travers les enclos de l'abbaye.
Note 99: (retour) L'enceinte de la ville fut reconstruite sous Charles VII, mais elle remplaçait des fortifications plus anciennes dont on retrouve de nombreuses traces.
Note 100: (retour) «Adhæret huic portæ domus prima custodiarum, ubi ab ingressuris, si qua habeant arma, deponuntur, nisi ea retinere permittat monasterii prior, qui arcis prorector est.» (Mabillon, Annal. benedict., t. IV, p. 75.)
Note 101: (retour) Ce nom ne lui fut donné qu'après l'institution de l'ordre de Saint-Michel, sous Louis XI. C'était probablement au XIIIe siècle le dortoir de la garnison.
Note 102: (retour) Le Mont-Saint-Michel est aujourd'hui une maison de détention; des planchers et des cloisons coupent la belle salle des Chevaliers et les dortoirs. En 1834, la charpente de la nef de l'église fut incendiée et les maçonneries romanes du vaisseau souffrirent beaucoup de ce sinistre. Le choeur est bien conservé, et quoique bâti en granit, il présente un des exemples les plus ouvragés de l'architecture ogivale des derniers temps.
Note 103: (retour) Cette vue est copiée sur l'une des gravures du Monasticon Gallic. (Monogr. d'abbayes, bibl. Sainte-Geneviève).
Note 104: (retour) Riv. Tiretaine. L'abbaye de Saint-Allyre avait été rebâtie sous le pontificat de Pascal II, par conséquent dans les premières années du XIIe siècle. Elle était autrefois comprise dans l'enceinte de la ville de Clermont, mais ne fut fortifiée que plus tard, lorsqu'elle fut laissée en dehors des nouvelles fortifications, vers la fin du XIIe siècle. (Mabillon. Ann. bénéd.--Antiquit. de la France, in-12, 1631.)
Note 105: (retour) Saint François d'Assises et saint Thomas d'Aquin, par E. J. Delécluze, t. Ier, p. 278 et suiv.
Note 106: (retour) Le Th des antiq de Paris, par J. Du Breul, 1634, liv. II, p. 378. Nous avons vu détruire, lors du percement de la nouvelle rue Soufflot, les derniers vestiges du couvent des Jacobins, qui se trouvait à cheval sur les murailles de Paris. Voir la Statistique monum. de Paris, publiée sous la direction de M. Albert Lenoir.
Note 107: (retour) J. Du Breul, Th. des ant. de Paris, p. 380.
Note 108: (retour) Ce beau monastère, fort mutilé aujourd'hui, est occupé par un quartier d'artillerie; l'église a été divisée en étages, les beaux meneaux en pierre des fenêtres sont détruits depuis quelques années. Des écuries sont disposées dans le cloître et dans la jolie chapelle peinte de Saint-Antonin. Parmi ces peintures il en est de fort remarquables, et qui ne le cèdent en rien aux peintures italiennes de cette époque; mais elles s'altérèrent davantage chaque jour. Les colonnes et chapiteaux du grand cloître sont en marbre gris des Pyrénées.
Note 109: (retour) «Edit enim S. Augustinus dignitate major beato Francisco, sed et aliquot seculis antiquior... Lesdicts frères Hermites de l'ordre de Sainct-Augustin ont eu trois diverses maisons à Paris. Premièrement ils ont demeuré en la rue dicte encore aujourd'hui des Vieux-Augustins... Leur esglise estoit la chapelle Saincte-Marie-Égyptienne, près la porte Montmartre, laquelle pour lors hors la ville, avoit esté rebastie aux despens, et à la poursuitte d'un marchand drapier de Paris... Secondement ils ont demeuré auprès la porte Sainct-Victor, en un lieu vague incult, et remply de chardons, qui pour cela s'appeloit Cardinelum à carduis, et s'estendoit depuis ladicte porte, jusques en la rue de Bièvre, où l'esglise Sainct-Nicolas enclose retient ce surnom de Chardonnet... En l'année 1286, le roi Philippe le Bel concéda aux augustins l'usage des murailles et tournelles de la ville: deffendant à toutes personnes d'y passer, ny demeurer sans leur congé. Mais voyants qu'en tel lieu ils ne pouvoient commodément vivre, pour le peu d'aumosnes qu'on leur faisoit: du consentement dudict roy et de l'évesque de Paris, Simon Matiphas de Bucy, ils vendirent ce qu'ils avoient acquis au Chardonnet, et s'en vindrent tenir au lieu où ils sont de présent: que leur cédèrent les frères de la pénitence de Jésus-Christ, dicts en latin Saccarii, et en françois Sachets...» (Du Breul, Théol. des antiq. de Paris, liv. II.)
Note 110: (retour) «Monaster. B. Mariæ-Viridis-Vallis, vulgo Groenendæl, ordo can. reg. S. P. August. Congreg. Windesemensis in silva Zoniæ prope Bruxellas situatum.» (Castella et Prætoria nobil. Brabantiæ, Cænobiaque celeb. ad viv. delin., ex museo Jac. Baronis Le Roy. Antverpiæ, 1696.)
Note 111: (retour) Hist. du dioc. de Paris, par l'abbé Lebeuf, t. Ier, p. 332, et t. IV, p. 246.
Note 112: (retour) Hist. de l'abb. de Cluny, par M. P. Lorain, p. 154 et suiv.
Note 113: (retour) Pour donner une idée des tendances du pouvoir royal en France dès le XIIIe siècle, nous citerons cette parole du roi saint Louis en apprenant qu'après avoir excommunié l'empereur Frédéric, et délié ses sujets du serment de fidélité, Grégoire X offrait la couronne impériale au comte Robert, frère du roi de France: «il s'étonnait, dit-il, de l'audace téméraire du pape, qui osait déshériter et précipiter du trône un aussi grand prince, qui n'a point de supérieur ou d'égal parmi les chrétiens.» (Hist. de l'abb. de Cl., par Lorain.)
Note 114: (retour) Nous devons ce plan à l'obligeance de M. Mallay, architecte diocésain de Clermont-Ferrand, qui a bien voulu nous envoyer un calque de l'original. La grande chartreuse de Clermont est située à 50 kilom. de cette ville du côté de Bourg-Lastic; le plan que nous présentons est un projet de restauration qui n'a pas été entièrement exécuté, mais il a pour nous cet avantage de fournir un ensemble complet, dans lequel les services sont étudiés et disposés avec soin.
Note 115: (retour) Ann. bénéd. Mabillon, t. VI, p. 45.
Note 116: (retour) Voy. l'Abécédaire, ou rudim. d'archéol., architecture civile et militaire, par M. de Caumont. 1853.
ARCHITECTURE CIVILE. Il n'existe plus aujourd'hui, en France, que de bien rares débris des édifices civils antérieurs au XIIIe siècle. Les habitations des nouveaux dominateurs des Gaules ressemblaient fort, jusqu'à l'époque féodale, aux villæ romaines; c'étaient des agglomérations de bâtiments disposés sur des rampants de coteaux presque toujours au midi, sans symétrie, et entourés d'enceintes, de palissades ou de fossés. Les résidences des grands ne différaient guère, pendant la période mérovingienne, des établissements religieux qui ne faisaient que perpétuer la tradition antique. «Quand,» dit M. de Caumont, «les villes gallo-romaines, inquiétées, puis pillées par les barbares, furent obligées de restreindre leur périmètre, de le limiter aux points les plus favorables à la défense; quand le danger devint si pressant qu'il fallut sacrifier les plus beaux édifices, les démolir pour former de ces matériaux les fondements des murs de défense, de ces murs que nous offrent encore Sens, le Mans, Angers, Bourges, Langres et la plupart des villes gallo-romaines, alors il fallut comprimer les maisons entassées dans ces enceintes si étroites, comparativement à l'étendue primitive des villes; la distribution dut en éprouver des modifications considérables; les salles voûtées établies sous le sol et l'addition d'un ou deux étages au-dessus du rez-de-chaussée durent être, au moins dans certaines localités, les conséquences de cette condensation des populations urbaines.» Dans les grandes cités, des édifices romains avaient été conservés, toutefois: les curies, les cirques, les théâtres, les thermes étaient encore utilisés sous les rois de la première race; les jeux du cirque n'avaient pas cessé brusquement avec la fin de la domination romaine; les nouveaux conquérants même se piquaient de conserver des usages établis par une civilisation avancée; et telle était l'influence de l'administration de l'empire romain, qu'elle survivait aux longs désastres des Ve et VIe siècles. Dans les villes du midi et de l'Aquitaine surtout, moins ravagées par le passage des barbares, les formes de la municipalité romaine étaient maintenues; beaucoup d'édifices publics restaient debout; mais, au nord de la Loire, les villes et les campagnes, sans cesse dévastées, n'offraient plus un seul édifice romain qui pût servir d'abri; les rois francs bâtissaient des villæ en maçonnerie grossière et en bois; les évêques, des églises et des monastères; quant à la cité, elle ne possédait aucun édifice public important, ou du moins il n'en reste de traces ni dans l'histoire, ni sur le sol. Les villæ des campagnes, les seuls édifices qui, jusqu'à l'époque carlovingienne, aient eu quelque valeur, ressemblaient plutôt à de grandes fermes qu'à des palais; elles se trouvent décrites dans le capitulaire de Charlemagne (de Villis); le sol de la Belgique, du Soissonnais, de la Picardie, de la Normandie, de l'Ile-de-France, de l'Orléanais, de la Touraine et de l'Anjou, en était couvert. Les villæ se composaient presque toujours de deux vastes cours avec des bâtiments alentour, simples en épaisseur, n'ayant qu'un rez-de-chaussée; on communiquait aux diverses salles par un portique ouvert; l'une des cours était réservée aux seigneurs, c'était la villa urbana; l'autre aux colons ou esclaves chargés de l'exploitation: on l'appelait villa rustica 117.
La villa mérovingienne est donc la transition entre la villa romaine et le monastère de l'époque carlovingienne (voy. ARCHITECTURE, ARCHITECTURE MONASTIQUE).
Après Charlemagne, la féodalité changea bientôt la villa seigneuriale en château fort. Les monastères seuls conservèrent la tradition romaine. Quant aux villes, elles ne commencèrent à élever des édifices, civils qu'après le grand mouvement des communes des XIe et XIIe siècles. Il s'écoula même un laps de temps considérable avant que les nouvelles communes aient pu acquérir une prépondérance assez grande, établir une organisation assez complète, pour songer à bâtir des hôtels de ville, des halles, des bourses ou des marchés. En effet, dans l'histoire de ces communes, si bien connue aujourd'hui grâce aux travaux de M. Augustin Thierry, il n'est pas question de fondation d'édifices de quelque importance. Les bourgeois affranchis de Vézelay construisent des maisons fortifiées, mais ne paraissent pas songer à établir dans leur cité la curie romaine, l'hôtel de ville du moyen âge. «Les habitants des villes, que ce mouvement politique avait gagnés, se réunissaient dans la grande église ou sur la place du marché, et là ils prêtaient, sur les choses saintes, le serment de se soutenir les uns les autres, de ne point permettre que qui que ce fût fît tort à l'un d'entre eux ou le traitât désormais en serf. Tous ceux qui s'étaient liés de cette manière prenaient dès lors le nom de communiers ou de jurés, et, pour eux, ces titres nouveaux comprenaient les idées de devoir, de fidélité et de dévouement réciproques, exprimés, dans l'antiquité, par le mot de citoyen 118... Chargés de la tâche pénible d'être sans cesse à la tête du peuple dans la lutte qu'il entreprenait contre ses anciens seigneurs, les nouveaux magistrats» (consuls dans les villes au midi, jurés ou échevins dans celles du nord) «avaient mission d'assembler les bourgeois au son de la cloche, et de les conduire en armes sous la bannière de la commune. Dans ce passage de l'ancienne civilisation abâtardie à une civilisation neuve et originale, les restes des vieux monuments de la splendeur romaine servirent quelquefois de matériaux pour la construction des murailles et des tours qui devaient garantir les villes libres contre l'hostilité des châteaux. On peut voir encore, dans les murs d'Arles, un grand nombre de pierres couvertes de sculptures provenant de la démolition d'un théâtre magnifique, mais devenu inutile par le changement des moeurs et l'interruption des souvenirs.» Ainsi, à l'origine de ces grandes luttes, c'est l'église qui sert de lieu de réunion, et le premier acte de pouvoir est toujours l'érection de murailles destinées à protéger les libertés conquises. Lorsque les habitants de Reims s'érigèrent en commune, vers 1138, le grand conseil des bourgeois s'assemblait dans l'église Saint-Symphorien, et la cloche de la tour de cette église servait de beffroi communal. «D'autres villes offraient, à la même époque, l'exemple de cet usage introduit par la nécessité, faute de locaux assez vastes pour mettre à couvert une assemblée nombreuse. Aussi l'un des moyens que la puissance ecclésiastique employait pour gêner l'exercice du droit de commune, était de faire défense de se réunir dans les églises pour un autre motif que la prière, et de sonner les cloches à une autre heure que celles des offices 119.» Les luttes incessantes des communes du domaine royal avec le pouvoir féodal, pendant le XIIe siècle, et leur prompte décadence dès que le pouvoir royal se constitua sur des bases durables, au commencement du XIIIe siècle, ne permirent pas aux villes telles que Noyon, le Mans, Laon, Sens, Reims, Cambrai, Amiens, Soissons, etc., d'élever de grands édifices municipaux autres que des murailles de défense et des beffrois. Le beffroi était le signe le plus manifeste de l'établissement de la commune, le signal qui annonçait aux bourgeois l'ouverture des assemblées populaires, ou les dangers auxquels la cité se trouvait exposée (voy. BEFFROI). Mais les communes de Flandre, du Brabant ou du midi de la France, qui conservèrent leurs franchises jusqu'au XVIe siècle, eurent le loisir de construire de grands édifices municipaux dès la fin du XIIe siècle, et surtout pendant les XIIIe et XIVe siècles. Plusieurs de ces édifices existent encore en Belgique; mais dans le midi de la France, ils ont tous été détruits pendant les guerres religieuses du XVIe siècle. Nous n'en connaissons qu'un seul encore debout dans une des petites villes du comté de Toulouse, Saint-Antonin, située à quelques lieues au nord-ouest de Montauban (voy. HÔTEL DE VILLE). Il en est de même des halles, bourses; nous ne possédons, en France, qu'un très-petit nombre de ces édifices, et encore ne se sont-ils conservés que dans des villes de peu d'importance, tandis qu'en Belgique les villes de Bruges et d'Ypres, de Louvain, de Malines, d'Anvers, ont eu le bon esprit de préserver de la destruction ces précieux restes de leur grandeur pendant les XIIIe et XVe siècles (voy. BOURSE).
Pendant les XIe, XIIe, XIIIe et XIVe siècles, un grand nombre d'hôpitaux furent fondés. Les évêques et les établissements religieux furent des premiers à offrir des refuges assurés et rentés aux malades pauvres. Les pestes étaient fréquentes au moyen âge, dans des villes non pavées, resserrées entre des murailles d'autant moins étendues que leur construction occasionnait des dépenses considérables. Les guerres avec l'Orient avaient introduit la lèpre en Occident. Beaucoup de monastères et de châteaux avaient établi, dans leur voisinage, des léproseries, des maladreries, qui n'étaient que de petits hôpitaux entretenus par des religieux. Les moines augustins (hospitaliers) s'étaient particulièrement attachés au service des malades pauvres, et dès le XIIe siècle un grand nombre de maisons hospitalières des grandes villes étaient desservies par des religieuses augustines. De simples particuliers, «meuz de pitié,» comme dit le P. du Breul, abandonnaient des propriétés aux pauvres malades «passants par la ville;» ils les dotaient, et bientôt ces maisons, enrichies de dons, pourvues de priviléges accordés par les évêques, les princes séculiers et les papes, devenaient de grands établissements, qui se sont conservés jusqu'à nos jours, respectés par tous les pouvoirs et à travers toutes les révolutions. Mais c'est à partir du XIIe siècle que les hôpitaux sont construits suivant un programme arrêté. C'étaient de grandes salles voûtées, hautes, aérées, souvent divisées par une ou plusieurs rangées de colonnes; à l'une des extrémités était un vestibule, ou quelquefois un simple porche ou auvent; à l'autre bout, une chapelle. En aile, une officine, pharmacie, puis les cellules des religieux ou religieuses, leur réfectoire, leur cuisine; souvent un cloître et une église complétaient cet ensemble de bâtiments presque toujours entourés d'une muraille (voy. HÔTEL-DIEU, MALADRERIE, LÉPROSERIE). Des jardins étaient, autant qu'il se pouvait faire, annexés à l'établissement.
Ces maisons, dans certains cas, ne servaient pas seulement de refuges aux malades, mais aussi aux pauvres sans asile. On lit dans l'ouvrage du P. du Breul ce passage touchant l'hôpital Sainte-Catherine, primitivement Sainte-Opportune, fondé en la grande rue Saint-Denis, à Paris. «Est à noter que audit hospital il y a onze religieuses qui vivent et tiennent la reigle de monsieur sainct Augustin, laquelle en leur profession elles font serment de garder, et sont subjetes à monsieur l'évêque de Paris, lequel les visite par lui et ses vicaires, et font leur profession entre ses mains, et a estably et confirmé leurs statuts. Plus elles font les trois voeux de religion, et vivent comme ès autres maisons réformées, hormis qu'elles n'ont cloistre ni closture à cause de l'hospitalité, et qu'elles sont ordinairement autour des pauvres, lesquels elles sont tenues de penser. Elles mangent en commun... lesdites religieuses sont subjetes et tenues de recevoir toutes pauvres femmes et filles par chascune nuict, et les héberger par trois jours consécutifs; et pour se faire, garnir de linges et couvertures quinze grands licts, qui sont en deux grandes salles basses dudit hospital, et ont lesdites religieuses le soin de les penser, traicter et chauffer de charbon, quand la saison le requiert. Aucune fois les licts sont si plains, que aucunes desdites femmes et filles sont contrainctes coucher entre les deux portes de la maison, où on les enferme de peur qu'elles ne facent mal, ou qu'il ne leur advienne inconvénient de nuict. Plus elles sont tenues de recueillir en ladite maison tous les corps morts ès prisons, en la rivière et par la ville, et aussi ceux qui ont esté tuez par ladite ville. Lesquels le plus souvent on apporte tous nuds, et néantmoins elles les ensevelissent de linges et suaires à leurs despens, payent le fossoyeur et les font enterrer au cimetière des Saincts-Innocents. Lesquels quelquefois sont en si grande quantité, qu'il se trouve par acte signé des greffiers de justice, avoir esté portez en ladite maison en moins de quatorze mois, quatre-vingt-dix-huict corps morts 120...»
De toute ancienneté, conformément aux usages chrétiens, on enterrait les morts autour des églises, si ce n'est les hérétiques, les juifs et les excommuniés. Les grands personnages avaient leur sépulture sous le pavé même des églises, ou des cloîtres; mais dans des villes populeuses, souvent les églises se trouvaient tellement entourées d'habitations particulières qu'il n'était pas possible de conserver un espace convenable aux sépultures, de là l'établissement de charniers ou cimetières spéciaux proche de quelques églises, autour desquelles alors on réservait de vastes espaces libres. Tels étaient les cimetières des Saints-Innocents à Paris, de Saint-Denis à Amiens, etc. Lorsque l'édilité commença de s'établir dans les grandes villes, que l'on prit pendant les XIIIe et XIVe siècles des mesures de salubrité et de police urbaines, on entoura les champs des morts de clôtures avec portiques, formant de vastes cloîtres sous lesquels s'élevèrent des monuments destinés à perpétuer le souvenir des nobles ou des personnages importants, puis bientôt, lorsque survinrent des épidémies, reconnaissant l'insuffisance et le danger de ces enclos compris dans l'enceinte des grandes villes, on établit extra-muros des cimetières, assez semblables à ceux qui, aujourd'hui, sont affectés aux sépultures.
«En 1348, environ Caresme, en vertu des lettres patentes du roy Philippe VI, dit de Valois, pour lors régnant, le cimetière des Saints-Innocents fut du tout clos et fermé sans qu'on y entrast aucunement, les portes et entrées estans murées pour l'utilité du peuple, de peur que l'air de Paris, à raison de la mortalité ou épidémie qui pour lors couroit, ne fust gasté et corrompu, et que par le grand amas des corps pour lors enterrez audit cimetière, et qui y pouvoient encores estre apportez, il n'advinst un plus grand inconvénient et péril. Et suivant la volonté du roy, l'on benist un autre cimetière hors les murs de la ville, pour enterrer tous les corps de ceux qui mourroient durant ladite épidémie: suivant laquelle ordonnance plusieurs corps y furent portez (j'estime que ce soit celuy de la Trinité pour lors hors la ville, où encore pour le jour d'huy s'enterrent tous les corps morts de la contagion qui sortent de l'Hostel-Dieu de Paris...) 121» (voy. CIMETIÈRE).
Mais ces maisons de refuge, ces hôpitaux et ces champs de repos entourés de portiques, ressemblaient en tous points jusqu'au XIVe siècle, aux constructions monastiques, et n'en étaient pour ainsi dire qu'une branche. Les grandes abbayes avaient donné les premiers modèles de ces constructions; elles étaient entrées plus avant encore dans l'architecture purement civile, en affectant des parties de leurs terrains à des foires ou marchés perpétuels ou temporaires; marchés qui devenaient un produit d'une certaine importance dans le voisinage des grands centres de population. Les chevaliers du Temple, à Paris, bâtirent une boucherie sur leur territoire où ils exerçaient justice haute, moyenne et basse 122. Philippe Auguste qui, l'un des premiers, se préoccupa sérieusement et avec cet esprit de suite qui le distingue, de l'agrandissement et de l'assainissement de la ville de Paris, acheta de la Léproserie établie hors la ville de Paris, un marché qu'il transféra «dans une grande place vuide plus à portée du commerce, appellée Champeaux, c'est-à-dire Petits-Champs, déjà destinée à l'usage: du public par le roy Louis VI, son ayeul. Ce fut là qu'il fit bastir les halles pour la commodité des marchands. Il pourveut de plus à la sûreté de leurs marchandises, par un mur de pierre qu'il fit construire autour des halles, avec des portes qui fermoient la nuit. Et entre ce mur de closture et les maisons de marchands il fit faire une espèce de galerie couverte en manière d'apentif, afin que la pluie n'interrompist point le commerce... Le bastiment de Philippe Auguste contenoit deux halles, et le mur qui les environnoit estoit garni de loges 123. Sous saint Louis, il y avoit deux halles aux draps, et une autre entre deux, avec un appenti. De dire si ces halles aux draps sont les mêmes que fit faire Philippe Auguste, c'est ce que je ne sai pas. Quant à l'appenti et à la troisième halle, on y avoit fait des loges, ainsi que dans celles de Philippe: le roy en étoit propriétaire, et les louoit soixante-quinze livres aux merciers et aux corroyeurs... Avec le temps, la halle devint si grande, et on en fit tant d'autres, que les marchands et les artisans de Paris, de toutes vocations, en eurent chacun une à part, si bien qu'alors au lieu de se servir du mot de halle au singulier, on commença à s'en servir au pluriel, et à dire les halles. Quelque temps après, ceux de Beauvais, de Pontoise, de Lagni, de Gonesse, de Saint-Denys et autres villes des environs de Paris, y en eurent aussi. On en fit de même pour la plupart des villes de Picardie et des Pays-Bas, et pour quelques-unes de Normandie, que nos rois, à l'exemple de saint Louis, louèrent aux habitants des villes de ces provinces-là 124.»
Successivement ces halles, à Paris comme dans toutes les grandes villes, furent modifiées, étendues, pour satisfaire à des besoins nouveaux, et aujourd'hui il ne nous reste que des débris de ces édifices publics dans quelques villes de second ou de troisième ordre. D'ailleurs le bois jouait un grand rôle dans ces constructions; c'étaient, ou des appentis, ou de grandes salles ressemblant assez aux granges des monastères qui n'étaient pas bâties de façon à pouvoir demeurer intactes au milieu des villes qui s'embellissaient chaque jour. Toutefois dans des cités du nord, dans ces petites républiques manufacturières des Pays-Bas, ainsi que nous l'avons dit plus haut, on bâtissait, pendant les XIIIe, XIVe et XVe siècles, des halles splendides, et qui se sont conservées jusqu'à nos jours (voy. HALLE).
Quant aux constructions civiles telles que les ponts, les égouts, les quais, les canaux, routes, nous renvoyons nos lecteurs à ces mots, aussi bien pour la partie historique que pour la pratique; nous nous bornerons ici à quelques données générales sur les habitations urbaines, soit des grands, soit des bourgeois. Il faut dire que l'architecture privée suit pas à pas, jusqu'au XIIIe siècle, les données monastiques: 1° parce que les établissements religieux étaient à la tête de la civilisation, qu'ils avaient conservé les traditions antiques en les appropriant aux moeurs nouvelles; 2° parce que les moines seuls pratiquaient les arts de l'architecture, de la sculpture et de la peinture, et qu'ils devaient par conséquent apporter, même dans les constructions étrangères aux couvents, leurs formules aussi bien que les données générales de leurs bâtiments. Les palais, comme les couvents, possédaient leur cloître ou leur cour entourée de portiques, leur grand'salle qui remplaçait le réfectoire des moines et en tenait lieu, leurs vastes cuisines, leurs dortoirs pour les familiers, un logis séparé pour le seigneur comme pour l'évêque ou l'abbé; leur hôtellerie pour les étrangers, leur chapelle, celliers, greniers, jardins, etc. Seulement à l'extérieur, le palais séculier se revêtait de hautes murailles fortifiées, de tours, de défenses beaucoup plus importantes et étendues que celles des abbayes. Le palais des rois à Paris en la Cité, contenait tous ces divers services et dépendances dès avant Philippe Auguste. Quant aux maisons des riches citoyens, elles avaient acquis, même pendant la période romane, une grande importance, soit comme étendue, soit comme décoration, et elles suivaient le mouvement imprimé par l'architecture bénédictine, riches de sculpture dans les provinces où l'influence clunisienne se faisait sentir, simples dans les environs des établissements cisterciens. Mais à la fin du XIIe siècle, lorsque l'architecture est pratiquée par les laïques, les habitations particulières se débarrassent de leurs langes monastiques, et prennent une physionomie qui leur est propre. Ce qui les caractérise, c'est une grande sobriété d'ornementation extérieure, une complète observation des besoins. Le rationalisme qui, à cette époque, s'attachait même aux constructions religieuses, perçait à plus forte raison dans les constructions privées. Mais il ne faudrait pas croire que cette tendance ait conduit l'architecture civile dans une voie étroite, qu'elle lui ait fait adopter des données sèches et invariables, des poncifs comme ceux qui de nos jours sont appliqués à certaines constructions d'utilité publique, en dépit des matériaux, du climat, des habitudes ou des traditions de telle ou telle province. Au contraire, ce qui distingue le rationalisme des XIIe et XIIIe siècles du nôtre, c'est, avec une grande rigidité de principes, la liberté, l'originalité, l'aversion pour la banalité. Cette liberté est telle qu'elle déroute fort les architectes archéologues de notre temps qui veulent ne voir que la forme extérieure sans chercher le principe qui a dirigé nos anciens artistes du moyen âge. Il n'y a pas, à proprement parler, de règles absolues pour l'application de certaines formes, il n'y a d'autres règles que l'observation rigoureuse d'un principe avec la faculté pour chacun de se mouvoir dans les limites posées par ce principe. Or ce principe est celui-ci: rendre tout besoin et tout moyen de construction apparents. L'habitation est-elle de brique, de bois ou de pierre, sa forme, son aspect, sont le résultat de l'emploi de ces divers matériaux. A-t-on besoin d'ouvrir de grands jours ou de petites fenêtres, les façades présentent des baies larges ou étroites, longues ou trapues. Y a-t-il des voûtes à l'intérieur, des contre-forts les accusent à l'extérieur; sont-ce des planchers, les contre-forts disparaissent et des bandeaux marquent la place des solives. Se sert-on de tuiles creuses pour couvrir, les combles sont obtus; de tuiles plates ou d'ardoises, les combles sont aigus. Une grande salle est-elle nécessaire, on l'éclaire par une suite d'arcades ou par une galerie vitrée. Les étages sont-ils distribués en petites pièces, les ouvertures sont séparées par des trumeaux. Faut-il une cheminée sur un mur de face, son tuyau porté en encorbellement est franchement accusé à l'extérieur, et passe à travers tous les étages jusqu'au faîte. Faut-il faire un escalier, il est placé en dehors du bâtiment, ou s'il est compris entre ses murs, les fenêtres qui l'éclairent ressautent comme les paliers, réglant toujours la hauteur de leurs appuis à partir du niveau de ces paliers. À l'intérieur, les solives des planchers, les enchevêtrures sont apparentes, simplement équarries si l'habitation est modeste, moulurées et même sculptées si la construction est faite avec luxe. Les portes des appartements sont percées là où elles ne peuvent gêner la circulation et le placement des meubles; elles sont basses, car on n'entre pas à cheval dans sa chambre ou son salon. Si les pièces sont hautes, spacieuses, les fenêtres sont larges et longues, mais la partie supérieure est dormante, et la partie inférieure seule s'ouvrant facilement, permet de renouveler l'air ou de se mettre à la fenêtre, sans être gêné par le vent; les volets eux-mêmes, divisés par compartiments, laissent passer plus ou moins de lumière. Tout est prévu, les meneaux portent des renforts pour recevoir les targettes, les tableaux des croisées de petites saillies pour introduire les pivots. Si l'on veut placer des bannes en étoffe devant les croisées ou devant les boutiques, des corbeaux en pierre échancrés en crochets sont destinés à les porter. Dans les grandes habitations, les services, les cuisines, sont éloignés du bâtiment principal; un couloir porté en encorbellement le long d'un des murs de la cour relie au premier étage ces services avec les appartements des maîtres; au rez-de-chaussée, cette saillie forme un abri utile, qui n'empiète pas sur l'aire de la cour. Pour éclairer les combles, de grandes lucarnes apparentes soit en pierre soit en bois. Des tuyaux de cheminée, visibles, solides, ornés même souvent, percent les toits, et protégent leur jonction avec la couverture, par de larges filets rampants. Chaque boutique a sa cave avec escalier particulier, et son arrière-magasin. Si la maison est munie d'une porte charretière, une porte plus petite est ouverte à côté pour le service de nuit et pour les piétons. Certes, il y a loin de là à nos maisons de brique qui simulent la pierre, à nos pans de bois revêtus de plâtre, à nos escaliers qui coupent les fenêtres par le milieu, à nos jours aussi larges pour les petites pièces que pour les grandes, à nos tuyaux de cheminée honteux de se laisser voir, à cette perpétuelle dissimulation de ce qui est et doit être dans nos habitations privées, où le plâtre est peint en marbre ou en bois, où le bois est peint en pierre, où la construction la plus pauvre se cache sous une enveloppe de luxe. Pour faire une construction gothique, il ne s'agit donc pas de jeter sur une façade quelques ornements pillés dans de vieux palais, de placer des meneaux dans des fenêtres, mais il s'agit avant tout d'être vrai dans l'emploi des matériaux, comme dans l'application des formes aux besoins. Ainsi, pour ne citer qu'un exemple, si les fenêtres en tiers-point sont employées dans la construction des églises ou des grandes salles voûtées, cela est parfaitement justifié par les formerets des voûtes qui, étant eux-mêmes en tiers-point, commandent la forme de la baie destinée à faire pénétrer la lumière à l'intérieur; mais dans les habitations dont les étages sont séparés par des planchers horizontaux, l'emploi de la fenêtre en tiers-point serait ridicule, sans raisons; aussi voyons-nous toujours les fenêtres des habitations fermées par des linteaux ou par des arcs bombés ayant peu de flèche. Si par exception les fenêtres sont en tiers-point, un linteau peu épais ou une imposte, placée à la naissance de l'ogive, permet de poser des châssis carrés dans la partie inférieure, la seule qui soit ouvrante, et la partie supérieure de la fenêtre comprise entre les courbes est dormante.
L'architecture ogivale, née à la fin du XIIe siècle, est avant tout logique, et, par conséquent, elle doit affecter, dans les édifices religieux et dans les édifices privés, des formes très-différentes, puisque les données premières sont dissemblables. Si l'architecture appliquée aux édifices religieux s'éloigne de son principe vers le XVe siècle, si elle se charge de détails superflus qui finissent par étouffer les données générales et très-savamment combinées de la construction; dans les édifices civils, au contraire, elle suit la marche ascendante de la civilisation, se développe, et finit, au XVIe siècle, par produire des oeuvres qui, si elles ne sont pas toujours irréprochables sous le rapport du goût, sont très-remarquables comme dispositions d'ensemble, en satisfaisant aux besoins nouveaux avec une adresse et un bonheur rares. Autant qu'on peut en juger par l'examen des constructions civiles qui nous restent des XIIe, XIIIe et XIVe siècles, les données générales des palais comme des maisons étaient simples. L'habitation princière se composait de cours entourées de portiques, les écuries, les logements des serviteurs et des hôtes en dehors de l'enceinte du palais. Les bâtiments d'habitation comprenaient toujours une grande salle d'un accès facile. C'était là que se réunissaient les vassaux, que l'on donnait des fêtes ou des banquets, que se traitaient les affaires qui exigeaient un grand concours de monde, que se rendait la justice. À proximité, les prisons, une salle des gardes; puis les cuisines, offices, avec leur cour et entrée particulières. Les logements des maîtres étaient souvent rattachés à la grand'salle par un parloir et une galerie; c'était là que l'on déposait des armes, des objets conquis, des meubles précieux, dépouilles souvent arrachées à des voisins moins heureux. Des peintures, des portraits, ornaient la galerie. Les chambres destinées à l'habitation privée étaient groupées irrégulièrement, suivant les besoins; comme accessoires, des cabinets, des retraits, quelquefois posés en encorbellement ou pris aux dépens de l'épaisseur des murs. Ces logis étaient à plusieurs étages, et la communication entre eux était établie au moyen d'escaliers à vis auxquels on n'accédait que par des détours connus des familiers. L'influence de la demeure féodale, de la forteresse, se faisait sentir dans ces constructions, qui du reste, à l'extérieur, présentaient toujours une apparence fortifiée. La maison du riche bourgeois possédait une cour et un bâtiment sur la rue. Au rez-de-chaussée, des boutiques, une porte charretière, et une allée conduisant à un escalier droit. Au premier étage, la salle, lieu de réunion de la famille pour les repas, pour recevoir les hôtes; en aile, sur la cour, la cuisine et ses dépendances avec son escalier à vis, bâti dans l'angle. Au deuxième étage, les chambres à coucher, auxquelles on n'accédait que par l'escalier à vis de la cour, montant de fond; car l'escalier droit, ouvert sur la rue, ne donnait accès que dans la salle où l'on admettait les étrangers. Sous les combles, des galetas pour les serviteurs, les commis ou apprentis; des greniers pour déposer les provisions. L'escalier à vis privé descendait dans les caves du maître, lesquelles, presque toujours creusées sous le bâtiment des cuisines en aile, n'étaient pas en communication avec les caves afférentes à chaque boutique. Dans la cour, un puits, un appentis au fond pour les provisions de bois, quelquefois une écurie et un fournil. Ces maisons n'avaient pas leur pignon sur la rue, mais bien l'égout des toits, qui, dans les villes méridionales surtout, était saillant, porté sur les abouts des chevrons maintenus par des liens. Ces dessous de chevrons et les façades elles-mêmes, surtout lorsqu'elles étaient en bois, recevaient des peintures. Quant à la maison du petit bourgeois, elle n'avait pas de cour particulière, et présentait, surtout à partir du XIVe siècle, son pignon sur la rue; elle ne se composait, à rez-de-chaussée, que d'une boutique et d'une allée conduisant à l'escalier droit, communiquant à la salle remplissant tout le premier étage. La cuisine était voisine de cette salle, donnant sur une cour commune et formant bûcher ouvert au rez-de-chaussée, ou même quelquefois dans la salle même. On accédait aux étages supérieurs par un escalier privé, souvent en encorbellement sur la cour commune; ainsi, chez le bourgeois comme chez le noble, la vie privée était toujours soigneusement séparée de la vie publique. Dans le palais, les portiques, la grand'salle, la salle des gardes, étaient accessibles aux invités; dans la maison, c'était la boutique et la salle du premier étage; tout le reste du logis était réservé à la famille; les étrangers n'y pénétraient que dans des cas particuliers.
Dans les villes, chaque famille possédait sa maison. La classe bourgeoise ne se divisait pas, comme aujourd'hui, en propriétaires, rentiers, commerçants, industriels, artistes, etc.; elle ne comprenait que les négociants et les gens de métier. Tous les hommes voués à l'état militaire permanent se trouvaient attachés à quelque seigneur, et logeaient dans leurs demeures féodales. Tous les commis marchands, apprentis et ouvriers logeaient chez leurs patrons. Il n'y avait pas de locations dans le sens actuel du mot. Dans les grandes villes, et surtout dans les faubourgs, des hôtelleries, véritables garnis, recevaient les étrangers, les écoliers, les aventuriers, les jongleurs, et tous gens qui n'avaient pas d'établissement fixe. Là on trouvait un gîte, au jour, à la semaine ou au mois. C'était de ces maisons, mal famées pour la plupart, que sortaient, dans les temps de troubles, ces flots de gens sans aveu qui se répandaient dans les rues, et donnaient fort à faire à la police municipale, royale ou seigneuriale. C'était là que les factions, qui se disputaient le pouvoir, allaient recruter leurs adhérents. L'Université renfermait un grand nombre de ces garnis dès le XIIe siècle, et ce fut en grande partie pour prévenir les abus et les désordres qui étaient la conséquence d'un pareil état de choses, que beaucoup d'établissements monastiques et des évêques fondèrent, sur la montagne Sainte-Geneviève, des colléges, dans l'enceinte desquels la jeunesse trouvait, en même temps que l'instruction, des demeures régulières et soumises à un régime quasi-clérical. Les cloîtres des cathédrales avaient précédé ces établissements, et, derrière leurs murs, les professeurs comme les écoliers pouvaient trouver un asile. Abeilard loue un logis au chanoine Fulbert, dans le cloître Notre-Dame.
Mais il est certain que dans les grandes villes, à une époque où les classes de la société étaient tellement distinctes, il devait se trouver une quantité de gens qui n'étaient ni nobles, ni religieux, ni soldats à solde, ni marchands, ni artisans, ni écoliers, ni laboureurs, et qui formaient une masse vagabonde, vivant quelque part; sorte d'écume qu'aucun pouvoir ne pouvait faire disparaître, emplissant même les cités lorsque de longs malheurs publics avaient tari les sources du travail, et réduit à la misère un grand nombre de pauvres gens. Après les tristes guerres de la fin du XIVe siècle et du commencement du XVe, il s'était formé à Paris une organisation de gueux qui avait des ramifications dans toutes les grandes villes du royaume. Cette compagnie occupait certains quartiers de la capitale: la cour du Roi François, près du Ponceau; la cour Sainte-Catherine, la rue de la Mortellerie, la cour Brisset, la cour Gentien, partie de la rue Montmartre, la cour de la Jussienne, partie de la rue Saint-Honoré, quelques rues des faubourgs Saint-Germain et Saint-Marceau et la butte Saint-Roch. Mais le siége principal de cette gueuserie était la cour des Miracles. «Elle consiste, dit Sauval 125, en une place d'une grandeur très-considérable, et en un très-grand cul-de-sac puant, boueux, irrégulier, qui n'est point pavé. Autrefois, il confinoit aux dernières extrémités de Paris... Pour y venir, il se faut souvent égarer dans de petites rues vilaines, puantes, détournées; pour y entrer, il faut descendre une assez longue pente de terre tortue, raboteuse, inégale. J'y ai vu une maison de boue à demi enterrée, toute chancelante de vieillesse et de pourriture, qui n'a pas quatre toises en quarré, et où logent néanmoins plus de cinquante ménages, chargés d'une infinité de petits enfants légitimes, naturels et dérobés. On m'assura que dans ce petit logis et dans les autres, habitoient plus de cinq cents grosses familles entassées les unes sur les autres. Quelque grande que soit à présent cette cour, elle l'étoit autrefois beaucoup davantage: d'un côté elle s'étendoit jusqu'aux anciens ramparts, appellés aujourd'hui la rue Neuve-Saint-Sauveur: de l'autre, elle couvroit une partie du monastère des Filles-Dieu, avant qu'il passât à l'ordre de Fontevrault; de l'autre, elle étoit bordée de maisons qu'on a laissées tomber en ruine et dont on a fait des jardins; et de toutes parts elle étoit environnée de logis bas, enfoncés, obscurs, difformes, faits de terre et de boue, et tous pleins de mauvais pauvres. Quand, en 1630, on porta les fossés et les ramparts de la porte Saint-Denys au lieu où nous les voyons maintenant, les commissaires députés à la conduite de cette entreprise résolurent de traverser la cour des Miracles d'une rue qui devoit monter de la rue Saint-Sauveur à la rue Neuve-Saint-Sauveur; mais, quoi qu'ils pussent faire, il leur fut impossible d'en venir à bout: les maçons qui commençoient la rue furent batus par les gueux, et ces fripons menacèrent de pis les entrepreneurs et les conducteurs de l'ouvrage.» Ces réunions de filous, de gens sans aveu, de soldats congédiés, étaient soumises encore, aux XVIe et XVIIe siècles, à une sorte de gouvernement occulte, qui avait ses officiers, ses lois, qui tenait des chapitres réguliers, où les intérêts de la république étaient discutés et des instructions données aux diverses provinces; cette population de vagabonds avait une langue particulière, un roi, qui prenait le nom de grand Coësre, et formait la grande congrégation des argotiers, divisée en Cagoux, Archisuppôts de l'Argot, Orphelins, Marcandiers, Rifodés, Malingreux et Capons, Piètres, Polissons, Francmitoux, Calots, Sabouleux, Hubins, Coquillarts, Courteaux de Boutanche, Narquois. Ainsi, partout dans le moyen âge, pour le bien comme pour le mal, l'esprit de corporation se faisait jour, et les hommes déclassés, qui ne pouvaient trouver place dans les associations régulières, obéissaient même à ce grand mouvement des populations vers l'unité, de réaction contre les tendances féodales (voy. CORPORATION).
La puissance des corps de métiers et de marchands, les droits et priviléges dont ils jouissaient dès le XIe siècle, les monopoles qui les rendaient maîtres exclusifs de l'industrie, du commerce et de la main-d'oeuvre; l'organisation des armées, qui le lendemain des guerres laissait sur les routes des milliers de soldats sans paye, sans patrie, avaient dû singulièrement développer ces associations de vagabonds, en lutte permanente avec la société. Les maisons de refuge, fondées par les moines, par les évêques, les rois et même de simples particuliers, pour soulager la misère et recueillir les pauvres, à peine suffisantes dans les temps ordinaires, ne pouvaient, après de longs troubles et des guerres interminables, offrir des asiles à tant de bras inoccupés, à des hommes qui avaient pris des habitudes de pillage, dégradés par la misère, n'ayant plus ni famille ni foyers. Il fallut un long temps pour que l'on pût guérir cette plaie sociale du paupérisme organisé, armé pour ainsi dire; car, pendant le XVIe siècle, les guerres de religion contribuèrent à perpétuer cette situation. Ce ne fut que pendant le XVIIe siècle, quand la monarchie acquit une puissance inconnue jusqu'alors, que, par une police unique et des établissements de secours largement conçus, on put éteindre peu à peu ces associations de la misère et du vice. C'est dans cet esprit que nos grands hôpitaux furent rebâtis pour centraliser une foule de maisons de refuge, des maladreries, des dotations, disséminées dans les grandes villes; que l'hôpital central des Invalides fut fondé, que la Salpêtrière, maison de renfermement des pauvres, comme l'appelle Sauval, fut bâtie.
Le morcellement féodal ne pouvait seconder des mesures d'utilité générale; le système féodal est essentiellement égoïste; ce qu'il fait, il le fait pour lui et les siens, à l'exclusion de la généralité. Les établissements monastiques eux-mêmes étaient imbus, jusqu'à un certain point, de cet esprit exclusif, car, comme nous l'avons dit, ils tenaient aux habitudes féodales, comme propriétaires fonciers. Les ordres mendiants s'étaient élevés avec des idées complétement étrangères aux moeurs de la féodalité; mais, devenus riches possesseurs de biens-fonds, ils avaient perdu de vue le principe de leur institution; séparés, rivaux même, ils avaient cessé, dès la fin du XIIIe siècle, de concourir vers un but commun d'intérêt général; non qu'ils ne rendissent, comme leurs prédécesseurs les bénédictins, d'éminents services, mais c'étaient des services isolés. Il appartenait à la centralisation politique, à l'unité du pouvoir monarchique, de créer de véritables établissements publics, non plus pour telle ou telle bourgade, pour telle ou telle ville, mais pour le pays. Ne nous étonnons donc point de ne pas trouver, avant le XVIe siècle, de ces grands monuments d'utilité générale, qui s'élèvent à partir du XVIIe siècle, et qui font la véritable gloire du siècle de Louis XIV. L'état du pays, avant cette époque, ne comportait pas des travaux conçus avec grandeur, exécutés avec ensemble, et produisant des résultats immenses. Il fallait que l'unité du pouvoir monarchique ne fût plus contestée pour faire passer un canal à travers trois ou quatre provinces ayant chacune ses coutumes, ses préjugés et ses priviléges; pour organiser sur toute la surface du territoire un système de casernement des troupes, d'hôpitaux pour les malades, de ponts, d'endiguement des rivières, de défense des ports contre les envahissements de la mer. Mais si le pays gagnait en bien-être et en sécurité à l'établissement de l'unité gouvernementale, il faut convenir que l'art y perdait, tandis que le morcellement féodal était singulièrement propre à son développement. Un art officiel n'est plus un art, c'est une formule; l'art disparaît avec la responsabilité de l'artiste.
L'architecture nationale, religieuse et monastique s'éteignit avec le XVe siècle, obscurément; l'architecture civile avec la féodalité, mais en jetant un vif éclat. La renaissance, qui n'ajouta rien à l'architecture religieuse et ne fit que précipiter sa chute, apporta dans l'architecture civile un nouvel élément assez vivace pour la rajeunir. Jusqu'alors, dans les constructions civiles, on semblait ne tenir aucun compte de la symétrie, de l'ordonnance générale des plans. Plusieurs causes avaient éloigné les esprits de l'observation des règles que les anciens avaient généralement adoptées, autant que cela était raisonnable, dans l'ensemble de leurs bâtiments. La première était ce type de la villa romaine suivi dans les premières habitations seigneuriales; or la villa antique, habitation rurale, ne présentait pas dans son ensemble des dispositions symétriques; la seconde était la nécessité, dans des habitations fortifiées la plupart du temps, de profiter des dispositions naturelles du terrain, de soumettre la position des bâtiments aux besoins de la défense, aux services divers auxquels il fallait satisfaire. La troisième, l'excessive étroitesse et l'irrégularité des terrains livrés aux habitations particulières dans des villes populeuses enserrées entre des murailles d'autant plus faciles à défendre, qu'elles offraient un moins grand périmètre. C'est ainsi que les lois de la symétrie, lois si ridiculement tyranniques de nos jours, n'avaient jamais exercé leur influence sur les populations du moyen âge, surtout dans des contrées où les traditions romaines étaient effacées. Mais quand au commencement du XVIe siècle, l'étude de l'antiquité et de ses monuments fit connaître un grand nombre de plans d'édifices romains où les lois de la symétrie sont observées; les châteaux féodaux où les bâtiments semblent placés pêle-mêle suivant les besoins, dans des enceintes irrégulières; les maisons, palais et monuments publics élevés sur des terrains tracés par le hasard, parurent aux yeux de tous des demeures de barbares. Avec la mobilité qui caractérise l'esprit français, on se jeta dans l'excès contraire, et on voulut mettre de la symétrie même dans les plans d'édifices qui, par leur nature et la diversité des besoins auxquels ils devaient satisfaire, n'en comportaient aucune. Nombre de riches seigneurs se firent élever des demeures dont les plans symétriques flattent les yeux sur le papier, mais sont parfaitement incommodes pour l'habitation journalière. Les maisons des bourgeois conservèrent plus longtemps leurs dispositions soumises aux besoins, et ce ne fut guère qu'au XVIIe siècle qu'elles commencèrent, elles aussi, à sacrifier ces besoins aux vaines lois de la symétrie. Une fois dans cette voie, l'architecture civile perdit chaque jour de son originalité. De l'ensemble des plans cette mode passa dans la disposition des façades, dans la décoration; et il ne fut plus possible de juger dans un édifice, quel qu'il fût, du contenu par le contenant. L'architecture, au lieu d'être l'enveloppe judicieuse des divers services qui constituent une habitation, imposa ses lois, ou ce qu'on voulut bien appeler ses lois, aux distributions intérieures; comme si la première loi en architecture n'était pas une soumission absolue aux besoins! comme si elle était quelque chose en dehors de ces besoins! comme si les formes purement conventionnelles qu'elle adopte avaient un sens, du moment qu'elles gênent au lieu de protéger! Cependant l'architecture civile de la renaissance, surtout au moment où elle naît et commence à se développer, c'est-à-dire de 1500 à 1550, conserve presque toujours son caractère d'habitation ou d'établissement public, si franchement accusé pendant la période gothique. L'élément antique n'apporte guère qu'une enveloppe décorative ou un besoin de pondération dans les dispositions des plans; et il faut dire que, sous ce double point de vue, l'architecture civile de la renaissance française se montre bien supérieure à celle adoptée en Italie. Les grands architectes français du XVIe siècle, les Philibert Delorme, les Pierre Lescaut, les Jean Bullant, surent allier avec une adresse remarquable les vieilles et bonnes traditions des siècles antérieurs avec les formes nouvellement admises. S'ils employèrent les ordres antiques, et s'ils crurent souvent imiter les arts romains, ils respectèrent dans leurs édifices les besoins de leur temps et se soumirent aux exigences du climat et des matériaux. Ce ne fut que sous Louis XIV que l'architecture civile cessa de tenir compte de ces lois, si naturelles et si vraies, et se produisit comme un art abstrait, agissant d'après des règles toutes conventionnelles en dehors des moeurs et des habitudes de la civilisation moderne (voy. MAISON, PALAIS, JARDIN).
Note 117: (retour) M. de Caumont, ibid., p. 14 et suiv.
Note 118: (retour) Lettres sur l'hist. de France, par Aug. Thierry, 1842, lettre XIII.
Note 119: (retour) Lettres sur l'hist. de France, par Aug, Thierry, 1842, lettre XX.
Note 120: (retour) Antiq. de la ville de Paris. Du Breul. liv. III.
Note 121: (retour) Antiq. de la ville de Paris, Du Breul, liv. III.
Note 122: (retour) Hist. de la ville de Paris, par D. Felibien, t. Ier, p. 103.
Note 123: (retour) Hist. de la ville de Paris, par D. Felibien, t. Ier, p. 204.
Note 124: (retour) Hist. et antiq. de la ville de Paris, Sauval, t. Ier, p. 648.
Note 125: (retour) Tome Ier, p. 510 et suiv.
ARCHITECTURE MILITAIRE. Lorsque les barbares firent irruption dans les Gaules, beaucoup de villes possédaient encore leurs fortifications gallo-romaines; celles qui n'en étaient point pourvues se hâtèrent d'en élever avec les débris des monuments civils. Ces enceintes, successivement forcées et réparées, furent longtemps les seules défenses des cités, et il est probable qu'elles n'étaient point soumises à des dispositions régulières et systématiques, mais qu'elles étaient construites fort diversement, suivant la nature des lieux, des Matériaux, ou d'après certaines traditions locales que nous ne pouvons apprécier aujourd'hui, car de ces enceintes il ne nous reste que des débris, des soubassements modifiés par des adjonctions successives.
Les Visigoths s'emparèrent, pendant le Ve siècle, d'une grande partie des Gaules; leur domination s'étendit, sous Vallia, de la Narbonnaise à la Loire. Toulouse demeura quatre-vingt-neuf ans la capitale de ce royaume, et pendant ce temps la plupart des villes de la Septimanie furent fortifiées avec grand soin, et eurent à subir des siéges fréquents. Narbonne, Béziers, Agde, Carcassonne, Toulouse furent entourées de remparts formidables, construits d'après les traditions romaines des bas temps, si l'on en juge par, les portions importantes d'enceintes qui entourent encore la cité de Carcassonne. Les Visigoths, alliés des Romains, ne faisaient que pérpétuer les arts de l'Empire, et cela avec un certain succès. Quant aux Francs, ils avaient conservé les habitudes germaines, et leurs établissements militaires devaient ressembler à des camps fortifiés, entourés de palissades, de fossés et de quelques talus de terre. Le bois joue un grand rôle dans les fortifications des premiers temps du moyen âge. Et si les races germaines, qui occupèrent les Gaules, laissèrent aux Gallo-Romains le soin d'élever des églises, des monastères, des palais et des édifices publics, ils durent conserver leurs usages militaires en face du peuple conquis. Les Romains eux-mêmes, lorsqu'ils faisaient la guerre sur des territoires couverts de forêts, comme la Germanie et la Gaule, élevaient souvent des remparts de bois, sortes de logis avancés en dehors des camps, ainsi qu'on peut le voir dans les bas-reliefs de la colonne Trajane(1).

Dès l'époque de César, les Celtes, lorsqu'ils ne pouvaient tenir la campagne, mettaient les femmes, les enfants et ce qu'ils possédaient de plus précieux à l'abri des attaques de l'ennemi derrière des fortifications faites de bois, de terre et de pierre. «Ils se servent, dit César dans ses Commentaires, de pièces de bois droites dans toute leur longueur, les couchent à terre parallèlement, les placent «à une distance de deux pieds l'une de l'autre, les fixent transversalement par des troncs d'arbre, et remplissent de terre les vides. Sur cette première assiette, ils posent une assise de gros fragments de rochers, et lorsque ceux-ci sont bien joints, ils établissent un nouveau radier de bois disposé comme le premier, de façon que les rangs de bois ne se touchent point et ne portent que sur les assises de rochers interposées. L'ouvrage est ainsi monté à hauteur convenable. Cette construction, par la variété de ses matériaux, composée de bois et de pierres formant un parement régulier, est bonne pour le service et la défense des places, car les pierres qui la composent empêchent les bois de brûler, et les arbres, ayant environ quarante pieds de long, liés entre eux dans l'épaisseur de la muraille, ne peuvent être rompus ou désassemblés que très-difficilement 126.»


Les Germains établissaient aussi des remparts de bois couronnés de parapets d'osier. La colonne Antonine, à Rome, nous donne un curieux exemple de ces sortes de redoutes de campagnes (2). Mais ce n'étaient là probablement que des ouvrages faits à la hâte. On voit ici l'attaque de ce fort par les soldats romains. Les fantassins, pour pouvoir s'approcher du rempart, se couvrent de leurs boucliers et forment ce que l'on appelait la tortue: appuyant le sommet de ces boucliers contre le rempart, ils pouvaient saper sa base ou y mettre le feu à l'abri des projectiles 127. Les assiégés jettent des pierres, des roues, des épées, des torches, des pots à feu sur la tortue, et des soldats romains, tenant des tisons enflammés, semblent attendre que la tortue se soit approchée complétement du rempart pour passer sous les boucliers et incendier le fort. Dans leurs camps retranchés, les Romains, outre quelques ouvrages avancés construits en bois, plaçaient souvent; le long des remparts, de distance en distance, des échafaudages de charpente qui servaient soit à placer des machines destinées à lancer des projectiles, soit de tours de guet pour reconnaître les approches de l'ennemi. Les bas-reliefs de la colonne Trajane présentent de nombreux exemples de ces sortes de constructions (3). Ces camps étaient de deux sortes: il y avait les camps d'été, castra æstiva, logis purement provisoires, que l'on élevait pour protéger les haltes pendant le cours de la campagne, et qui ne se composaient que d'un fossé peu profond et d'un rang de palissade plantées sur une petite escarpe; puis les camps d'hiver ou fixes, castra hiberna, castra stativa, qui étaient défendus par un fossé large et profond, par un rempart de terre gazonnée ou de pierre flanqué de tours; le tout était couronné de parapets crénelés ou de pieux reliés entre eux par des longrines ou des liens d'osier. L'emploi des tours rondes ou carrées dans les enceintes fixes des Romains était général, car, comme le dit Végèce, «les anciens trouvèrent que l'enceinte d'une place ne devait point être sur une même ligne continue, à cause des béliers qui battraient trop aisément en brèche; mais par le moyen des tours placées dans le rempart assez près les unes des autres, leurs murailles présentaient des parties saillantes et rentrantes. Si les ennemis veulent appliquer des échelles, ou approcher des machines contre une muraille de cette construction, on les voit de front, de revers et presque par derrière; ils sont comme enfermés au milieu des batteries de la place qui les foudroient.» Dès la plus haute antiquité, l'utilité des tours avait été reconnue afin de permettre de prendre les assiégeants en flanc lorsqu'ils voulaient battre les courtines.
Les camps fixes des Romains étaient généralement quadrangulaires, avec
quatre portes percées dans le milieu de chacune des faces; la porte
principale avait nom prétorienne, parce qu'elle s'ouvrait en face du
prætorium, demeure du général en chef; celle en face s'appelait
décumane; les deux latérales étaient désignées ainsi: principalis
dextra et principalis sinistra. Des ouvrages avancés, appelés
antemuralia, procastria, défendaient ces portes
128. Les officiers
et soldats logeaient dans des huttes en terre, en brique ou en bois,
recouvertes de chaume ou de tuiles. Les tours étaient munies de machines
propres à lancer des traits ou des pierres. La situation des lieux
modifiait souvent cette disposition quadrangulaire, car, comme l'observe
judicieusement Vitruve il propos des machines de guerre (chap. XXII):
«Pour ce qui est des moyens que les assiégés peuvent employer pour se
défendre, cela ne se peut pas écrire.»
La station militaire de Famars, en Belgique (Fanum Martis), donnée dans l'Histoire de l'architecture en Belgique, et dont nous reproduisons ici le plan (4), présente une enceinte dont la disposition ne se rapporte pas aux plans ordinaires des camps romains: il est vrai que cette fortification ne saurait être antérieure au IIIe siècle 129. Quant au mode adopté par les Romains dans la construction de leurs fortifications de villes, il consistait en deux forts parements de maçonnerie séparés par un intervalle de vingt pieds; le milieu était rempli de terre provenant des fossés et de blocaille bien pilonnées, et formant un chemin de ronde légèrement incliné du côté de la ville pour l'écoulement des eaux; la paroi extérieure s'élevait au-dessus du chemin de ronde, était épaisse et percée de créneaux; celle intérieure était peu élevée au-dessus du sol de la place, de manière à rendre l'accès des remparts facile au moyen d'emmarchements(5) 130.
Le château Narbonnais de Toulouse, qui joue un si grand rôle dans
l'histoire de cette ville depuis la domination des Visigoths jusqu'au
XIVe siècle, paraît avoir été construit d'après ces données antiques: il
se composait «de deux grosses tours, l'une au midi, l'autre au
septentrion, bâties de terre cuite et de cailloux avec de la chaux, le
tout entouré de grandes pierres sans mortier, mais cramponnées avec des
lames de fer scellées de plomb. Le château était élevé sur terre de plus
de trente brasses, ayant vers le midi deux portails de suite, deux
voûtes de pierres de taille jusqu'au sommet; il y en avait deux autres
de suite au septentrion et sur la place du Salin. Par le dernier de ces
portails, on entrait dans la ville dont le terrain a été haussé de plus
de douze pieds... On voyait une tour carrée entre ces deux tours ou
plates-formes de défense; car elles étaient terrassées et remplies de
terre, suivant Guillaume de Puilaurens, puisque Simon de Montfort en fit
enlever toutes les terres qui s'élevaient jusqu'au comble
131.»

L'enceinte visigothe de la cité de Carcassonne nous a conservé des dispositions analogues et qui rappellent celles décrites par Végèce. Le sol de la ville est beaucoup plus élevé que celui du dehors et presque au niveau des boulevards. Les courtines, fort épaisses, sont composées de deux parements de petit appareil cubique, avec assises alternées de brique; le milieu est rempli non de terre, mais de blocage maçonné à la chaux. Les tours s'élevaient au-dessus des courtines, et leur communication avec celles ci pouvait être coupée, de manière à faire de chaque tour un petit fort indépendant; à l'extérieur ces tours sont cylindriques, et du côté de la ville elles sont carrées; leur souche porte également du côté de la campagne sur une base cubique. Nous donnons ici (6) le plan d'une de ces tours avec les courtines: A est le plan du rez-de-chaussée, B le plan du premier étage au niveau des chemins de ronde. On voit en C et en D les deux fosses pratiquées en avant des portes de la tour afin d'intercepter, lorsqu'on enlevait les ponts de bois, la communication entre la ville ou les chemins de ronde et les étages des tours. On accédait du premier étage à la partie supérieure crénelée de la tour par un escalier en bois intérieur posé le long du mur plat. Le sol extérieur étant beaucoup plus bas que celui de la ville, le rez-de-chaussée de la tour était en contre-bas du terre-plein de la cité, et on y descendait par un emmarchement de dix à quinze marches. La figure (6 bis) fait voir la tour et ses deux courtines du côté de la ville, les ponts de communication sont supposés enlevés. L'étage supérieur crénelé est couvert par un comble et ouvert du côté de la ville, afin de permettre aux défenseurs de la tour de voir ce qui s'y passe, et aussi pour permettre de monter des pierres et toutes sortes de projectiles au moyen d'une corde et d'une poulie 132.

La figure (6 ter) montre cette même tour du côté de la campagne; nous y avons joint une poterne 133 dont le seuil est assez élevé au-dessus du sol pour qu'il faille un escalier volant ou une échelle pour y accéder. La poterne se trouve défendue, suivant l'usage, par une palissade ou barrière, chaque porte ou poterne étant munie de ces sortes d'ouvrages.

Conformément à la tradition du camp fixe romain, l'enceinte des villes du moyen âge renfermait un château ou au moins un réduit qui commandait les murailles; le château lui-même contenait une défense isolée plus forte que toutes les autres qui prit le nom de Donjon (voy. ce mot). Souvent les villes du moyen âge étaient protégées par plusieurs enceintes, ou bien il y avait la cité qui, située sur le point culminant, était entourée de fortes murailles et, autour, des faubourgs défendus par des tours et courtines ou de simples ouvrages en terre et en bois et des fossés. Lorsque les Romains fondaient une ville, ils avaient le soin, autant que faire se pouvait, de choisir un terrain incliné le long d'un fleuve où d'une rivière. Quand l'inclinaison du terrain se terminait par un escarpement du côté opposé au cours d'eau, la situation remplissait toutes les conditions désirables; et pour nous faire mieux comprendre par une figure, voici (7) le plan cavalier d'une assiette de ville romaine conforme à ces données. A était la ville avec ses murs bordés d'un côté par la rivière; souvent un pont, défendu par des ouvrages avancés, communiquait à la rive opposée. En B était l'escarpement qui rendait l'accès de la ville difficile sur le point où une armée ennemie devait tenter de l'investir; D le château dominant tout le système de défense, et le refuge de la garnison dans le cas où la ville tombait aux mains des ennemis. Les points les plus faibles étaient alors les deux fronts CC, et c'est là que les murailles étaient hautes, bien flanquées de tours et protégées par des fossés larges et profonds. La position des assiégeants, en face de ces deux fronts, n'était pas très-bonne d'ailleurs, car une sortie les prenant de flanc, pour peu que la garnison fût brave et nombreuse, pouvait les culbuter dans le fleuve. Dans le but de reconnaître les dispositions des assiégeants, aux angles EE étaient construites des tours fort élevées, qui permettaient de découvrir au loin les rives du fleuve en aval et en amont, et les deux fronts CC. C'est suivant ces données que les villes d'Autun, de Cahors, d'Auxerre, de Poitiers, de Bordeaux, de Périgueux, etc., avaient été fortifiées à l'époque romaine. Lorsqu'un pont réunissait, en face le front des murailles, les deux rives du fleuve, alors ce pont était défendu par une tête de pont G du côté opposé à la ville; ces têtes de pont prirent plus ou moins d'importance: elles enveloppèrent des faubourgs tout entiers, ou ne furent que des châtelets, ou de simples barbacanes (voy. ces mots). Des estacades et des tours en regard, bâties des deux côtés du fleuve en amont, permettaient de barrer le passage et d'intercepter la navigation en tendant, d'une tour à l'autre, des chaînes ou des pièces de bois attachées bout à bout par des anneaux de fer. Si, comme à Rome même, dans le voisinage d'un fleuve, il se trouvait une réunion de mamelons, on avait le soin, non d'envelopper ces mamelons, mais de faire passer les murs de défense sur leurs sommets, en fortifiant avec soin les intervalles qui, se trouvant dominés des deux côtés par des fronts, ne pouvaient être attaqués sans de grands risques.


pÀ cet effet, entre les mamelons, la ligne des murailles était presque toujours infléchie et concave, ainsi que l'indique le plan cavalier (8) 134. Mais si la ville occupait un plateau (et alors elle n'était généralement que d'une médiocre importance), on profitait de toutes les saillies du terrain en suivant ses sinuosités, afin de ne pas permettre aux assiégeants de s'établir au niveau du pied des murs, ainsi qu'on peut le voir à Langres et à Carcassonne, dont nous donnons ici (9) l'enceinte visigothe, nous pourrions dire romaine, puisque quelques-unes de ses tours sont établies sur des souches romaines. Dans les villes antiques, comme dans la plupart de celles élevées pendant le moyen âge, et comme aujourd'hui encore, le château, castellum 135, était bâti non-seulement sur le point le plus élevé, mais encore touchait toujours à une partie de l'enceinte, afin de ménager à la garnison les moyens de recevoir des secours du dehors si la ville était prise. Les entrées du château étaient protégées par des ouvrages avancés qui s'étendaient souvent assez loin dans la campagne, de façon à laisser entre les premières barrières et les murs du château un espace libre, sorte de place d'armes qui permettait à un corps de troupes de camper en dehors des enceintes fixes, et de soutenir les premières attaques. Ces retranchements avancés étaient généralement élevés en demi-cercle composés de fossés et de palissades; les portes étaient alors ouvertes latéralement, de manière à obliger l'ennemi qui voulait les forcer de se présenter de flanc devant les murs de la place. Si du IVe au Xe siècle le système défensif de la fortification romaine s'était peu modifié, les moyens d'attaque avaient nécessairement perdu de leur valeur; la mécanique jouait un grand rôle dans les siéges des places, et cet art n'avait pu se perfectionner ni même se maintenir, sous la domination des conquérants barbares, au niveau où les Romains l'avaient placé. Le peu de documents qui nous restent sur les siéges de ces époques accusent une grande inexpérience de la part des assaillants. Il était toujours difficile d'ailleurs de tenir des armées irrégulières et mal disciplinées devant une ville qui résistait quelque temps, et si les siéges traînaient en longueur, l'assaillant était presque certain de voir ses troupes se débander pour aller piller la campagne; alors la défense l'emportait sur l'attaque, et l'on ne s'emparait pas d'une ville défendue par de bonnes murailles et une garnison fidèle. Mais peu à peu les moyens d'attaque se perfectionnèrent, ou plutôt furent suivis avec une certaine méthode: lorsqu'on voulut investir une place, on établit d'abord deux lignes de remparts de terre ou de bois, munis de fossés, l'une du côté de la place, pour se prémunir contre les sorties des assiégés et leur ôter toute communication avec le dehors, qui est la ligne de contre-vallation; l'autre du côté de la campagne, pour se garder contre les secours extérieurs, qui est la ligne de circonvallation; on opposa aux tours des remparts attaqués, des tours mobiles en bois plus élevées, qui commandaient les remparts des assiégés, et qui permettaient de jeter sur les boulevards, au moyen de ponts volants, de nombreux assaillants. Les tours mobiles avaient cet avantage de pouvoir être placées en face les points faibles de la défense, contre des courtines munies de chemins de ronde peu épais, et par conséquent n'opposant qu'une ligne de soldats contre une colonne d'attaque profonde, et se précipitant sur les murailles de haut en bas. On perfectionna le travail du mineur et tous les engins propres à battre les murailles; dès lors l'attaque l'emporta sur la défense. Des machines de guerre des Romains, les armées des premiers siècles du moyen âge avaient conservé le bélier (mouton en langue d'oil, bosson en langue d'oc). Ce fait a quelquefois été révoqué en doute, mais nous possédons les preuves de l'emploi, pendant les Xe, XIe, XIIe, XIVe, XVe et même XVIe siècles, de cet engin propre à battre les murailles. Voici les copies de vignettes tirées de manuscrits de la Bibliothèque Impériale, qui ne peuvent laisser la moindre incertitude sur l'emploi du bélier. La première (9 bis) représente l'attaque des palissades ou des lices entourant une fortification de pierre 136; on y distingue parfaitement le bélier, porté sur deux roues et poussé par trois hommes qui se couvrent de leurs targes; un quatrième assaillant tient une arbalète à pied-de-biche. La seconde (9 ter) représente l'une des visions d'Ézéchiel 137; trois béliers munis de roues entourent le prophète 138. Dans le siége du château de Beaucaire par les habitants de cette ville, le bosson est employé (voir plus loin le passage dans lequel il est question de cet engin). Enfin, dans les Chroniques de Froissard, et, plus tard encore, au siége de Pavie, sous François Ier, il est question du bélier.

Mais après les premières croisades, les ingénieurs occidentaux qui avaient été en Orient à la suite des armées, apportèrent en France, en Italie, en Angleterre et en Allemagne quelques perfectionnements à l'art de la fortification; le système féodal organisé mettait en pratique les nouvelles méthodes, et les amélioraient sans cesse, par suite de son état permanent de guerre. À partir de la fin du XIIe siècle jusque vers le milieu du XIVe, la défense l'emporta sur l'attaque, et cette situation ne changea que lorsqu'on fit usage de la poudre à canon dans l'artillerie. Depuis lors, l'attaque ne cessa pas d'être supérieure à la défense.

Jusqu'au XIIe siècle, il ne parait pas que les villes fussent défendues autrement que par des enceintes flanquées de tours; c'était la méthode romaine; mais alors le sol était déjà couvert de châteaux, et l'on savait par expérience qu'un château se défendait mieux qu'une ville. En effet, aujourd'hui un des principes les plus vulgaires de la fortification consiste à opposer le plus grand front possible à l'ennemi, parce que le plus grand front exige une plus grande enveloppe, et oblige les assiégeants à exécuter des travaux plus considérables et plus longs; mais lorsqu'il fallait battre les murailles de près, lorsqu'on n'employait pour détruire les ouvrages des assiégés que la sape, le bélier, la mine ou des engins dont la portée était courte, lorsqu'on ne pouvait donner l'assaut qu'au moyen de ces tours de bois, ou par escalade, ou encore par des brèches mal faites et d'un accès difficile, plus la garnison était resserrée dans un espace étroit, et plus elle avait de force, car l'assiégeant, si nombreux qu'il fût, obligé d'en venir aux mains, ne pouvait avoir sur un point donné qu'une force égale tout au plus à celle que lui opposait l'assiégé. Au contraire, les enceintes très étendues pouvant être attaquées brusquement par une nombreuse armée, sur plusieurs points à la fois, divisaient les forces des assiégés, exigeaient une garnison au moins égale à l'armée d'investissement, pour garnir suffisamment les remparts, et repousser des attaques qui ne pouvaient être prévues souvent qu'au moment où elles étaient exécutées.
Pour parer aux inconvénients que présentaient les grands fronts fortifiées, vers la fin du XIIe siècle on eut l'idée d'établir, en avant des enceintes continues flanquées de tours, des forteresses isolées, véritables forts détachés destinés à tenir l'assaillant éloigné du corps de la place, et à le forcer de donner à ses lignes de contre-vallation une étendue telle qu'il eût fallu une armée immense pour les garder. Avec l'artillerie moderne, la convergence des feux de l'assiégeant lui donne la supériorité sur la divergence des feux de l'assiégé; mais, avant l'invention des bouches à feu, l'attaque ne pouvait être que très-rapprochée, et toujours perpendiculaire au dispositif défensif; il y avait donc avantage pour l'assiégé à opposer à l'assaillant des points isolés ne se commandant pas les uns les autres, mais bien défendus; on éparpillait ainsi les forces de l'ennemi, en le contraignant à entreprendre des attaques simultanées sur des points choisis par l'assiégé et munis en conséquence. Si l'assaillant laissait derrière lui les réduits isolés pour venir attaquer les fronts de la place, il devait s'attendre à avoir sur les bras les garnisons des forts détachés au moment de donner l'assaut, et sa position était mauvaise. Quelquefois, pour éviter de faire le siége en règle de chacun de ces forts, l'assiégeant, s'il avait une armée nombreuse, élevait des bastilles de pierre sèche, de bois et de terre, établissait des lignes de contre-vallation autour des forteresses isolées, et, renfermant leurs garnisons, attaquait le corps de la place. Toutes les opérations préliminaires des siéges étaient longues, incertaines; il fallait des approvisionnements considérables de bois, de projectiles, et souvent les ouvrages de contre-vallation, les tours mobiles, les bastilles fixes de bois et les engins étaient à peine achevés, qu'une sortie vigoureuse des assiégés ou une attaque de nuit, détruisait le travail de plusieurs mois, par le feu et la hache. Pour éviter ces désastres, les assiégés établissaient leurs lignes de contre-vallation au moyen de doubles rangs de fortes palissades de bois espacés de la longueur d'une pique (trois à quatre mètres), et, creusant un fossé en avant, se servaient de la terre pour remplir l'intervalle entre les palis; ils garnissaient leurs machines, leurs tours de bois fixes et mobiles, de peaux de boeuf et de cheval, fraîches ou bouillies, ou d'une grosse étoffe de laine, afin de les mettre à l'abri des projectiles incendiaires. Il arrivait souvent que les rôles changeaient, et que les assaillants, repoussés par les sorties des garnisons et forcés de se réfugier dans leur camp, devenaient, à leur tour, assiégés. De tout temps les travaux d'approche des siéges ont été longs et hérissés de difficultés; mais alors, bien plus qu'aujourd'hui, les assiégés sortaient de leurs murailles soit pour escarmoucher aux barrières et empêcher des établissements fixes, soit pour détruire les travaux exécutés par les assaillants; les armées se gardaient mal, comme toutes les troupes irrégulières et peu disciplinées; on se fiait aux palis pour arrêter un ennemi audacieux, et chacun se reposant sur son voisin pour garder les ouvrages, il arrivait fréquemment qu'une centaine de gens d'armes, sortant de la place au milieu de la nuit, tombaient à l'improviste au coeur de l'armée, sans rencontrer une sentinelle, mettaient le feu aux machines de guerre, et, coupant les cordes des tentes pour augmenter le désordre, se retiraient avant d'avoir tout le camp sur les bras. Dans les chroniques des XIIe, XIIIe et XIVe siècles, ces surprises se renouvellent à chaque instant, et les armées ne s'en gardaient pas mieux le lendemain. C'était aussi la nuit souvent qu'on essayait, au moyen des machines de jet, d'incendier les ouvrages de bois des assiégeants ou des assiégés. Les Orientaux possédaient des projectiles incendiaires qui causaient un grand effroi aux armées occidentales. Ce qui fait supposer qu'elles n'en connaissaient pas la composition, au moins pendant les croisades des XIIe et XIIIe siècles, et ils avaient des machines puissantes 139 qui différaient de celles des Occidentaux, puisque ceux-ci les adoptèrent en conservant leurs noms d'origine d'engins turcs, de pierrières turques.
On ne peut douter que les croisades, pendant lesquelles on fit tant de siéges mémorables, n'aient perfectionné les moyens d'attaque, et que, par suite, des modifications importantes n'aient été apportées aux défenses des places. Jusqu'au XIIIe siècle, la fortification est protégée par sa force passive, par la masse et la situation de ses constructions. Il suffisait de renfermer une faible garnison dans des tours et derrière des murailles hautes et épaisses, pour défier longtemps les efforts d'assaillants qui ne possédaient que des moyens d'attaque très-faibles. Les châteaux normands, élevés en si grand nombre par ces nouveaux conquérants, dans le nord-ouest de la France et en Angleterre, présentaient des masses de constructions qui ne craignaient pas l'escalade à cause de leur élévation, et que la sape pouvait difficilement entamer. On avait toujours le soin, d'ailleurs, d'établir, autant que faire se pouvait, ces châteaux sur des lieux élevés, sur une assiette de rochers, de les entourer de fossés profonds, de manière à rendre le travail du mineur impossible; et comme refuge en cas de surprise ou de trahison, l'enceinte du château contenait toujours un donjon isolé, commandant tous les ouvrages, entouré lui-même souvent d'un fossé et d'une muraille (chemise), et qui pouvait, par sa position et l'élévation de ses murs, permettre à quelques hommes de tenir en échec de nombreux assaillants. Mais, après les premières croisades, et lorsque le système féodal eut mis entre les mains de quelques seigneurs une puissance presque égale à celle du roi, il fallut renoncer à la fortification passive et qui ne se défendait guère que par sa masse, pour adopter un système de fortification donnant à la défense une activité égale à celle de l'attaque, et exigeant des garnisons plus nombreuses. Il ne suffisait plus (et le terrible Simon de Montfort l'avait prouvé) de posséder des murailles épaisses, des châteaux situés sur des rochers escarpés, du haut desquels on pouvait mépriser un assaillant sans moyens d'attaque actifs, il fallait défendre ces murailles et ces tours et les munir de nombreuses troupes, de machines et de projectiles, multiplier les moyens de nuire à l'assiégeant, déjouer ses efforts par des combinaisons qu'il ne pouvait prévoir, et surtout se mettre à l'abri des surprises ou des coups de main; car souvent des places bien munies tombaient au pouvoir d'une petite troupe hardie de gens d'armes, qui, passant sur le corps des défenseurs des barrières, s'emparaient des portes, et donnaient ainsi, à un corps d'armée, l'entrée d'une ville. Vers la fin du XIIe siècle et pendant la première moitié du XIIIe siècle, les moyens d'attaque et de défense, comme nous l'avons dit, se perfectionnaient, et étaient surtout conduits avec plus de méthode. On voit alors, dans les armées et dans les places, des ingénieurs (engegneors) spécialement chargés de la construction des engins destinés à l'attaque ou à la défense. Parmi ces engins, les uns étaient défensifs et offensifs en même temps, c'est-à-dire construits de manière à garantir les pionniers et à battre les murailles; les autres offensifs seulement. Lorsque l'escalade (le premier moyen d'attaque que l'on employait presque toujours) ne réunissait pas, lorsque les portes étaient trop bien armées de défenses pour être forcées, il fallait entreprendre un siége en règle; c'est alors que l'assiégeant construisait des beffrois roulants en bois (baffraiz), que l'on s'efforçait de faire plus hauts que les murailles de l'assiégé, établissait des chats, gats ou gates, sortes de galeries en bois, couvertes de mairins, de fer et de peaux, que l'on approchait du pied des murs, et qui permettaient aux assaillants de faire agir le mouton, le bosson (bélier des anciens), ou de saper les tours ou courtines au moyen du pic-hoyau, ou encore d'apporter de la terre et des fascines pour combler les fossés.
Dans le poëme de la croisade contre les Albigeois, Simon de Montfort emploie souvent la gate, qui non-seulement semble destinée à permettre de saper le pied des murs à couvert, mais aussi à remplir l'office du beffroi, en amenant au niveau des parapets un corps de troupes.--«Le comte de Montfort commande:... Poussez maintenant la gate et vous prendrez Toulouse... et (les Français) poussent la gate en criant et sifflant; entre le mur (de la ville) et le château elle avance à petits sauts, comme l'épervier chassant les petits oiseaux. Tout droit vient la pierre que lance le trébuchet, et elle la frappe d'un tel coup à son plus haut plancher qu'elle brise, tranche et déchire les cuirs et courroies... Si vous retournez la gate, disent les barons (au comte de Montfort), des coups vous la garantirez. Par Dieu, dit le comte, c'est ce que nous verrons tout à l'heure. Et quand la gate tourne, elle continue ses petits pas saccadés. Le trébuchet vise, prépare son jet, et lui donne un tel coup à la seconde fois, que le fer et l'acier, les solives et chevilles sont tranchés et brisés.» Et plus loin: «Le comte de Montfort a rassemblé ses chevaliers, les plus vaillants pendant le siége et les mieux éprouvés; il a fait (à sa gate) de bonnes défenses munies de ferrures sur la face, et il a mis dedans ses compagnies de chevaliers, bien couverts de leurs armures et les heaumes lacés; ainsi on pousse la gate vigoureusement et vite; mais ceux de la ville sont bien expérimentés: ils ont tendu et ajusté leurs trébuchets, et ont placé dans les frondes de beaux morceaux de roches taillés, qui, les cordes lâchées, volent impétueux, et frappent la gate sur le devant et les flancs si bien, aux portes, aux planchers, aux arcs entaillés (dans le bois), que les éclats volent de tous côtés, et que de ceux qui la poussent beaucoup sont renversés. Et par toute la ville il s'élève un cri: Par Dieu! dame fausse gate, jamais ne prendrez rats 140.»
Guillaume Guiart, à propos du siége de Boves par Philipe Auguste, parle ainsi des chats:
Devant Boves fit l'ost de France,
Qui contre les Flamans contance,
Li mineur pas ne sommeillent,
Un chat bon et fort appareillent,
Tant eurent dessous, et tant cavent,
Qu'une grant part du mur destravent...
Et en l'an 1205:
Un chat font sur le pont atraire,
Dont pieça mention feismes,
Qui fit de la roche meisme,
Li mineur desous se lancent,
Le fort mur à miner commencent,
Et font le chat si aombrer,
Que riens ne les peut encombrer.
Afin de protéger les travailleurs qui font une chaussée pour traverser un bras du Nil, saint Louis «fist faire deux baffraiz, que on appelle Chas Chateilz. Car il y avoit deux chateilz devant les chas, et deux maisons darrière pour recevoir les coups que les Sarrazins gettoient à engis; dont ils avoient seize tout droiz, dont ils faisoient merveilles 141.» L'assaillant appuyait ses beffrois et chats par des batteries de machines de jet, trébuchets (tribuquiaux), mangonnaux (mangoniaux), calabres, pierriers, et par des arbalétriers protégés par des boulevards ou palis terrassés de claies et de terre, ou encore par des tranchées, des fascines et mantelets. Ces divers engins (trébuchets, calabres, mangonnaux et pierriers) étaient mus par des contre-poids, et possédaient une grande justesse de tir 142; ils ne pouvaient toutefois que détruire les créneaux et empêcher l'assiégeant de se maintenir sur les murailles ou démonter leurs machines.
De tous temps la mine avait été en usage pour détruire des pans de murailles et faire brèche. Les mineurs, autant que le terrain le permettait toutefois, faisaient une tranchée en arrière du fossé, passaient au-dessous, arrivaient aux fondations, les sapaient et les étançonnaient au moyen de pièces de bois, puis ils mettaient le feu aux étançons, et la muraille tombait. L'assiégeant, pour se garantir contre ce travail souterrain, établissait ordinairement sur le revers du fossé des palissades ou une muraille continue, véritable chemin couvert qui protégeait les approches, et obligeait l'assaillant à commencer son trou de mine assez loin des fossés; puis, comme dernière ressource, il contre-minait, et cherchait à rencontrer la galerie de l'assaillant; il le repoussait, l'étouffait en jetant dans les galeries des fascines enflammées, et détruisait ses ouvrages. Il existe un curieux rapport du sénéchal de Carcassonne, Guillaume des Ormes, adressé à la reine Blanche, régente de France pendant l'absence de saint Louis, sur la levée du siége mis devant cette place par Trencavel en 1240 143. À cette époque la cité de Carcassonne n'était pas munie comme nous la voyons aujourd'hui 144; elle ne se composait guère que de l'enceinte visigothe, réparée au XIIe siècle, avec une première enceinte ou lices, qui ne devait pas avoir une grande valeur (voy. fig. 9) et quelques ouvrages avancés (barbacanes). Le bulletin détaillé des opérations de l'attaque et de la défense de cette place, donné par le sénéchal Guillaume des Ormes, est en latin; en voici la traduction:
«À excellente et illustre dame Blanche, par la grâce de Dieu, reine des Français, Guillaume des Ormes, sénéchal de Carcassonne, son humble, dévoué et fidèle serviteur, salut.
Madame, que votre excellence apprenne par les présentes que la ville de Carcassonne a été assiégée par le soi-disant vicomte et ses complices, «le lundi 17 septembre 1240. Et aussitôt, nous qui étions dans la place, leur avons enlevé le bourg Graveillant, qui est en avant de la porte de Toulouse, et là, nous avons eu beaucoup de bois de charpente, qui nous a fait grand bien. Ledit bourg s'étendait depuis la barbacane de la cité jusqu'à l'angle de ladite place. Le même jour, les ennemis nous enlevèrent un moulin, à cause de la multitude de gens qu'ils avaient 144a; ensuite Olivier de Termes, Bernard Hugon de Serre-Longue, Géraut d'Aniort, et ceux qui étaient avec eux se campèrent entre l'angle de la ville et l'eau 145, et, le jour même à l'aide des fossés qui se trouvaient là, et en rompant les chemins qui étaient entre eux et nous, ils s'enfermèrent pour que nous ne pussions aller à eux.
D'un autre côté, entre le pont et la barbacane du château, se logèrent Pierre de Fenouillet et Renaud du Puy, Guillaume Fort, Pierre de la Tour et beaucoup d'autres de Carcassonne. Aux deux endroits, ils avaient tant d'arbalétriers, que personne ne pouvait sortir de la ville.
Ensuite ils dressèrent un mangonneau contre notre barbacane; et nous, nous dressâmes aussitôt dans la barbacane une pierrière turque 146 très-bonne, qui lançait des projectiles vers ledit mangonneau et autour de lui; de sorte que, quand ils voulaient tirer contre nous, et qu'ils voyaient mouvoir la perche de notre pierrière, ils s'enfuyaient et abandonnaient entièrement leur mangonneau; et là ils firent des fossés et des palis. Nous aussi, chaque fois que nous faisions jouer la pierrière, nous nous retirions de ce lieu, parce que nous ne pouvions aller à eux, à cause des fossés, des carreaux et des puits qui se trouvaient là.
Ensuite, Madame, ils commencèrent une mine contre la barbacane de la porte Narbonnaise 147; et nous aussitôt, ayant entendu leur travail souterrain, nous contre-minâmes, et nous fîmes dans l'intérieur de la barbacane, un grand et fort mur en pierres sèches, de manière que nous gardions bien la moitié de la barbacane, et alors, ils mirent le feu au trou qu'ils faisaient; de sorte que, les bois s'étant brûlés, une portion antérieure de la barbacane s'écroula.
Ils commencèrent à miner contre une autre tourelle des lices 148; nous contre-minâmes, et nous parvînmes à nous emparer du trou de mine qu'ils avaient fait. Ils commencèrent ensuite une mine entre nous et un certain mur, et ils détruisirent deux créneaux des lices; mais nous fîmes là un bon et fort palis entre eux et nous.
Ils minèrent aussi l'angle de la place, vers la maison de l'évêque 149, et, à force de miner, ils vinrent, sous un certain mur sarrasin 150, jusqu'au mur des lices. Mais aussitôt que nous nous en aperçûmes, nous fîmes un bon et fort palis entre eux et nous, plus haut dans les lices, et nous contre-minâmes. Alors, ils mirent le feu à leur mine, et nous renversèrent à peu près une dizaine de brasses de nos créneaux. Mais aussitôt nous fîmes un bon et fort palis, et au-dessus nous fîmes une bonne bretèche 151 (10) avec de bonnes archières 152: de sorte, qu'aucun d'eux n'osa approcher de nous dans cette partie.
Ils commencèrent aussi, Madame, une mine contre la barbacane de la porte de Rodez 153, et ils se tinrent en dessous, parce qu'ils voulaient arriver à notre mur 154, et ils firent, merveilleusement, une grande voie; mais, nous en étant aperçus, nous fîmes aussitôt, plus haut et plus bas, un grand et fort palis; nous contre-minâmes aussi, et les ayant rencontrés, nous leur enlevâmes leur trou de mine 155.
Sachez aussi, Madame, que depuis le commencement du siége, ils ne cessèrent pas de nous livrer des assauts; mais nous avions tant de bonnes arbalètes et de gens animés de bonne volonté à se défendre, que c'est en livrant leurs assauts qu'ils éprouvèrent les plus grandes pertes.

Ensuite, un dimanche, ils convoquèrent tous leurs hommes d'armes, arbalétriers et autres, et tous ensemble assaillirent la barbacane au-dessous du château 156. Nous descendîmes à la barbacane et leur jetâmes et lançâmes tant de pierres et de carreaux, que nous leur fîmes abandonner ledit assaut; plusieurs d'entre eux furent tués et blessés 157.
Mais le dimanche suivant, après la fête de Saint-Michel, ils nous livrèrent un très-grand assaut; et nous, grâce à Dieu et à nos gens, qui avaient bonne volonté de se défendre, nous les repoussâmes: plusieurs d'entre eux furent tués et blessés; aucun des nôtres, grâce à Dieu, ne fut tué ni ne reçut de blessure mortelle. Mais ensuite, le lundi 11 octobre, vers le soir, ils eurent bruit que vos gens, Madame, venaient à notre secours, et ils mirent le feu aux maisons du bourg de Carcassonne. Ils ont détruit entièrement les maisons des frères Mineurs et les maisons d'un monastère de la bienheureuse Marie, qui étaient dans le bourg, pour prendre les bois dont ils ont fait leurs palis. Tous ceux qui étaient audit siége l'abandonnèrent furtivement cette même nuit, même ceux du bourg.
Quant à nous, nous étions bien préparés, grâce à Dieu, à attendre, Madame, votre secours, tellement que, pendant le siége, aucun de nos gens ne manquait de vivres, quelque pauvre qu'il fût; bien plus, Madame, nous avions en abondance le blé et la viande pour attendre pendant longtemps, s'il l'eût fallu, votre secours. Sachez, Madame, que ces malfaiteurs tuèrent, le second jour de leur arrivée, trente-trois prêtres et autres clercs qu'ils trouvèrent en entrant dans le bourg; sachez en outre, Madame, que le seigneur Pierre de Voisin, votre connétable de Carcassonne; Raymond de Capendu; Gérard d'Ermenville, se sont très-bien conduits dans cette affaire. Néanmoins, le connétable, par sa vigilance, sa valeur et son sang-froid, s'est distingué par-dessus les autres. Quant aux autres affaires de la terre, nous pourrons, Madame, vous en dire la vérité quand nous serons en votre présence. Sachez donc qu'ils ont commencé à nous miner fortement en sept endroits. Nous avons presque partout contre-miné et n'avons point épargné la peine. Ils commençaient à miner à partir de leurs maisons, de sorte que nous ne savions rien avant qu'ils arrivassent à nos lices.
Fait à Carcassonne, le 13 octobre 1240.
Sachez, Madame, que les ennemis ont brûlé les châteaux et les lieux ouverts qu'ils ont rencontrés dans leur fuite.»
Quant au bélier des anciens, il était certainement employé pour battre le pied des murailles dans les siéges, dès le XIIe siècle. Nous empruntons encore au poëme provençal de la croisade contre les Albigeois un passage qui ne peut laisser de doute à cet égard. Simon de Montfort veut secourir le château de Beaucaire qui tient pour lui et qui est assiégé par les habitants; il assiége la ville, mais il n'a pas construit des machines suffisantes; les assauts n'ont pas de résultats; pendant ce temps les Provençaux pressent de plus en plus le château (le capitole). «...Mais ceux de la ville ont élevé contre (les croisés enfermés dans le château) des engins dont ils battent de telle sorte le capitole et la tour de guet, que les poutres, la pierre et le plomb en sont fracassés; et à la Sainte-Pâques est dressé le bosson, lequel est long, ferré, droit, aigu, qui tant frappe, tranche et brise, que le mur est endommagé, et que plusieurs pierres s'en détachent çà et là; et les assiégés, quand ils s'en aperçoivent ne sont pas découragés. Ils font un lacet de corde qui est attaché à une machine de bois, et au moyen duquel la tête du bosson est prise et retenue. De cela ceux de Beaucaire sont grandement troublés, jusqu'à ce que vienne l'ingénieur qui a mis le bosson en mouvement. Et plusieurs des assiégeants se sont logés dans la roche, pour essayer de fendre la muraille à coups de pics aiguisés. Et ceux du capitole les ayant-aperçus, cousent, mêlés dans un drap, du feu, du soufre et de l'étoupe, qu'ils descendent au bout d'une chaîne le long du mur, et lorsque le feu a pris et que le soufre se fond, la flamme et l'odeur les suffoquent à tel point (les pionniers), que pas un d'eux ne peut demeurer ni ne demeure. Mais ils vont à leurs pierriers, les font jouer si bien, qu'ils brisent et tranchent les barrières et les poutres 158.»
Ce curieux passage fait connaître quels étaient les moyens employés alors pour battre de près les murailles, lorsqu'on voulait faire brèche, et que la situation des lieux ne permettait pas de percer des galeries de mines, de poser des étançons sous les fondations, et d'y mettre le feu. Quant aux moyens de défense, il est sans cesse question, dans cette histoire de la croisade contre les Albigeois, de barrières, de lices de bois, de palissades. Lorsque Simon de Montfort est obligé de revenir assiéger Toulouse, après cependant qu'il en a fait raser presque tous les murs, il trouve la ville défendue par des fossés et des ouvrages de bois. Le château Narbonnais seul est encore en son pouvoir. Le frère du comte, Guy de Montfort, est arrivé le premier avec ces terribles croisées. Les chevaliers ont mis pied à terre, ils brisent les barrières et les portes, ils pénètrent dans les rues, mais là ils sont reçus par les habitants et les hommes du comte de Toulouse et sont forcés de battre en retraite, quand arrive Simon plein de fureur: «Comment, dit-il à son frère, se fait-il que vous n'ayez pas déjà détruit la ville et brûlé ses maisons?--Nous avons attaqué la ville, répond le comte Guy, franchi les défenses, et nous nous sommes trouvés pêle-mêle avec les habitants dans les rues; là nous avons rencontré les chevaliers, les bourgeois, les ouvriers armés de masses, d'épieux, de haches tranchantes, qui, avec de grands cris, des huées et de grands coups mortels vous ont, par nous, transmis vos rentes et vos cens, et peut-il vous le dire don Guy votre maréchal, quels marcs d'argent ils nous ont envoyés de dessus les toits! Par la foi que je vous dois, il n'y a parmi nous personne de si brave, qui, quand ils nous chassèrent hors de la ville par les portes, n'eût mieux aimé la fièvre, ou une bataille rangée...» Cependant le comte de Montfort est obligé d'entreprendre un siége en règle après de nouvelles attaques infructueuses. «Il poste ses batailles dans les jardins, il munit les murs du château et les vergers d'arbalètes à rouet 159 et de flèches aiguës. De leur Côté les hommes de la ville, avec leur légitime seigneur, renforcent les barrières, occupent les terrains d'alentour, et arborent en divers lieux leurs bannières, aux deux croix rouges, avec l'enseigne du comte (Raymond), tandis que sur les échafauds 160, dans les galeries 161 sont postés les hommes les plus vaillants, les plus braves et les plus sûrs, armés de perches ferrées, et de pierres à faire tomber sur l'ennemi. En bas, à terre, d'autres sont restés, portant des lances et dartz porcarissals, pour défendre les lices, afin qu'aucun assaillant ne s'approche des palis. Aux archères et aux créneaux (fenestrals) les archers défendent les ambons et les courtines, avec des arcs de différentes sortes et des arbalètes de main. De carreaux et de sagettes des comportes 162 sont remplies. Partout à la ronde, la foule du peuple est armée de haches, de masses, de bâtons ferrés, tandis que les dames et les femmes du peuple leur portent des vases, de grosses pierres faciles à saisir et à lancer. La ville est bellement fortifiée à ses portes; bellement aussi et bien rangés les barons de France, munis de feu, d'échelles et de lourdes pierres, s'approchent de diverses manières pour s'emparer des barbacanes 163...»
Mais le siége traîne en longueur, arrive la saison d'hiver; le comte de Montfort ajourne les opérations d'attaque au printemps. Pendant ce temps les Toulousains renforcent leurs défenses «...Dedans et dehors on ne voit qu'ouvriers qui garnissent la ville, les portes et les boulevards, les murs, les bretèches et les hourds doubles (cadafales dobliers), les fossés, les lices, les ponts, les escaliers. Ce ne sont, dans Toulouse, que charpentiers, qui font des trébuchets doubles, agiles et battants, qui, dans le château Narbonnais, devant lequel ils sont dressés, ne laissent ni tours, ni salle, ni créneau, ni mur entier...» Simon de Montfort revient, il serre la ville de plus près, il s'empare des deux tours qui commandent les rives de la Garonne, il fortifie l'hôpital situé hors les remparts et en fait une bastille avec fossés, palissades, barbacanes. Il établit de bonnes clôtures avec des fossés ras, des murs percés d'archères à plusieurs étages. Mais après maint assaut, maint fait d'armes sans résultats pour les assiégeants, le comte de Montfort est tué d'un coup de pierre lancée par un pierrier, bandé par des femmes près de Saint-Sernin, et le siége est levé.
De retour de sa première croisade, saint Louis voulut faire de Carcassonne une des places les plus fortes de son domaine. Les habitants des faubourgs, qui avaient ouvert leurs portes à l'armée de Trencavel 164, furent chassés de leurs maisons brûlées par celui dont ils avaient embrassé la cause, et leurs remparts rasés. Ce ne fut que sept ans après ce siége que saint Louis, sur les instances de l'évêque Radulphe, permit par lettres patentes aux bourgeois exilés de rebâtir une ville de l'autre côté de l'Aude, ne voulant plus avoir près de la cité des sujets si peu fidèles. Le saint roi commença par rebâtir l'enceinte extérieure qui n'était pas assez forte et qui avait été fort endommagée par les troupes de Trencavel. Il éleva l'énorme tour, appelée la Barbacane, ainsi que les rampes qui commandaient les bords de l'Aude, le pont; et permettaient à la garnison du château de faire des sorties sans être inquiétés par les assiégeants, eussent-ils été maîtres de la première enceinte. Il y a tout lieu de croire que les murailles et tours extérieures furent élevées assez rapidement après l'expédition manquée de Trencavel, pour mettre tout d'abord la cité à l'abri d'un coup de main, pendant que l'on prendrait le temps de réparer et d'agrandir l'enceinte intérieure. Les tours de cette enceinte extérieure ou première enceinte, étaient ouvertes du côté de la ville, afin de rendre leur possession inutile pour l'assiégeant, et les chemins de ronde des courtines sont au niveau du sol des lices, de sorte qu'étant pris, ils ne pouvaient servir de rempart contre l'assiégé qui étant en forces pouvait toujours de plain-pied se jeter sur les assaillants et les culbuter dans les fossés (voy. COURTINE, TOUR).
Philippe le Hardi, lors de la guerre avec le roi d'Aragon, continua ces travaux avec une grande activité jusqu'à sa mort (1285). Carcassonne se trouvait être alors un point voisin de la frontière fort important, et le roi de France y tint son parlement. Il fit élever les courtines, tours et portes du côté de l'est 165, avança l'enceinte intérieure du côté sud, et fit réparer les murailles et tours de l'enceinte des Visigoths (11).

Nous donnons ici le plan de cette place ainsi modifié. En A est la grosse barbacane du côté de l'Aude dont nous avons parlé plus haut, avec ses rampes fortifiées jusqu'au château F. Ces rampes sont disposées de manière à être commandées par les défenses extérieures du château; ce n'est qu'après avoir traversé plusieurs portes et suivi de nombreux détours que l'assaillant (admettant qu'il se fût emparé de la barbacane) pouvait arriver à la porte L, et là il lui fallait, dans un espace étroit et complétement battu par des tours et murailles fort élevées, faire le siége en règle du château, ayant derrière lui un escarpement qui interdisait l'emploi des engins et leur approche. Du côté de la ville, ce château était défendu par un large fossé N et une barbacane E, bâtie par saint Louis. De la grosse barbacane à la porte de l'Aude en C on montait par un chemin roide, crénelé du côté de la vallée de manière à défendre tout l'angle rentrant formé par les rampes du château et les murs de la ville. En B est située la porte Narbonnaise à l'est, qui était munie d'une barbacane et protégée par un fossé et une seconde barbacane palissadée seulement. En S, du côté où l'on pouvait arriver au pied des murailles presque de plain-pied, est un large fossé. Ce fossé et ses approches sont commandés par une forte et haute tour 0, véritable donjon isolé, pouvant soutenir un siége à lui seul, toute la première enceinte de ce côté fût-elle tombée au pouvoir des assaillants. Nous avons tout lieu de croire que cette tour communiquait avec les murailles intérieures au moyen d'un souterrain auquel on accédait par un puits pratiqué dans l'étage inférieur de ce donjon, mais qui étant comblé aujourd'hui n'a pu être encore reconnu. Les lices sont comprises entre les deux enceintes de la porte Narbonnaise en X, Y, jusqu'à la tour du coin en Q. Si l'assiégeant s'emparait des premières défenses du côté du sud, et s'il voulait, en suivant les lices, arriver à la porte de l'Aude en C, il se trouvait arrêté par une tour carrée R, à cheval sur les deux enceintes, et munie de barrières et de mâchicoulis. S'il parvenait à passer entre la porte Narbonnaise et la barbacane en B, ce qui était difficile, il lui fallait franchir, pour arriver en V dans les lices du nord-est, un espace étroit, commandé par une énorme tour M, dite tour du Trésau. De V en T, il était pris en flanc par les hautes tours des Visigoths, réparées par saint Louis et Philippe le Hardi, puis il trouvait une défense à l'angle du château. En D est une grande poterne protégée par une barbacane P; d'autres poternes plus petites sont réparties le long de l'enceinte et permettent à des rondes de faire le tour des lices, et même de descendre dans la campagne sans ouvrir les portes principales. C'était là un point important; on remarquera que la poterne percée dans la tour D, et donnant sur les lices, est placée latéralement, masquée par la saillie du contre-fort d'angle, et le seuil de cette poterne est à plus de deux mètres au-dessus du sol extérieur; il fallait donc poser des échelles pour entrer ou sortir. Aux précautions sans nombre que l'on prenait alors pour défendre les portes, il est naturel de supposer que les assaillants les considéraient toujours comme des points faibles. L'artillerie a modifié cette opinion, en changeant les moyens d'attaque; mais alors on conçoit que quels que fussent les obstacles accumulés autour d'une entrée, l'assiégeant préférait encore tenter de les vaincre, plutôt que de venir se loger au pied d'une tour épaisse pour la saper à main d'hommes, ou la battre au moyen d'engins très imparfaits. Aussi pendant les XIIe, XIIIe et XIVe siècles, quand on voulait donner une haute idée de la force d'une place, on disait qu'elle n'avait qu'une ou deux portes. Mais pour le service des assiégés, surtout lorsqu'ils devaient garder une double enceinte, il fallait cependant rendre les communications faciles entre ces deux enceintes, pour pouvoir porter rapidement des secours sur un point attaqué. C'est ce qui fait que nous voyons, en parcourant l'enceinte intérieure de Carcassonne, un grand nombre de poternes plus ou moins bien dissimulées, et qui devaient permettre à la garnison de se répandre dans les lices sur beaucoup de points à la fois, à un moment donné, ou de rentrer rapidement dans le cas où la première enceinte eût été forcée. Outre les deux grandes portes publiques de l'Aude et Narbonnaise, nous comptons six poternes percées dont l'enceinte intérieure, à quelques mètres au-dessus du sol, et auxquelles, par conséquent, on ne pouvait accéder qu'au moyen d'échelles. Il en est une, entre autres, percée dans la grande courtine de l'évêché, qui n'a que 2 mètres de hauteur sur 0m,90 de largeur, et dont le seuil est placé à 12 mètres au-dessus du sol des lices. Dans l'enceinte extérieure on en découvre une autre percée dans la courtine entre la porte de l'Aude et le château; celle-ci est ouverte au-dessus d'un escarpement de rochers de 7 mètres de hauteur environ. Par ces issues, la nuit, en cas de blocus, et au moyen d'une échelle de cordes, on pouvait recevoir des émissaires du dehors sans craindre une trahison, ou jeter dans la campagne des porteurs de messages ou des espions. On observera que ces deux poternes, d'un si difficile accès, sont placées du côté où les fortifications sont inabordables pour l'ennemi à cause de l'escarpement qui domine la rivière d'Aude. Cette dernière poterne, ouverte dans la courtine de l'enceinte extérieure, donne dans l'enclos protégé par la grosse barbacane, et par le mur crénelé qui suivait la rampe de la porte de l'Aude; elle pouvait donc servir au besoin à jeter dans ces enclos une compagnie de soldats déterminés, pour faire une diversion dans le cas où l'ennemi aurait pressé de trop près les défenses de cette porte ou la barbacane, mettre le fer aux engins, beffrois ou chats des, assiégeants. Il est certain que l'on attachait une grande importance aux barbacanes; elles permettaient aux assiégés de faire des sorties.

En cela, la barbacane de Carcassonne est d'un grand intérêt (12); bâtie en bas de la côte au sommet de laquelle est construit le château, elle met celui-ci en communication avec les bords de l'Aude 166; elle force l'assaillant à se tenir loin des remparts du château; assez vaste pour contenir de quinze à dix-huit cents piétons, sans compter ceux qui garnissaient le boulevard, elle permettait de concentrer un corps considérable de troupes qui pouvaient, par une sortie vigoureuse, culbuter les assiégeants dans le fleuve. La barbacane D du château de la cité carcassonnaise masque complètement la porte B, qui des rampes donne sur la campagne. Ces rampes E sont crénelées à droite et à gauche. Leur chemin est coupé par des parapets chevauchés, et l'ensemble de l'ouvrage, qui monte par une pente roide vers le château, est enfilé dans toute sa longueur par une tour et deux courtines supérieures. Si l'assiégeant parvenait au sommet de la première rampe, il lui fallait se détourner en E: il était alors battu de flanc; en F il trouvait un parapet fortifié, puis une porte bien munie et crénelée; s'il franchissait cette première porte, il devait longer un parapet percé d'archères, forcer une barrière, se détourner brusquement et s'emparer d'une deuxième porte G, étant encore battu de flanc. Alors il se trouvait devant un ouvrage considérable et bien défendu: c'était un couloir long, surmonté de deux étages sous lesquels il fallait passer; le premier battait la dernière porte au moyen d'une défense en bois, et était percé de mâchicoulis dans la longueur du passage. Le second communiquait aux crénelages donnant soit à l'extérieur, du côté des rampes, soit au-dessus même de ce passage. Le plancher du premier étage ne communiquait avec les chemins de ronde des lices que par une petite porte. Si les assaillants parvenaient à s'en emparer par escalade, ils étaient pris comme dans un piége; car la petite porte fermée sur eux, ils se trouvaient exposés aux projectiles lancés par les mâchicoulis du deuxième étage, et l'extrémité du plancher étant interrompue brusquement en H du côté opposé à l'entrée, il leur était impossible d'aller plus avant. S'ils franchissaient le couloir à rez-de-chaussée, ils étaient arrêtés par la troisième porte H , percée dans un mur surmonté par les mâchicoulis du troisième étage communiquant avec les chemins de ronde supérieurs du château. Si, par impossible, ils s'emparaient du deuxième étage, ils ne trouvaient plus d'issues qu'une petite porte donnant dans une seconde salle située le long des murs du château et ne communiquant à celui-ci que par des détours qu'il était facile de barricader en un instant, et qui d'ailleurs étaient défendus par de forts ventaux. Si, malgré tous ces obstacles accumulés, les assiégeants forçaient la troisième porte, il leur fallait alors attaquer la poterne I du château, gardée par un système de défense formidable: des meurtrières, deux mâchicoulis placés l'un au-dessus de l'autre, un pont avec plancher mobile, une herse et des ventaux. Se fût-on emparé de cette porte, qu'on se trouvait à 7 mètres en contre-bas de la cour intérieure L du château, à laquelle on n'arrivait que par des rampes étroites, et en passant à travers plusieurs portes en K.
En supposant que l'attaque fût poussée du côté de la porte de l'Aude, on était arrêté par un poste T, une porte avec ouvrage en bois et un double mâchicoulis percé dans le plancher d'un étage supérieur communiquant avec la grand'salle sud du château, au moyen d'un passage en bois qui pouvait être détruit en un instant; de sorte qu'en s'emparant de cet étage supérieur on n'avait rien fait. Si, après avoir franchi la porte du rez-de-chaussée, on poussait plus loin sur le chemin de ronde le long de la grande tour carrée S, on rencontrait bientôt une porte bien munie de mâchicoulis et bâtie parallèlement au couloir CH. Après cette porte et ces défenses, c'était une seconde porte étroite et basse percée dans le gros mur de refend Z qu'il fallait forcer; puis enfin, on arrivait à la poterne I du château. Si, au contraire (chose qui n'était guère possible), l'assaillant se présentait du côté opposé par les lices du nord, il était arrêté par une défense V. Mais de ce côté l'attaque ne pouvait être tentée, car c'est le point de la cité qui est le mieux défendu par la pature, et pour forcer la première enceinte entre la tour du Trésau (voy. fig. 11) et l'angle du château, il fallait d'abord gravir, une rampe fort roide, et escalader des rochers. D'ailleurs, en attaquant la porte V du nord, l'assiégeant se présentait de flanc aux défenseurs garnissant les hautes murailles et tours de la seconde enceinte. Le gros mur de refend Z qui, partant de la courtine du château, s'avance à angle droit jusque sur la descente de la barbacane, était couronné de mâchicoulis transversaux qui commandaient la porte H et se terminait à son extrémité par une échauguette qui permettait de voir ce qui se passait dans la rampe descendant à la barbacane, afin de prendre des dispositions intérieures de défense en cas de surprise, ou de reconnaître les troupes remontant de la barbacane au château.
Le château pouvait donc tenir longtemps encore, la ville et ses abords étant au pouvoir de l'ennemi; sa garnison défendant facilement la barbacane et ses rampes, restait maîtresse de l'Aude, dont le lit était alors plus rapproché de la cité qu'il ne l'est aujourd'hui, s'approvisionnait par la rivière et empêchait le blocus de ce côté; car il n'était guère possible à un corps de troupes de se poster entre cette barbacane et l'Aude sans danger, n'ayant aucun moyen de se couvrir, et le terrain plat et marécageux étant dominé de toutes parts. La barbacane avait encore cet avantage de mettre le moulin du Roi en communication avec la garnison du château, et ce moulin lui-même était fortifié. Un plan de la cité de Carcassonne, relevé en 1774, note dans sa légende un grand souterrain existant sous le boulevard de la barbacane, mais depuis longtemps fermé et comblé en partie. Peut-être ce souterrain était-il destiné à établir une communication couverte entre ce moulin et la forteresse.

Du côté de la ville, le château de Carcassonne était également défendu, par une grande barbacane C en avant du fossé. Une porte A' bien défendue donnait entrée dans cette barbacane; le pont C communiquait à la porte principale O. De vastes portiques N étaient destinés à loger une garnison temporaire en cas de siége. Quant à la garnison ordinaire, elle logeait du côté de l'Aude, dans des bâtiments à trois étages Q, P. Sur le portique N, côté sud, était une vaste salle d'armes, percée de meurtrières du côté du fossé et prenant ses jours dans la cour M. R R étaient les donjons, le plus grand séparé des constructions voisines par un isolement et ne pouvant communiquer avec les autres bâtiments que par des ponts de bois qu'on enlevait facilement. Ainsi, le château pris, les restes de la garnison pouvaient encore se réfugier dans cette énorme tour complétement fermée et tenir quelque temps. En S est une immense tour de guet qui domine toute la ville et ses environs; elle contenait seulement un escalier de bois. Les tours X, Y, la porte 0 et les courtines intermédiaires sont du XIIe siècle, ainsi que la tour de guet et les soubassements des bâtiments du côté de la barbacane. Ces constructions furent complétées et restaurées sous saint Louis. La grosse barbacane de l'Aude avait deux étages de meurtrières et un chemin de ronde supérieur crénelé et pouvait être muni de hourds 167. Voici (13) une vue cavalière de ce château et de sa barbacane, qui viendra compléter la description que nous venons d'en faire avec le plan (fig. 12); il est facile de retrouver la position de chaque partie de la défense. Nous avons supposé les fortifications armées en guerre, et munies de leurs défenses de bois, bretèches, hourds, et de leurs palissades avancées.
Mais il est nécessaire, avant d'aller plus avant, de bien faire connaître ce que c'étaient que ces hourds, et les motifs qui les avaient fait adopter dès le XIIe siècle.
On avait reconnu le danger des défenses de bois au ras du sol, l'assaillant y mettait facilement le feu; et du temps de saint Louis on remplaçait déjà les lices et barbacanes de bois si fréquemment employées dans le siècle précédent, par des enceintes extérieures et des barbacanes en maçonnerie. Cependant on ne renonçait pas aux défenses de charpentes, on se contentait de les placer assez haut pour rendre leur combustion par des projectiles incendiaires difficile sinon impossible. Alors comme aujourd'hui (et les fortifications de la cité de Carcassonne nous en donnent un exemple), lorsqu'on voulait de bonnes défenses, on avait le soin de conserver partout au-dessus du sol servant d'assiette au pied des murs et tours, un minimum de hauteur, afin de les mettre également à l'abri des escalades sur tout leur développement. Ce minimum de hauteur n'est pas le même pour les deux enceintes extérieure et intérieure, les courtines de la première défense sont maintenues à 10 mètres environ du fond du fossé ou de la crête de l'escarpement au sol des hourds, tandis que les courtines de la seconde enceinte ont, du sol des lices au sol des hourds, 14 mètres au moins. Le terrain servant d'assiette aux deux enceintes n'étant pas sur un plan horizontal, mais présentant des différences de niveau considérable, les remparts se conforment aux mouvements du sol, et les hourds suivent l'inclinaison du chemin de ronde (voy. COURTINE). Il y avait donc alors des données, des règles, des formules pour l'architecture militaire, comme il en existait pour l'architecture religieuse ou civile. La suite de cet article le prouvera, nous le croyons, surabondamment.

Avec le système de créneaux et d'archères ou meurtrières pratiquées dans les parapets en pierre, on ne pouvait empêcher des assaillants nombreux et hardis protégés par des chats recouverts de peaux ou de matelas, de saper le pied des tours ou courtines, puisque par les meurtrières, malgré l'inclinaison de leur coupe, il est impossible de voir le pied des fortifications, et par les créneaux, à moins de sortir la moitié du corps, on ne pouvait non plus viser un objet placé en bas de la muraille. Il fallait donc établir des galeries saillantes, bien munies de défenses, et permettant à un grand nombre d'assiégés de battre le pied des murailles ou des tours par une grêle de pierres et de projectiles de toute nature. Soit (14) une courtine couronnée de créneaux et d'archères, l'homme placé en A ne peut voir le pionnier B qu'à la condition d'avancer la tête en dehors des créneaux, mais alors il se démasque complétement, et toutes fois que des pionniers étaient attachés au pied d'une muraille on avait le soin de protéger leur travail en envoyant des volées de flèches ou de carreaux aux parapets lorsque les assiégés se laissaient voir. En temps de siége, dès le XIIe siècle 168, on garnissait les parapets de hourds C afin de commander complétement le pied des murs au moyen d'un mâchicoulis continu D. Non-seulement les hourds remplissaient parfaitement cet objet, mais ils laissaient les défenseurs libres dans leurs mouvements, l'approvisionnement des projectiles et la circulation se faisant en dedans du parapet en E. D'ailleurs si ces hourds étaient garnis, outre le mâchicoulis continu, de meurtrières, les archères pratiquées dans la construction de pierre, restaient démasquées dans leur partie inférieure et permettaient aux archers ou arbalétriers postés en dedans du parapet de lancer des traits sur les assaillants. Avec ce système, la défense était aussi active que possible, et le manque de projectiles devait seul laisser quelque répit aux assiégeants. On ne doit donc pas s'étonner si dans quelques siéges mémorables, après une défense prolongée, les assiégés en étaient réduits à découvrir leurs maisons, à démolir les murs de jardins, enlever les cailloux des rues, pour garnir les hourds de projectiles et forcer les assaillants à s'éloigner du pied des fortifications. Ces hourds se posaient promptement et facilement (voy. HOURD); on les retirait en temps de paix.

Nous donnons ici (15) le figuré des travaux d'approche d'une courtine flanquée de tours avec fossé plein d'eau, afin de rendre intelligibles les divers moyens de défense et d'attaque dont nous avons parlé ci-dessus. Sur le premier plan est un chat A; il sert à combler le fossé, et s'avance vers le pied de la muraille sur les amas de fascines et de matériaux de toutes sortes que les assaillants jettent sans cesse par son ouverture antérieure; un plancher en bois qui s'établit au fur et à mesure que s'avance le chat permet de le faire rouler sans craindre de le voir s'embourber. Cet engin est mu soit par les rouleaux à l'intérieur au moyen de leviers, soit par des cordes et des poulies de renvoi B. Outre l'auvent qui est placé à la tête du chat, des palissades et des mantelets mobiles protégent les travailleurs. Le chat est garni de peaux fraîches pour le préserver des matières inflammables qui peuvent être lancées par les assiégés. Les assaillants, avant de faire avancer le chat contre la courtine pour pouvoir saper sa base, ont détruit les hourds de cette courtine au moyen de projectiles lancés par des machines de jet. Plus loin, en C est un grand trébuchet; il bat les hourds de la seconde courtine. Ce trébuchet est bandé, un homme met la fronde avec sa pierre en place. Une palissade haute protége l'engin. À côté, des arbalétriers postés derrière des mantelets roulants visent les assiégés qui se démasquent. Au delà, en E, est un beffroi muni de son pont mobile, garni de peaux fraîches; il s'avance sur un plancher de madriers au fur et à mesure que les assaillants, protégés par des palissades, comblent le fossé; il est mû comme le chat par des câbles et des poulies de renvoi. Au delà encore est une batterie de deux trébuchets qui lancent des barils pleins de matières incendiaires contre les hourds des courtines. Dans la ville, sur une grosse tour carrée terminée en plate-forme, les assiégés ont monté un trébuchet qui bat le beffroi des assaillants. Derrière les murs un autre trébuchet masqué par les courtines lance des projectiles contre les engins des assaillants. Tant que les machines de l'armée ennemie ne sont pas arrivées au pied des murs, le rôle de l'assiégé est à peu près passif; il se contente, par les archères de ses hourds, d'envoyer force carreaux et sagettes. S'il est nombreux, hardi, la nuit il pourra tenter d'incendier le beffroi, les palissades et machines, en sortant par quelque poterne éloignée du point d'attaque; mais s'il est timide ou démoralisé, s'il ne peut disposer d'une troupe audacieuse et dévouée, au point du jour son fossé sera comblé, le plancher de madriers légèrement incliné vers la courtine permettra au beffroi de s'avancer rapidement par son propre poids, les assaillants n'auront qu'à le maintenir. Sur les débris des hourds mis en pièces par les pierres lancées par les trébuchets, le pont mobile du beffroi s'abattra tout à coup, et une troupe nombreuse de chevaliers et de soldats d'élite se précipitera sur le chemin de ronde de la courtine (16). Mais cette catastrophe est prévue; si la garnison est fidèle, en abandonnant la courtine prise, elle se renferme dans les tours qui l'interrompent d'espace en espace (17) 169; elle peut se rallier, enfiler le chemin de ronde et le couvrir de projectiles, faire par les deux portes A et B une brusque sortie pendant que l'assaillant cherche à descendre dans la ville, et avant qu'il soit trop nombreux, le culbuter, s'emparer du beffroi et l'incendier. Si la garnison forcée ne peut tenter ce coup hardi, elle se barricade dans les tours, et l'assaillant doit faire le siége de chacune d'elles, car au besoin chaque tour peut faire un petit fort séparé, indépendant; beaucoup sont munies de puits, de fours et de caves pour conserver des provisions. Les portes qui mettent les tours en communication avec les chemins de ronde sont étroites, bien ferrées, fermées à l'intérieur, et renforcées de barres de bois qui rentrent dans l'épaisseur de la muraille, de sorte qu'en un instant le vantail peut être poussé et barricadé en tirant rapidement la barre de bois (voy. FERMETURE).

On est frappé, lorsqu'on étudie le système défensif adopté du XIIe au XVIe siècle, avec quel soin on s'est mis en garde contre des surprises; toutes les précautions sont prises pour arrêter l'ennemi et l'embarrasser à chaque pas par des dispositions compliquées, par des détours impossibles à prévoir. Évidemment un siége avant l'invention des bouches à feu n'était réellement sérieux pour l'assiégé comme pour l'assaillant que quand on en était venu à se prendre, pour ainsi dire, corps à corps. Une garnison aguerrie luttait avec quelques chances de succès jusque dans ses dernières défenses. L'ennemi pouvait entrer dans la ville par escalade, ou par une brèche, sans que pour cela la garnison se rendit; car alors, renfermée dans les tours qui, je le répète, sont autant de forts, elle résistait longtemps, épuisait les forces de l'ennemi, lui faisait perdre du monde à chaque attaque partielle; car il fallait briser un grand nombre de portes bien barricadées, se battre corps à corps sur des espaces étroits et embarrassés. Prenait-on le rez-de-chaussée d'une tour, les étages supérieurs conservaient encore des moyens puissants de défense. On voit que tout était calculé pour une lutte possible pied à pied. Les escaliers à vis qui donnaient accès aux divers étages des tours étaient facilement et promptement barricadés, de manière à rendre vains les efforts des assaillants pour monter d'un étage à l'autre. Les bourgeois d'une ville eussent-ils voulu capituler, que la garnison pouvait se garder contre eux et leur interdire l'accès des tours et courtines. C'est un système de défiance adopté envers et contre tous.
C'est dans tous ces détails de la défense pied à pied qu'apparaît l'art
de la fortification du XIe au XVIe siècle. C'est en examinant avec soin,
en étudiant scrupuleusement jusqu'aux moindres traces des obstacles
défensifs de ces époques, que l'on comprend ces récits d'attaques
gigantesques, que nous sommes trop disposés à taxer d'exagération.
Devant ces moyens de défense si bien prévus et combinés, on se figure
sans peine ces travaux énormes des assiégeants, ces beffrois mobiles,
ces estacades, boulevards ou bastilles, que l'on opposait à un assiégé
qui avait calculé toutes les chances de l'attaque, qui prenait souvent
l'offensive, et qui était disposé à ne céder un point que pour se
retirer dans un autre plus fort.
Aujourd'hui, grâce à l'artillerie, un général qui investit une place non secourue par une armée de campagne, peut prévoir le jour et l'heure où cette place tombera. On annoncera d'avance le moment où la brèche sera praticable, où les colonnes d'attaque entreront dans tel ouvrage. C'est une partie plus ou moins longue à jouer, que l'assiégeant est toujours sûr de gagner, si le matériel ne lui fait pas défaut, et s'il a un corps d'armée proportionné à la force de la garnison. «Place attaquée, place prise,» dit le dicton français 170. Mais alors nul ne pouvait dire quand et comment une place devait tomber au pouvoir de l'assiégeant, si nombreux qu'il fût. Avec une garnison déterminée et bien approvisionnée, on pouvait prolonger un siége indéfiniment. Aussi n'est-il pas rare de voir une bicoque résister, pendant des mois entiers, à une armée nombreuse et aguerrie. De là, souvent, cette audace et cette insolence du faible en face du fort et du puissant, cette habitude de la résistance individuelle qui faisait le fond du caractère de la féodalité, cette énergie qui a produit de si grandes choses au milieu de tant d'abus, qui a permis aux populations françaises et anglo-normandes de se relever après des revers terribles, et de fonder des nationalités fortement constituées.
Rien n'est plus propre à faire ressortir les différences profondes qui séparent les caractères des hommes de ces temps reculés, de l'esprit de notre époque, que d'établir une comparaison entre une ville ou un château fortifiés aux XIIIe ou XIVe siècles et une place forte moderne. Dans cette dernière rien ne frappe la vue, tout est en apparence uniforme, il est difficile de reconnaître un bastion entre tous. Un corps d'armée prend une ville, à peine si les assiégeants ont aperçu les défenseurs; ils n'ont vu devant eux pendant des semaines entières que des talus de terre et un peu de fumée. La brèche est praticable; on capitule; tout tombe le même jour; on a abattu un pan de mur, bouleversé un peu de terre, et la ville, les bastions qui n'ont même pas vu la fumée des canons, les magasins, arsenaux, tout est rendu. Mais il y a quelque cent ans les choses se passaient bien différemment. Si une garnison était fidèle, aguerrie, il fallait, pour ainsi dire, faire capituler chaque tour, traiter avec chaque capitaine, s'il lui plaisait de défendre pied à pied le poste qui lui était confié. Tout du moins était disposé pour que les choses dussent se passer ainsi. On s'habituait à ne compter que sur soi et sur les siens, et l'on se défendait envers et contre tous. Aussi (car on peut conclure du petit au grand) il ne suffisait pas alors de prendre la capitale d'un pays pour que le pays fût à vous. Ce sont des temps de barbarie si l'on veut, mais d'une barbarie pleine d'énergie et de ressources. L'étude de ces grands monuments militaires du moyen âge n'est donc pas seulement curieuse, elle fait connaître des moeurs dans lesquelles l'esprit national ne pourrait que gagner à se retremper.
Nous voyons au commencement du XIIIe siècle les habitants de Toulouse avec quelques seigneurs et leurs chevaliers, dans une ville mal fermée, tenir en échec l'armée du puissant comte de Montfort et la forcer de lever le siége. Bien mieux encore que les villes, les grands vassaux, renfermés dans leurs châteaux, croyaient-ils pouvoir résister non-seulement à leurs rivaux, mais au suzerain et à ses armées. «Le caractère propre, général de la féodalité, dit M. Guizot, c'est le démembrement du peuple et du pouvoir en une multitude de petits peuples et de petits souverains; l'absence de toute nation générale, de tout gouvernement central... Sous quels ennemis a succombé la féodalité ? qui l'a combattue en France ? Deux forces: la royauté, d'une part; les communes, de l'autre. Par la royauté s'est formé en France un gouvernement central; par les communes s'est formée une nation générale, qui est venue se grouper autour du gouvernement central 171.» Le développement du système féodal est donc limité entre les Xe et XIVe siècles. C'est alors que la féodalité élève ses forteresses les plus importantes, qu'elle fait, pendant ses luttes de seigneur à seigneur, l'éducation militaire des peuples occidentaux. «Avec le XIVe siècle, ajoute l'illustre historien, les guerres changent de caractère. Alors commencent les guerres étrangères, non plus de vassal à suzerain ou de vassal à vassal, mais de peuple à peuple, de gouvernement à gouvernement. À l'avénement de Philippe de Valois, éclatent les grandes guerres des Français contre les Anglais, les prétentions des rois d'Angleterre, non sur tel ou tel fief, mais sur le pays et le trône de France; et elles se prolongent jusqu'à Louis XI. Il ne s'agit plus alors de guerres féodales, mais de guerres nationales; preuve certaine que l'époque féodale s'arrête à ces limites, qu'une autre société a déjà commencé.» Aussi le château féodal ne prend-il son véritable caractère défensif que lorsqu'il est isolé, que lorsqu'il est éloigné des grandes villes riches et populeuses, et qu'il domine la petite ville, la bourgade, ou le village. Alors il profite des dispositions du terrain avec grand soin, s'entoure de précipices, de fossés ou de cours d'eau. Quand il tient à la grande ville, il en devient la citadelle, est obligé de subordonner ses défenses à celles des enceintes urbaines, de se placer au point d'où il peut rester maître du dedans et du dehors. Pour nous faire bien comprendre en peu de mots, on peut dire que le véritable château féodal, au point de vue de l'art de la fortification, est celui qui, ayant d'abord choisi son assiette, voit peu à peu les habitations se grouper autour de lui. Autre chose est le château dont la construction étant postérieure à celle de la ville a dû subordonner son emplacement et ses dispositions à la situation et aux dispositions défensives de la cité. À Paris, le Louvre de Philippe Auguste fut évidemment construit suivant ces dernières données. Jusqu'au règne de ce prince, les rois habitaient ordinairement le palais sis dans la cité. Mais lorsque la ville de Paris eut pris un assez grand développement sur les deux rives, cette résidence centrale ne pouvait convenir à un souverain, et elle devenait nulle comme défense. Philippe Auguste en bâtissant le Louvre posait une citadelle sur le point de la ville où les attaques étaient le plus à craindre, où son redoutable rival Richard devait se présenter; il surveillait les deux rives de la Seine en aval de la cité, et commandait les marais et les champs qui, de ce point, s'étendaient jusqu'aux rampes de Chaillot, et jusqu'à Meudon. En entourant la ville de murailles, il avait le soin de laisser son nouveau château, sa citadelle, en dehors de leur enceinte, afin de conserver toute sa liberté de défense. On voit dans ce plan de Paris (18), comme nous l'avons dit plus haut, qu'outre le Louvre A, d'autres établissements fortifiés sont disséminés autour de l'enceinte; H est le château du Bois entouré de jardins, maison de plaisance du roi. En L est l'hôtel des ducs de Bretagne. En C le palais du roi Robert et le monastère de Saint-Martin des Champs entouré d'une enceinte fortifiée. En B, le Temple formant une citadelle séparée, avec ses murailles et son donjon. En G l'hôtel de Vauvert bâti par le roi Robert, et entouré d'une enceinte 172.


Plus tard, pendant la prison du roi Jean, il fallut reculer cette
enceinte, la ville s'étendant toujours, surtout du côté de la rive
droite (19), le Louvre, le Temple se trouvèrent compris dans les
nouveaux murs, mais des portes bien défendues, munies de barbacanes,
purent tenir lieu de forts détachés, et du côté de l'est Charles V fit
bâtir la bastille Saint-Antoine S, qui commandait les faubourgs et
appuyait l'enceinte. Le palais des Tournelles R renforça encore cette
partie de la ville, et d'ailleurs le Temple et le Louvre, conservant
leurs enceintes, formaient avec la Bastille comme autant de citadelles
intérieures. Nous avons déjà dit que le système de fortifications du
moyen âge ne se prêtait pas à des défenses étendues; il perdait de sa
puissance en occupant un trop grand périmètre, lorsqu'il n'était pas
accompagné de ces forteresses avancées qui divisaient les forces des
assiégeants et empêchaient les approches.
Nous avons vu à Carcassonne
(fig. 11) une ville d'une petite dimension bien défendue par l'art et la
nature du terrain; mais le château fait partie de la cité, il n'en est
que la citadelle, et n'a pas le caractère d'un château féodal, tandis
qu'à Coucy, par exemple (20), bien que le château soit annexé à une
ville, il en est complétement indépendant et conserve son caractère de
château féodal. Ici la ville bâtie en C est entourée d'une assez forte
enceinte; entre elle et le château B il existe une esplanade, sorte de
place d'armes A, ne communiquant avec la ville que par la porte E, qui
se défend des deux côtés, mais surtout contre la ville. Le château, bâti
sur le point culminant de la colline, domine des escarpements fort
roides et est séparé de la place d'armes par un large fossé D. Si la
ville était prise, la place d'armes et ensuite le château servaient de
refuges assurés à la garnison. C'était dans l'espace A qu'étaient
disposées les écuries, les communs, et les logements de la garnison tant
qu'elle n'était pas obligée de se retirer dans l'enceinte du château;
des poternes percées dans les courtines de la place d'armes permettaient
de faire des sorties, ou de recevoir des secours du dehors, si les
ennemis tenaient la ville, et n'étaient pas en nombre suffisant pour
garder la cité et bloquer le château. Beaucoup de villes présentaient
des dispositions défensives analogues à celles-ci; Guise,
Château-Thierry, Châtillon-sur-Seine, Falaise, Meulan, Dieppe, Saumur,
Bourbon l'Archambaut, Montfort l'Amaury, Montargis, Boussac, Orange,
Hyères, Loches, Chauvigny en Poitou, etc. Dans cette dernière cité trois
châteaux dominaient la ville à la fin du XIVe siècle, tous trois bâtis
sur une colline voisine, et étant indépendants les uns des autres. Ces
cités, dans lesquelles les défenses étaient ainsi divisées, passaient
avec raison pour être très-fortes; souvent des armées ennemies, après
s'être emparées des fortifications urbaines, devaient renoncer à faire
le siége du château, et poursuivant leurs conquêtes laissaient sans
pouvoir les entamer des garnisons qui le lendemain de leur départ
reprenaient la ville et inquiétaient leurs derrières. Certes, si la
féodalité eût été unie, aucun système n'était plus propre à arrêter les
progrès d'une invasion que ce morcellement de la défense, et cela
explique même l'incroyable facilité avec laquelle se perdaient alors des
conquêtes de province; car il était impossible d'assurer comme
aujourd'hui les résultats d'une campagne par la centralisation du
pouvoir militaire et par une discipline absolue. Si le pays conquis
était divisé en une quantité de seigneuries qui se défendaient chacune
pour leur compte plutôt encore que pour garder la foi jurée au suzerain,
les armées étaient composées de vassaux qui ne devaient, d'après le
droit féodal, que quarante ou soixante jours de campagne, après lesquels
chacun retournait chez soi, lorsque le suzerain ne pouvait prendre ses
troupes à solde. Sous ce rapport dès la fin du XIIIe siècle la monarchie
anglaise avait acquis une grande supériorité sur la monarchie française.
La féodalité anglo-normande formait un faisceau plus un que la féodalité
française; elle l'avait prouvé en se faisant octroyer la grande charte,
et était par suite de cet accord intimement liée au suzerain. Cette
forme de gouvernement, relativement libérale, avait amené l'aristocratie
anglaise à introduire dans ses armées des troupes de gens de pied pris
dans les villes, qui étaient déjà disciplinés, habiles à tirer de l'arc,
et qui déterminèrent le gain de presque toutes les funestes batailles du
XIVe siècle, Crécy, Poitiers, etc. Le même sentiment de défiance qui
faisait que le seigneur féodal français isolait son château de la ville
placée sous sa protection, ne lui permettait pas de livrer des armes aux
bourgeois, de les familiariser avec les exercices militaires; il
comptait sur ses hommes, sur la bonté de son cheval et de son armure,
sur son courage surtout, et méprisait le fantassin qu'il n'employait en
campagne que pour faire nombre, le comptant d'ailleurs pour rien au
moment de l'action. Cet esprit qui fut si fatal à la France à l'époque
des guerres avec les anglais, et qui fut cause de la perte des armées
françaises dans maintes batailles rangées pendant le XIVe siècle, malgré
la supériorité incontestable de la gendarmerie féodale de ce pays, était
essentiellement favorable au développement de l' architecture militaire;
et, en effet, nulle part en Occident, on ne rencontre de plus
nombreuses, de plus complètes et plus belles fortifications féodales,
pendant les XIIIe et XIVe siècles, qu'en France (voy. CHÂTEAU, DONJON,
TOUR, PORTE)
173. C'est dans les châteaux féodaux surtout qu'il faut
étudier les dispositions militaires; c'est là qu'elles se développent du
XIIe au XIVe siècle avec un luxe de précautions, une puissance de moyens
extraordinaires.
Nous avons distingué déjà les châteaux, servant de refuges, de citadelles, aux garnisons des villes, se reliant aux enceintes urbaines, des châteaux isolés dominant des villages, des bourgades et des petites villes ouvertes, ou commandant leurs défenses, et ne s'y rattachant que par des ouvrages intermédiaires. Parmi ces châteaux il en était de plusieurs sortes, les uns se composaient d'un simple donjon entouré d'une enceinte et de quelques logements, d'autres comprenaient de vastes espaces enclos de fortes murailles, des réduits isolés, un ou plusieurs donjons; placés sur des routes, ils pouvaient intercepter les communications, et formaient ainsi des places fortes, vastes et d'une grande importance sous le point de vue militaire, exigeant pour les bloquer une armée nombreuse, pour les prendre, un attirail de siége considérable et un temps fort long. Les châteaux, ou plutôt les groupes de châteaux de Loches et de Chauvigny, que nous avons déjà cités, étaient de ce nombre 174. Autant que faire se pouvait, on profitait des escarpements naturels du terrain pour planter les châteaux; car ils se trouvaient ainsi à l'abri des machines de guerre, de la sape ou de la mine; l'attaque ne se faisant que de très-près, et les machines de jet ne pouvant élever leurs projectiles qu'à une hauteur assez limitée, il y avait avantage à dominer l'assaillant soit par les escarpements des rochers, soit par des constructions d'une grande élévation, en se réservant dans la construction intérieure des tours et courtines le moyen de battre l'ennemi extérieur au niveau du plan de l'attaque. Nous avons vu que les tours de l'époque romane ancienne étaient pleines dans leur partie inférieure, et les courtines terrassées. Dès le commencement du XIIe siècle on avait reconnu l'inconvénient de ce mode de construction qui ne donnait à l'assiégé que le sommet de ces tours et courtines pour se défendre, et livrait tous les soubassements aux mineurs ou pionniers ennemis; ceux-ci pouvaient poser des étançons sous les fondations, et faire tomber de larges pans de murailles en mettant le feu à ces étais, ou creuser une galerie de mine sous ces fondations et terrassements, et déboucher dans l'intérieur de l'enceinte.

Pour prévenir ces dangers les constructeurs militaires établirent, dans les tours, des étages depuis le sol des fossés ou le niveau de l'eau, ou l'arase de l'escarpement de rocher; ces étages furent percés de meurtrières, se chevauchant ainsi que l'indique la figure 21, de manière à envoyer des carreaux sur tous les points de la circonférence des tours autant que faire se pouvait; ils en établirent également dans les courtines, surtout lorsqu'elles servaient de murs à des logis divisés en étages, ce qui dans les châteaux avait presque toujours lieu. Les pionniers arrivaient ainsi plus difficilement au pied des murs, car il leur fallait se garantir non-seulement contre les projectiles jetés de haut en bas, mais aussi contre les traits décochés obliquement et horizontalement par les meurtrières; s'ils parvenaient à faire un trou au pied du mur ou de la tour, ils devaient se trouver en face d'un corps d'assiégés qui, prévenus par les coups de la sape, avaient pu élever une palissade ou un second mur en arrière de ce trou, et rendre leur travail inutile. Ainsi, lorsque l'assaillant avait, au moyen de ses engins, démonté les hourds, écrêté les crénaux, comblé les fossés, lorsque avec ses compagnies d'archers ou d'arbalétriers, balayant le sommet des remparts, il avait ainsi rendu le travail des pionniers possible, ceux-ci, à moins qu'ils ne fussent très-nombreux et hardis, qu'ils pussent entreprendre de larges tranchées et faire tomber un ouvrage entier, trouvaient derrière le percement un ennemi qui les attendait dans les salles basses ou niveau du sol. L'assaillant eût-il pénétré dans ces salles en tuant les défenseurs, qu'il ne pouvait monter aux étages supérieurs que par des escaliers étroits facilement barricadés, et munis de portes ou de grilles.
Nous devons observer que les défenses extérieures, les tours des lices, étaient percées de meurtrières permettant à l'assiégé un tir rasant, afin de défendre les approches à une grande distance, tandis que les meurtrières des tours et courtines des secondes enceintes étaient percées de façon à faciliter le tir plongeant. Toutefois ces ouvertures, qui n'avaient à l'extérieur que 0m,10 de largeur environ, et 1m, à 1m,50 à l'intérieur, servaient plutôt à reconnaître les mouvements des assiégeants et à donner du jour et de l'air dans les salles des tours qu'à la défense; elles battaient les dehors suivant un angle trop aigu, surtout quand les murs des tours sont épais, pour qu'il fût possible de nuire sérieusement aux assaillants, en décochant des carreaux, des sagettes ou viretons par ces fentes étroites (voy. TOUR); la véritable défense était disposée au sommet des ouvrages. Là, en temps de paix, et quand les hourds n'étaient pas montés, le mur du parapet dont l'épaisseur varie de 0m,50 à 0m,70, percé d'archères rapprochées, dont l'angle d'ouverture est presque droit, battait tous les points des dehors; les créneaux, munis de portières en bois roulant sur un axe horizontal et qu'on relevait plus ou moins au moyen d'une crémaillère suivant que l'ennemi était plus ou moins éloigné, permettaient de découvrir facilement les fossés et la campagne en restant à couvert (voy. CRÉNEAU, MEURTRIÈRE).

Les tours rondes flanquant les courtines résistaient mieux à la sape et aux coups du bélier que les tours carrées; aussi avaient-elles été adoptées généralement dès les premiers siècles du moyen âge; mais jusqu'à la fin du XIIe siècle leur diamètre était petit; elles ne pouvaient contenir qu'un nombre très-restreint de défenseurs, leur circonférence peu étendue ne permettait d'ouvrir que deux ou trois meurtrières à chaque étage, et par conséquent elles battaient faiblement les deux courtines voisines; leur diamètre fut augmenté au XIIIe siècle, lorsqu'elles furent munies d'étages jusqu'au niveau du fossé. Il était plus facile à un assiégeant de battre une tour qu'une courtine (22); car une fois logé au point A, du moment qu'il avait détruit ou brûlé les hourds de B en C, l'assiégé ne pouvait l'inquiéter, mais dans les enceintes des villes toutes les tours étant fermées à la gorge en D, lorsque l'assaillant avait fait un trou en A ou fait tomber la demi-circonférence extérieure de la tour, il n'était pas dans la ville, et trouvait de nouvelles difficultés à vaincre, c'est pourquoi dans les siéges des places on s'attaquait de préférence aux courtines, quoique les approches en fussent plus difficiles que celles des tours (23); l'assiégeant, arrivé au point A après avoir détruit les défenses supérieures des tours B C, et fait son trou ou sa brèche, était dans la ville, à moins, ce qui arrivait souvent, que les assiégés n'eussent élevé promptement un second mur E F; mais il était rare que ces défenses provisoires pussent tenir longtemps.

Toutefois, dans les siéges bien dirigés, l'assaillant faisait toujours plusieurs attaques simultanées, les unes au moyen de la mine, d'autres par la sape, d'autres enfin (et celles-là étaient les plus terribles) au moyen des beffrois roulants; car une fois le beffroi amené le long des murailles, la réussite de l'assaut n'était pas douteuse. Mais pour pouvoir amener sans risquer de les voir brûler par les assiégés, ces tours de bois contre le parapet, il fallait détruire les hourds ou crêtes des courtines et tours voisines, ce qui exigeait l'emploi de nombreux engins et beaucoup de temps. Il fallait combler solidement les fossés, s'être assuré, lorsque le fossé était sec, que l'assiégé n'avait pas miné le fond de ce fossé sous le point où la tour était dirigée, ce qu'il ne manquait pas de tenter, lorsque la nature du sol ne s'y opposait pas.


À la fin du XIIIe siècle déjà, on avait senti la nécessité, pour mieux battre les courtines, non-seulement d'augmenter le diamètre des tours, et de rendre par conséquent la destruction de leurs défenses supérieures plus longue et plus difficile, mais encore d'augmenter leurs flancs en les terminant à l'extérieur par un bec saillant qui leur donnait déjà la forme d'une corne (24). Ce bec A avait plusieurs avantages: 1° il augmentait considérablement la force de résistance de la maçonnerie de la tour au point où on pouvait tenter de la battre avec le mouton ou de la saper; 2° il défendait mieux les courtines en étendant les flancs des hourds B C qui se trouvaient ainsi se rapprocher d'une ligne perpendiculaire aux remparts (voy. TOUR); 3° en éloignant les pionniers, il permettait aux défenseurs placés dans les hourds des courtines en D, de les découvrir suivant un angle beaucoup moins aigu que lorsque les tours étaient circulaires, et par conséquent de leur envoyer des projectiles de plus près. À Carcassonne les becs sont disposés ainsi que l'indique en plan la figure 24. Mais au château de Loches, comme à Provins à la porte Saint-Jean, on leur donnait la forme en plan de deux courbes brisées (24 bis); à la porte de Jouy de la même ville (24 ter), ou aux portes de Villeneuve-le-Roi, la forme d'ouvrages rectangulaires posés en pointe, de manière à battre obliquement l'entrée et les deux courtines voisines. On avait donc reconnu dès le XIIIe siècle l'inconvénient des tours rondes, leur faiblesse au point de la tangente parallèle aux courtines (voy. PORTE). L'emploi de ces moyens paraît avoir été réservé pour les places très-fortement défendues, telles que Carcassonne, Loches, etc., car parfois à la fin du XIIIe siècle, dans des places de second ordre, on se contentait de tours carrées peu saillantes pour défendre les courtines, ainsi qu'on peut le voir encore de nos jours sur l'un des fronts de l'enceinte d'Aigues-Mortes (25), dont les remparts (sauf la tour de Constance A qui avait été bâtie par saint Louis et qui servait de donjon et de phare) furent élevés par Philippe le Hardi 175.

Mais c'est aux angles saillants des places que l'on reconnut surtout la nécessité de disposer des défenses d'une grande valeur. Comme encore aujourd'hui, l'assaillant regardait un angle saillant comme plus facile d'accès qu'un front flanqué. Les armes de jet n'étant pas d'une grande portée jusqu'au moment de l'emploi du canon, les angles saillants ne pouvant être protégés par des défenses éloignées étaient faibles (26); et lorsque l'assaillant avait pu se loger en A, il était complétement masqué pour les défenses rapprochées. Il fallait donc que les tours du coin, comme on les appelait généralement alors, fussent très-fortes par elles-mêmes. On les bâtissait sur une circonférence plus grande que les autres, on les tenait plus haute, on multipliait les obstacles à leur base à l'extérieur, par des fossés plus larges, des palissades, quelquefois même des ouvrages avancés, on les armait de becs saillants, on les isolait des courtines voisines, on avait le soin de bien munir les deux tours en retour 176, et parfois de réunir ces tours par un second rempart intérieur (26 bis) 177.

On évitait d'ailleurs autant que possible ces angles saillants dans les places bien fortifiées, et lorsqu'ils existaient, c'est qu'ils avaient été imposés par la configuration du terrain, afin de dominer un escarpement, de commander une route ou une rivière, et pour empêcher l'ennemi de s'établir de plain-pied au niveau de la base des remparts.

Jusqu'au XIVe siècle les portes étaient munies de vantaux bien doublés, de herses, de mâchicoulis, de bretèches à doubles et triples étages, mais elles ne possédaient pas de ponts-levis. Dans les châteaux, souvent des ponts volants en bois, qu'on enlevait en cas de siége, interceptaient complétement les communications avec le dehors; mais dans les enceintes des villes, des barrières palissadées ou des barbacanes défendaient les approches; du reste, une fois la barrière prise, on entrait ordinairement dans la ville de plain-pied. Ce ne fut guère qu'au commencement du XIVe siècle que l'on commença d'établir à l'entrée des ponts jetés sur les fossés, devant les portes, des ponts-levis en bois tenant aux barrières (27), ou à des ouvrages avancés en maçonnerie (28) 178. Puis bientôt, vers le milieu du XIVe siècle, on appliqua le pont-levis aux portes elles-mêmes, ainsi qu'on peut le voir au fort de Vincennes, entre autres exemples (voy. PONT-LEVIS). Cependant, nous devons dire que dans beaucoup de cas, même pendant les XIVe et XVe siècles, les ponts-levis furent seulement attachés aux ouvrages avancés.

Ces ponts-levis étaient disposés comme ceux généralement employés aujourd'hui, c'est-à-dire, composés d'un tablier en charpente qui se relevait sur un axe, au moyen de deux chaînes, de leviers et de contre-poids; en se relevant, le tablier fermait (comme il ferme encore dans nos forteresses) l'entrée du passage. Mais on employait pendant les XIIe, XIIIe et XIVe siècles, d'autres genres de fermetures à bascule; on avait le tapecu, spécialement adapté aux poternes, et qui roulant sur un axe placé horizontalement au sommet du vantail retombait sur les talons du sortant (29).

Les portes de barrières qui roulaient sur des axes horizontaux posés vers la moitié de leur hauteur (30), l'une des deux moitiés servant de contre-poids à l'autre. Dans le beau manuscrit des Chroniques de Froissart de la bibliothèque Impériale 179, on trouve une vignette qui représente l'attaque des barrières de la ville d'Aubenton par le comte de Hainaut, la porte de la barrière est disposée de cette manière (31); elle est munie et défendue par deux tours de bois. En arrière on voit la porte de la ville qui est une construction de pierre, bien que le texte dise que la ville d'Aubenton «n'étoit fermée que de palis.» Des soldats jettent par-dessus les créneaux un banc, des meubles, des pots.

Nous avons vu comment pendant les XIIe et XIIIe siècles il était d'usage de garnir les sommets des tours et courtines de hourds en bois. Il n'est pas besoin de dire que les assaillants, au moyen des machines de jet, cherchaient à briser ces hourds avec des pierres, ou à les incendier avec des projectiles enflammés, ce à quoi ils parvenaient facilement, si les murailles n'étaient pas d'une très-grande élévation, ou si les hourds n'étaient pas garnis de peaux fraîches. Déjà vers le milieu du XIIIe siècle on avait cherché à rendre les hourds en charpente moins faciles à brûler en les portant sur des consoles formées d'encorbellements de pierre. C'est ainsi qu'à Coucy les hourds des portes de la ville, des tours et du donjon, qui datent de cette époque, étaient supportés (voy. HOURD). Mais encore les parements et les planchers de ces hourds pouvaient-ils prendre feu. Au XIVe siècle, pendant les guerres de cette époque, où tant de villes en France furent incendiées et pillées, «arses et robées», comme dit Froissart, on remplaça presque partout les hourds de charpente par des bretèches continues de pierre, qui présentaient tous les avantages des hourds, en ce qu'elles battaient le pied des murailles, sans en avoir les inconvénients; ces nouveaux couronnements ne pouvaient être incendiés et résistaient mieux aux projectiles lancés par les engins; ils étaient fixes et ne se posaient pas seulement en temps de guerre comme les hourds de bois. Mais pour offrir un large chemin de ronde aux défenseurs, et une saillie sur le nu des murs qui permît d'ouvrir des mâchicoulis d'une bonne dimension, il fallut bientôt modifier tout le système de la construction des parties supérieures des défenses.

Au moyen des hourds de bois non-seulement on ajoutait au chemin de ronde en maçonnerie fixe A (32) une coursière B percée de mâchicoulis en C et d'archères en D, mais on augmentait encore souvent la largeur des chemins de ronde, soit en faisant déborder les hourds à l'intérieur de la ville en E, soit en ajoutant au chemin de ronde des planchers de bois F dont les solives entraient dans des trous ménagés de distance en distance sous la tablette du boulevard, et étaient supportées par des poteaux G. Ces suppléments de défenses étaient ordinairement réservés pour les courtines qui paraissaient faibles, et dont les approches étaient faciles 180. Les hourds avaient l'avantage de laisser subsister le parapet de pierre H, et de conserver encore une défense debout derrière eux, lorsqu'ils étaient brisés ou brûlés. On obtenait difficilement avec les bretèches et mâchicoulis de pierre ces grands espaces et ces divisions utiles à la défense; voici comme on procédait pour les courtines que l'on tenait à bien munir (33). On posait des corbeaux les uns sur les autres formant encorbellements espacés environ de 0m,70 à 1m,20 au plus d'axe en axe. Sur l'extrémité de ces corbeaux on élevait un parapet crénelé B de 0m,33 à 0m,40 en pierre, et de 2 mètres de haut. Pour maintenir la bascule des corbeaux en C, on montait un mur percé de portes et d'ouvertures carrées de distance en distance, et qui était assez haut pour donner à la couverture D l'inclinaison convenable.

Derrière le mur C on établissait des coursières de bois L, qui remplaçaient les chemins E des hourds de bois (fig. 32), et qui étaient nécessaires à l'approvisionnement des parapets et à la circulation, sans gêner les arbalétriers ou archers postés en G (fig. 33). Pour les tours on fit mieux encore (34). Disposant l'étage des mâchicoulis G comme celui des courtines, on suréleva le mur C d'un étage H percé de créneaux ou de meurtrières, et même quelquefois à la chute des combles en I on ménagea encore un chemin découvert crénelé. Ainsi le chemin G eût-il été pris par escalade, ou au moyen des beffrois mobiles, après la destruction des parapets B, qu'en barricadant les portes K on pouvait encore culbuter l'assaillant qui serait parvenu à se loger en G sur un espace sans issues, en lui jetant par les créneaux des étages H et I des pierres, madriers et tous autres projectiles. Le manuscrit de Froissart, de la bibliothèque Impériale, que nous avons déjà cité, donne dans ses vignettes un grand nombre de tours disposées de cette manière (35) 181.


Beaucoup de ces figures font voir que l'on conservait avec les mâchicoulis de pierre des hourds de bois A, maintenus pour la défense des courtines; et, en effet, ces deux défenses furent longtemps appliquées ensemble, les bretèches et hourds de bois étant beaucoup moins dispendieux à établir que les mâchicoulis de pierre (voy. MACHICOULIS). Le château de Pierrefonds, bâti pendant les dernières années du XIVe siècle, présente encore d'une manière bien complète ces sortes de défenses supérieures. Voici (36) l'état actuel de l'angle formé par la tour du nord-est et la courtine nord. On voit parfaitement en A les mâchicoulis encore en place, en B l'arrachement des parapets de pierre, en C le filet de l'appentis qui recouvrait le chemin de ronde D, en E les corbeaux de pierre qui portaient le faîtage de cet appentis, en G les portes qui donnaient entrée de l'escalier sur les chemins de ronde, et en F des ouvertures permettant de passer du dedans de la tour des projectiles aux défenseurs des créneaux; en H un étage crénelé couvert au-dessus des mâchicoulis, et en I le dernier crénelage découvert à la base du comble; en K la tour de l'escalier servant de guette à son sommet. Mais, dans les châteaux particulièrement, à cause du peu d'espace réservé entre leurs enceintes, les courtines devenaient murs goutterots des bâtiments rangés entre les tours le long de ces enceintes, de sorte que le chemin de ronde donnait accès dans des salles qui remplaçaient l'appentis de bois L, indiqué dans la figure 33 (voy. CHÂTEAU, CHEMIN de ronde).


Voici la restauration (37) de cette partie des défenses de Pierrefonds. On comprendra ainsi facilement la destination de chaque détail de la construction militaire que nous venons de décrire. Mais c'étaient là les défenses les plus fortes des tours et des murailles, et beaucoup leur étaient inférieures comme disposition, se composaient seulement de créneaux et mâchicoulis peu saillants avec chemin de ronde peu large. Tels sont les murs d'Avignon qui, comme conservation, sont certes les plus beaux qu'il y ait sur le sol actuel de la France, mais qui, comme force, ne présentaient pas une défense formidable pour l'époque où ils furent élevés. Suivant la méthode alors en usage en Italie, les murs d'Avignon sont flanqués de tours qui, sauf quelques exceptions, sont carrées 182.

En France la tour ronde avait été reconnue avec raison comme plus forte que la tour carrée; car, ainsi que nous l'avons démontré plus haut, le pionnier attaché à la base de la tour ronde était battu obliquement par les courtines voisines, tandis que s'il arrivait à la base de la facre extérieure d'une tour carrée, il était complétement masqué pour les défenses rapprochées (38); et en empêchant les défenseurs de se montrer aux créneaux, en détruisant quelques mâchicoulis placés perpendiculairement au-dessus de lui, il pouvait saper en toute sécurité. Contrairement aussi aux usages admis dans la fortification française des XIIIe et XIVe siècles, les tours carrées des remparts d'Avignon sont ouvertes du côté de la ville (39), et ne pouvaient tenir, par conséquent, du moment que l'ennemi s'était introduit dans la cité.

Les murs d'Avignon ne sont guère qu'une enceinte flanquée, comme l'étaient les enceintes extérieures des villes munies de doubles murailles, et non des courtines interrompues par des forts pouvant tenir contre un ennemi maître de la place. Ces murailles ne sont même pas garnies dans toute leur étendue de mâchicoulis, et le côté du midi de la ville n'est défendu que par de simples crénelages non destinés à recevoir des hourds de bois. Leur hauteur n'atteint pas le minimum donné aux bonnes défenses pour les mettre à l'abri des échelades 183. Mais en revanche si l'enceinte d'Avignon n'était qu'une défense de deuxième ou de troisième ordre, le château, résidence des papes pendant le XIVe siècle, était une redoutable citadelle, pouvant, à cause de son assiette, de son étendue, et de la hauteur de ses tours, soutenir un long siége. Là encore les tours sont carrées, mais d'une épaisseur et d'une élévation telles qu'elles pouvaient défier la sape et les projectiles lancés par les engins alors en usage; elles étaient couronnées de parapets et mâchicoulis en pierre portés sur des corbeaux. Quant aux mâchicoulis des murs, ils se composent d'une suite d'arcs en tiers-point laissant entre eux et le parement extérieur un espace vide propre à jeter des pierres ou tous autres projectiles (40) (voy. MÂCHICOULIS).

Dans les provinces du midi et de l'ouest ces sortes de mâchicoulis étaient fort en usage au XIVe siècle; et ils étaient préférables aux mâchicoulis des hourds de bois ou des parapets de pierre posant sur des corbeaux, en ce qu'ils étaient continus, non interrompus par les solives ou les consoles, et qu'ils permettaient ainsi de jeter sur l'assaillant, le long du mur, de longues et lourdes pièces de bois qui tombant en travers, brisaient infailliblement les chats et pavois, sous lesquels se tenaient les pionniers.
L'art de la fortification qui avait fait, au commencement du XIIIe siècle, un grand pas, et qui était resté à peu près stationnaire pendant le cours de ce siècle, fit de nouveaux progrès en France pendant les guerres de 1330 à 1400. Quand Charles V eut ramené l'ordre dans le royaume, et repris un nombre considérable de places aux Anglais, il fit réparer ou reconstruire presque toutes les défenses des villes ou châteaux reconquis, et dans ces nouvelles défenses il est facile de reconnaître une méthode, une régularité qui indiquent un art avancé et basé sur des règles fixes.

Le château de Vincennes en est un exemple (41) 184. Bâti en plaine, il n'y avait pas à profiter là de certaines dispositions particulières du terrain; aussi son enceinte est-elle parfaitement régulière, ainsi que le donjon et ses défenses. Toutes les tours sont barlongues ou carrées, mais hautes, épaisses et bien munies à leur sommet d'échauguettes saillantes flanquant les quatre faces; le donjon est également flanqué aux angles de quatres tournelles; les distances entre les tours sont égales; celles-ci sont fermées et peuvent se défendre séparément 185. Le château de Vincennes fut commencé par Philippe de Valois et achevé par Charles V, sauf la chapelle, qui ne fut terminée que sous François Ier et Henri II.
Le système féodal était essentiellement propre à la défense et à l'attaque des places; à la défense, en ce que les seigneurs et leurs hommes vivaient continuellement dans ces forteresses qui protégeaient leur vie et leur avoir, ne songeaient qu'à les améliorer et les rendre plus redoutables chaque jour, afin de pouvoir défier l'ambition de leurs voisins ou imposer des conditions à leur suzerain. A l'attaque, en ce que, pour s'emparer d'une forteresse alors, il fallait en venir aux mains chaque jour, disposer par conséquent de troupes d'élite, braves, et que la vigueur et la hardiesse faisaient plus que le nombre des assaillants, ou les combinaisons savantes de l'attaque. Les perfectionnements dans l'art de défendre et d'attaquer les places fortes étaient déjà très-développés en France, alors que l'art de la guerre de campagne était resté stationnaire. La France possédait des troupes d'élite excellentes composées d'hommes habitués aux armes dès leur enfance, braves jusqu'à la témérité, et elle n'avait pas d'armées; son infanterie ne se composait que de soudoyers gênois, brabançons, allemands, et de troupes irrégulières des bonnes villes, mal armées, n'ayant aucune notion des manoeuvres, indisciplinées, plus embarrassantes qu'utiles dans une action. Ces troupes se débandaient au premier choc, se précipitaient sur les réserves et mettaient le désordre dans les escadrons de gendarmerie 186. Le passage de Froissart que nous donnons en note tout au long, fait comprendre ce qu'était pendant la première moitié du XIVe siècle une armée française, et quel peu de cas la noblesse faisait de ces troupes de bidauds, de brigands 187 d'arbalétriers génois, de l'infanterie enfin. Les Anglais commencèrent à cette époque à mettre en ligne une infanterie nombreuse, disciplinée, exercée au tir de l'arc 188, se servant déjà d'armes à feu 189. La supériorité de la chevalerie, jusqu'alors incontestable, était à son déclin; la gendarmerie française ne fit en rase campagne que se précipiter de défaites en défaites jusqu'au moment où du Guesclin organisa des compagnies de fantassins aguerris et disciplinés, et par l'ascendant de son mérite comme capitaine, parvint à mieux diriger la bravoure de sa chevalerie. Ces transformations dans la composition des armées, et l'emploi du canon, modifièrent nécessairement l'art de la fortification, lentement il est vrai, car la féodalité se pliait difficilement aux innovations dans l'art de la guerre; il fallut qu'une longue et cruelle expérience lui apprît, à ses dépens, que la bravoure seule ne suffisait pas pour gagner des batailles ou prendre des places; que les fortes et les hautes murailles de ses châteaux n'étaient pas imprenables pour un ennemi procédant avec méthode, ménageant son monde et prenant le temps de faire des travaux d'approche. La guerre de siége pendant le règne de Philippe de Valois n'est pas moins intéressante à étudier que la guerre de campagne; l'organisation et la discipline des troupes anglaises leur donne une supériorité incontestable sur les troupes françaises dans l'une comme dans l'autre guerre. À quelques mois de distance, l'armée française, sous les ordres du duc de Normandie 190, met le siége devant la place d'Aiguillon, située au confluent du Lot et de la Garonne, et le roi d'Angleterre assiége Calais. L'armée française nombreuse, que Froissart évalue à près de cent mille hommes, composée de la fleur de la chevalerie, après de nombreux assauts, des traits de bravoure inouïs, ne peut entamer la forteresse; le duc de Normandie, ayant déjà perdu beaucoup de monde, se décide à faire un siége en règle: «Lendemain (de l'attaque infructueuse du pont du château) vinrent deux maîtres engigneurs au duc de Normandie et aux seigneurs de son conseil, et dirent que, si on les vouloit croire et livrer bois et ouvriers à foison, ils feroient quatre grands kas 191 forts et hauts sur quatre grands forts nefs et que on méneroit jusques aux murs du châtel, et seroient si hauts qu'ils surmonteroient les murs du château. À ces paroles entendit le duc volontiers, et commande que ces quatre kas fussent faits, quoi qu'ils dussent coûter, et que on mît en oeuvre tous les charpentiers du pays, et que on leur payât largement leur journée, parquoi ils ouvrissent plus volontiers et plus appertement. Ces quatre kas furent faits à la devise 192 et ordonnance des deux maîtres, en quatre fortes nefs; mais on y mit longuement, et coûta grands deniers. Quand ils furent parfaits, et les gens dedans entrés qui à ceux du châtel devoient combattre, et ils eurent passé la moitié de la rivière, ceux du châtel firent descliquer quatre martinets 193 qu'ils avoient nouvellement fait faire, pour remédier contre les quatre kas dessus dits. Ces quatre martinets jetèrent si grosses pierres et si souvent sur ces kas, qu'ils furent bientôt débrisés, et si froissés que les gens d'armes et ceux qui les conduisoient ne se purent dedans garantir. Si les couvint retraire arrière, ainçois qu'ils fussent outre la rivière; et en fut l'un effondré au fond de l'eau; et la plus grande partie de ceux qui étoient dedans noyés; dont ce fut pitié et dommage: car il y avoit de bons chevaliers et écuyers, qui grand désir avoient de leurs corps avancer, pour honneur acquerre 194.» Le duc de Normandie avait juré de prendre Aiguillon, personne dans son camp n'osait parler de déloger, mais les comtes de Ghines et de Tancarville allèrent trouver le roi à Paris. «Si lui recordèrent la manière et l'état du siége d'Aiguillon, et comment le duc son fils l'avoit fait assaillir par plusieurs assauts, et rien n'y conquéroit. Le roi en fut tout émerveillé, et ne remanda point adonc le duc son fils; mais vouloit bien qu'il se tînt encore devant Aiguillon, jusques à tant qu'il les eût contraints et conquis par la famine, puisque par assaut ne les pouvoit avoir.»
Ce n'est pas avec cette téméraire imprévoyance que procède le roi d'Angleterre; il débarque à la Hague, à la tête d'une armée peu nombreuse, mais disciplinée; il marche à travers la Normandie en ayant toujours le soin de flanquer le gros de son armée de deux corps de troupes légères commandées par des capitaines connaissant le terrain, qui battent le pays à droite et à gauche, et qui chaque soir viennent camper autour de lui. Sa flotte suit les côtes parallèlement à son armée de terre, de manière à lui ménager une retraite en cas d'échec; il envoie après chaque prise dans ses vaisseaux les produits du pillage des villes. Il arrive aux portes de Paris, continue sa course victorieuse jusqu'en Picardie; là il est enfin rejoint par l'armée du roi de France, la défait à Crécy, et se présente devant Calais. «Quand le roi d'Angleterre fut venu premièrement devant la ville de Calais, ainsi que celui qui moult la désiroit conquérir, il l'assiégea par grand'manière et de bonne ordonnance, et fit bâtir et ordonner entre la ville et la rivière et le pont de Nieulay hôtels et maisons, et charpenter de gros merrein, et couvrir les dites maisons, qui étoient assises et ordonnées par rues bien et faiticement, d'estrain 195 et de genêts, ainsi comme s'il dût là demeurer dix ou douze ans; car telle étoit son intention qu'il ne s'en partiroit, par hiver ni par été, tant qu'il l'eût conquise, quel temps ni quelle poine il y dût mettre ni prendre. Et avoit en cette neuve ville du roi toutes choses nécessaires appartenant à un ost, et plus encore, et place ordonnée pour tenir marché le mercredi et le samedi; et là étoient merceries, boucheries, halles de draps et de pain et de toutes autres nécessités; et en recouvroit-on tout aisément pour son argent; et tout ce leur venoit tous les jours, par mer, d'Angleterre et aussi de Flandre, dont ils étoient confortés de vivres et de marchandises. Avec tout ce, les gens du roi d'Angleterre couroient moult souvent sur le pays, en la comté de Ghines, en Therouenois, et jusques aux portes de Saint-Omer et de Boulogne; si conqueroient et ramenoient en leur ost grand'foison de proie, dont ils étoient rafraîchis et ravitaillés. Et point ne faisoit le roi ses gens assaillir ladite ville de Calais, car bien savoit qu'il y perdroit sa peine et qu'il se travailleroit en vain. Si épargnoit ses gens et son artillerie, et disoit qu'il les affameroit, quelque long terme qu'il y dût mettre, si le roi Philippe de France derechef ne le venoit combattre et lever le siége.» Mais le roi Philippe arrive devant Calais à la tête d'une belle armée, aussitôt le roi d'Angleterre fait munir les deux seuls passages par lesquels les Français pouvaient l'attaquer, l'un de ces passages était par les dunes le long du rivage de la mer; le roi d'Angleterre fait «traire toutes ses naves et ses vaisseaux par devers les dunes, et bien garnir et fournir de bombardes, d'arbalètres, d'archers et d'espringales, et de telles choses par quoi l'ost des François ne pût ni osât par là passer.» L'autre était le pont de Nieulay; et fit le comte de Derby son cousin aller loger sur ledit pont de Nieulay, à grand'foison de gens d'armes et d'archers, afin que les François n'y pussent passer, si ils ne passoient parmi les marais, qui sont impossibles à passer. Entre le mont de Sangattes et la mer de l'autre côté devant Calais, avoit une haute tour que trente-deux archers anglois gardoient; et tenoient là endroit le passage des dunes pour les François; et l'avoient à leur avis 196 durement fortifiée de grands doubles fossés.» Les gens de Tournay attaquent la tour et la prennent en perdant beaucoup de monde; mais les maréchaux viennent dire au roi Philippe qu'on ne pouvait passer outre sans sacrifier une partie de son armée. C'est alors que le roi des Français s'avise d'envoyer un message au roi d'Angleterre: «Sire, disent les envoyés, le roi de France nous envoie par devers vous et vous signifie qu'il est ci venu et arrêté sur le mont Sangattes pour vous combattre; mais il ne peut ni voir ni trouver voie comment il puisse venir jusqu'à vous; si en a-t-il grand désir pour désassiéger sa bonne ville de Calais. Si a fait aviser et regarder par ses maréchaux comment il pourroit venir jusques à vous; mais c'est chose impossible. Si verroit volontiers que vous voulussiez mettre de votre conseil ensemble, et il mettroit du sien, et par l'avis de ceux, aviser place là où on se pût combattre; et de ce sommes-nous chargés de vous dire et requerre. 197»
Une lettre du roi d'Angleterre à l'archevêque d'York fait connaître que ce prince accepta la singulière proposition du roi Philippe 198, mais qu'après des pourparlers, pendant lesquels l'armée assiégeante ne cessa de se fortifier davantage dans son camp et de garnir les passages, le roi des Français délogea subitement et licencia son monde le 2 août 1347.
Ce qui précède fait voir que déjà l'esprit militaire se modifiait en Occident, et dans la voie nouvelle, les Anglo-Normands nous avaient précédés. À chaque instant au XIVe siècle, l'ancien esprit chevaleresque des Français vient se heurter contre l'esprit politique des Anglais, contre leur organisation nationale, une déjà, et puissante par conséquent. L'emploi de la poudre à canon dans les armées et dans les siéges porta un nouveau et terrible coup à la chevalerie féodale. L'énergie individuelle, la force matérielle, la bravoure emportée, devaient le céder bientôt au calcul, à la prévoyance et à l'intelligence d'un capitaine, secondé par des troupes habituées à l'obéissance. Bertrand du Guesclin sert de transition entre les chevaliers des XIIe et XIIIe siècles et les capitaines habiles des XVe et XVIe siècles. Il faut dire qu'en France l'infériorité à la guerre n'est jamais de longue durée, une nation belliqueuse par instinct est plutôt instruite par ses revers encore que par ses succès. Nous avons dit un mot des défiances de la féodalité française à l'égard des classes inférieures, défiance qui était cause que dans les armées on préférait des soudoyers étrangers à des nationaux qui, une fois licenciés, ayant pris l'habitude des armes et du péril, se trouvant cent contre un, eussent pu se coaliser contre le réseau féodal, et le rompre. La royauté, gênée par les priviléges de ses vassaux, ne pouvait directement appeler les populations sous les armes; pour réunir une armée elle convoquait les seigneurs, qui se rendaient à l'appel du suzerain avec les hommes qu'ils étaient tenus de fournir; ces hommes composaient une brillante gendarmerie d'élite suivie de bidauds, de valets, de brigands, formant plutôt un troupeau embarrassant qu'une infanterie solide. Le roi prenait à solde, pour combler cette lacune, des arbalétriers génois, brabançons, des corporations des bonnes villes. Les premiers, comme toutes les troupes mercenaires, étaient plus disposés à piller qu'à se battre pour une cause qui leur était étrangère; les troupes fournies par les grandes communes, turbulentes, peu disposées à s'éloigner de leurs foyers, ne devant qu'un service temporaire, profitaient du premier échec pour rentrer dans leurs villes, abandonnant la cause nationale qui n'existait pas encore à leurs yeux par suite du morcellement féodal. C'est avec ces mauvais éléments que les rois Philippe de Valois et Jean devaient lutter contre les armées anglaises et gasconnes déjà organisées, compactes, disciplinées et régulièrement payées. Ils furent battus, comme cela devait être. Les malheureuses provinces du nord et de l'ouest, ravagées par la guerre, brûlées et pillées, furent bientôt réduites au désespoir; des hommes qui avaient tremblé devant une armure de fer, lorsque cette armure paraissait invincible, voyant la fleur de la noblesse française détruite par des archers anglais et des coutilliers gallois, par de simples fantassins, s'armèrent à leur tour; que leur restait-il d'ailleurs! et formèrent les terribles compagnies des Jacques. Ces troupes de soldats brigands, licenciées, abandonnées à elles-mêmes après les défaites, se ruaient sur les villes et les châteaux: «Et toujours gagnoient povres brigands, dit Froissart, à dérober et piller villes et châteaux, et y conquéroient si grand avoir que c'étoit merveille... ils épioient, telle fois étoit, et bien souvent, une bonne ville ou un bon châtel, une journée ou deux loin; et puis s'assembloient vingt ou trente brigands, et s'en alloient tant de jour et de nuit, par voies couvertes que ils entroient en celle ville ou en cel châtel que épié avoient, droit sur le point du jour, et boutoient le feu en une maison ou en deux. Et ceux de la ville cuidoient que ce fussent mille armures de fer, qui vouloient ardoir leur ville: si s'enfuyoient qui mieux mieux, et ces brigands brisoient maisons, coffres et écrins, et prenoient quant qu'ils trouvoient, puis s'en alloient leur chemin, chargés de pillage... Entre les autres, eut un brigand en la Languedoc, qui en telle manière avisa et épia le fort châtel de Combourne qui sied en Limosin, en très fort pays durement. Si chevaucha de nuit à tout trente de ses compagnons, et vinrent à ce fort châtel, et l'échellèrent et gagnèrent, et prirent le seigneur dedans que on appelloit le vicomte de Combourne, et occirent toute la maisnée de léans, et mirent le seigneur en prison en son châtel même, et le tinrent si longuement, qu'il se rançonna à tout vingt-quatre mille écus tous appareillés. Et encore détint ledit brigand ledit châtel et le garnit bien, et en guerroya le pays. Et depuis, pour ses prouesses, le roi de France le voulut avoir de-lez lui, et acheta son châtel vingt mille écus; et fut huissier d'armes du roi de France, et eu grand honneur de-lez le roi. Et étoit appellé ce brigand Bacon. Et étoit toujours monté de bons coursiers, de doubles roncins et de gros palefrois, et aussi bien armé comme un comte et vêtu très richement, et demeura en ce bon état tant qu'il vesqui 199.» Voici le roi de France qui traite avec un soldat de fortune, lui donne une position supérieure, l'attache à sa personne; le roi fait ici pour la défense du territoire un pas immense; il va chercher les défenseurs du sol en dehors de la féodalité parmi des chefs sortis du peuple. C'est avec ces compagnies, ces soldats sans patrie, mais braves, habitués au métier des armes, avec ces routiers sans foi ni loi que du Guesclin va reconquérir une à une toutes les places fortes tombées entre les mains des Anglais. Les malheurs, le désespoir, avaient aguerri les populations, les paysans eux-mêmes tenaient la campagne et attaquaient les châteaux.
Pour conquérir une partie des provinces françaises, les Anglais n'avaient eu à lutter que contre la noblesse féodale; après avoir pris ses châteaux et domaines, et ne trouvant pas de peuple sous les armes, ils ne laissèrent dans leurs places fortes que des garnisons isolées, peu nombreuses, quelques armures de fer soutenues d'un petit nombre d'archers; les Anglais pensaient que la noblesse féodale française sans armée ne pouvait, malgré sa bravoure, reprendre ses châteaux. Grande fut aussi la surprise des capitaines anglais quand, à quelques années d'intervalle, ils se trouvèrent assaillis non plus seulement par une brillante chevalerie, mais par des troupes intrépides, disciplinées pendant le combat, obéissant aveuglément à la voix de leur chef, ayant foi en son courage et en son étoile, se battant avec sang-froid et possédant la ténacité, la patience et l'expérience de vieux soldats 200.
La féodalité avait, dès la fin du XIVe siècle, joué son rôle militaire comme elle avait joué son rôle politique. Son prestige était détruit, et Charles VII et Louis XI eurent de véritables armées régulières.
Si nous nous sommes étendus sur cette question, c'est qu'il nous a paru nécessaire de faire connaître les transformations par lesquelles l'art de la guerre a dû passer, afin de pouvoir rendre compte des différents systèmes de défense qui furent successivement adoptés du Xe au XVIe siècle. Il n'est pas besoin de démontrer tout ce qu'il y a d'impérieux dans l'art de la fortification; ici tout doit être sacrifié au besoin de la défense, et cependant, telle était la puissance de la tradition féodale, qu'on emploie longtemps, et jusqu'à la fin du XVIe siècle, des formes, que l'on conserve des dispositions, qui ne se trouvaient nullement à la hauteur des nouveaux moyens d'attaque. C'est surtout aux fortifications des châteaux que cette observation s'applique. La féodalité ne pouvait se résoudre à remplacer ses hautes tours par des ouvrages bas et étendus; pour elle le grand donjon de pierre épais et bien fermé était toujours le signe de la force et de la domination. Aussi le château passe-t-il brusquement, au XVIe siècle, de la fortification du moyen âge à la maison de plaisance (voy. CHÂTEAU).
Il n'en est pas de même pour les villes: par suite de ses désastres, la gendarmerie française perdait peu à peu de son ascendant. Indisciplinée, mettant toujours l'intérêt féodal avant l'intérêt national, elle en était pendant les guerres des XIVe et XVe siècles à jouer le rôle de partisans, surprenant des châteaux et des villes, les pillant et brûlant, les perdant le lendemain; tenant tantôt pour un parti, tantôt pour un autre, suivant qu'elle y trouvait son intérêt du moment. Mais les corporations des bonnes villes qui ne savaient pas se battre à l'époque de la conquête d'Édouard III, s'étaient aguerries; plus disciplinées, plus braves et mieux armées, elles présentaient déjà à la fin du XIVe siècle des troupes assez solides pour qu'on pût leur confier la garde de postes importants 201. Vers le milieu de ce siècle on avait déjà fait emploi de bouches à feu, soit dans les batailles rangées soit dans les siéges 202. Ce nouveau moyen de destruction devait changer et changea bientôt toutes les conditions de l'attaque et de la défense des places. Peu importante encore au commencement du XVe siècle, l'artillerie à feu prend un grand développement vers le milieu de ce siècle. «En France, dit l'illustre auteur déjà cité 203, la guerre de l'Indépendance contre les Anglais avait réveillé le génie guerrier de la nation, et, non-seulement l'héroïque Jeanne d'Arc s'occupait elle-même de diriger l'artillerie 204; mais deux hommes éminents sortis du peuple, les frères Bureau, apportèrent tous leurs soins à perfectionner les bouches à feu et à la conduite des siéges. Ils commencèrent à employer, quoique en petit nombre, les boulets de fer au lieu des boulets de pierre 205, et alors, un projectile du même poids occupant un plus petit volume, on put lui donner une plus grande quantité de mouvement, parce que la pièce, ayant un moindre calibre, offrit plus de résistance à l'explosion de la poudre.
Ce boulet plus dur ne se brisa plus et put pénétrer dans la maçonnerie; il y eut avantage à augmenter sa vitesse en diminuant sa masse; les bombardes devinrent moins lourdes, quoique leur effet fût rendu plus dangereux.
Au lieu d'élever des bastilles tout autour de la ville 206, les assiégeants établirent, devant les grandes forteresses, un parc entouré d'un retranchement situé dans une position centrale, hors de la portée du canon. De ce point, ils conduisirent un ou deux boyaux de tranchée vers les pointes où ils placèrent leurs batteries 207... Nous sommes arrivés au moment où les tranchées furent employées comme moyen d'approche concurremment avec les couverts en bois... Aux frères Bureau revient l'honneur d'avoir les premiers fait l'emploi le plus judicieux de l'artillerie à feu dans les siéges. De sorte que les obstacles tombèrent devant eux, les murailles frappées ne résistaient plus à leurs boulets et volaient en éclats. Les villes que défendaient les Anglais et qu'ils avaient mis des mois entiers à assiéger, lors de leur invasion, furent enlevées en peu de semaines. Ils avaient employé quatre mois à assiéger Harfleur, en 1440; huit mois à assiéger Rouen, en 1418; dix mois à s'emparer de Cherbourg, en 1418, tandis qu'en 1450, toute la conquête de la Normandie, qui obligea à entreprendre soixante siéges, fut accomplie par Charles VII en un an et six jours 208.
«L'influence morale exercée par la grosse artillerie est devenue si grande qu'il suffit de son apparition pour faire rendre les villes.
«... Disons-le donc, en l'honneur de l'arme, c'est autant aux progrès de l'artillerie qu'à l'héroïsme de Jeanne d'Arc, que la France est redevable d'avoir pu secouer le joug étranger de 1428 à 1450. Car, la crainte que les grands avaient du peuple, les dissensions des nobles eussent peut-être amené la ruine de la France, si l'artillerie, habilement conduite, ne fût venue donner au pouvoir royal une force nouvelle, et lui fournir à la fois le moyen de repousser les ennemis de la France et de détruire les châteaux de ces seigneurs féodaux qui n'avaient point de patrie.
«Cette période de l'histoire signale une ère nouvelle. Les Anglais ont été vaincus par les armes à feu, et le roi, qui a reconquis son trône avec des mains plébéiennes, se voit pour la première fois à la tête de forces qui n'appartiennent qu'à lui. Charles VII, qui naguère empruntait aux villes leurs canons pour faire les siéges, possède une artillerie assez nombreuse pour établir des attaques devant plusieurs places à la fois, ce qui excite à juste titre l'admiration des contemporains. Par la création des compagnies d'ordonnance et par l'établissement des francs-archers, le roi acquiert une cavalerie et une infanterie indépendantes de la noblesse...»
L'emploi des bouches à feu dans les siéges dut avoir pour premier résultat de faire supprimer partout les hourds et bretèches en bois, et dut contribuer à l'établissement des mâchicoulis et parapets crénelés de pierre portés sur corbeaux en saillie sur le nu des murs. Car les premières bouches à feu paraissent être souvent employées non-seulement pour lancer des pierres rondes en bombe, comme les engins à contre-poids, mais aussi des projectiles incendiaires, des barillets contenant une composition inflammable et détonante, telle que le feu grégeois décrit par Joinville, et connu dès le XIIe par les Arabes. A la fin du XIVe siècle et au commencement du XVe, les artilleurs emploient déjà les canons à lancer des boulets de pierre, de plomb ou de fer, horizontalement; on ne s'attaque plus alors seulement aux créneaux et aux défenses supérieurs des murailles, mais on les bat en brèche à la base; on établit de véritables batteries de siége. Au siége d'Orléans, en 1428, les Anglais jettent dans la ville, avec leurs bombardes, un nombre considérable de projectiles de pierre qui passent par-dessus les murailles et crèvent les toits des maisons. Mais du côté des Français on trouve une artillerie dont le tir est de plein fouet et qui cause de grandes pertes aux assiégeants; un boulet tue le comte de Salisbury qui observait la ville par l'une des fenêtres des tournelles 209. C'est un homme sorti du peuple, maître Jean, Lorrain, qui dirige l'artillerie de la ville.
Pour assiéger la ville, les Anglais suivent encore l'ancien système des bastilles de bois et des boulevards; ils finissent par être assiégés à leur tour par ceux d'Orléans; perdent successivement leurs bastilles qui sont détruites par le feu de l'artillerie française; attaqués vigoureusement, ils sont obligés de lever le siége en abandonnant une partie de leur matériel; car l'artillerie à feu de siége, comme tous les engins employés jusqu'alors, avait l'inconvénient d'être difficilement transportable, et ce ne fut guère que sous Charles VII et Louis XI que les pièces de siége, aussi bien que celles de campagne, furent montées sur roues; on continua cependant d'employer les bombardes (grosses pièces, sortes de mortiers à lancer des boulets de pierre d'un fort diamètre) jusque pendant les premières années du XVIe siècle.

Voici (42) la représentation d'un double canon de siége garni de son mantelet de bois destiné à protéger la pièce et les servants contre les projectiles (43), le figuré d'un double canon, mais avec boîtes s'emmanchant dans la culasse et contenant la charge de poudre avec le boulet 210. À côté de la pièce sont d'autres boîtes de rechange et le calibre C avec son anse pour mesurer la charge de poudre; (43 bis) le dessin d'un canon à boîte monté sur un affût à crémaillères, permettant de pointer la pièce. Les boulets de ce dernier canon sont de pierre, tandis que ceux des canons doubles sont en métal. On mettait le feu à la poudre renfermée dans la boîte au moyen d'une tige de fer rougie dans un fourneau. L'établissement de ces pièces en batterie, leur chargement, surtout lorsqu'il fallait après chaque coup remplacer les boîtes, les moyens accessoires pour mettre le feu; tout cela était long. Au commencement du XVe siècle les canons de gros calibre employés dans les siéges n'étaient pas en assez grand nombre, étaient d'un transport trop difficile, ne pouvaient pas être chargés assez rapidement pour pouvoir produire des effets prompts et décisifs dans l'attaque des places. Il fallait avoir, pour éloigner les défenseurs des créneaux, des archers en grand nombre et des arbalétriers; des archers surtout qui avaient, ainsi que nous l'avons vu, une grande supériorité sur les arbalétriers à cause de la rapidité du tir de l'arc.



Chaque archer (44) était muni d'un sac de cuir
contenant deux ou trois douzaines de sagettes. Au moment du combat, il
laissait son sac ouvert à terre, et gardait sous son pied gauche
quelques flèches, le fer tourné à sa gauche; sans les voir il les
sentait ainsi, il pouvait les prendre une à une en abaissant la main, et
ne perdant pas le but de vue (point important pour un tireur). Un bon
archer pouvait décocher une dizaine de flèches par minute. Tandis qu'un
arbalétrier, pendant le même espace de temps, n'envoyait guère que deux
carreaux (45) et (46).
Obligé d'adapter le cranequin (47) à son arme
après chaque coup, pour bander l'arc, non-seulement il perdait beaucoup
de temps, mais il perdait de vue les mouvements de l'ennemi et était
obligé, une fois l'arme bandée, de chercher son but et de viser
211.
Lorsque l'artillerie à feu fut assez bien montée et assez nombreuse pour
battre les murailles et faire brèche à distance, l'ancien système
défensif parut tellement inférieur aux moyens d'attaque qu'il fallut le
modifier profondément. Les tours couvertes de combles pour la plupart
d'un petit diamètre, voûtées d'une manière assez légère, ne pouvaient
servir à placer du canon; en enlevant les combles et faisant des
plates-formes (ce qui fut souvent exécuté au milieu du XVe siècle), on
parvenait à placer une ou deux pièces au sommet, qui ne causaient pas un
grand dommage aux assaillants, et qui, par leurs feux plongeants, ne
frappaient qu'un point. Il fallait sans cesse les déplacer pour suivre
les mouvements de l'attaque, et leur recul ébranlait souvent les
maçonneries au point ne nuire plus aux défenseurs qu'aux assiégeants.
Sur les courtines, les chemins de ronde qui n'avaient guère que deux
mètres au plus de largeur, ne pouvaient recevoir du canon; on faisait
alors à l'intérieur des remblais en terre jusqu'au niveau de ces
chemins, pour pouvoir monter les pièces et les mettre en batterie; mais
par suite de l'élévation de ces courtines, les feux étaient plongeants
et ne produisaient pas un grand effet. Sans renoncer dès lors à placer
l'artillerie à feu sur les sommets des défenses, partout où la chose fût
praticable, on ouvrit des embrasures dans les étages inférieurs des
tours au niveau du sommet de la contrescarpe des fossés, afin d'obtenir
un tir rasant, d'envoyer des projectiles en ricochets, et de forcer
l'assaillant à faire des tranchées profondes pour approcher des places.
Sous Charles VII, en effet, beaucoup d'attaques de châteaux et de villes
avaient été brusquées et avaient réussi. Des pièces de canon étaient
amenées à découvert en face de la fortification, et avant que l'assiégé
eût eu le temps de mettre en batterie les quelques bombardes et
ribaudequins qui garnissaient les tours, la brèche était faite, et la
ville gagnée. Mais toutes les tours ne pouvaient se prêter à la
modification demandée par le service de l'artillerie de défense; elles
avaient un diamètre intérieur qui ne permettait pas de placer une pièce
de canon; celles-ci ne pouvaient être introduites à travers ces détours
et escaliers à vis, puis quand les pièces avaient tiré deux ou trois
coups, on était asphyxié par la fumée qui ne trouvait pas d'issue. On
commença donc par modifier la construction des tours, on leur donna
moins de hauteur et on augmenta beaucoup leur diamètre en les faisant
saillir à l'extérieur; renonçant à l'ancien système de défense isolée,
on les ouvrit du côté de la ville, afin de pouvoir y introduire
facilement du canon, on les perça d'embrasures latérales, au-dessous du
niveau de la crête des fossés, et les enfilant dans leur longueur. Les
fortifications de la ville de Langres sont fort intéressantes à étudier
au point de vue des modifications apportées pendant les XVe et XVIe
siècles à la défense des places (48)
212.

Langres est une ville romaine; la partie A de la ville fut ajoutée, au commencement du XVIe siècle, à l'enceinte antique dans laquelle on retrouve une porte assez bien conservée; successivement modifiée, l'enceinte de Langres fut presque entièrement rebâtie sous Louis XI et François Ier, et plus tard renforcée de défenses établies suivant le système adopté au XVIe siècle et au commencement du XVIIe.
L'emploi de l'artillerie à feu fut cause que l'on bâtit les tours C qui
flanquent les courtines au moyen de deux murs parallèles terminés par un
hémicycle. La ville de Langres est bâtie sur un plateau qui domine le
cours de la Marne et tous les alentours; du côté D seulement on y accède
de plain-pied. Aussi de ce côté un ouvrage avancé très-fort avait-il été
établi dès le XIVe siècle
213. En E était une seconde porte bien
défendue par une grosse tour ronde ou bastille, avec deux batteries
couvertes établies dans deux chambres dont les voûtes reposent sur un
pilier cylindrique élevé au centre; dans une autre tour juxtaposée est
une rampe en spirale qui permettait de faire monter du canon sur la
plate-forme qui couronnait la grosse tour (voy. BASTILLE);
en F une
troisième porte donnant sur la Marne protégée par des ouvrages en terre
de la fin du XVIe siècle. Nous donnons (49) le plan d'une des tours dont
la construction remonte à la fin du XVe siècle ou du commencement du
XVIe
214. Cette tour est un véritable bastion pouvant contenir à chaque
étage cinq bouches à feu. Bâtie sur une pente rapide, on descend
successivement par quatre emmarchements du point C donnant dans la
ville, au point E. Les embrasures E, F, G, ressautent pour suivre
l'inclinaison du terrain et se trouver toujours à une même hauteur
au-dessus du sol extérieur. Les canons pouvaient être facilement
introduits par des emmarchements larges et assez doux; les murs sont
épais (7,00 mètres), afin de pouvoir résister à l'artillerie des
assiégeants. La première travée dont les parois sont parallèles est
voûtée par quatre voûtes reposant sur une colonne; un arc-doubleau
portant sur deux têtes de murs sépare la première travée de la seconde
qui est voûtée en cul-de-four (voy. la coupe longitudinale (50) sur la
ligne CD et la coupe transversale (51) sur la ligne A B du plan).


Les embrasures F, G (49) étaient fermées à l'intérieur par des portières (voy. EMBRASURE). Des évents H permettaient à la fumée de s'échapper de l'intérieur de la salle. Deux petits réduits I devaient renfermer la provision de poudre. Cette tour était couronnée dans l'origine par une plate-forme et un parapet crénelé derrière lequel on pouvait placer d'autres pièces ou des arquebusiers. Ces parties supérieures ont été modifiées depuis longtemps. La batterie barbette domine la crête du parapet des courtines voisines de 1 mètre environ; c'était encore là un reste de la tradition du moyen âge. On croyait toujours devoir faire dominer les tours sur les courtines 215 (voy. TOUR). Cette incertitude dans la construction des défenses pendant les premiers temps de l'artillerie donne une grande variété de dispositions, et nous ne pouvons les signaler toutes. Mais il est bon de remarquer que le système de fortifications si bien établi de 1300 à 1400, si méthodiquement combiné, est dérangé par l'intervention des bouches à feu dans les siéges, et que les tâtonnements commencent à partir de cette dernière époque pour ne cesser qu'au XVIIe siècle. Telle était la force des traditions féodales qu'on ne pouvait rompre brusquement avec elles, et qu'on les continuait encore, malgré l'expérience des inconvénients attachés à la fortification du moyen âge en face de l'artillerie à feu. C'est ainsi qu'on voit longtemps encore et jusque pendant le XVIe siècle les mâchicoulis employés concurremment avec les batteries couvertes, bien que les mâchicoulis ne fussent plus qu'une défense nulle devant du canon. Aussi de Charles VIII à François Ier, les villes et les châteaux ne tiennent pas devant une armée munie d'artillerie, et l'histoire pendant cette période ne nous présente plus de ces siéges prolongés si fréquents pendant les XIIe, XIIIe et XIVe siècles. On faisait du mieux qu'on pouvait pour approprier les anciennes fortifications au nouveau mode d'attaque et de défense, soit en laissant parfois les vieilles murailles subsister en arrière de nouveaux ouvrages, soit en détruisant quelques points faibles, comme à Langres, pour les remplacer par des grosses tours rondes ou carrées munies d'artillerie. À la fin du XVe siècle, les ingénieurs paraissent chercher à couvrir les pièces d'artillerie; ils les disposent au rez-de-chaussée des tours dans des batteries couvertes, réservant les couronnements des tours et courtines pour les archers et arbalétriers ou arquebusiers. Il existe encore un grand nombre de tours qui présentent cette disposition; sans parler de celle de Langres que nous avons donnée (fig. 49, 50 et 51), mais dont le couronnement détruit ne peut servir d'exemple, voici une tour carrée dépendant de la défense fort ancienne du Puy-Saint-Front de Perigueux, et qui fut reconstruite pour contenir des bouches à feu à rez-de-chaussée 216 destinées à battre la rivière, le rivage et l'une des deux courtines.

Le rez-de-chaussée de cette tour peu étendu (52) est percé de quatre embrasures destinées à de petites pièces d'artillerie, sans compter une meurtrière placée à l'angle saillant du côté opposé à la rivière. Deux canons (que l'on changeait de place suivant les besoins de la défense) pouvaient seulement être logés dans cette batterie basse voûtée par un berceau épais de pierres de taille, et à l'épreuve des projectiles pleins lancés en bombe. Les embrasures des canons (53) sont percées horizontalement, laissant juste le passage du boulet, au-dessus, une fente horizontale permet de pointer et sert d'évent pour la fumée. Un escalier droit conduit au premier étage percé seulement de meurtrières d'arbalètes ou d'arquebuses, et le couronnement est garni de mâchicoulis avec parapet continu sans créneaux, mais percé de trous ronds propres à passer le bout de petites coulevrines ou d'arquebuses à main 217. C'était là une médiocre défense et il était facile à l'ennemi de se placer de manière à se trouver en dehors de la projection du tir.

On reconnut bientôt que ces batteries couvertes établies dans des espaces étroits, et dont les embrasures n'embrassaient qu'un angle aigu, ne pouvaient démonter des batteries de siége et ne causaient pas un dommage sérieux à l'assiégeant. Laissant donc subsister le vieux système défensif pour y loger des archers, arbalétriers et arquebusiers, on éleva en avant de fausses braies dans lesquelles on pouvait établir des batteries à tir rasant, qui remplaçaient les lices dont nous avons parlé dans le cours de cet article. On commença dès lors à s'affranchir des règles si longtemps conservées de la fortification antérieure à l'emploi de l'artillerie à feu. Dans des cas pressants les anciennes murailles et tours des lices, les barbacanes furent simplement dérasées au niveau du chemin de ronde, puis couronnées de parapets avec embrasures pour y placer des batteries barbettes (54).

Les tours paraissaient si bien un moyen de défense indispensable, on regardait comme d'une si grande utilité de commander la campagne, qu'on en élevait encore même après que les fausses braies disposées de manière à flanquer les courtines avaient été admises. On donna d'abord aux fausses braies les formes, en plan, qu'on avait données aux palissades, c'est-à-dire qu'elles suivirent à peu près le contour des murs, mais bientôt on en fit des ouvrages flanqués. La ville d'Orange avait été fortifiée de nouveau sous Louis XI, et telle était la configuration de ses défenses à cette époque (55). Au moyen de ces modifications, les places furent en état de résister à l'artillerie; mais cette arme se perfectionnait rapidement. Louis XI et Charles VIII possédaient une artillerie formidable, l'art des siéges devenait tous les jours plus méthodique, à cette époque déjà on faisait des approches régulières; on commençait, lorsque l'attaque des places ne pouvait être brusquée, à faire des tranchées, à établir des parallèles et de véritables batteries de siége bien gabionnées. Les murs dépassant le niveau des crètes des revêtements des fossés offraient une prise facile au tir de plein fouet des batteries de siége, et à une assez grande distance on pouvait détruire ces ouvrages découverts et faire brèche. Pour parer à cet inconvénient on garnit les dehors des fossés de palissades ou parapets en maçonnerie ou en charpente avec terrassements et premier fossé extérieur; cet ouvrage, qui remplaçait les anciennes lices, conserva le nom de braie (56).

On établit en dehors des portes, des poternes et des saillants, des ouvrages en terre soutenus par des pièces de bois qu'on nommait encore boulevert, bastille ou bastide. La description de la fortification de Nuys, que Charles le Téméraire assiégea en 1474, explique parfaitement la méthode employée pour résister aux attaques 218. «Pareillement estoit Nuysse notablement tourrée de pierre de grès, puissamment murée de riche fremeté, haulte, espaisse et renforcée de fortes braiesses, subtelement composées de pierre et de brique, et en aulcuns lieux, toutes de terre, tournées à deffence par mirable artifice pour reppeller les assaillants; entre lesquelles et lesdits murs y avoit certains fossés assés parfons; et, de rechef, estoient devant lesdites brayes aultres grants fossés d'extrème profondeur, cimés les aulcuns, et pleins d'eau à grant largesse, lesquels amplectoient la ville et ses forts jusques aux rivières courantes. Quatre portes principales de pareille sorte ensemble, et aulcunes poternes et saillies embellissoient et fortifioient grantement ladite closture; car chascune d'elles avoit en front son boluvert à manière de bastillon, grant, fort et deffendable, garni de tout instrument de guerre, et souverainement de traicts à poudre à planté.» On voit dans cette description le bastion se dessiner nettement, comme un accessoire important de la défense pour fortifier les saillants, les poternes, les portes et enfiler les fossés, pour tenir lieu des tours et barbacanes des lices de l'ancienne fortification, des anciennes bastilles isolées, des ouvrages de défense du dehors des portes. Bientôt cet accessoire, dont l'utilité est reconnue, l'emporte sur le fond, et forme la partie principale de la fortification moderne.
En conservant toutefois, dans les forteresses que l'on éleva vers la fin du XVe siècle, les tours et les courtines des enceintes intérieures commandant la campagne à une grande distance par leur élévation, en les couronnant encore de machicoulis, on augmenta l'épaisseur des maçonneries de manière à pouvoir résister à l'artillerie de siége. Lorsque le connétable de Saint-Pol fit reconstruire en 1470 le château de Ham, non-seulement il crut devoir munir cette retraite d'ouvrages avancés, de murs de contre-garde, mais il fit donner aux tours et courtines, et surtout à la grosse tour ou donjon, une telle épaisseur que ces constructions peuvent encore opposer à l'artillerie moderne une longue résistance (voy. CHATEAU).
Jusqu'alors on s'était occupé en raison des besoins nouveaux de modifier la forme et la situation des tours et courtines, les détails de la défense; mais depuis le XIe siècle le mode de construction de la fortification n'avait pas changé: c'étaient toujours deux parements de pierre de taille, de brique ou de moellon piqué renfermant un massif en blocage irrégulier. Contre la sape ou le mouton ce genre de construction était bon, car les pionniers entamaient plus difficilement un massif en blocage dont la pierraille et le mortier étaient durs et adhérents, qu'une construction appareillée facile à déliaisonner lorsque quelques pierres ont été enlevées, les constructions d'appareil n'ayant jamais l'homogénéité d'un bon blocage bien fait. Les massifs de maçonnerie résistaient mieux aux ébranlements du mouton qu'une construction d'appareil; mais lorsque les bouches à feu remplacèrent tous les engins et expédients de destruction employés au moyen âge, on reconnut bientôt que les revêtements de pierre qui n'avaient généralement qu'une épaisseur de 30 à 50 centimètres étaient promptement ébranlés par l'effet des boulets de fer, qu'ils se détachaient du massif et le laissaient à nud exposé aux projectiles; que les merlons 219 de pierre enlevés par les boulets se brisaient en éclats, véritable mitraille plus meurtrière encore que les boulets eux-mêmes. L'architecture défensive, pour prévenir l'ébranlement des anciennes murailles et des tours, garnit les courtines par des terrassements de terre intérieurs, et remplit parfois les étages inférieurs des tours. Mais lorsque la muraille tombait sous les coups de l'artillerie de siége, ces amas de terre, en s'éboulant avec elle, facilitaient l'accès de la brèche en formant un talus naturel, tandis que les murailles seules non terrassées à l'intérieur ne présentaient en tombant que des brèches irrégulières et d'un accès très-difficile. Pour parer à ces inconvénients, lorsque l'on conservait d'anciennes fortifications, et qu'on les appropriait à la défense contre l'artillerie, on farcit quelquefois les terrassements intérieurs de longrines de bois, de branchages résineux ou flambés pour les préserver de la pourriture; ces terrassements avaient assez de consistance pour ne pas s'ébouler lorsque la muraille tombait, et rendaient la brèche impraticable. Si les vieilles murailles avaient été simplement remblayées à l'intérieur de manière à permettre de placer du canon au niveau des parapets, si les anciens crénelages avaient été remplacés par des merlons épais et des embrasures en maçonnerie, lorsque l'assiégé était assuré du point attaqué, et pendant que l'assiégeant faisait ses dernières approches et battait en brèche, on élevait en arrière du front attaqué un ouvrage en bois terrassé, assez peu élevé pour être masqué du dehors, on creusait un fossé entre cet ouvrage et la brèche; celle-ci devenue praticable, l'assiégeant lançait ses colonnes d'attaque qui se trouvaient en face d'un nouveau rempart improvisé bien muni d'artillerie; c'était un nouveau siége à recommencer. Cet ouvrage rentrant était d'un très-difficile accès, car il était flanqué par sa disposition naturelle, et l'assaillant ne pouvait songer à brusquer l'assaut, les colonnes d'attaque se trouvant battues en face, en flanc et même en revers. Lorsque Blaise de Montluc défend Sienne, il fait élever derrière les vieilles murailles de la ville, et sur les points où il suppose qu'elles seront battues, des remparts rentrants dans le genre de celui qui est figuré ici (57). «Or avois-je déliberé, dit-il, que si l'ennemy vous venoit assaillir avec l'artillerie, de me retrancher loing de la muraille où se feroit la batterie, pour les laisser entrer à leur ayse; et faisois estat tous jours de fermer les deux bouts, et y mettre à chacun quatre ou cinq grosses pièces d'artillerie, chargées de grosses chaînes et de gros clous et pièces de fer. Derrière la retirade je déliberay mettre tous les mousquets de la ville ensemble l'arquebuserie, et, comme ils seroient dedans, faire tirer l'artillerie et l'arquebuserie tout à un coup; et nous, qui serions aux deux bouts, venir courant à eux avec les picques, hallebardes, épées et rondelles... 220» Cette disposition provisoire de la défense ne tarda pas à être érigé en système fixe, comme nous le verrons tout à l'heure.



Lorsque les effets de l'artillerie à feu furent bien connus, et qu'il fut avéré que des murs de maçonnerie de deux à trois mètres d'épaisseur (qui est l'épaisseur moyenne des courtines antérieures à l'emploi régulier des bouches à feu) ne pouvaient résister à une batterie envoyant de trois à cinq cents boulets sur une surface de huit mètres carrés environ 221, en abaissant le commandement des murs en maçonnerie on employa divers moyens pour leur donner une plus grande résistance. Dans les constructions antérieures à l'artillerie à feu, pour résister à la mine, à la sape et au mouton, déjà on avait pratiqué dans l'épaisseur des murs des arcs de décharge, masqués par le parement extérieur, qui, reportant le poids des maçonneries sur des points isolés, maintenaient les parapets et empêchaient les murs de tomber d'une seule pièce, à moins que les assiégeants n'eussent précisément sapé les points d'appuis masqués (58), ce qui ne pouvait être que l'effet du hasard.
Au XVIe siècle on perfectionna ce système; non-seulement on pratiqua des
arcs de décharge dans l'épaisseur des courtines de maçonnerie, mais on
les renforça de contre-forts intérieurs noyés dans les terrassements et
buttant les revêtements au moyen de berceaux verticaux (59). On eut le
soin de ne pas lier ces contre-forts avec la partie pleine des murailles
dans toute leur hauteur, pour éviter que le revêtement en tombant par
l'effet des boulets n'entrainât les contre-forts avec eux; ces éperons
intérieurs pouvaient encore, en maintenant les terres pilonées entre
eux, présenter un obstacle difficile à renverser. Mais ces moyens
étaient dispendieux; ils supposaient toujours d'ailleurs des murailles
formant un escarpement assez considérable au-dessus du niveau de la
contrescarpe du fossé. On abandonnait difficilement les commandements
élevés, car à cette époque encore, l'escalade était fréquemment tentée
par des troupes assiégeantes, et les attaques de places fortes en font
souvent mention. Outre les moyens indiqués ci-dessus, soit pour mettre
les murailles en état de résister au canon, soit pour présenter un
nouvel obstacle à l'assaillant lorsqu'il était parvenu à les renverser,
on remparait les places, c'est-à-dire, que l'on établissait en dehors
des fossés au sommet de la contrescarpe, ou même comme garde du mur pour
amortir le boulet, ou en dedans, à une certaine distance, des remparts
de bois et de terre, les premiers formant un chemin couvert ou un
revêtement de la muraille et les seconds un boulevard derrière lesquels
on plaçait de l'artillerie, 1° pour gêner les approches et empêcher de
brusquer l'attaque, ou préserver le mur contre les effets du canon, 2°
pour arrêter l'assiégeant lorsque la brèche était praticable. Les
premiers remplaçaient les anciennes lices, et les seconds obligeaient
l'assiégeant à faire un nouveau siége lorsque la muraille d'enceinte
était renversée. Les remparts amortissaient le boulet et résistaient
plus longtemps que les murailles en maçonnerie, ils étaient plus
capables de recevoir et de garantir des pièces en batterie que les
anciens chemins de ronde terrassés. On les construisait de diverses
manières; les plus forts étaient établis au moyen d'un revêtement
extérieur composé de pièces de bois verticales reliées par des croix de
Saint-André, afin d'empêcher l'ouvrage de se disloquer lorsque les
boulets en brisaient quelques parties. Derrière ce parement de charpente
on enlaçait des fascines de menu bois comme un ouvrage de vannerie, puis
on élevait un terrassement composé de clayonnage et de couches de terres
alternées; quelquefois le rempart était formé de deux rangs de forts
pieux plantés verticalement reliés avec des branches flexibles et des
entre-toises appelées clefs
posées horizontalement (60); l'intervalle
était rempli de terre grasse bien pilonée, purgée de cailloux et
mélangée de brins de menu bois. Ou bien, c'étaient des troncs d'arbres
couchés horizontalement, reliés entre eux par des entre-toises
entaillées à mi-bois, les intervalles remplis comme il vient d'être dit
(61).

On ménageait de distance en distance des embrasures garnies de portières. Si l'assiégé était pris au dépourvu, ou s'il ne pouvait se procurer de la terre convenable, il se contentait d'enlacer entre eux des arbres garnis d'une partie de leurs branchages; les intervalles étaient bourrés de fascines (62) 222.
Ces nouveaux obstacles opposés à l'artillerie de siége firent employer
des boulets creux, des projectiles chargés d'artifice qui, éclatant au
milieu des remparts, y causaient un grand désordre; peu à peu on dut
renoncer aux attaques brusquées et n'approcher des places ainsi munies
qu'à couvert dans des boyaux de tranchée contournés dont les retours
anguleux ou arrondis étaient défilés par des gabions remplis de terre et
posés debout. Ces gros gabions servaient aussi à masquer les pièces en
batterie; l'intervalle entre ces gabions formait embrasure (63)
223.
Lorsque l'assiégé arrivait au moyen des tranchées à établir ses
dernières batteries très-près de la place et que celle-ci était munie de
bons remparts extérieurs et de murailles d'un commandement considérable,
force était de protéger la batterie de brèche contre les feux rasants et
plongeants par des épaulements en terre surmontés de gabionnades ou de
palis fortement reliés et doublés de clayonnages. Ces ouvrages ne
pouvaient s'exécuter que pendant la nuit, ainsi que cela se pratique
encore de nos jours (64)
224.
Tout en perfectionnant la défense, en renforçant les murailles par des remparts de bois et de terre en dehors des fosses, ou contre le parement extérieur de ces murailles mêmes, on reconnut cependant que ces moyens, en rendant les effets de l'artillerie à feu moins terribles et moins prompts, ne faisaient que retarder les assauts de quelques jours; qu'une place investie voyant promptement des batteries de brèches se dresser à peu de distance des remparts, se trouvait enserrée dans ses murs sans pouvoir tenter des sorties ou communiquer avec les dehors.

Conformément à la méthode employée précédemment, les assaillants dirigeaient encore à la fin du XVe siècle et au commencement du XVIe toutes leurs forces contre les portes; les vieilles barbacanes en maçonnerie ou en bois (boulevards) n'étaient plus assez spacieuses ni assez bien flanquées pour obliger l'assiégeant à faire de grands travaux d'approches, on les détruisait facilement; et une fois logés dans ces ouvrages extérieurs, l'ennemi s'y fortifiait, y dressait des batteries et foudroyait les portes. Ce fut d'abord sur ces points que l'attention des constructeurs de fortifications se fixa. Dès la fin du XVe siècle on s'était donc préoccupé avant toute chose de munir les portes, les têtes de pont, de flanquer ces portes par des défenses propres à recevoir de l'artillerie, en profitant autant que possible des anciennes dispositions et les améliorant.

La porte à Mazelle (65), de la ville de Metz 225, avait été renforcée de cette manière; l'ancienne barbacane en A avait été dérasée et terrassée pour y placer du canon; la courtine B avait été remparée à l'intérieur et celle C reconstruite de façon à battre la première porte. Mais ces défenses resserrées, étroites, ne suffisaient pas, les défenseurs étaient les uns sur les autres; les batteries de siége, dressées devant ces ouvrages accumulés sur un point, les détruisaient tous en même temps, et mettaient le désordre parmi les défenseurs. On se soumit bientôt à la nécessité d'élargir les défenses, de les porter au dehors, de battre un plus grand espace de terrain. C'est alors qu'on éleva en dehors des portes des boulevards pour les mettre à l'abri des effets de l'artillerie (66) 226; quelquefois ces boulevards étaient munis de fausses braies pour placer des arquebusiers; si l'ennemi, après avoir détruit les merlons des boulevards et démonté les batteries, venait au fossé, ces arquebusiers retardaient l'assaut.

On donnait déjà une grande étendue aux ouvrages extérieurs, pour avoir des places d'armes en avant des portes. La puissance de l'artillerie à feu avait pour résultat d'étendre peu à peu les fronts, de faire sortir les défenses des anciennes enceintes sur lesquelles autant par tradition que par un motif d'économie on cherchait toujours à s'appuyer. Les villes tenaient à leurs vieux murs, et ne pouvaient tout à coup s'habituer à les regarder comme des obstacles à peu près nuls; si la nécessité exigeait qu'on les modifiât, c'était presque toujours par des ouvrages qui avaient un caractère provisoire. Le nouvel art de la fortification était à peine entrevu, et chaque ingénieur, par des tâtonnements, cherchait non point à établir un système général, neuf, mais à préserver les vieilles murailles par des ouvrages de campagne plutôt que par un ensemble de défenses fixes combinées avec méthode. Cependant ces tâtonnements devaient nécessairement conduire à un résultat général; on fit bientôt passer les fossés devant et derrière les boulevards des portes, ainsi que cela avait été antérieurement pratiqué pour quelques barbacanes, et à l'extérieur des ces fossés on établit des remparts en terre formant un chemin couvert. C'est ainsi que peu à peu on commandait les approches de l'assiégeant; on sentait le besoin de fortifier les dehors, de protéger les villes par des ouvrages assez saillants pour empêcher les batteries de siége de bombarder les habitations et magasins de l'assiégé; c'était surtout le long des rivières navigables, des ports, que l'on établissait déjà au XVe siècle des bastilles reliées par des remparts, afin de mettre les vaisseaux à l'abri des projectiles. Les villes de Hull dans le Lincolshire, de Lubeck dans le Holstein, de Libourne, de Bordeaux, de Douai, d'Arras, de Liége, de Basle, etc.. possédaient des bastilles propres à recevoir du canon. Nous donnons ici le plan de la ligne des bastilles de Kingston sur Hull reproduit par M.H. Parker (66 bis) 227. Quant aux bastilles de Lubeck, elles étaient isolées ou reliées à la terre ferme par des jetées et formaient ainsi des saillants très-considérables entourés d'eau de toutes parts (66 ter) 228. Ces dernières bastilles paraissent avoir été construites en charpentes, clayonnages et terre.


La méthode de défendre les portes par des bastions ou boulevards circulaires était appliquée en France du temps de Charles VIII. Machiavel, dans son Traité de l'art de la guerre, I. VII, s'exprime ainsi: «... Mais... que si nous avons quelque chose de supportable (en fait d'institutions militaires), nous le devons tout entier aux ultramontains. Vous savez, et vos amis peuvent se le rappeler, quel était l'état de faiblesse de nos places fortes avant l'invasion de Charles VIII en Italie, dans l'an 1494.» Et dans son procès-verbal de visite d'inspection des fortifications de Florence, en 1526, on remarque ce passage: «Nous parvinmes ensuite à la porte de San-Giorgio (rive gauche de l'Arno); l'avis du capitaine fut de la baisser, d'y construire un bastion rond, et de placer la sortie sur le flanc, comme c'est l'usage.»

Voici (67) une vue cavallière du château de Milan tel qu'il existait au commencement du XVIe siècle 229, qui fait comprendre le système de défense et d'attaque des places du temps de François Ier. On remarque ici le mélange des défenses anciennes et nouvelles, une confusion incroyable de tours, de réduits isolés par des fossés. En A l'armée assiégeante a établi des batteries derrière des gabionnades, protégées par des bastilles B, sortes de redoutes circulaires en terre tenant lieu des places d'armes modernes, mais commandant les ouvrages antérieurs des assiégés. En C on voit des boulevards, flanqués par des tours en avant des portes; en D des courtines non terrassées, mais couronnés de chemins de ronde; au rez-de-chaussée sont disposées des batteries couvertes dont les embrasures se voient partout en E, tandis que les parties supérieures paraissent uniquement réservées aux arbalétriers, archers ou arquebusiers, et sont munies encore de leurs machicoulis. En F est un boulevard entourant la partie la plus faible du château, dont il est séparé par un fossé plein d'eau. Ce boulevard est appuyé à gauche en G par un ouvrage assez bien flanqué, et à droite en H par une sorte de réduit ou donjon défendu suivant l'ancien système. De ces deux ouvrages on communique au corps de la place par des ponts à bascule. Le château est divisé en trois parties séparées par des fossés et pouvant s'isoler. En avant de la porte qui se trouve sur le premier plan en I et le long de la contrescarpe du fossé est disposé un chemin de ronde avec des traverses pour empêcher l'assiégeant de prendre le flanc K en écharpe et de le détruire. Mais il est aisé de comprendre que tous ces ouvrages sont trop petits, ne présentent pas des flancs assez étendus, qu'ils peuvent être bouleversés rapidement les uns après les autres, si l'assiégeant possède une artillerie nombreuse, dont les feux convergents viennent les battre seulement en changeant la direction du tir. Aussi à cette époque déjà, pour éviter que ces ouvrages trop rapprochés ne fussent détruits en même temps par une seule batterie qui pouvait les enfiler d'assez près, on élevait dans l'intérieur des places, au milieu des bastions, des terrassements circulaires ou carrés, pour battre les bastilles terrassées des assiégeants. Cet ouvrage fut fréquemment employé pendant le XVIe siècle et depuis, et prit le nom de cavalier ou plate-forme; il devint d'une grande ressource pour la défense des places, soit qu'il fût permanent soit qu'il fùt élevé pendant le siége même, pour découvrir les boyaux de tranchées, pour prendre en écharpe les batteries de siége, ou pour dominer une brèche profonde et enfiler les fossés lorsque les embrasures des flancs des bastions étaient détruites par le feu de l'ennemi. À l'état permanent, les cavaliers furent fréquemment élevés pour dominer des passages, des routes, des portes et surtout des ponts, lorsque ceux-ci, du côté opposé à la ville, débouchaient au bas d'un escarpement sur lequel l'ennemi pouvait établir des batteries destinées à protéger une attaque, et empêcher l'assiégé de se tenir en forces de l'autre côté.

Le pont de Marseille traversant le ravin qui coupait autrefois la route d'Aix était défendu et enfilé par un gros cavalier placé du côté de la ville (67 bis) 230. Si les bastions étaient trop éloignés les uns des autres pour bien flanquer les courtines, on élevait entre eux et au milieu des courtines des cavaliers, soit en forme de demi-cercle, soit carrés pour renforcer leurs fronts; sur les bastions même, il était également d'usage d'en élever afin d'augmenter leur commandement et de pouvoir placer ainsi deux étages de batteries. Ces cavaliers présentaient encore cet avantage de défiler les courtines, les assiégeants ayant conservé, au commencement du XVIe siècle, la tradition des bastilles offensives du moyen âge, et établissant fréquemment leurs batteries de siége sur des terrassements assez élevés au dessus du sol de la campagne. À défaut de cavaliers, lorsque l'assiégeant, soit par des terrassements soit par suite de la disposition des dehors, dressait ses batteries sur un point élevé, dominant ou rasant les crêtes des défenses de la place, et les prenant en écharpe ou les enfilant, pouvait détruire les batteries barbettes des assiégés à une grande distance et sur une grande longueur, on construisit dès le XVIe siècle des traverses A (67 ter) en terre, munies parfois de gabionnades B au moment de l'attaque, pour augmenter leur hauteur.

Mais on ne tarda pas à reconnaître les inconvénients des ouvrages qui tout en formant des saillants considérables sur les dehors, ne se reliaient pas à un système général de défense; ils n'étaient pas flanqués; obligés de se défendre isolément, ils ne présentaient qu'un point sur lequel venaient converger les feux de l'assiégeant, et ne pouvaient opposer qu'une défense presque passive aux feux croisés des batteries de siége. En accumulant les obstacles, ils retardaient les travaux des ennemis sans pouvoir les détruire; on multiplia donc les bastions ou les plates-formes, c'est-à-dire qu'au lieu de les dresser seulement en avant des portes ou, comme à Hull, dans un but spécial, on en établit de distance en distance pour éloigner les approches et mettre les anciens fronts fortifiés, que l'on conservait à l'abri des feux de l'ennemi 231. Dans le procès-verbal dressé par Machiavel, déjà cité, sur les fortifications de Florence, nous lisons encore ces passages, touchant l'établissement de bastions ronds en avant des anciens fronts fortifiés: «...Lorsqu'on a dépassé la route de San-Giorgio d'environ cent cinquante brasses (environ cent mètres), on rencontre un angle rentrant que forme le mur en changeant de direction à cet endroit, pour se diriger vers la droite. L'avis du capitaine fut qu'il serait utile d'élever sur ce point ou une casemate ou un bastion rond, qui battît les deux flancs; et vous saurez que ce qu'il entend par là, c'est que l'on creuse des fossés partout où il se trouve des murs, parce qu'il est d'avis que les fossés sont la première et la plus forte défense des places. Après nous être avancés d'environ cent cinquante autres brasses au delà, jusqu'à un endroit où se trouvent quelques contre-forts, il a été d'avis que l'on y construisît un autre bastion; et il a pensé que si on le faisait assez fort, et suffisamment avancé, il pourrait rendre inutile la construction du bastion de l'angle rentrant, dont il a été question précédemment.
Au delà de point, on trouve une tour, dont il a été d'avis d'augmenter l'étendue et de diminuer la hauteur, en la disposant de manière qu'on puisse manoeuvrer sur son sommet des pièces de grosse artillerie; il pense qu'il serait utile d'en faire autant à toutes les autres tours qui existent; il ajoute que plus elles sont rapprochées l'une de l'autre, plus elles ajoutent à la force d'une place, non pas tant parce qu'elles frappent l'ennemi en flanc, que parce qu'elles l'atteignent de front...»
Presque toujours ces boulevards ou bastions (car nous pouvons dorénavant leur donner ce nom 232) n'étaient que des ouvrages en terre avec un revêtement de bois ou de maçonnerie, ne dépassant guère la crête de la contrescarpe du fossé. Lorsque pendant la première moitié du XVIe siècle on remplaça les anciennes courtines et tours en maçonnerie par des défenses nouvelles, tout en leur conservant un commandement élevé sur la campagne, et donnant aux tours un grand diamètre, à leurs maçonneries une très-forte épaisseur (ainsi que nous l'avons fait voir dans les fig. 49, 50 et 51) et aux bastions une forte saillie sur les courtines, on se préoccupa: 1° de protéger leur partie antérieure contre les feux convergents des batteries ennemies; à cet effet, on établit autour des bastions circulaires et à leur base des fausses braies masquées par la contrescarpe du fossé, et pour rendre celles-ci plus fortes on les flanqua quelquefois. C'était là déjà un grand progrès, car les bastions circulaires, comme les tours rondes, étaient faibles si on les prenait de face, ils n'opposaient aux feux convergents d'une batterie de brèche qu'une ou deux pièces de canon. Voici un exemple de ces fausses braies flanquées (68) 233.


Lorsque l'assiégeant avait détruit la batterie établie en A, qu'il avait terminé ses travaux d'approches, et qu'il débouchait à la crête du glacis en B, il lui fallait culbuter les défenseurs du chemin couvert protégés par un talus et une palissade; s'il parvenait à gagner le fossé, il était reçu par les feux rasants et croisés de deux pièces placées dans les flancs de la fausse braie en C, et par la mousqueterie des défenseurs de cet ouvrage inférieur préservé jusqu'au moment de l'assaut par la contrescarpe du fossé. Combler le fossé sous le feu croisé de ces deux pièces était une opération fort périlleuse; il fallait alors détruire la fausse braie et ses flancs C par du canon. Si on voulait tourner les flancs et prendre la fausse braie en D, par escalade, on était reçu par les pièces masquées du second flanc E. Enfin, ces obstacles franchis et le bastion emporté, l'assaillant trouvait encore les vieilles défenses F conservées et surélevées, dont les parties inférieures masquées par l'elévation du bastion pouvaient être munies d'artillerie ou d'arquebusiers. 2° De masquer l'artillerie destinée à battre les courtines lorsque celles-ci étaient détruites et que l'assiégeant tentait le passage du fossé pour s'emparer de la brèche. Afin d'obtenir ce résultat, les ingénieurs du XVIe siècle donnèrent, ainsi que nous l'avons vu déjà, une forte saillie aux bastions ronds sur les courtines, de manière à former un rentrant dans lequel on ménageait des embrasures de canon (69) 234. Mais et commandé par elles et les tours; il est garni d'une fausse braie destinée à défendre l'espace manquait dans les gorges A (69 bis) pour le service de l'artillerie; leur étroitesse les rendait difficiles à défendre lorsque l'ennemi, après s'être emparé du bastion, cherchait à pénétrer plus avant.


Nous avons vu comme avant l'invention des bouches à feu il était difficile d'opposer à une colonne d'assaut étroite mais profonde, se précipitant sur les chemins de ronde, un front de défenseurs assez épais pour rejeter les assaillants au dehors (fig. 16); l'artillerie à feu ouvrant dans les bastions ou courtines de larges brèches praticables, par suite de l'éboulement des terres, les colonnes d'assaut pouvaient dès lors être non-seulement profondes, mais aussi présenter un grand front; il fallait donc leur opposer un front de défenseurs d'une étendue au moins égale pour qu'il ne risquât pas d'être débordé; les gorges étroites des bastions circulaires primitifs, même bien remparées à l'intérieur, étaient facilement prises par des colonnes d'assaut dont la force d'impulsion est d'une grande puissance. On s'aperçut bientôt des inconvénients graves attachés aux gorges étroites, et au lieu de conserver pour les bastions la forme circulaire, on leur donna (70) une face B et deux cylindres C qu'on désigna sous le noms d'orillons 235.

Ces bastions enfilaient les fossés au moyen des pièces masquées derrière les orillons, mais ne se défendaient que sur la face, ne résistaient pas à des feux obliques et surtout ne se protégeaient pas les uns les autres; en effet (71) leurs feux ne pouvaient causer aucun dommage à une batterie de brèche dressée en A qui ne se trouvait battue que par la courtine.

On était encore tellement préoccupé de la défense rapprochée et de donner à chaque partie de la fortification une force qui lui fût propre (et c'était un reste de l'architecture militaire féodale du moyen âge, où chaque ouvrage, comme nous l'avons démontré, se défendait par lui-même et s'isolait) que l'on regardait comme nécessaire les fronts droits C D qui devaient détruire les batteries placées en B, réservant seulement les feux E enfilant le fossé pour le moment où l'ennemi tentait de passer le fossé et de livrer l'assaut par une brèche faite en G. Ce dernier vestige des traditions du moyen âge ne tarda pas à s'effacer, et dès le milieu du XVIe siècle on adopta généralement une forme de bastions qui donna à la fortification des places une force égale à l'attaque, jusqu'au moment où l'artillerie de siége acquit une puissance irrésistible.
Il semblerait que les ingénieurs italiens qui à la fin du XVe siècle étaient si peu avancés dans l'art de la fortification, ainsi que le témoigne Machiavel, eussent acquis une certaine supériorité sur nous à la suite des guerres des dernières années de ce siècle et du commencement du XVIe. De 1525 à 1530 San Michele fortifia une partie de la ville de Vérone, et déjà il avait donné à ses bastions une forme qui ne fut guère adoptée en France que vers le milieu du XVIe siècle 236. Quoi qu'il en soit, renonçant aux bastions plats, les ingénieurs français de la seconde moitié du XVIe siècle les construisirent avec deux faces formant un angle obtus A (72), ou formant un angle droit ou aigu B, afin de battre les abords des places par des feux croisés, en réservant des batteries casematées en C, quelquefois même à deux étages, et garanties des feux de l'assiégeant par les orillons, pour pouvoir prendre une colonne d'assaut en flanc et presque en revers, lorsque celle-ci s'élançait sur la brèche.

Dans la figure que nous donnons ici (72 bis), où se trouve représentée cette action, on reconnaîtra l'utilité des flancs masqués par des orillons: une des faces du bastion A a été détruite pour permettre l'établissement de la batterie de brèche en B; mais les pièces qui garnissent le flanc couvert de ce bastion restent encore intactes et peuvent jeter un grand désordre parmi les troupes envoyées à l'assaut, au moment du passage du fossé, si au sommet de la brèche la colonne d'attaque est arrêtée par un rempart intérieur C élevé en arrière de la courtine, d'une épaule de bastion à l'autre, et si ce rempart est flanqué de pièces d'artillerie. Nous avons figuré également le bastion remparé à la gorge, les assiégés prévoyant qu'ils ne pourront le défendre longtemps. Au lieu de remparer les gorges des bastions à la hâte, et souvent avec des moyens insuffisants, on prit le parti dès la fin du XVIe siècle, dans certains cas, de les remparer d'une manière permanente (72 bis) 237, ou d'isoler les bastions en creusant un fossé derrière la gorge, et de ne les mettre en communication avec le corps de la place que par des ponts volants ou des passages très-resserrés et pouvant être facilement barricadés (72 bis.) 138; on évitait ainsi que la prise d'un bastion n'entraînât immédiatement la reddition du corps de la place.


Si ingénieux que fussent ces expédients pour défendre les parties saillantes des fortifications, on ne tarda pas à reconnaître qu'ils avaient l'inconvénient de diviser les ouvrages, d'ôter les moyens d'accéder facilement et rapidement, du dedans de la ville, à tous les points extérieurs de la défense, tant il est vrai que les formules les plus simples sont celles qu'on adopte en dernier lieu. On laissa donc les bastions ouverts à la gorge, mais on établit entre eux, et en avant des courtines, des ouvrages isolés qui devinrent d'une grande utilité pour la défense, et qui furent souvent employés pour empêcher les approches devant des fronts faibles ou de vieilles murailles; on leur donna le nom de ravelins ou de demi-lunes lorsque ces ouvrages ne présentaient que la forme d'un petit bastion, et de tenailles si deux de ces ouvrages étaient réunis par un front (72 ter). A est un ravelin et B une tenaille. Ces ouvrages étaient déjà en usage à la fin du XVIe siècle pendant les guerres de religion; leur peu d'élévation les rendait difficiles à détruire, en même temps que leurs feux rasants produisaient un grand effet.

C'est aussi pendant le cours du XVIe siècle que l'on donna un talus prononcé aux revêtements des bastions et courtines, afin de neutraliser l'effet des boulets, car ceux-ci avaient naturellement moins de prise sur les parements, lorsqu'ils ne les frappaient pas à angle droit. Avant l'invention des bouches à feu, le talus n'existait qu'au pied des revêtements pour éloigner un peu l'assaillant et le placer verticalement sous les machicoulis des hourds; et l'on tenait au contraire à maintenir les parements verticaux pour rendre les escalades plus difficiles.
À partir du moment où les bastions accusèrent une forme nouvelle, le système de l'attaque comme celui de la défense changea complètement. Les approches durent être savamment combinées, car les feux croisés des faces des bastions enfilaient les tranchées et prenaient les batteries de siège en écharpe. On dut commencer les boyaux de tranchée à une grande distance des places, établir des premières batteries éloignées pour détruire les parapets des bastions dont les feux pouvaient bouleverser les travaux des pionniers, puis arriver peu à peu à couvert jusqu'au revers du fossé en se protégeant par des places d'armes pour garder les batteries et les tranchées contre les sorties de nuit des assiégés, et établir là sa dernière batterie pour faire la brèche. Il va sans dire que même avant l'époque où l'art de la fortification fut soumis à des formules régulières, avant les Errard de Bar-le-Duc, les Antoine Deville, les Pagan, les Vauban, les ingénieurs avaient dû abandonner les dernières traditions du moyen âge. Mais partant de cette règle que ce qui défend doit être défendu, on multipliait les obstacles, les commandements, les réduits à l'infini, et on encombrait les défenses de tant de détails, on cherchait si bien à les isoler, qu'en cas de siège la plupart devenaient inutiles, nuisibles même, et que des garnisons, sachant toujours trouver une seconde défense après que la première était détruite, une troisième après la seconde, les défendaient mollement les unes après les autres, se fiant toujours à la dernière pour résister. Machiavel, avec le sens pratique qui le caractérise, avait déjà de son temps prévu les dangers de ces complications dans la construction des ouvrages de défense, car dans son Traité de l'art de la guerre, liv. VII, il dit: «Et ici je dois donner un avis: 1° à ceux qui sont chargés de défendre une ville, c'est de ne jamais élever de bastions détachés des murs; 2° à ceux qui construisent une forteresse, c'est de ne pas établir dans son enceinte des fortifications qui servent de retraite aux troupes qui ont été repoussées des premiers retranchements. Voici le motif de mon premier avis: c'est qu'il faut toujours éviter de débuter par un mauvais succès, car alors vous inspirez de la défiance pour toutes vos autres dispositions, et vous remplissez de crainte tous ceux qui ont embrassé votre parti. Vous ne pourrez vous garantir de ce malheur en établissant des bastions hors des murailles. Comme ils seront constamment exposés à la fureur de l'artillerie, et qu'aujourd'hui de semblables fortifications ne peuvent longtemps se défendre, vous finirez par les perdre, et vous aurez ainsi préparé la cause de votre ruine. Lorsque les «Génois se révoltèrent contre le roi de France Louis XII, ils bâtirent ainsi quelques bastions sur les collines qui les environnent; et la prise de ces bastions qui furent emportés en quelques jours entraîna la perte de la ville même. Quant à ma seconde proposition, je soutiens qu'il n'y a pas de plus grand danger pour une forteresse que d'avoir des arrière-fortifications, où les troupes puissent se retirer en cas d'échec; car lorsque le soldat sait qu'il a une retraite assurée quand il aura abandonné le premier poste, il l'abandonne en effet, et fait perdre ainsi la forteresse entière. Nous en avons un exemple bien récent par la prise de la forteresse de Forli, défendue par la comtesse Catherine, contre César Borgia, fils du pape Alexandre VI, qui était venu l'attaquer avec l'armée du roi de France. Cette place était pleine de fortifications où l'on pouvait successivement trouver une retraite. Il y avait d'abord la citadelle séparée de la forteresse par un fossé qu'on passait sur un pont-levis, et cette forteresse était divisée en trois quartiers séparés les uns des autres par des fossés remplis d'eau et des ponts-levis. Borgia, ayant battu un de ces quartiers avec son artillerie, fit une brèche à la muraille que ne songea point à défendre M. de Casal, commandant de Forli. Il crut pouvoir abandonner cette brèche pour se retirer dans les autres quartiers. Mais Borgia une fois maître de cette partie de la forteresse, le fut bientôt de la forteresse tout entière, parce qu'il s'empara des ponts qui séparaient les différents quartiers. Ainsi fut prise cette place qu'on avait cru jusqu'alors inexpugnable, et qui dut sa perte à deux fautes principales de l'ingénieur qui l'avait construite: 1° Il y avait trop multiplié les défenses; 2° il n'avait pas laissé chaque quartier maître de ses ponts... 239» L'artillerie avait aussi bien changé les conditions morales de la défense que les conditions matérielles; autant au XIIIe siècle il était bon de multiplier les obstacles, de bâtir réduit sur réduit, de morceler les défenses, parce qu'il fallait attaquer et défendre pied à pied, en venir à se prendre corps à corps, autant il était dangereux, en face des puissants moyens de destruction de l'artillerie à feu, de couper les communications, d'encombrer les défenses, car le canon bouleversait ces ouvrages compliqués, les rendait inutiles, et en couvrant les défenseurs de leurs débris, les démoralisait et leur ôtait les moyens de résister avec ensemble.
Déjà dans la fortification antérieure à l'emploi des bouches à feu on avait reconnu que l'extrême division des défenses rendait le commandement difficile pour un gouverneur de place, et même pour le capitaine d'un poste; dans les défenses isolées, telles que les tours, ou donjons ou portes, on avait senti la nécessité, dès les XIe et XIIe siècles, de pratiquer dans les murs ou à travers les voûtes des conduits ou des trappes, sortes de porte-voix qui permettaient au chef du poste placé au point d'où l'on pouvait le mieux découvrir les dehors, de donner des ordres à chaque étage. Mais lorsque le fracas de l'artillerie vint s'ajouter à ses effets matériels, on comprendra combien ces moyens de communication étaient insuffisants; le canon devait donc faire adopter dans la construction des fortifications de larges dispositions, et obliger les armées assiégeantes et assiégées à renoncer à la guerre de détails.
La méthode qui consistait à fortifier les places en dehors des vieux murs avait des inconvénients: l'assiégeant battait à la fois les deux défenses, la seconde surmontant la première; il détruisait ainsi les deux obstacles, ou au moins bouleversant le premier, écrêtait le second, réduisait ses merlons en poussière, démontait à la fois les batteries inférieures et supérieures (voir la fig. 64). S'il s'emparait des défenses antérieures, il pouvait être arrêté quelque temps par l'escarpement de la vieille muraille; mais celle-ci, étant privée de ses batteries barbettes, ne présentait plus qu'une défense passive que l'on faisait sauter sans danger et sans être obligé de se couvrir. Machiavel recommandait-il aussi, de son temps déjà, d'élever en arrière des vieux murs des villes des remparts fixes avec fossé. Laissant donc subsister les vieilles murailles comme premier obstacle pour résister à un coup de main, ou pour arrêter l'ennemi quelque temps, renonçant aux boulevards extérieurs et ouvrages saillants qui se trouvaient exposés aux feux convergents des batteries de siége, et étaient promptement bouleversés, on établit quelquefois en arrière des anciens fronts qui, par leur faiblesse, devaient être choisis par l'ennemi comme point d'attaque, des remparts bastionnés, formant un ouvrage à demeure, analogue à l'ouvrage provisoire que nous avons représenté dans la fig. 57. C'est d'après ce principe qu'une partie de la ville de Metz avait été fortifiée, vers la fin du XVIe siècle, du côté de la porte Sainte-Barbe (73) 240, après la levée du siége mis par l'armée impériale. Ici les anciens murs A avec leurs lices étaient laissés tels quels; des batteries barbettes étaient seulement établies dans les anciennes lices B. L'ennemi faisant une brèche dans le front C D qui se trouvait être le plus faible puisqu'il n'était pas flanqué, traversant le fossé et arrivant dans la place d'armes E, était battu par les deux demi-bastions F G, et exposé à des feux de face et croisés. Du dehors, ce rempart, étant plus bas que la vieille muraille, se trouvait masqué, intact; ses flancs à orillons présentaient une batterie couverte et découverte enfilant le fossé.

Le mérite des ingénieurs du XVIIe siècle et de Vauban surtout, ç'a été de disposer les défenses de façon à faire converger sur le premier point attaqué et détruit par l'ennemi les feux d'un grand nombre de pièces d'artillerie, de changer ainsi au moment de l'assaut les conditions des armées assiégeantes et assiégées, de simplifier l'art de la fortification, de laisser de côté une foule d'ouvrages de détails fort ingénieux sur le papier, mais qui ne sont que gênants au moment d'un siége et coûtent fort cher. C'est ainsi que peu à peu on donna une plus grande superficie aux bastions, qu'on supprima les orillons d'un petit diamètre qui, détruits par l'artillerie des assiégeants, encombraient de leurs débris les batteries destinées à enfiler le fossé au moment de l'assaut, qu'on apporta la plus grande attention aux profils comme étant un des plus puissants moyens de retarder les travaux d'approches, qu'on donna une largeur considérable aux fossés en avant des fausses braies, qu'on remplaça les revêtements de pierre pour les parapets, par des talus en terre gazonnée, qu'on masqua les portes en les défendant par des ouvrages avancés et en les flanquant, au lieu de faire résider leur force dans leur propre construction.
Un nouveau moyen de destruction rapide des remparts était appliqué au
commencement du XVIe siècle: après avoir miné le dessous des revêtements
des défenses comme on le faisait de temps immémorial, au lieu de les
étançonner par des potelets auxquels on mettait le feu, on établissait
des fourneaux chargés de poudre à canon, et on faisait sauter ainsi des
portions considérables des terrassements et revêtements. Ce terrible
expédient déjà pratiqué dans les guerres d'Italie, outre qu'il ouvrait
de larges brèches aux assaillants, avait pour effet de démoraliser les
garnisons. Cependant on avisa bientôt au moyen de prévenir ces travaux
des assiégeants; dans les places où les fossés étaient secs on pratiqua
derrière les revêtements des remparts des galeries voûtées, qui
permettaient aux défenseurs de s'opposer aux placements des fourneaux de
mine (73 bis)
241, ou de distance en distance on creusa des puits
permanents dans le terre-plein des bastions, pour de là pousser des
rameaux de contre-mine au moment du siége, et lorsque l'on était parvenu
à reconnaître la direction des galeries des mineurs ennemis, direction
qui était indiquée par une observation attentive, au fond de ces puits,
du bruit causé par la sape. Quelquefois, encore des galeries de
contre-mine furent pratiquées sous le chemin couvert ou sous le glacis,
mais il ne paraît guère que ce dernier moyen ait été appliqué d'une
manière régulière avant l'adoption du système de la fortification
moderne.
Ce ne fut que peu à peu et à la suite de nombreux tâtonnements qu'on put arriver à des formules dans la construction des ouvrages de défenses. Pendant le cours du XVIe siècle on trouve à peu près en germes les divers systèmes adoptés depuis, mais la méthode générale fait défaut; l'unité du pouvoir monarchique pouvait seule conduire à des résultats définitifs: aussi est-il curieux d'observer comme l'art de la fortification appliqué à l'artillerie à feu suit pas à pas les progrès de la prépondérance royale sur le pouvoir féodal. Ce n'est qu'au commencement du XVIIe siècle, après les guerres religieuses sous Henri IV et Louis XIII, que les travaux de fortification des places sont tracés d'après des lois fixes, basées sur une longue observation; qu'ils abandonnent définitivement les derniers restes des anciennes traditions pour adopter des formules établies sur des calculs nouveaux. Dès lors les ingénieurs ne cessèrent de chercher la solution de ce problème: Voir l'assiégeant sans être vu, en se ménageant des feux croisés et défilés. Cette solution exacte rendrait une place parfaite et imprenable; elle est, nous le croyons du moins, encore à trouver. Nous ne pourrions, sans entrer dans de longs détails qui sortiraient de notre sujet, décrire les tentatives qui furent faites depuis le commencement du XVIIe siècle pour conduire l'art de la fortification au point où l'a laissé Vauban. Nous donnerons seulement, pour faire entrevoir les nouveaux principes sur lesquels les ingénieurs modernes allaient établir leurs systèmes, la première figure du Traité du chevalier De Ville 242. «L'exagône, dit cet auteur, est la première figure qu'on peut fortifier, le bastion demeurant angle droit; c'est pourquoi nous commencerons par celle-là, de laquelle ayant donné la méthode, on s'en servira en même façon pour toutes les autres figures régulières... (74).

On construira premièrement une figure régulière, c'est-à-dire, ayant les costez et les angles égaux; d'autant de costés qu'on voudra que la figure ait des bastions... Dans cette figure nous avons mis la moitié d'un exagône, auquel ayant montré comme il faut faire un bastion, on fera de même sur tous les autres angles. Soit l'angle R H L de l'exagône sur lequel il faut faire un bastion. On divisera un des côtés H L en trois parties égales, et chacune d'elles en deux, qui soient H F et H Q de l'autre..., qui seront les demi-gorges des bastions; et sur les points F et Q soient élevés perpendiculairement les flancs F E, Q M égaux aux demi-gorges; d'une extrémité de flanc à l'autre soit mené E M, soit prolongé le demi-diamètre S H..., et soit fait I A égal à I E; après soit mené A E, A M qui feront le bastion Q M A E F rectangle, et prendra autant de défense de la courtine qui se peut, laquelle on cognoîtra où elle commence si on prolonge les faces A E, A M, jusqu'à ce qu'elles rencontrent icelle courtine en B et en K, la ligne de défense sera A C...
On remarquera que cette méthode ne peut servir aux places de moins de six bastions, parce que les flancs et les gorges demeurant de juste grandeur, le bastion vient angle aigu. Quant aux autres parties on fera la largeur du fossé ou contre-escarpe V X, X Z parallèle à la face du bastion, à la largeur distante d'icelle autant que le flanc est long...»
De Ville admet les orillons ou épaules aux flancs des bastions, mais il préfère les orillons rectangulaires aux circulaires. Il joint au plan (74) le profil de la fortification (74 bis).
«Soit menée à plaisir, ajoute de Ville, la ligne C V, et sur icelle soit pris C D, cinq pas, sur le point D, soit eslevée la perpendiculaire D F, égale à C D, et soit tiré C F, qui sera la montée du rempart: du point F, soit mené F G, de quinze pas, parallèle à C V, et sur le point G soit eslevé G H d'un pas, et soit mené F H, qui sera le plan du rempart avec sa pente vers la place. H I sera fait de quatre pieds, et G L sera de cinq pas l'époisseur du parapet, K L sera tracé verticalement, mais K doit estre deux pas plus haussé que la ligne C V; après sera mené K N, le talus du parapet, N Y le chemin des rondes sera d'environ deux pas, et M moins de demi pas d'epesseur dont sa hauteur M Y sera de sept ou huit pieds; par après M P soit menée perpendiculaire sur C V, de façon qu'elle soit de cinq pas au-dessous de O; c'est-à-dire au-dessous du niveau de la campagne, qui est la profondeur du fossé. P Q est le talus de la muraille qui doit estre d'un pas et demi, et O sera le cordon un peu plus haut que l'esplanade: la largeur du fossé Q R aux grandes places sera de vingt-six pas, aux autres vingt et un pas; R S soit de deux pas et demi, le talus de la contrescarpe, sa hauteur S T cinq pas; le corridor (chemin couvert) T V qui sera sur la ligne C V aura de largeur cinq à six pas, l'esplanade (le glacis) sera haute par-dessus le corridor d'un pas et demi V X, et laquelle s'ira perdant à quinze ou vingt pas en la campagne... et sera fait le profil: desquels il y en a de diverses sortes...; les pas s'entendent de cinq pieds de roy...»
De Ville recommande les fausses braies en avant du rempart comme donnant beaucoup de force aux places, en ce qu'étant masquées par le profil du chemin couvert, elles retardent l'établissement des batteries de brèche et battent le débouchement des boyaux de tranchée dans le fossé: il les fait en terre (75) et ainsi que l'indique le profil, en A.

Il en était alors de la fortification comme de toutes les autres branches de l'art de l'architecture: on se passionnait pour les formules, chaque ingénieur apportait son système; et si nous avons parlé du chevalier de Ville c'est que ses méthodes sont pratiques, et résultent de l'expérience. Mais Vauban reconnut que les bastions construits par les ingénieurs qui l'avaient précédé étaient trop petits, leurs flancs trop courts et faibles, les demi-gorges trop étroites, les fossés mal alignés, et les chemins couverts d'une trop faible largeur, les places d'armes petites, et les ouvrages extérieurs insuffisants. C'est à lui et à M. de Coeborn que l'on dut des systèmes de fortification bien supérieurs à ceux qui les ont précédés. Toutefois, de l'aveu même de ces deux hommes célèbres, et malgré leurs efforts, l'attaque resta supérieure à la défense.
Note 126: (retour) Cæs. Bell. gall. lib. VII, cap. XXIII.
Note 127: (retour) Ces boucliers, en forme de portion de cylindre, étaient réservés pour ce genre d'attaqne.
Note 128: (retour) Godesc. Stewechii Conject. ad Sexti Jul. Frontini lib. Stratagem. Lugd. Batav. 1592, in-12, p. 465.
Note 129: (retour) Voy. Hist de l'archit. en Belgique, par A. G, B. Schayes, t. 1, p. 203 (Bruxelles).
Note 130: (retour) Végèce, lib. IV. cap. III, tit. Quemadmodunt muris terra jungatur egesta.
Note 131: (retour) Annales de la ville de Toulouse, Paris, 1771, t. 1, p. 436.
Note 132: (retour) Ces tours ont été dénaturées en partie au commencement du XIIe siècle et après la prise de Carcassonne par l'armée de saint Louis. On retrouve cependant sur divers points traces de ces interruptions entre la courtine et les portes des tours.
Note 133: (retour) Cette poterne existe encore placée ainsi à côté d'une tour et protégée par son flanc (voy. POTERNE).
Note 134: (retour) Voir le plan de Rome.
Note 135: (retour) Capdhol, capitol, en langue d'oc.
Note 136: (retour) Haimonis Comment. in Ezech., Bibl. Imp., manusc. du Xe siècle, F. de Saint-Germain, latin, 303.
Note 137: (retour) Bible, n°6, t. III, Bibl. Imp., anc. F. latin, manusc. du Xe au XIe siècle. Nous devons ces deux calques à l'obligeance de M. A. Darcel.
Note 138: (retour) «.. Figurez un siége en forme contre elle, des forts. des levées de terre, une armée qui l'environne, et des machines de guerre autour de ses murs... Prenez aussi une plaque de fer, et vous la mettrez comme un mur de fer entre vous et la ville: puis regardez la ville d'un visage ferme...,» etc. (Ezéchiel, chap. IV, vers. 2 et 3.) Ezéchiel tient en effet la plaque de fer, et autour de lui sont des béliers.
Note 139: (retour) «Ung soir advint, que les Turcs amenerent ung engin, qu'ils appelloient la Pierriere, un terrible engin à mal faire: et le misdrent vis-à-vis les chaz-chateilz, que messire Gaultier de Curel et moy guettions la nuyt. Par lequel engin ilz nous gettoient le feu gregois à planté, qui estoit la plus orrible chose, que onques jamés je veisse... La maniere du feu gregois estoit telle, qu'il venoit bien devant aussi gros que ung tonneau, et de longueur la queuë enduroit bien comme d'une demye canne de quatre pans. Il faisoit tel bruit à venir, qu'il sembloit que ce fust fouldre qui cheust du ciel, et me sembloit d'ung grant dragon vollant par l'air, et gettoit si grant clarté, qu'il faisoit aussi cler dedans nostre ost comme le jour, tant y avoit grant flamme de feu. Trois foys cette nuytée nous getterent ledit feu gregois o ladite perriere, et quatre foiz avec l'arbaleste à tour.» (Joinville, Histoire de saint Louys, édit. Du Cauge, 1668.)
Note 140: (retour) Hist. de la croisade contre les hérétiques albigeois, écrite en vers provençaux, publ. par M. C. Fauriel. Coll. de docum. inéd. sur l'Hist. de France, 1re série, et le manusc. de la Bibl. Imp. (fonds La Vallière, n°91). Ce manuscrit est d'un auteur contemporain, témoin oculaire de la plupart des faits qu'il raconte; l'exactitude des détails donne à cet ouvrage un grand intérèt; nous signalons à l'attention de nos lecteurs la description de la gate et de sa marche par petits sauts «entrel mur el castel ela venc de sautetz,» qui peint avec énergie le trajet de ces lourdes charpentes roulantes s'avançant par soubresauts. Pour insister sur ces détails, il faut avoir vu.
Note 141: (retour) Le sire de Joinville, Hist. du roi saint Louys, édit. 1668. Du Cange, p. 37. Dans ses observations, p. 69, Du Cange explique ainsi ce passage: «Le roy saint Louys fit donc faire deux beffrois, ou tours de bois pour garder ceux qui travailloient à la chaussée: et ces beffrois étoient appellés chats-chateils, c'est-à-dire cati castellati, parce qu'au dessus de ces chats, il y avoit des espèces de châteaux. Car ce n'étoit pas de simples galeries, telles qu'estoient les chats, mais des galeries qui étoient défendues par des tours et des beffrois. Saint Louys en l'épistre de sa prise, parlant de cette chaussée: Saraceni autem è contra totis resistentes conatibus machinis nostris quas erexeramus, ibidem machinas opposuerunt quamplures, quibus castela nostra lignea, quæ super passum collocari feceramus eumdem, cunquassata lapidibus et confracta cumbusserunt totaliter igne græco... Et je crois que l'étage inférieur de ces tours (chateils) estoit à usage de chats et galeries, à cause de quoy les chats de cette sorte estoient appellés chas chatels, c'est-à-dire comme je viens de le remarquer, chats fortifiés de châteaux. L'auteur qui a décrit le siége qui fut mis devant Zara par les Vénitiens en l'an 1346, lib. II, c. VI apud Joan. Lucium de regno Dalmat., nous représente ainsi cette espèce de chat: aliud erat hoc ingenium, unus cattus ligneus satis debilis erat confectionis, quem machinæ jadræ sæpius jactando penetrabant, in quo erat constructa quædam eminens turris duorum propugnaculorum. Ipsam duæ maximæ carrucæ supportabant. Et parce que ces machines n'estoient pas de simples chats, elles furent nommées chats-faux, qui avoient figure de beffrois et de tours, et néanmoins estoient à usage de chats. Et c'est ainsi que l'on doit entendre ce passage de Froissard. Le lendemain vindrent deux maistres engigneurs au duc de Normandie, qui dirent que s'on leur vouloit livrer du bois et ouvriers, ils feroient quatre chaffaux (quelques exemplaires ont chats) que l'on meneroit aus murs du chastel, et seroient si hauts qu'ils surmonteroient les murs. D'où vient le mot d'Eschaffaux, parmi nous, pour signifier un plancher haut élevé.» Voy. le Recueil de Bourgogne, de M. Perard, p. 395.
Note 142: (retour) Voy. Études sur le passé et l'avenir de l'artillerie, par le prince Louis-Napoléon Bonaparte, présid. de la Républ., t. II. Cet ouvrage, plein de recherches savantes, est certainement le plus complet de tous ceux qui s'occupent de l'artillerie ancienne; voici la description que donne du trébuchet l'illustre auteur: «Il consistait en une poutre appelée verge ou flèche, tournant autour d'un axe horizontal porté sur des montants. À l'une des extrémités de la verge on fixait un contre-poids, et à l'autre une fronde qui contenait le projectile. Pour bander la machine, c'est-à-dire pour abaisser la verge, on se servait d'un treuil. La fronde était la partie la plus importante de la machine, et d'après les expériences et les calculs que le colonel Dufour a insérés dans son intéressant mémoire sur l'artillerie des anciens (Genève, 1840), cette fronde en augmentait tellement la portée qu'elle faisait plus que la doubler, c'est-à-dire que si la flèche eût été terminée en cuilleron, comme cela avait lieu dans certaines machines de jet en usage dans l'antiquité, le projectile, toutes choses égales d'ailleurs, eût été lancé moitié moins loin qu'avec la fronde.«Les expériences que nous avons faites en petit nous ont donné les mêmes résultats.»
Une machine de ce genre fut exécutée en grand en 1850, d'après les ordres du président de la République et essayée à Vincennes. La flèche avait 10m,30, le contre-poids fut porté à 4500 kilog., et après quelques tâtonnements on lança un boulet de 24 à la distance de 175 mètres, une bombe de 0m,22 remplie de terre à 145 mètres, et des bombes de 0m,27 et 0m,32 remplies de terre à 120 mètres, (Voy le rapport adressé au ministre de la guerre par le capitaine Favé, t. II, p. 38 et suiv,)
Note 143: (retour) Voy. Biblioth. de l'école des Chartes, t. VII, p. 363, rapport publié par M. Douët d'Arcq. Ce texte est reproduit dans les Études sur l'artillerie, par le prince Louis-Napoléon Bonaparte, présid. de la Républ., ouvrage déjà cité plus haut, et auquel nous empruntons la traduction fidèle que nous donnons ici.
Note 144: (retour) Saint Louis et Philippe le Hardi exécutèrent d'immenses travaux de fortification à Carcassonne, sur lesquels nous aurons à revenir.
Note 144a: (retour) C'était Le moulin du roi probablement, situé entre la barbacane du château et l'Aude
Note 145: (retour) À l'ouest, voy. fig. 9.
Note 146: (retour) «Postea dressarunt mangonellum quemdam ante nostram barbacanam, et nos contra illum statim dressavimus quamdam petrariam turquesiam valde bonam, infra...».
Note 147: (retour) À l'est, voy. fig. 9.
Note 148: (retour) Au sud, voy. fig. 9. On appelait lices une muraille extérieure ou une palissade de bois que l'on établissait en dehors des murailles et qui formait une sorte de chemin couvert: presque toujours un fossé peu profond protégeait les lices, et quelquefois un second fossé se trouvait entre elles et les murs. Par extension on donna le nom de lices aux espaces compris entre les palissades et les murs de la place, et aux enceintes extérieures même lorsqu'elles furent plus tard construites en maçonnerie et flanquées de tours. On appelait encore lices les palissades dont on entourait les camps: «Liciæ, castrorum aut urbium repagula.» Epist. anonymi de capta urbe CP. Ann. 1204, apud Marten., t. I Anecd., col. 786: «Exercitum nostrum grossis palis circumcinximus et liciis.» Will. Guiart ms.:... Là tendent les tentes faitices,
Puis environnent l'ost de lices.
Le Roman de Garin:
Devant les lices commencent li hustins.
Guill. archiep. Tyr. continuata Hist. gallico idiomate, t. V. Ampliss. Collect. Marten., col. 620: «Car quant li chrestiens vindrent devant Alixandre, le baillif les fist herbergier, et faire bones lices entor eux,» etc. (Du Cange, Gloss.)
Note 149: (retour) À l'angle sud-ouest, voy. fig. 9.
Note 150: (retour) Quelque ouvrage avancé de la fortification des Visigoths probablement.
Note 151: (retour) «Bretachiæ, castella lignea, quibus castra et oppida muniebantur, gallice bretesques, breteques, breteches.» (Du Cange, Gloss.)La ville fit mult richement garnir,
Les fossés fere, et les murs enforcir,
Les bretesches drecier et esbaudir. (Le Roman de Garin.)
-As breteches monterent, et au mur quernelé...
-Les breteches garnir, et les pertus garder.
-Entour ont bretesches levées,
Bien planchiées et quernelés. (Le Roman de Vacces )
...(Voy. BRETÈCHE.) Les bretèches étaient souvent entendues comme hourds (Voy. ce mot). Les bretèches dont parle le sénéchal Guillaume des Ormes dans son rapport adressé à la reine Blanche, étaient des ouvrages provisoires que l'on élevait derrière les palis pour battre les assaillants lorsqu'ils avaient pu faire brèche. Nous avons exprimé (figure 10) l'action dont parle le sénéchal de Carcassonne.
Note 152: (retour) Archières, fentes étroites et longues pratiquées dans les maçonneries des tours et courtines, ou dans les hourds et palissades pour envoyer des flèches ou carreaux aux assaillants (voy. MEURTRIÈRE).
Note 153: (retour) Au nord, voy. fig. 9.
Note 154: (retour) Ce passage, ainsi que tous ceux qui précèdent, décrivant les mines des assiégeants, prouve clairement qu'alors la cité de Carcassonne était munie d'une double enceinte: en effet, les assiégeants passent ici dessous la première enceinte pour miner le rempart intérieur.
Note 155: (retour) Ainsi, lorsque les assiégés avaient connaissance du travail du mineur, ils élevaient des palissades au-dessus et au-dessous de l'issue présumée de la galerie, afin de prendre les assaillants entre des clôtures qu'ils étaient obligés de forcer pour aller plus en avant.
Note 156: (retour) La principale barbacane, celle située du côté de l'Aude à l'ouest, voy. fig. 9.
Note 157: (retour) En effet il fallait descendre du château situé en haut de la colline à la barbacane commandant le faubourg en bas de l'escarpement. (Voy. le plan de la cité de Carcassonne après le siége de 1240; fig. 11)
Note 158: (retour).........
Pero ilh de la vila lor an tals gens tendutz
Quel capdolh el miracle (mirador, tour du guet) son aisi combatutz
Que lo fust e la peira e lo ploms nes fondutz
E a la santa Pasca es lo bossos tendutz
Ques be loncs e ferratz e adreitz e agutz
Tant fer trenca e briza que lo murs es fondutz
Quen mantas de maneiras nals cairos abatutz
E cels dins can o viron no son pas esperdutz
Ans feiron latz de corda ques ab lengenh tendutz
Ab quel cap del bosso fo pres e retengutz
Don tuit cels de Belcaire fortment son irascutz
Tro que venc lenginaire per que lor fo tendutz
E de dins en la roca na intra descondutz
Que cuiderol mur fendre ab los pics esmolutz
E cels del capdolh preson cant los i an saubutz
Foc e solpre e estopa ins en un drap cozuts
E an leus ab cadena per lo mur dessendutz
E can lo focs salumpna et solpres es fondutz
La sabors e la flama los a si enbegutz
Cus dels noi pot remandre ni noi es remazutz
E pois ab las peireiras son saisi defendutz
Que debrizan e trencan las barreiras els futz...
(Hist. de la croisade contre les Albigeois, docum. inéd. sur l'Hist. de France, Ire série, vers 1184 et suiv.)
Note 159: (retour) Balestas tornissus (vers 6343 et suiv.). Probablement des arbalètes à rouet.
Note 160: (retour) Cadafuls. C'étaient probablement des bretèches (voir fig. 10.)
Note 161: (retour) Corseras. Hourds probablement, chemins de ronde, coursières.
Note 162: (retour) Semals. Les baquets de bois dans lesquels on transporte le raisin en temps de vendange se nomment encore aujourd'hui semals, mais plus fréquemment comporte. Ce sont des cuves ovales munies de manches de bois, sous lesquels on fait passer deux bâtons en guise de brancard.
Note 163: (retour) Bocals: Entrée des lices.
Note 164: (retour) Les faubourgs qui entouraient la cité de Carcassonne étaient clos de murs et de palissades au moment du siége décrit par le sénéchal Guillaume des Ormes.
Note 165: (retour) Entre autres la tour dite du Trésau et la porte Narbonnaise (voy. PORTE, TOUR).
Note 166: (retour) Le plan que nous donnons ici est à l'échelle de 1 centimètre pour 15 mètres. La barbacane de Carcassonne a été détruite en 1821 pour construire un moulin; ses fondations seules existent, mais ses rampes sont en grande partie conservées, surtout dans la partie voisine du château qui est la plus intéressante.
Note 167: (retour) Hourd, hour. (Voy. Ce mot pour les détails de la construction de ce genre de défense.)
Note 168: (retour) Le château de la cité de Carcassonne est du commencement du XIIe siècle, et toutes ses tours et courtines étaient bien munies de hourds qui devaient être très-saillants d'après les précautions prises pour empêcher la bascule des bois des planchers (voy. HOURD).
Note 169: (retour) L'exemple que nous donnons ici est tiré de l'enceinte intérieure de la cité de Carcassonne, partie bâtie par Philippe le Hardi. Le plan des tours est pris au niveau de la courtine; ce sont les tours dites de Daréja et Saint-Laurent, côté sud.
Note 170: (retour) Comme beaucoup d'autres, ce dicton n'est pas absolument vrai cependant, et bien des exemples viennent lui donner tort. Il est certain que, même aujourd'hui, une place défendue par un commandant habile, ingénieux, et dont le coup d'oeil est prompt, peut tenir beaucoup plus longtemps que celle qui sera défendue par un homme routinier et qui ne trouvera pas dans son intelligence des ressources nouvelles à chaque phase de l'attaque. Peut-être, depuis que la guerre de siége est devenue une science, une sorte de formule, a-t-on fait trop bon marché de toutes ces ressources de détail qui étaient employées encore au XVIe siècle. Il n'est pas douteux que les études archéologiques qui ont eu sur les autres branches de l'architecture une si grande influence, réagiront également sur l'architecture militaire; car, à notre avis (et notre opinion est partagée par des personnages compétents), s'il n'y a, dans la forme de la fortification du moyen âge, rien qui soit bon à prendre aujourd'hui, en face des moyens puissants de l'artillerie, il n'en est pas de même dans son esprit et dans son principe.
Note 171: (retour) Histoire de la civilisation en France, par M. Guizot. 2e part. 1re leçon.
Note 172 (retour) En I était la maison de Saint-Lazare. En K la maladrerie. En M et N les halles. En O le grand Châtelet qui défendait l'entrée de la cité au nord, en P le petit Châtelet qui gardait le Petit-Pont, au sud. En E Notre-Dame et l'évêché. En D l'ancien Palais. En F Sainte-Geneviève et le palais de Clovis, sur la montagne (Descript. de Paris, par N. de Fer. 1724. Diss. archéol. sur les anciennes enceintes de Paris, par Bonnardot. 1853).
Note 173: (retour) Le nombre des châteaux qui couvraient le sol de la France, surtout sur les frontières des provinces, est incalculable. Il n'était guère de village, de bourgade ou de petite ville qui n'en possédât au moins un, sans compter les châteaux isolés, les postes et les tours qui, de distance en distance, se rencontraient sur les cours des rivières, dans les vallées servant de passages, et dans les marches. Dès les premiers temps de l'organisation féodale, les seigneurs, les villes, les évêques, les abbés avaient dû dans maintes circonstances recourir à l'autorité suzeraine des rois de France pour interdire la construction de nouveaux châteaux préjudiciables à leurs intérêts et «à ceux de la patrie.» (Les Olim.) D'un autre côté, malgré la défense de ses vassaux, le roi de France, par acte du parlement, autorisait la construction de châteaux forts, afin d'amoindrir la puissance presque rivale de ses grands vassaux. «Cum abbas et conventus Dalonensis associassent dominum regem ad quemdam locum qui dicitur Tauriacus, pro quadam bastida ibidem construenda, et dominus Garnerius de Castro-Novo, miles, et vicecomes Turenne se opponerent, et dicerunt dictam bastidam absque eorum prejudicio non posse fieri: Auditis eorum contradicionibus et racionibus, pronunciatum fuit quod dicta bastida ibidem fieret et remaneret.» (Les Olim, édit. du Min. de l'lnstr. publ. Philippe III, 1279, t. II, p. 147.)
Note 174: (retour) Nous renvoyons nos lecteurs au mot CHÂTEAU. Nous donnons en détail, dans cet article important, les diverses dispositions et le classement de ces demeures féodales, ainsi que les moyens particuliers de défense, de secours, etc.
Note 175: (retour) «Philippe le Hardi, parti de Paris au mois de février 1272 à la tête d'une armée nombreuse, pour aller prendre possession du comté de Toulouse, et pour châtier en passant la révolte de Roger Bernard, comte de Foix, s'arrêta à Marmande. Là, il signa, dans le mois de mai, avec Guillaume Boccanegra, qui l'avait joint dans cette ville, un traité par lequel celui-ci s'engageait à consacrer 5000 liv. tournois (88,500 fr.) à la construction des remparts d'Aigues-Mortes, moyennant l'abandon que le roi lui faisait, à titre de fief, ainsi qu'à ses descendants, de la moitié des droits domaniaux auxquels la ville et le port étaient assujettis. Les lettres patentes données à cet effet furent contre-signées, pour les rendre plus authentiques, par les grands officiers de la couronne. En même temps, et pour contribuer aux mêmes dépenses, Philippe ordonna qu'on lèverait, outre le denier pour livre déjà établi, un quarantième sur toutes les marchandises qui entreraient à Aigues-Mortes par terre ou par mer» (Hist. géner. du Languedoc. Reg. 30 du trésor des chartes, n° 441, Hist. d'Aigues-Mortes, par F. Em. di Pietro, 1849.)
Note 176: (retour) Le plan que nous donnons ici est celui de l'angle ouest de la double enceinte de la cité de Carcassonne, bâti par Philippe le Hardi.
Note 177: (retour) Cet angle saillant (26 bis), qui présente clairement la disposition signalée ici, est une des défenses du XIIIe siècle dépendant du château de Falaise (voy. CHÂTEAU).
Note 178: (retour) Entrée du château de Montargis du côté de la route de Paris à Orléans. (Ducerceau, Chateaux royaux de France.)
Note 179: (retour) Manusc. 8320, t. I, in-fol., commencement du XVe siècle. Cette vignette, dont nous donnons ici une partie, accompagne le chap. XLVI de ce manuscrit intitulé: Comment le conte de Haynault print et detruit Aubenton en terasse. C'est le chap. CII de l'édit. des Chroniques de Froissart du Panthéon littéraire. «...Si commença l'assaut grand et fort durement, et s'employèrent arbalétriers de dedans et dehors à traire moult vigoureusement; par lequel trait il y en eut moult de blessés des assaillans et des défendans. Le comte de Haynault et sa route, où moult avoit d'apperts chevaliers et écuyers, vinrent jusques aux barrières de l'une des portes... Là eut un moult grand et dur assaut. Sur le pont mêmement, à la porte vers Chimay, étoient messire Jean de Beaumont et messire Jean de la Bove. Là eut très grand assaut et forte escarmouche, et convint les François retraire dedans la porte; car ils perdirent leurs barrières, et les conquirent les Hainuyers et le pont aussi. Là eut dure escarmouche forte, et grand assaut et félonneux, car ceux qui étoient montés sur la porte jetoient bois et mairein contre val, et pots pleins de chaux, et grand foison de pierres et de cailloux, dont ils navroient et mes-haignoient gens, s'ils n'étoient fort armés...»
Note 180: (retour) À Carcassonne du côté du midi les remparts de la seconde enceinte étaient munis de ces ouvrages de bois en temps de guerre, les traces en sont parfaitement conservées de la porte Narbonnaise à la tour du coin à l'ouest (voy fig. 11).
Note 181: (retour) Vignette accompagnant le chap. CXXV, intitulé: «Comment le roy David d'Escoce (David Bruce d'Écosse) vint à tout grand ost devant le neuf chasteau sur Thin.»
Note 182: (retour) On a vu plus haut que les remparts d'Aigues-Mortes sont également, sur un front, flanqués de tours carrées, et nous ne devons pas oublier qu'ils furent élevés par le Génois Boccanegra. Cependant l'enceinte de Paris, rebâtie sous Charles V, était également flanquée de tours barlongues, mais l'enceinte de Paris ne passa jamais pour très-forte. Les tours carrées appartiennent plutôt au midi qu'au nord de la France; les remparts de Cahors, qui datent des XIIe, XIIIe et XIVe siècles, présentent des tours carrées d'une belle disposition défensive; les remparts des villes du comtat Venaissin sont garnis généralement de tours carrées qui datent du XIVe siècle. Ainsi que la plupart des villes de Provence et des bords du Rhône, Orange était munie de tours carrées construites à la fin du XVe siècle. Les Normands et les Poitevins, jusqu'au moment de la réunion de ces provinces au domaine royal, c'est-à-dire jusqu'au commencement du XIIIe siècle, paraissent avoir, de préférence, adopté la forme carrée dans la construction de leurs tours et donjons. La plupart des anciens châteaux bâtis par les Normands en Angleterre et en Sicile, présentent, des défenses rectangulaires (voy, TOUR, DONJON).
Note 183: (retour) Escalade au moyen d'échelles.
Note 184: (retour) Nous donnons ici le plan du château de Vincennes, parce qu'on peut considérer cette forteresse plutôt comme une grande place d'armes, une enceinte fortifiée, que comme un château dans l'ancienne acception du mot. Nous y revenons, du reste, dans les mots CHÂTEAU, DONJON. En E sont les deux seules entrées de l'enceinte qui étaient défendues par des ouvrages avancés et deux hautes tours barlongues; en A est le donjon entouré d'un mur d'enceinte particulier, d'une chemise B. Un très-large fossé revêtu C protége ce donjon. En K sont les fossés de l'enceinte, dont la contrescarpe est également revêtue et l'a toujours été. F est la chapelle et G le trésor; D le pont qui donne accès au donjon, H et I des logements et écuries (voy. Vues des maisons royales et villes, Israël Sylvestre, in-f°. Nous n'avons extrait du plan donné par Israël que les constructions antérieures au XVIe siècle; il devait, pendant les XIVe et XVe siècles, en exister beaucoup d'autres, mais nous n'en connaissons plus ni la place ni la forme).
Note 185: (retour) Le petit côté du parallélogramme de l'enceinte, compris la saillie des tours, a 212 mètres.
Note 186: (retour) «Il n'est nul home, tant fut présent à celle journée, ni eut bon loisir d'aviser et imaginer toute la besogne ainsi qu'elle alla, qui en sçut ni put imaginer, ni recorder la vérité, espécialement de la partie des François, tant y eut povre arroy et ordonnance eu leurs conrois; et ce que j'en sais, je l'ai sçu le plus par les Anglois, qui imaginèrent bien leur convenant, et aussi par les gens de messire Iean de Haynaut, qui fut toujours de-lez le roy de France. Les Anglois qui ordonnés étoient en trois batailles, et qui séoient jus à terre tout bellement, sitôt qu'ils virent les François approcher, ils se levèrent moult ordonnément, sans nul effroi, et se rangèrent en leurs batailles (divisions), celle du prince tout devant, leurs archers mis en manière d'une herse (forment une ligne dentelée de manière à ne pas se gêner les uns les autres pendant le tir), «et les gens d'armes au fond de la bataille. Le conte de Narhantonne et le conte d'Arondel et leur bataille, qui faisoient la seconde, se tenoient sur aile bien ordonnément, et avisés et pourvus pour conforter le prince, si besoin étoit. Vous devez savoir que ces seigneurs, rois, ducs, contes, barons françois, ne vinrent mie jusques là tous ensemble, mais l'un devant, l'autre derrière, sans arroy et sans ordonnance. Quand le roi Philippe vint jusques sur la place où les Anglois étoient près de là arrêtés et ordonnés, et il les vist, le sang lui mua, car il les héoit; et ne se fut adonc nullement réfréné ni abstenu d'eux combattre, et dit à ses mareschaux: «Faites passer nos Gennevois devant et commencer la bataille, au nom de Dieu et de monseigneur saint Denys.» Là avoit de cesdits Gennevois arbalétriers, environ quinze mille qui eussent eu aussi cher néant que commencer adonc la bataille; car ils étoient durement las et travaillés d'aller à pied ce jour plus de six lieues, tous armés, et de leurs arbalètres porter; et dirent adonc à leurs connétables qu'ils n'étoient mie adonc ordonnés de faire grand exploit de bataille; ces paroles volèrent jusques au conte d'Alençon, qui en fut durement courroucé et dit: «On se doit bien charger de telle ribaudaille qui faillent au besoin...»...Quand les Gennevois furent tous recueillis et mis ensemble, et ils durent approcher leurs ennemis, ils commencèrent à crier si très-haut que ce fut merveilles, et le firent pour ébahir les Anglois: mais les Anglois se tinrent tous cois, ni onques n'en firent semblant. Secondement encore crièrent eux aussi, et puis allèrent un petit pas en avant: et les Anglois restoient tous cois, sans eux mouvoir de leur pas. Tiercement encore crièrent moult haut et moult clair, et passèrent avant, et tendirent leurs arbalètres et commencèrent à traire. Et ces archers d'Angleterre, quand ils virent cette ordonnance, passèrent un pas en avant, et puis firent voler ces sagettes de grand'façon, qui entrèrent et descendirent si ouniement sur les Gennevois que ce sembloit neige. Les Gennevois, qui n'avoient pas appris à trouver tels archers qui sont ceux d'Angleterre, quand ils sentirent ces sagettes qui leur perçoient bras, têtes et ban-lèvres (le visage), furent tantost déconfits; et coupèrent les plusieurs les cordes de leurs arcs et les aucuns les jetoient jus: si se mirent ainsi au retour.
Entre eux et les François avoit une grand'-haie de gens d'armes, montés et parés moult richement, qui regardoient le convenant des Gennevois; si que quand ils cuidèrent retourner, ils ne purent, car le roy de France, par grand mautalent, quand il vit leur povre arroy, et qu'ils déconfisoient ainsi, commanda et dit: «Or tôt, tuez toute cette ribaudaille, car ils nous empêchent la voie sans raison.» Là vissiez gens d'armes en tous lez entre eux férir et frapper sur eux, et les plusieurs trébucher et cheoir parmi eux, qui onques ne se relevèrent. Et toujours traioient les Anglois en la plus grand'presse, qui rien ne perdoit de leur trait; car ils empalloient et fesoient parmi le corps ou parmi les membres gens et chevaux qui là chéoient et trébuchoient à grand meschef, et ne pouvoient être relevés, si ce n'était par force et grand'aide de gens. Ainsi se commença la bataille entre Broye et Crécy en Ponthieu, ce samedi à heure de vespres.» (Froissart, Bataille de Crecy, ch. 287.)
Note 187: (retour) Ainsi nommés parce qu'ils portaient une casaque de maille appelée brigantine.
Note 188: (retour) Voy. Étud. sur le passé et l'avenir de l'artillerie, par le P. Napoléon-Louis Bonaparte, t. Ier, p. 16 et suiv.
Note 189: (retour) À Crécy.
Note 190: (retour) Fils de Philippe de Valois, le roi Jean, pris à Poitiers.
Note 191: (retour) La suite de la narration indiqne que ces kas étaient des beffrois ou chas-chateils.
Note 192: (retour) Conformément au projet.
Note 193: (retour) Engin à contre-poids propre à lancer de grosses pierres.
Note 194: (retour) Froissart, chap. 262, édit. Buchon.
Note 195: (retour) De chaume.
Note 196: (retour) Contre leurs attaques.
Note 197: (retour) Froissart, ch. 318, édit. Buchon.
Note 198: (retour) Le récit de Froissart n'est pas conforme à la lettre du roi, d'après ce chroniqueur, le roi Édouard aurait refusé le cartel de Philippe. Disant qu'il n'avait qu'à venir le trouver dans son camp.
Note 199: (retour) Froissart, chap, 324, édit, Buchon.
Note 200: (retour) Nulle place forte ne résistait à du Guesclin; il savait entraîner ses soldats, et prenait presque toutes les villes et châteaux en brusquant les attaques. Il avait compris que les fortifications de son temps ne pouvaient résister à une attaque conduite sans hésitations, avec vigueur et promptitude. Il donnait l'assaut en jetant un grand nombre de soldats braves et bien armés, munis de fascines et d'échelles, sur un point, les faisait appuyer par de nombreux arbalétriers et archers couverts, et formant une colonne d'attaque d'hommes dévoués, il perdait peu de monde en agissant avec vigueur et promptitude. Au siége de Gingamp:«Des arbres et de boiz et de buissons ramez
Ont les fiers assaillants rempliz les grans fossez;
En .II. lieux ou en plus est de merrien rasez.
À la porte est venus Bertran li alosez,
Et crioit hault: «Guesclin! or tost lassus montez!
Il convient que je soie là-dedens ostelez.»
Eschielles ont drécies comme fiers et osez;
Là véissez monter celle gens bacelez
Et porter sur leur chief grans huis, qui sont bendez,
Fenestres et escus qui estoient nervez,
Pour la doubte des pierres qui giétent à tous lez
Cilz qui furent dedens furent espoantez:
Aux crénaux ne s'osoient amonstrer, ce créez,
Pour le trait qui venoit, qui doit estre doubtez
Li chastelains estoit en on donjon montez,
Et regarde assaillir ces bourjois alosez,
Qui d'assaillir estoient tellement eschaufez
Qu'il ne doubtent la mort la monte de .II. dez.»
(Chronique de Bertrand du Guesclin, vers 3149 et suiv.)
Du Guesclin n'employait pas ces tours mobiles, ces moyens lents, dispendieux et difficiles d'attaque; il ne se servait guère que des engins offensifs; il employait la mine, la sape, et c'était toujours avec cette activité, cette promptitude, cette abondance de ressources et ce soin dans les menus détails, qui caractérisent les grands capitaines.
Il investit le donjon de Meulan:
«Li chastelains estoit en sa tour demourant:
Si fort estoit la tour qui n'aloit rien doubtant.
Bien pourvéu furent en a ou tamps de devant,
De pain, de char salée et de bon vin friant
Pour vivre .XV. mois ou plus en .I. tenant.
. . . . . . . . . . . . . .
Bertran en est alez au chastelain parler,
Et li requist la tour, qui li veille livrer,
Et qui la rende au duc, qui tant fait à loer.
«Tout sauvement, dit-il, je vous lerai aler.»
Et dist li chastelains: «Foi que doi S. Omer!
Ainçois qu'en ceste tour vous puissiez hosteler,
Vous conviendra, je croi à prendre à haut voler.
. . . . . . . . . . . .
Bertran du Guesclin fist fort la tour assaillir;
Mais asaut ne les fist de rien nulle esbahir:
Bien furent pourvéu pour longuement tenir.
Adonc fist une mine et les mineurs fouir,
Et les faisoit garder, c'on ne les puit honnir;
Et les mineurs pensèrent de la mine fornir,
La terre font porter et la mine tenir,
Si que cil de la tour ne les purent véir.
Tant minèrent adonc, ce sachiez sans faillir,
Que par-desoubz les murs pueent bien avenir.
Dessouz le fondement font la terre ravir,
Alors eschanteillons (étançons) la tirent soustenir,
Grans, baux, fors et pesans y ont fait establir.
Dont vinrent li mineur sans point de l'alentir,
Et dirent à Bertran: «Quand vous arez desir,
Sire, nous vous ferons ceste tour-ci chéir.»
--«Or tost, ce dit Bertran, il me vient à plaisir;
Car puisque cil dedens ne veulent obéir,
Il est de raison c'on les face morir.»
Li mineur ont bouté à force et à bandon
Le feu dedens la mine, à lors division.
Li bois fu très-bien oint de graisse de bacon:
En l'eure qu'il fut ars, si con dit la chançon,
Chéi la haute tour liinsi qu'à .I. coron.
. . . . . . . . . . . . »
(Chronique de Bertrand du Guesclin. vers 3956 et suiv.)
Note 201: (retour) C'est surtout pendant le XIVe siècle que s'organisèrent d'une manière régulière les corporations d'arbalétriers et d'archers dans les villes du nord. Par une ordonnance datée du mois d'août 1367, Charles V institue une connétablie ou compagnie d'arbalétriers dans la ville de Laon. Le roi nomma pour trois ans Michauld de Laval connétable de cette compagnie. «Dans la suite, dit l'article 1er de cette ordonnance, les arbalestriers esliront de trois en trois ans un connestable à la pluralité des voix. Michauld de Laval, avec le conseil des cinq ou six des plus experts au jeu de l'arbaleste, choisira les vingt-cinq arbalestriers qui doivent composer la compagnie. Les arbalestriers obéiront au connestable, dans ce qui reguarde leurs fonctions, sous poine d'une amende de six sols.»L'article 2 porte: «Le roi retient ces arbalestriers à son service, et il les met sous sa sauve-garde.»--Suivent des articles qui établissent certains priviléges en faveur de la compagnie, tels que l'exemption de tous impôts et tailles, à l'exception «de l'aide establie pour la rançon du roi Jean.»
Le même roi institue une compagnie de vingt arbalétriers à Compiègne.
En 1359 est organisée à Paris la corporation des arbalétriers au nombre de deux cents; par une ordonnance datée du 6 novembre 1373, Charles V fixe ce nombre à huit cents. Ces arbalétriers qui appartenaient à la classe bourgeoise et ne faisaient pas leur métier des armes, ne pouvaient quitter leur corporation pour servir dans l'armée ou ailleurs, sans l'autorisation du prévost de Paris et du prévost des marchands. Lorsque ces magistrats menaient les arbalétriers faire un service hors la banlieue de Paris, hommes et chevaux (car il y avait arbalétriers à cheval et à pied) étaient nourris; chaque homme recevait en outre trois sols par jour, leur connétable touchait cinq sols aussi par jour: le tout aux frais de la ville.
Par lettres patentes du 12 juin 1411, Charles VI ordonna qu'une confrérie d'archers, composée de cent vingt hommes, serait établie à Paris; que ces cent vingt archers seraient choisis parmi les autres archers qui existaient déjà; que cette confrérie serait spécialement chargée de garder la personne du roi et de la défense de la ville de Paris...
Charles VII, par lettres patentes du 22 avril 1448, institua les francs-archers pour servir en temps de guerre. Pour la formation de ce corps privilégié on choisit dans chaque paroisse des hommes robustes et adroits, et parmi les habitants aisés, parce que ces francs-archers étaient obligés de s'équiper à leurs frais ou, à défaut, aux dépens de la paroisse. Le chiffre du contingent était à peu près d'un homme par cinquante feux. (Recherches hist. sur les corpor. des archers, des arbalétriers et des arquebusiers, par Victor Fouque, 1852, Paris.)
Note 202: (retour) L'armée anglaise avait du canon à la bataille de Crécy. Dès 1326, la ville de Florence faisait faire des canons de fer et de métal. (Bibl. de l'école des Chartes, t. VI, p. 50.) En 1339, deux chevaliers, les sires de Cardilhac et de Bieule, reçoivent du maître des arbalétriers de la ville de Cambrai «dis canons, chinq de fer et chinq de métal» (probablement de fer forgé et de métal fondu), «liquel sont tout fait don commandement dondit maistre des arbalestriers par nostre main et par nos gens, et qui sont en la garde et en la deffense de la ville de Cambray.» Original parchemin, parmi les titres scellés de Clairambault, vol. XXV, fol. 1825. Bibl. de l'école des Chartes, t. VI, p. 51. «...Pour salpêtre et suffre viz et sec achetez pour les canons qui sont à Cambray, onze livres quatre soolz. III. den. tournois.» Ibid. voy. l'article de M. Lacabane, même vol. p. 28.
Note 203: (retour) Étud. sur le passé et l'avenir de l'artillerie, par L. Napoléon Bonaparte, présid. de la Républ., t. II, p. 96.
Note 204: (retour) Déposition du duc d'Alençon. Michelet, Hist. de France, t V, p. 99.
Note 205: (retour) Les trébuchets, pierriers, mangonneaux lançaient des boulets de pierre; il était naturel, lorsqu'on changea le mode de projection, de conserver le projectile.
Note 206: (retour) Voy. le siége d'Orléans, en 1428. Nous revenons sur les travaux exécutés par les Anglais pour battre et bloquer la ville.
Note 207: (retour) Au siége de Caen, en 1450: «Puis après on commença du costé de monseigneur le connestable à faire des approches couvertes, et descouvertes, dont le Bourgeois en conduisait une, et messire Jacques de Chabannes l'autre; mais celle du Bourgeois fut la première à la muraille, et puis l'autre arriva, et fut minée la muraille en l'endroict. En telle manière que la ville eut esté prinse d'assault, si n'eust été le roy, qui ne le voulut pas, et ne voulut bailler nulles bombardes de ce costé; de peur que les Bretons n'assaillissent.» Hist. d'Artus III, duc de Bretaigne et connest. de France, de nouveau mise en lumière, par T. Godefroy, 1622.Au siége d'Orléans, 1429: «Le jeudy, troisième jour de mars, saillirent les François, au matin, contre les Anglois, faisant pour lors un fossé pour aller à couvert de leur boulevert de la Croix-Boissée à Saint-Ladre d'Orléans, afin que les François ne les peussent veoir ne grever de canons et bombardes. Celle saillie fist grand dommage aux Anglois, car neuf d'eux y furent prins prisonniers; et outre, en y tua «Maistre-Jean d'une coulevrine cinq à deux coups.» Hist. et discours du siége qui fut mis devant la ville d'Orléans (Orléans 1611).
Note 208: (retour) «... Et fut mis le siége à Cherbourg. Et se logea mon dict seigneur d'un costé, et monseigneur de Clermont de l'autre. Et l'admirat de Coitivi, et le marschal, et Joachim de l'autre costé devant une porte. Et y fut le siège bien un mois, et y furent rompues et empirées neuf ou dix bombardes que grandes que petites. Et y vinrent les Anglois par mer, entre autres une grosse nef nommée la nef Henry, et y commença un peu de mortalité, et y eut monseigneur bien à souffrir, car il avoit toute la charge. Puis feit mettre quatre bombardes devers la mer en la grève quand la mer estoit retirée. Et quand la mer venoit, toutes les bombardes estoient couvertes, manteaux et tout, et estoient toutes chargées, et en telle manière habillées, que dès ce que la mer estoit retirée on ne faisoit que mettre le feu dedans, et faisoient aussi bonne passée comme si elles eussent esté en terre ferme.» Hist. d'Artus III, ibid., p. 149.
Note 209: (retour) «Durant les festes et service de Noël, jettèrent d'une partie et d'autre, très-fort et horriblement, de bombardes et canons; mais surtout faisoit moult de mal un coulevrinier natif de Lorraine, estant lors de la garnison d'Orléans, nommé maistre Jean, qu'on disoit estre le meilleur maistre qui fust lors d'iceluy mestier, et bien le montra: car il avoit une grosse coulevrine dont il jettoit souvent, estant dedans les piliers du pont, près du boulevert de la Belle-Croix, tellement qu'il en tua et bléça moult d'Anglois.» Hist. et discours au vray du siége qui fut mis devant la ville d'Orléans (Orléans 1611).«... Celuy jour (pénultième du mois de février 1429), la bombarde de la cité pour lors assortie à la croche des moulins de la poterne Chesnau, pour tirer contre les tournelles, tira tant terriblement contre elles, qu'elle en abbatit un grand pan de mur.» Ibid.
«Les François conclurent ledit chastel de Harecourt d'engin et du premier coup qu'ils jetèrent percièrent tout outre les murs de la basse-cour qui est moult belle à l'équipolent du chastel qui est moult fort.» Alain Chartier, pag. 162. Ann. 1449.
Note 210: (retour) Copié sur des vignettes du manuscr. de Froissart, XVe siècle. Bibl. Impér., n° 8320, t. I. Les canons (fig. 43) se trouvent dans les vignettes intitulées: Comment le roy d'Angleterre assiégea la cité de Rains... Comment la ville de Duros fut assiégée et prinse d'assault par les François. Ces canons étaient fabriqués dans l'origine au moyen de bandes de fer forgé réunies comme les douves d'un tonneau et cerclées par d'autres bandes de fer cylindriques; lorsqu'ils étaient de petit calibre, ils étaient ou forgés ou fondus en fer ou en cuivre (voy. ENGIN).
Note 211: (retour) Ces figures sont tirées du manuscrit de Froissart, déjà cité. Un des arbalétriers (46) est pavaisé, c'est-à-dire qu'il porte, sur son dos, un large pavois attaché à une courroie; en se retournant pour bander son arbalète, il se trouvait ainsi garanti contre les traits ennemis. L'anneau en fer, adapté à l'extrémité de l'arbalète, servait à passer le pied lorsqu'on faisait agir le cranequin pour bander l'arc.
Note 212: (retour) Ce plan est tiré de la Topographie de la Gaule, éd. de Francfort; Mérian, 1655. La majeure partie de ces fortifications existent encore.
Note 213: (retour) L'ouvrage avancé indiqué sur ce plan a été remplacé par une défense moderne importante, à cheval sur la route venant de Dijon.
Note 214: (retour) Cette tour s'appelle aujourd'hui tour du Marché. Nous donnons le seul étage qui soit conservé, c'est l'étage inférieur. Le plan est à l'échelle de 0,00175 p. m.
Note 215: (retour) Nous devons à M. Millet, architecte attaché à la Commission des monuments historiques, les dessins de cet ouvrage de défense.
Note 216: (retour) Les courtines voisines datent du XIIIe siècle. C'est à M. Abadie que nous devons le relevé fort exact de cet ouvrage de défense.
Note 217: (retour) Voy. TOUR, MEURTRIÈRE.
Note 218: (retour) Nous empruntons ce passage au Précis historique de l'influence des armes à feu sur l'art de la guerre, par le prince Louis-Napoléon Bonaparte, présid. de la Républ., p. 103. (Ext. de la Chronique de Molinet, t. V, ch. CCLXXXIII, p. 42.)
Note 219: (retour) C'est le nom qu'on donne aux parties du parapet comprises entre les créneaux ou embrasures.
Note 220: (retour) Comment. du maréc. de Montluc; édit. Buchon, p. 142.
Note 221: (retour) Dès la fin du XVIe siècle, l'artillerie française avait adopté six calibres de bouches à feu: le canon, dont la longueur était de dix pieds, et dont le boulet pesait 33 liv. 1/3; la couleuvrine, dont la longueur était de onze pieds, et dont le boulet pesait 16 liv. 1/2; la bâtarde, dont la longueur était de neuf pieds et demi, et dont le boulet pesait 7 liv. 1/2; la moyenne, dont la longueur était de huit pieds deux pouces, et dont le boulet pesait 2 liv. 3/4; le faucon, dont la longueur était de sept pieds, et dont le boulet pesait 1 liv. 1/2; le fauconneau, dont la longueur était de cinq pieds quatre pouces, et dont le boulet pesait 14 onces. (La Fortification, par Errard de Bar-le-Duc. Paris, 1620.)
Note 222: (retour) Voy. le Roi sage. Récit des actions de l'empereur Maximilien Ier, par Marc Treitzsaurwen, avec les gravures de Hannsen Burgmair. Publ. en 1775; Vienne. (Les gravures en bois de cet ouvrage datent du commencement du XVIe siècle.)
Note 223: (retour) Ibid.
Note 224: (retour) Voir la note, à la page précédente.
Note 225: (retour) Porte à Mazelle, à Metz. Topog. de la Gaule, Mérian. 1655.
Note 226: (retour) Porte de Lectoure, Ibid.
Note 227: (retour) Some account of domest. archit. in England from Edward I to Richard II; Oxford. J. H. Parker, 1853. Le château de Kingston sur Hull fut fondé par le roi Édouard Ier après la bataille de Dunbar, mais les fortifications qui sont reproduites ici sont certainement d'une date postérieure à cette époque, probablement de la fin du XVe siècle. M. Parker observe avec raison qu'elles étaient conformes aux défenses extérieures adoptées en France.
Note 228: (retour) D'après une gravure du XVIe siècle, tirée du cabinet de l'auteur.
Note 229: (retour) Gravure allemande du XVIe siècle, tirée du cabinet de M. Alfred Gérente.
Note 230: (retour) Vue de la ville de Marseille. Topog. de la Gaule, Mérian.
Note 231: (retour) Défenses de la ville de Blaye. Topog. de la Gaule, Mérian.
Note 232: (retour) Voy. BASTILLE. BASTION, BOULEVARD.
Note 233: (retour) Della Cosmog. universale, Sebast. Munstero, 1558, pet. in-folio. La città d'Augusta, p. 676. Le bastion que nous donnons ici dépend d'un ouvrage avancé fort important qui protégeait un ancien front de vieilles murailles bâties en arrière d'un large fossé plein d'eau. La courtine G est faiblement flanquée par le bastion, parce qu'elle est dominée et enfilée dans toute sa longueur par les vieilles murailles de la ville; quant à la courtine H, elle se trouvait flanquée par la fausse braie et par le prolongement E du bastion. Si le bastion pouvait être difficilement attaqué derrière les flancs de la fausse braie en D, il était impossible de l'attaquer du côté de la courtine G, car alors l'assiégeant se trouvait pris en revers par l'artillerie postée sur les vieux remparts qui commandaient le flanc I du bastion. On commençait dès lors à appliquer avec assez de méthode le principe: Les dedans doivent commander les dehors, et l'assaillant devenu maître du bastion se trouvait exposé aux feux d'un front très-étendu (voy. 68 bis). A est le front des vieilles murailles remparées, B un large cours d'eau, C un chemin couvert avec barrière, terrassé contre l'ouvrage avancé; D un petit cours d'eau, E des traverses, F des ponts, G un rempart traversant le fossé, mais dominé, enfilé et battu en revers par les vieilles murailles A de la ville; H l'ouvrage avancé, I un front de vieilles murailles dérasées et remparées, K un front remparé: ces deux remparts bas sont battus de tous côtés par les murailles de la ville; L des ponts, M le fossé plein d'eau, N les bastions en terre, charpente et clayonnages, dont l'un est détaillé dans la ligure (68); O les restes de vieilles défenses terrassées, P les chemins couverts de l'ouvrage avancé. (Voir le plan de la ville d'Ausbourg, qui présente une suite de bastions construits suivant la forme adoptée pour les fausses-braies des bastions d'Augusta.--Introd. à la Fortification, dédiée à monseigneur le duc de Bourgogne. Paris, 1722; in-f° ital.)
Note 234: (retour) Della Cosmog. universale, Sebast. Munstero, 1558, petit in-folio. Sito et fig. di Francofordia città, come è nel anno 1546. Le bastion figuré dans cette vue commande la rivière (le Mein) et tout un front des remparts de la ville. Cet angle fortifié est fort intéressant à étudier, et la gravure que nous avons copiée, en cherchant à la rendre plus claire, indique les diverses moditications et améliorations apportées à la défense des places pendant le XVIe siècle. On a conservé, au centre du bastion neuf, l'ancienne tour du coin qui sert de tour de guet; cette tour est évidemment exhaussée d'un étage au XVIe siècle. Le bastion est muni de deux étages de batteries; celle inférieure est couverte et masquée par la contrescarpe du fossé fait comme un mur de contre-garde. Cette batterie couverte ne pouvait servir qu'au moment où l'assiégeant débouchait dans le fossé. Le rentrant A qui contient une batterie casematée est protégé par la saillie du bastion et par un mur B, et commande la rivière. Des évents C permettent à la fumée de la batterie couverte de s'échapper. Au delà du ponceau est un rempart élevé en avant des vieilles murailles, le passage du fossé. On remarque des contre-forts qui viennent buter le revêtement en maçonnerie du rempart et qui descendent dans la fausse braie; celle-ci est enfilée par les feux du bastion d'angle et par un rentrant du rempart D. Si ce n'était l'exiguïté des espaces, cette défense passerait encore pour être assez forte. Nous avons donné cet exemple, bien qu'il n'appartienne pas à l'architecture militaire française; mais il faut songer qu'au moment de la transition de la fortification ancienne à la fortification moderne, les diverses nations occidentales de l'Europe adoptaient rapidement les perfectionnements nouveaux introduits dans l'art de défendre les places, et la nécessité forçait d'oublier les traditions locales.
Note 235: (retour) Les murs de la ville de Narbonne, rebâtis presque entièrement pendant le XVIe siècle, quelques anciens ouvrages des fortifications de Caen, etc., présentaient des défenses construites suivant ce principe.
Note 236: (retour) Cependant il existe un plan manuscrit de la ville de Troyes dans les archives de cette ville, qui indique de la manière la plus évidente des grands bastions à orillons et faces formant un angle obtus; et ce plan ne peut être postérieur à 1530 (voy. BASTION).
Note 237: (retour) Delle fortif. di Giov. Scala, al christ°. re di Francia di Navarra, Henrico IV. Roma, 1596. La figure reproduite ici est intitulée «Piatta forma fortissima difesa et sicura con una gagliarda retirata diefro o altorno della gola.» A, rempart, dit la légende, d'arrière défense, épais de 50 pieds. B, parapet épais de 15 pieds et haut de 4 pieds. C, escarpement de la retirade, 14 pieds de haut. D, espace plein qui porte une pente douce jusqu'au point G. H, flanquement masqué par l'épaule I. K, parapet épais de 24 pieds, élevé de 48 pieds au-dessus du fossé. (Scala parle ici de pieds romains 0,297,896.)
Note 238: (retour) Ibid. Planche intitulée: «D'un buon modo da fabricare una piatta forma gagliarda et sicura, quantunque la sia disunita della cortina.» X, rempart derrière la courtine, dit la légende. C, pont qui communique de la ville à la plate-forme (bastion). D, terre-plein. E, épaules. I, flancs qui seront faits assez bas pour être couverts par les épaules E... Scala donne, dans son Traité des fortifications, un grand nombre de combinaisons de bastions; quelques-unes sont remarquables pour l'époque.
Note 239: (retour) OEuv. compl. de N. Machiavelli, édit. Buchon, 1852. Voir le château de Milan (fig. 67), qui présente tous les défauts signalés par Machiavel.
Note 240: (retour) Topog. de la Gaule. Mérian. Topog. de la France. Bib. Imp.
Note 241: (retour) Della fortif. delle città di M. Girol. Maggi, e del cap. Jacom. Castriotto ingeniero del christ°. re di Francia, 1583.
Note 242: (retour) Les fortifications du chevalier Antoine De Ville. 1640. Chap. VIII.
ARCHITRAVE, s. f. Ce mot, qui désigne le premier membre de l'entablement antique, ne trouvait pas son emploi du Xe au XVIe siècle, puisque alors on avait abandonné la plate-bande posant sur des colonnes; celles-ci n'étant plus destinées à porter que des arcs. Si dans quelques cas particuliers, pendant le moyen âge, des plates-bandes sont posées d'une colonne à l'autre, on doit plutôt les regarder comme des linteaux que comme des architraves (voy. LINTEAU), car l'architrave demande, pour conserver son nom, la superposition de la frise et de la corniche. En effet, architrave signifie proprement maîtresse poutre, et dans l'entablement antique c'est elle qui porte les autres membres de l'entablement. C'est à l'époque de la Renaissance que l'on retrouve l'architrave employée avec les ordres antiques, et ses proportions sont alors, par rapport au diamètre de la colonne, très-variables (voy. ENTABLEMENT). L'architrave antique est formée d'une seule pièce d'une colonne à l'autre. Il n'y a pas d'exception à cette règle dans l'architecture grecque; si déjà les Romains ont appareillé des architraves en claveaux, c'est une fausse application du principe de l'entablement antique. Lorsque l'on rencontre des architraves dans les ordres appartenant à l'architecture de la Renaissance, elles sont généralement, de même que pendant la bonne antiquité, formées d'un seul morceau de pierre. Ce n'est guère que vers la moitié du XVIe siècle que l'on eut l'idée d'appareiller les architraves; et plus tard encore, quand la manie de copier les formes de l'architecture antique s'empara des architectes, sans avoir égard aux principes de la construction de cette architecture, on appareilla ensemble l'architrave et la frise, en faisant passer les coupes des claveaux à travers ces deux membres de l'entablement: c'était un grossier contre-sens qui s'est perpétué jusqu'à nos jours.
ARDOISE, s. f. (Schiste lamelleux.) Dans les contrées où le schiste est facile à exploiter on s'en est servi de tous temps, soit pour daller les intérieurs des habitations, soit pour les couvrir, ou pour clore des champs. La ténacité de cette matière, sa résistance, la facilité avec laquelle elle se délite en lames minces, ont dû nécessairement engager les constructeurs à l'employer. On a utilisé cette matière aussi comme moellon. L'Anjou, quelques parties des Pyrénées, les Ardennes ont conservé de très-anciennes constructions bâties en schiste qui ont parfaitement résisté à l'action du temps. Mais c'est principalement pour couvrir les charpentes que les ardoises ont été employées. Il paraîtrait que dès le XIe siècle, dans les contrées schisteuses, on employait l'ardoise concurremment avec la tuile creuse ou plate. Dans des constructions de cette époque nous avons retrouvé de nombreux fragments de grandes ardoises 243 très-épaisses et mal coupées, mais n'en constituant pas moins une excellente couverture. Toutefois, tant qu'on ne trouva pas les moyens d'exploiter l'ardoise en grand, de la déliter et de la couper régulièrement, on dut préférer la tuile qui, faite avec soin, couverte d'émaux de différentes couleurs, était d'un aspect beaucoup plus riche et monumental. Les ardoises n'étaient guère employées que pour les constructions vulgaires, et comme on les emploie encore aujourd'hui dans les monts d'Or, dans la montagne Noire, et dans les Ardennes. Ce ne fut guère que vers la fin du XIIe siècle que l'ardoise devint d'un emploi général dans le nord et l'ouest de la France.

Des palais, des maisons de riches bourgeois, des églises même étaient déjà couvertes en ardoises. L'adoption des combles coniques pour les tours des châteaux rendait l'emploi de l'ardoise obligatoire, car on ne pouvait convenablement couvrir un comble conique avec de la tuile, à moins de la faire fabriquer exprès et de diverses largeurs, tandis que l'ardoise, pouvant se tailler facilement, permettait de chevaucher toujours les joints de chaque rang d'une couverture conique. Lorsque les couvertures coniques étaient d'un très-petit diamètre, sur les tourelles des escaliers, par exemple, afin d'éviter les cornes saillantes que des ardoises plates n'eussent pas manqué de laisser voir sur une surface curviligne convexe, on taillait leur extrémité inférieure en forme d'écaille, et on avait le soin de les tenir très-étroites pour qu'elles pussent mieux s'appliquer sur la surface courbe (1); et comme chaque rang, en diminuant de diamètre, devait diminuer le hombre des ardoises qui le composaient, on arrêtait souvent de distance en distance le système des rangs d'écailles par un rang droit, et on reprenait au-dessus les écailles en moindre nombre sans que l'oeil fût choqué du changement apporté dans le recouvrement régulier des joints (2); ou bien encore, lorsque par suite d'un recouvrement régulier de quelques rangs sur une surface conique, les ardoises devenaient trop étroites pour qu'il fût possible de continuer, on reprenait le rang suivant par des ardoises couvrant deux joints (3).
Suivant la nature du schiste, les ardoises étaient plus ou moins grandes
ou épaisses. Dans la montagne Noire, dans une partie de l'Auvergne, les
schistes se délitent mal et sont remplis de filons durs qui empêchent de
les tailler régulièrement: aussi dans ces contrées les couvertures sont
grossières; mais dans les Ardennes, sur les bords de la Moselle, et dans
l'Anjou, les schistes très-purs permettent une grande régularité dans la
taille de l'ardoise, et dès le XIIIe siècle on n'a pas manqué de
profiter des qualités de ces matériaux pour faire des couvertures à la
fois solides, faciles à poser, peu dispendieuses et d'une apparence fort
agréable. La couleur de l'ardoise de l'Anjou, son aspect métallique et
son peu d'épaisseur, se mariant parfaitement avec le plomb, on
continuait à employer ce métal pour garnir les poinçons, les faîtages,
les arêtiers, les noues, les lucarnes, réservant l'ardoise pour les
grandes parties plates. Mais les architectes du XIIIe siècle avaient une
sorte de répulsion pour la banalité, qui leur fit bientôt chercher les
moyens d'employer l'ardoise en la faisant servir à la décoration en même
temps qu'à la couverture des édifices. Ils avaient remarqué que
l'ardoise obtient un reflet différent suivant qu'on présente sa surface
dans un sens ou dans l'autre à la lumière du soleil; ils utilisèrent
sans dépense aucune cette propriété de l'ardoise, pour former sur leurs
combles des mosaïques de deux tons (4). Souvent aussi ils taillèrent
leurs ardoises de diverses manières (5), ou les posèrent de façon à
rompre la monotonie des couvertures, soit en quinconce (6), soit en épis
(7), soit ainsi que cela se pratique sur les bords de la Moselle, et
particulièrement à Metz et à Trèves, en écailles ordinaires (fig. 1) ou
en écailles biaises, dites couverture allemande (8).



Ces méthodes différentes adoptées à partir du XIIIe siècle ne subirent pas de changements notables pendant le cours des XIVe et XVe siècles. L'ardoise mieux exploitée était livrée plus régulière, plus fine et plus mince, et si l'aspect des couvertures y gagnait, il n'en était pas de même pour leur durée. Les anciennes ardoises (nous parlons de celles des XIIe et XIIIe siècles) ont de dix à quinze millimètres d'épaisseur, tandis que celles du XVe siècle n'ont guère que de cinq à huit millimètres au plus. Quant à leur longueur et largeur, généralement les anciennes ardoises employées dans l'ouest et dans le nord sont petites, de 0,18c de largeur environ sur 0,25c de hauteur; souvent elles appartiennent à la série nommée aujourd'hui héridelle, et n'ayant que 0,10c de large environ sur 0,38c. Cependant les anciens couvreurs avaient le soin de commencer leurs couvertures en posant sur l'extrémité des coyaux des combles un rang de larges et fortes ardoises, afin de donner moins de prise au vent. Les anciennes couvertures en ardoises étant fort inclinées, le pureau 244 n'était guère que du tiers de la hauteur de l'ardoise. On peut dire qu'une couverture en ardoise épaisse, sur une pente forte, clouée sur de la volige de châtaignier ou de chêne blanc, dure des siècles sans avoir besoin d'être réparée, surtout si on a le soin d'éviter de multiplier les noues, les arêtiers, les solins, ou du moins de les bien garnir de plomb solidement attaché. A partir du XIIIe siècle, partout où l'ardoise pouvait être importée, on lui donnait une grande préférence sur la tuile, et ce n'était pas sans cause. L'ardoise d'Angers ou des Ardennes ne s'imprègne pas d'une quantité d'eau appréciable, et par sa chaleur naturelle laisse rapidement évaporer celle qui tombe sur sa surface; la tuile, au contraire, si elle n'est pas vernissée, se charge de son huitième de poids d'eau, et séchant lentement, laisse peu à peu l'humidité pénétrer les charpentes; même étant bien faite, elle ne peut empêcher la neige fouettée par le vent de passer sous les combles. De plus, la tuile ne se prête pas à des couvertures compliquées, telles que celles qu'un état de civilisation avancé oblige d'employer, soit pour établir des lucarnes, faire passer des tuyaux de cheminée, disposer des faîtages, des noues, arêtiers et pénétrations. L'adoption presque générale de l'ardoise, au moins pour les édifices de quelque importance, eut une influence sur la forme des combles: jusque vers la fin du XIIe siècle, on ne leur donnait guère une pente supérieure à quarante-cinq degrés, ce qui est la pente la plus roide pour de la tuile, mais on crut devoir augmenter l'acuité des combles destinés à être couverts en ardoise; celles-ci, retenues chacune par deux clous, ne pouvaient glisser comme le fait la tuile lorsque la pente des combles est trop forte, et plus leur inclinaison se rapprochait de la verticale, moins elles offraient de prise au vent. L'acuité des combles couverts en ardoise avait encore cet avantage de laisser glisser la neige, qui ne pouvait ainsi séjourner sur leur pente.
Dans les villes du nord, à partir du XIVe siècle, beaucoup de maisons étaient construites en pans de bois, et l'on se gardait bien alors, comme on le fait aujourd'hui, de couvrir ces pans de bois par des enduits. Toutefois, pour ne pas laisser les bois directement exposés aux intempéries, ou on les peignait avec soin, ou lorsqu'ils se trouvaient opposés aux vents de pluie, on les recouvrait d'ardoises ou de bardeaux essente (voy. BARDEAU). Quelquefois ce revêtement couvrait les membrures du pan de bois et le colombage; souvent le colombage, formé d'un simple enduit sur garni de platras ou de briques, restait apparent, et l'ardoise recouvrait seulement les poteaux, écharpes, sablières, potelets et tournisses du pan de bois. Au XVe siècle, ces ardoises servant de revêtement vertical des pans de bois étaient fréquemment découpées et formaient des dessins de diverses sortes: écailles, feuillages, trèfles, lozanges, etc.; cet usage se perpétua encore pendant le XVIe siècle 245. Des maisons de Rouen, d'Abbeville, de Caudebec, de Lizieux, de Troyes, de Reims, qui datent des XVe et XVIe siècles, présentent encore des vestiges de ces revêtements d'ardoises découpées sur les pans de bois.



Voici (9) la disposition des ardoises qui enveloppent les poteaux corniers de plusieurs maisons de Rouen 246; qui se trouvent sur les tournisses, écharpes et potelets d'une maison d'Abbeville (10); sur les appuis et sablières de quelques maisons de Rouen et de Lizieux (11); au sommet d'un pignon d'une maison de la grand'rue n°75 à Rouen (12). Quelquefois aussi pour décorer les enduits en mortier ou plâtre entre les membrures des pans de bois des habitations privées, on clouait quelques ardoises découpées formant un ornement (13). Au château de Chambord les couronnements du grand escalier, les têtes des cheminées présentent des médaillons ronds ou en lozange qui sont remplis par une ardoise formant de loin des points noirs qui relèvent et allégissent ces sommets. Nous avons vu quelquefois dans des édifices de la fin du XVe siècle et du commencement du XVIe des morceaux d'ardoises incrustés dans les très-fines arcatures à jour des pinacles, des supports, des soubassements, des tombeaux, et qui par leur ton obscur font ressortir les découpures de pierre. Les poseurs de ces époques se servaient aussi d'ardoises pour caler les pierres, et l'on en rencontre fréquemment dans les joints. Les deux colonnes si délicates qui supportaient la tourelle de l'hôtel de la Trémoille à Paris, dont les restes sont déposés à l'École des beaux-arts, étaient calées avec des ardoises qui couvraient la surface de leurs lits.
Nous avons vu, dans les contrées où le schiste est commun, les ardoises employées en grands morceaux, soit pour servir de paliers aux escaliers, soit en guise de pannes sous les combles pour porter les chevrons, ou de poteaux de hangards, soit comme clôtures de jardins en grandes lames fichées en terre, soit encore comme pierres tombales, particulièrement pendant les XVe et XVIe siècles. L'usage de peindre les ardoises ne peut être douteux, bien que nous n'ayons pu trouver d'ardoises peintes ou dorées antérieures au XVIe siècle; mais dans les habitations du XVe siècle on rencontre parfois des écussons en ardoises cloués sur les pans de bois, et il est à présumer qu'ils étaient destinés à recevoir les couleurs et les métaux des armes des propriétaires.
Note 243: (retour) Les voûtes de l'ancienne cathédrale de Carcassonne (Saint-Nazaire) étaient dans l'origine, couvertes de grandes ardoises provenant de la montagne Noire.
Note 244: (retour) On appelle pureau la portion des ardoises ou des tuiles qui reste visible après qu'elles ont été superposées par le couvreur sur la volige ou le lattis. Le pureau étant du tiers ou du quart de la hauteur de l'ardoise, chaque point de la couverture est recouvert par trois ou quatre épaisseurs d'ardoises, et chaque ardoise ne laisse voir que le tiers ou le quart de sa hauteur.
Note 245: (retour) Voir l'Essai sur les girouettes, épis, crêtes, et autres décorat. des anciens combles et pignons, par E. De La Quérière, 1846, dans lequel on rencontre un assez grand nombre d'exemples de ces revêtements d'ardoises.
Note 246: (retour) Maisons situées Grand'Rue, 88, au coin de la rue du Tambour, rue du Bac, 66, rue du Ruissel, 54, à Rouen.
ARÊTE, s. f. (voy. VOUTE, CHARPENTE, TAILLE).
ARÊTIER, s. m. Pièce de charpente inclinée qui forme l'encoignure d'un comble, vient s'assembler à sa partie inférieure aux extrémités de l'enrayure, à son sommet dans le poinçon, et sur laquelle s'assemblent les empanons (voy. CHARPENTE). Les plombiers nomment aussi arêtier la lame de plomb qui, maintenue par des pattes, et ornée quelquefois d'un boudin, de crochets et d'ornements saillants, sert à couvrir les angles d'un comble en pavillon ou d'une flèche (voy. PLOMBERIE, FLÈCHE). Autrefois, et dans quelques provinces du nord, les charpentiers et les couvreurs disaient et disent encore: Erestier.
ARÊTIÈRE, s. f. Tuile dont la forme épouse et recouvre l'angle des couvertures en terre cuite sur l'arêtier. Pour les couvertures en tuiles creuses les arêtières ne sont que des tuiles plus grandes et plus ouvertes, dans leur partie large ou inférieure, que les tuiles ordinaires; mais pour les couvertures en tuiles plates les arêtières étaient munies de crochets dans leur concavité pour les empêcher de glisser les unes sur les autres. Nous avons vu d'anciennes tuiles-arêtières ainsi fabriquées en Bourgogne et en Champagne. L'usage était dans des monuments d'une date fort ancienne d'orner le dos des arêtières par un simple bouton qui était destiné de même à empêcher le glissement de ces tuiles d'angles. Les manuscrits des XIIe, XIIIe et XIVe siècles figurent souvent des arêtières de combles couverts en tuiles, décorées de crochets; en Champagne, en Alsace il existe encore sur quelques édifices de rares exemples de ces arêtières ornées (voy. TUILE).
ARGENT, s. m. Ce métal a rarement été employé dans la décoration des édifices pendant le moyen âge. La promptitude avec laquelle il passe à l'état d'oxyde ou de sulfure d'argent a dû le faire exclure, puisque alors de blanc brillant il devient noir irisé. Cependant le moine Théophile qui écrivait au XIIe siècle, dans son Essai sur divers arts, parle de feuilles d'argent appliquées sur les murs ou les plafonds; il donne aussi le moyen de nettoyer des plaques d'or ou d'argent fixées au moyen de clous. En effet dès les premiers siècles du moyen âge on revêtissait souvent des autels, des châsses, des tombeaux en bois ou en pierre de plaques d'argent naturel ou doré. Dom Doublet dit dans son ouvrage sur les antiquités de l'abbaye de Saint-Denis, que le roi Dagobert fit couvrir l'église de ce monastère de «plomb partout, excepté en certaine partie tant du dessus que du dedans de ladite église qu'il fit couvrir d'argent, à sçavoir à l'endroit où reposoient iceux saincts martyrs... 247»
A l'imitation de certains ouvrages du Bas-Empire, pendant la période romane, on incrustait souvent des parties d'argent dans les bronzes qui recouvraient les portes des églises, les jubés, les tombeaux; des figures avaient souvent les yeux ou les broderies de leurs vêtements en argent ciselé. Dans les oeuvres de grande orfévrerie monumentale, l'argent doré (vermeil) jouait un grand rôle (voy. AUTEL, CHASSE, TOMBEAU).
A partir du XIIIe siècle, on décora souvent les intérieurs des édifices de plaques de verre coloré sous lesquelles, pour leur donner plus d'éclat, on apposait des feuilles d'argent battu (voy. APPLICATION).
Note 247: (retour) Hist. de l'abb. de Saint-Denys en France, par F. J. Doublet, religieux de ladite abbaye, liv. IV, p. 1197.
ARMATURE, s. f. On désigne par ce mot toute combinaison de fer ou de bois destinée à renforcer ou maintenir un ouvrage de maçonnerie ou de charpente; aussi les compartiments de fer dans lesquels les panneaux des vitraux sont enchâssés. Pendant la période romane, le fer était peu employé dans les constructions; on ne pouvait le forger que par petites pièces, les moyens mécaniques faisant défaut. Pour résister à la poussée des voûtes, pour relier des murs, on noyait des pièces de bois dans l'épaisseur des maçonneries, maintenues entre elles par des broches de fer; mais c'était là des chaînages (voy. ce mot) plutôt que des armatures proprement dites. Lorsque, par suite de l'adoption du système de construction ogivale, l'architecture devint à la fois plus légère et plus compliquée, lorsque les édifices durent prendre une grande étendue, le fer fut appelé à jouer un rôle assez important dans l'art de bâtir, et dès la fin du XIIe siècle déjà, dans le nord de la France, on crut devoir l'employer en grande quantité pour relier et donner du nerf aux maçonneries. L'emploi de cette matière, dont alors on connaissait peu les fâcheux effets, hâta souvent la ruine des monuments au lieu de la prévenir (voy. CHAÎNAGE, CRAMPON). Pour la charpente le fer ne fut employé que fort tard, et pendant toute la période ogivale on n'en fit point usage (voy. CHARPENTE); Les charpentiers du moyen âge jusqu'à la fin du XVIe siècle ne cherchèrent d'autres combinaisons que celles données par un judicieux emploi du bois, sans le secours des ferrements. Toutes les grandes charpentes anciennes, y compris celles des flèches, sont construites sans un seul morceau de fer; les tirants, les enrayures, les clefs pendantes, les armatures, sont uniquement en bois, sans un boulon, sans une plate-bande. Si l'art de la serrurerie était appelé à prêter son concours à la maçonnerie, il était absolument exclu de la charpente, et n'apparaissait seulement que pour s'associer à la plomberie décorative (voy. PLOMBERIE). Il est certain que les nombreux sinistres qui avaient suivi immédiatement la construction des grands monuments voûtés dans le nord (voy. ARCHITECTURE RELIGIEUSE) avaient inspiré aux architectes des XIIe et XIIIe siècles une telle défiance, qu'ils ne croyaient pas pouvoir se passer du fer dans la combinaison des maçonneries destinées à résister à la poussée des voûtes élevées; c'est ainsi que l'on peut expliquer la prodigieuse quantité de chaînes et crampons en fer que l'on retrouve dans les maçonneries de ces époques. Ce n'est que le manque de ressources suffisantes qui forçait les architectes de ne pas prodiguer le fer dans leurs constructions; mais lorsque des raisons d'économie ne les retenaient, ils ne l'épargnaient pas. Ainsi on a lieu d'être surpris en voyant que les arêtes de la voûte absidale de la Sainte-Chapelle de Paris sont éclissées chacune par deux courbes de fer plat posées de champs le long de leur paroi (1).

Ces bandes de fer, qui ont environ 0.05c de plat sur 0.015m d'épaisseur, sont reliées entre elles par des gros rivets ou boulons, qui passent à travers la tête des claveaux. Elles datent évidemment de l'époque de la construction, car elles n'auraient pu être posées après coup; elles s'assemblent à la clef au moyen de V également en fer rivés avec elles, et les rendant ainsi toutes solidaires au sommet de la voûte. Ce surcroît de résistance était superflu, et ces arêtes n'avaient pas besoin de ce secours; c'est le seul exemple que nous connaissions d'une armature de ce genre, et cependant il existe un grand nombre de voûtes plus légères que celles de la Sainte-Chapelle-du-Palais qui, bien qu'elles n'en fussent point pourvues, ont parfaitement conservé la pureté de leur courbe.
La ferronnerie forgée avait dès la fin du XIIe siècle pris un grand essor. On peut s'en convaincre en voyant avec quelle habileté sont traitées les pentures qui servent à pendre les portes à cette époque; cette habitude de manier le fer, de le faire obéir à la main du forgeron, avait dû engager les architectes à employer le fer pour maintenir les panneaux des vitraux destinés à garnir les grandes fenêtres que l'on commençait alors à ouvrir dans les édifices importants, tels que les églises. À la fin du XIIe siècle les fenêtres n'étaient point encore divisées par des meneaux de pierre, et déjà cependant on tenait à leur donner une largeur et une hauteur considérables; force était donc de diviser leur vide par des armatures de fer, les panneaux de verres assemblés avec du plomb ne pouvant excéder une surface de soixante à quatre-vingts centimètres carrés sans risquer de se rompre (voy. FENÊTRE, VITRAIL).

Les armatures d'abord simples, c'est-à-dire composées seulement de traverses et de montants (2), prirent bientôt des formes plus ou moins compliquées, suivant le dessin donné aux panneaux légendaires des vitraux, et se divisèrent en une suite de cercles, de quatre-feuilles, de carrés posés en pointe, de portions de cercles se pénétrant, etc.

Nous donnons ici (3, 4 et 5) divers exemples de ces sortes d'armatures 248. Un des plus curieux spécimens de ces fermetures en fer se voit dans la petite église de Notre-Dame de Dijon. Cette église appartient à la première moitié du XIIIe siècle; les deux pignons de la croisée prennent jour par deux grandes roses dépourvues de compartiments de pierre. Des armatures en fer maintiennent seules les vitraux. Voici (6) le dessin d'ensemble de ces armatures qui présentent un beau champ à la peinture sur verre, et dont les compartiments adroitement combinés sont d'un bon effet et d'une grande solidité.

L'assemblage de ces pièces de fer est toujours fort simple, peut être facilement posé, déposé ou réparé, toutes les pièces étant assemblées à tenons et mortaises, sans rivets ni goupilles; quant aux vis, leur emploi n'était pas alors connu dans la serrurerie.

Le détail que nous donnons ici (7) fera comprendre le système d'attache de ces ferrements. Ces fers, forgés à la main et sans le secours des cylindres, sont assez inégaux d'épaisseur; en moyenne ils ont 0.03c de plat sur 0.022c d'épaisseur. Comme dans toutes les armatures, les panneaux de vitraux sont maintenus au moyen de pitons et de clavettes disposés comme l'indique le détail (8). Les renforts qui reçoivent les tenons sont en dehors, et les pitons en dedans, là où les fers s'affleurent tous pour recevoir les panneaux de verres.
Lorsque vers le milieu du XIIIe siècle les grandes fenêtres furent garnies de meneaux de pierre, les armatures de fer durent perdre de leur importance. Cependant on conserva encore dans les monuments que l'on tenait à décorer avec soin, entre les colonnettes des meneaux, des armatures formant des compartiments variés ainsi qu'on peut le voir à la Sainte-Chapelle. Mais au XIVe on cessa de poser des armatures contournées entre les meneaux, et on en revint aulx traverses et montants. On donnait alors aux sujets légendaires des vitraux de plus grandes dimensions, et les encadrements en fer ne pouvaient affecter des formes qui eussent gêné les peintres verriers dans leurs compositions (voy. VITRAIL).
Note 248: (retour) La fig. 3 est l'armature de la grande fenêtre centrale de la façade occidentale de la cathédrale de Chartres (fin du XIIe siècle).La fig. 4, d'une fenêtre de la nef de la cathédrale de Chartres (1210 à 1230)
La fig. 5, d'une fenêtre de chapelle de la Vierge de la cathédrale du Mans (1220 à 1230).
ARMOIRE, s. f. Est un réduit ménagé dans la muraille, clos, destiné à renfermer des objets ayant quelque valeur; ou un meuble en menuiserie, composé d'un fond, de côtés, d'un dessus et d'un dessous, fermé par des ventaux, et disposé dans les édifices ou les appartements d'une manière permanente. Nous ne nous occuperons ici que des armoires fixes, immeubles par destination, suivant le langage moderne, les objets mobiliers sortant de notre sujet.
Dans les plus anciennes abbayes, à côté du cloître, était ménagé un cabinet ou un simple enfoncement dans la muraille, appelé Armarium, Armariolus, dans lequel les religieux renfermaient pendant le travail aux champs les livres dont ils se servaient journellement. À côté des autels une armoire était réservée autrefois, soit pour conserver sous clefs le saint sacrement, soit pour renfermer les objets nécessaires au service de la messe ou les trésors 249. Dom Doublet, dans ses Antiquités de l'abbaye de Saint-Denis, dit qu'auprès de l'autel des saints martyrs «il y a plusieurs choses précieuses et saintes. Premièrement au costé droit en une armoire est gardé l'un des précieux clouds, etc... Au costé senestre de l'autel en une grande armoire est le sacré chef de saint Denis l'Aréopagite, apostre de France, etc.» Dans le Traité de l'exposition du saint sacrement, de J. B. Thiers, on lit ce passage: «avant que les tabernacles fussent devenus aussi communs qu'ils le sont présentement parmi nous, en la plupart des églises, l'eucharistie était renfermée dans des armoires à côté des autels, dans des piliers, ou derrière les autels. Il se trouve encore aujourd'hui quantité de ces armoires dont on se sert en bien des lieux pour conserver les saintes huiles, ainsi que l'ordonne le concile provincial d'Aquilée en 1596 250. J. Baptiste de Constance, archevêque de Cozence en Calabre, qui vivait sur la fin du dernier siècle (XVIIe), témoigne que de son temps il n'y en avait plus aucune dans les églises de son archevêché: La coutume, dit-il 251, qu'on avoit de conserver le très-saint sacrement dans des armoires bâties dans la muraille à côté de l'autel. est déjà perdue partout ce diocèse, encore qu'elles fussent ornées par le dehors d'images et peintures d'or et d'azur, selon l'ancien usage non plus approuvé par la sainte Église, ains d'icelle saintement retranché par plusieurs raisons 252.»

Nous donnons ici (1) une armoire de ce genre ménagée dans les arcatures des soubassements des chapelles du choeur de l'église abbatiale de Vézelay (commencement du XIIIe siècle). Les ventaux de ces armoires, enlevés aujourd'hui, étaient ornés de ferrures dorées et de peintures.
Voici (2) une armoire copiée sur un des bas-reliefs des soubassements du portail de la cathédrale de Reims, qui peut donner une idée de ces meubles fixes placés à côté des autels.
Les précieuses reliques de la Sainte-Chapelle du Palais à Paris étaient renfermées dans une armoire posée sur une crédence à jour, et cette crédence était elle-même montée sur la voûte de l'édicule construit derrière le maître-autel. Cette armoire s'appelait la grande châsse. «C'est, dit Jérôme Morand, une grande arche de bronze doré et ornée de quelques figures sur le devant; elle est élevée sur une voûte gothique sise derrière le maître-autel, au rond-point de l'église, et est fermée avec dix clefs de serrures différentes, dont six ferment les deux portes extérieures; et les quatre autres un treillis intérieur à deux battants... 253» (voy. CHASSE).

Il existe encore dans l'ancienne église abbatiale de Souvigny une grande armoire de pierre du commencement du XVe siècle, qui est fort riche et servait à renfermer des reliques; elle est placée dans le transsept du côté sud. Les volets sont en bois et décorés de peintures; nous la donnons ici (3), c'est un des rares exemples de ces meubles à demeure si communs autrefois dans nos églises, et partout détruits, d'abord par les chapitres, moines ou curés du siècle dernier, puis par la révolution.

Dans les habitations privées, dans les salles et tours des châteaux, on retrouve fréquemment des armoires pratiquées dans l'épaisseur des murs. Nous reproduisons (4) le figuré de l'une de celles qui existent encore dans la grosse tour carrée de Montbard, dont la construction remonte au XIIIe siècle.
Ces armoires étaient destinées à conserver des vivres; quelquefois elles sont ventilées, divisées par des tablettes de pierre ou de bois. On remarquera avec quel soin les constructeurs ont laissé des saillies à la pierre aux points où les gonds prennent leurs scellements, et où le verrou vient s'engager (voy. GACHE, GOND, VERROU).
Note 249: (retour) Armariolum, tabernaculum in quo Christi corpus asservatur. Statuta ecclesiæ Leodiensis ann. 1287, apud Martenium, tom. 4, Anecdotorum col. 841: Corpus Domini in honesto loco sub altari vet in armariolo sub clave sollicite custodiatur.Armariolus, parvum armarium. Bern. Ordo Cluniac., part. I, cap. 25: Factus est quidam armariolus ante faciem majoris altaris... in quo nihil aliud reconditur præter illa ustensilia, quæ necessaria sunt ad solemnia dumtaxat, in conventu agendarum, id est, duo calices aurei, etc. (Du Cange.)
Note 250: (retour) Rubric. 16: In dictis fenestellis bene munitis serventur olea sacra in vasculis argenteis sub sera firma, et clavi.
Note 251: (retour) Traduct. franç. de ses Avertissements aux recteurs, curés, prêtres et vicaires. Bordeaux, 1613; Lyon, 1644.
Note 252: (retour) Traité de l'exposition du saint sacrement, par J. B. Thiers, Dr en théol, t. Ier, p. 38 et 39. Avignon, 1777.
Note 253: (retour) Hist. de la Sainte-Chapelle du Palais, par S. Jérôme Morand. Paris, 1790.
ARMOIRIE, s. f. Lorsque les armées occidentales se précipitèrent en Orient, à la conquête du saint sépulcre, leur réunion formait un tel mélange de populations différentes par les habitudes et le langage, qu'il fallut bien adopter certains signes pour se faire reconnaître des siens lorsqu'on en venait aux prises avec l'ennemi. Les rois, connétables, capitaines et même les simples chevaliers qui avaient quelques hommes sous leur conduite, afin de pouvoir être distingués dans la mêlée au milieu d'alliés et d'ennemis dont le costume était à peu près uniforme, firent peindre sur leurs écus des signes de couleurs tranchées, de manière à être aperçus de loin. Aussi les armoiries les plus anciennes sont-elles les plus simples. Dès le XIe siècle déjà l'usage des tournois était fort répandu en Allemagne, et les combattants adoptaient des couleurs, des emblèmes, qu'ils portaient tant que duraient les joûtes; toutefois, à cette époque, les nobles joûteurs semblent changer de devises ou de signes et de couleurs à chaque tournoi. Mais lorsque leurs écus armoriés se furent montrés devant les infidèles, lorsque, revenus des champs de bataille de l'Orient, les chrétiens occidentaux rapportèrent avec eux ces armes peintes, ils durent les conserver autant comme un souvenir que comme une marque honorable de leurs hauts faits. De tout temps les hommes qui ont affronté des périls ont aimé conserver les témoins muets de leurs longues souffrances, de leurs efforts et de leurs succès. Les armes émaillées de couleurs variées, de figures singulières, portant la trace des combats, furent religieusement suspendues aux murailles des châteaux féodaux; c'était en face d'elles que les vieux seigneurs racontaient leurs aventures d'outre-mer à leurs enfants, et ceux-ci s'habituaient à considérer ces écus armoyés comme un bien de famille, une marque d'honneur et de gloire qui devait être conservée et transmise de génération en génération. C'est ainsi que les armoiries, prises d'abord pour se faire reconnaître pendant le combat, devinrent héréditaires comme le nom et les biens du chef de la famille. Qui ne se rappelle avoir vu, après les guerres de la Révolution et de l'Empire, un vieux fusil rouillé suspendu au manteau de la cheminée de chaque chaumière?
Les armoiries devenues héréditaires, il fallut les soumettre à de certaines lois fixes, puisqu'elles devenaient des titres de famille. Il fallut blasonner les armes, c'est-à-dire, les expliquer 254. Ce ne fut toutefois que vers la fin du XIIe siècle que l'art héraldique posa ses premières règles 255; pendant le XIIIe siècle il se développa, et se fixa pendant les XIVe et XVe siècles. Alors la science du blason était fort en honneur; c'était comme un langage réservé à la noblesse, dont elle était jalouse, et qu'elle tenait à maintenir dans sa pureté. Les armoiries avaient pendant le XIVe siècle pris une grande place dans la décoration, les étoffes, les vêtements; c'est alors que les seigneurs et les gens de leurs maisons portaient des costumes armoyés. Froissart, dans ses chroniques, ne fait pas paraître un noble de quelque importance sans faire suivre son nom du blason de ses armes. Les romans des XIIIe et XIVe siècles, les procès-verbaux de fêtes, de cérémonies, sont remplis de descriptions héraldiques. Nous ne pouvons dans cet article que donner un aperçu sommaire de cette science, bien qu'elle soit d'une grande utilité aux architectes qui s'occupent d'archéologie. Faute d'en connaître les premiers éléments, nous avons vu de notre temps commettre des bévues dont le moindre inconvénient est de prêter au ridicule. C'est une langue qu'il faut s'abstenir de parler si on ne la connaît bien. Louvan Geliot; dans son Indice armorial (1635), dit avec raison: «que la cognoissance des diverses espèces d'armoiries, et des parties dont elles sont composées, est tellement abstruse, et les termes si peu usitez dans les autres sujets d'escrire, ou de parler, qu'il faut plusieurs années pour sonder le fond de cet abyme, et une longue expérience pour pénétrer jusques au coeur et dans le centre de ce chaos.» Depuis cet auteur, le P. Menestrier particulièrement a rendu l'étude de cette science plus facile; c'est surtout à lui que nous empruntons le résumé que nous donnons ici.
Trois choses doivent entrer dans la composition des armoiries: les émaux, l'écu ou champ, et les figures. Les émaux comprennent: 1° les métaux qui sont: or, ou jaune; argent, ou blanc; 2° les couleurs qui sont: gueules, qui est rouge, azur, qui est bleu, sinople, qui est vert, pourpre, qui est violet tirant sur le rouge, sable, qui est noir; 3° les pannes ou fourrures, qui sont: hermine et vair, auxquelles on peut ajouter la contre-hermine et le contre-vair. Les émaux propres à l'hermine sont argent ou blanc pour le champ, et sable pour les mouchetures (1); le contraire pour la contre-hermine, c'est-à-dire, sable pour le fond, et argent ou blanc pour les mouchetures 256. Le vair est toujours d'argent et d'azur, et se représente par les traits indiqués ici (2). Le contre-vair est aussi d'argent et d'azur; il diffère du vair en ce que, dans ce dernier, le métal est opposé à la couleur, tandis que dans le contre-vair le métal est opposé au métal, et la couleur à la couleur (3). Le vair en pal ou appointé se fait en opposant la pointe d'un vair à la base de l'autre (4).
Quelquefois l'hermine et le vair adoptent d'autres couleurs que celles qui leur sont propres; on dit alors herminé ou vairé de tel ou tel émail, par exemple: Beaufremont porte vairé d'or et de gueules (5). Une règle générale du blason est de ne mettre point couleur sur couleur à la réserve du pourpre, ni métal sur métal; autrement les armoiries seraient fausses, ou du moins à enquérir. On désigne par armes à enquérir celles qui sortent de la règle commune, qui sont données pour quelque acte remarquable; dans ce cas on peut mettre couleur sur couleur, métal sur métal. L'intention de celui qui prend de pareilles armes est de s'obliger à rendre compte du motif qui les lui a fait adopter.

L'écu ou champ est simple ou composé; dans le premier cas il n'a qu'un seul émail sans divisions, dans le second il peut avoir plusieurs émaux. Il est alors divisé ou parti. On compte quatre partitions principales, dont toutes les autres dérivent: Le parti, qui partage l'écu perpendiculairement en deux parties égales (6); le coupé (7); le tranché (8); le taillé (9). Le parti et le coupé forment l'écartelé (10), qui est de quatre, de six, de huit, de dix, de seize quartiers et plus encore quelquefois. Le tranché et le taillé donnent l'écartelé en sautoir (11). Les quatre partitions ensemble donnent le gironné (12). Quand le gironné est de huit pièces comme l'exemple (fig. 12), on l'appelle simplement gironné; mais quand il y a plus ou moins de girons, on en désigne le nombre: gironné de six, de dix, de douze, de quatorze pièces. Tiercé se dit de l'écu qui est divisé en trois parties égales de différents émaux conformément à chacune des partitions. Ainsi, le tiercé par le parti s'appelle tiercé en pal (13), X porte: tiercé en pal de sable, d'argent et d'azur; le tiercé par le coupé s'appelle tiercé en fasce (14), X porte: tiercé en fasce d'azur, d'or et de gueules; le tiercé en bande est donné par le tranché (15), X porte: tiercé en bande d'or, de gueules et d'azur; le tiercé en barre par le taillé (16), X porte: tiercé en barre d'azur, d'or et de gueules. Il y a en outre les tiercés qui ne se rapportent pas aux quatre premières partitions, mais qui se tracent d'après certaines figures héraldiques.

Il y a le tiercé en chevron (17), X porte: tiercé en chevron d'argent, de gueules et de sable; le tiercé en pointe ou en mantel (18), X porte: tiercé en pointe ou en mantel d'azur, d'argent et de gueules; le tiercé en écusson (19), X porte: tiercé en écusson de gueules, d'argent et d'azur; le tiercé en pairle (20), X porte: tiercé en pairle d'argent, de sable et de gueules; le chappé (21), X porte: de gueules à trois pals d'argent chappé d'or; le chaussé (22), X porte: de gueules ou pal d'argent chaussé d'or; l'ambrassé à dextre et à sénestre (23), X porte: d'argent embrassé à sénestre de gueules; X porte: d'argent embrassé à dextre de gueules; le vétu (24), X porte: d'or vêtu d'azur; l'adextré (25), X porte: d'argent adextré d'azur; le sénestré (26) X porte: d'azur sénestré d'argent.
La position des figures qui sont placées sur l'écu doit être exactement
déterminée, et pour le faire, il est nécessaire de connaître les
différentes parties de l'écu (27). A est le centre de l'écu; B le chef;
D le canton dextre du chef; E le canton sénestre du chef; F le flanc
dextre; G le flanc sénestre; C la pointe; H le canton dextre de la
pointe; I le canton sénestre. Quand une figure seule occupe le centre de
l'écu, on ne spécifie pas sa situation. Si deux, trois ou plusieurs
figures sont disposées dans le sens des lettres D B E, on les dit
rangées en chef; si elles sont comme les lettres F A G, en fasce; si
elles suivent l'ordre des lettres H C I, en pointe; disposées comme B A
C, elles sont en pal; comme D A I, en bande; comme E A H, en barre.
Trois figures sont généralement placées comme les lettres D E C: deux et
une; lorsqu'elles sont placées comme les lettres H I B, on les dit mal
ordonnées. Les figures posées comme D E H I se désignent: deux et deux.
Cinq figures posées comme B A C F G, en croix; comme D E A H I, en
sautoir; comme D E A C, en pairle. Les pièces rangées comme D B E G I C
H F, en orle. Une figure placée en A, au milieu de plusieurs autres qui
seraient différentes par leur forme, est en abîme. Quand un écu n'est
chargé d'aucune figure on dit: X porte de tel métal ou de telle couleur.
Les anciens comtes de Gournai portaient de sable plein. Si l'écu n'est
chargé que d'une fourrure, on dit: X porte d'hermine (fig. I). S'il est
chargé de figures, il faut examiner s'il est simple, c'est-à-dire, sans
partitions, ou s'il est composé.
S'il est simple, on énonce d'abord le champ, puis les figures principales et celles qui les accompagnent ou ne sont que secondaires, ensuite leur nombre, leur position et leurs émaux; le chef et la bordure se désignent en dernier lieu ainsi que leurs figures.
Lorsque la pièce principale empiète sur le chef ou la bordure, le chef
ou la bordure doit alors être désigné avant la pièce principale.
Vendôme ancien (28) portait: d'argent au chef de gueules à un lion d'azur, armé, lampassé et couronné d'or brochant sur le tout. Si l'écu est composé, on commence par énoncer les divisions; s'il s'en trouve plus de quatre, on observe le nombre de lignes qui divisent, et l'on dit: Parti de tant, coupé de tant, ce qui donne tant de quartiers. Par exemple (29), dites: Parti d'un, coupé de deux, ce qui donne six quartiers; au premier de..., au second de..., au troisième, etc. (30). Parti de trois, coupé d'un, ce qui donne huit quartiers; au premier de..., au second de..., etc. (31). Parti de deux, coupé de trois, ce qui donne douze quartiers; au premier de..., au second de..., etc. On blasonne chaque quartier en détail, en commençant par ceux du chef, et en allant de la droite de l'écu à la gauche.

Les figures ou pièces ordinaires du blason sont de trois sortes: 1° les figures héraldiques ou propres; 2° les figures naturelles; 3° les figures artificielles. Les figures héraldiques se subdivisent en pièces honorables de premier et de second ordre. Les pièces honorables de premier ordre occupent habituellement dans leur largeur, lorsqu'elles sont seules, le tiers de l'écu; à l'exception du franc-quartier, du canton et du giron qui n'en occupent que la quatrième partie.


Ces pièces sont: le chef (32), la fasce (33), la champagne (34),
le pal (35), la bande (36), la barre (37), la croix (38), le
sautoir (39); le chevron (40), le franc-quartier (41), le canton
(42) dextre ou sénestre, la pile (43) ou la pointe, le giron
(44), la pairle (45), la bordure (46), l'orle (47), plus étroit
que la bordure, le trescheur (48) ou essonier qui ne diffère de
l'orle qu'en ce qu'il est plus étroit et fleuronné, l'écu en abîme
(49), le gousset (50), rarement employé. Lorsque les pièces dont nous
venons de parler se multiplient, ces répétitions se nomment
rebattements. Harcourt porte: de gueules à deux fasces d'or (51).
Aragon (royaume) porte: d'or à quatre pals de gueules (52).
Richelieu porte: d'argent à trois chevrons de gueules (53). Les pièces
honorables, lorsqu'elles ne sont pas en nombre, doivent remplir, comme
nous l'avons dit, le tiers de l'écu; mais il arrive parfois qu'elles ont
une largeur moindre, le tiers de leur largeur ordinaire ou le neuvième
de la hauteur ou de la largeur de l'écu, alors elles changent de nom. Le
chef n'est plus que chef diminué, ou comble. le pal diminué se nomme
vergette; la fasce diminuée, devise; la bande diminuée, cotice; la
barre diminuée, traverse. La cotice et la traverse sont alésées
lorsqu'elles ne touchent pas les bords de l'écu. Dans ce cas, la cotice
est dite bâton péri en bande, et la traverse bâton péri en barre. La
champagne diminuée se nomme plaine. Les fasces, les bandes et les
barres très-minces et mises deux à deux sont des jumelles ou
gemelles (54). Si elles sont disposées trois à trois, on les nomme
tierces ou tierches (55). Les fasces alesées de trois pièces se
disent hamade ou hamaide (56).
Lorsque l'écu est couvert de pals, de fasces, de bandes, de chevrons, etc., en nombre égal, c'est-à-dire de façon à ce que l'on ne puisse dire tel émail est le champ, on blasonne ainsi: pallé, fascé, bandé, coticé, chevronné, etc., de tant de pièces et de tel émail. D'Amboise porte: pallé d'or et de gueules de six pièces (57).

Si le nombre des pallés excède celui de huit, on dit vergetté.
Si le nombre des fascés excède huit, on dit burellé, de tant de pièces; si le bandé excède celui de neuf, on dit coticé.
Si les pals, les fasces, les bandes, les chevrons sont opposés, c'est-àdire si ces figures divisées par un trait se chevauchent de manière à ce que le métal soit opposé à la couleur, et vice versa, on dit alors contre-pallé, contre-fascé, contre-bandé, contre-chevronné.
Les pièces moins honorables, ou du second ordre, sont:
1° L'emmanché.
Il faut exprimer si l'emmanché est en pal, en bande ou en fasce.
X (58) porte: emmanché en fasce d'une pointe et deux demies de gueules sur argent.
2° Les points équipollés, qui sont toujours au nombre de neuf en échiquier.
Bussi (59) porte: cinq points d'or équipollés à quatre points d'azur.
3° L'échiquetté (60), ordinairement de cinq traits;
Quand il y en a moins, on doit le spécifier en blasonnant.
4° Le fretté (61), qui sont des bandes et des barres s'entrelaçant, au nombre de six.
5° Le treillisé (62), qui ne diffère du fretté que parce que les bandes et les barres sont clouées à leur rencontre; on exprime l'émail des clous.
6° Les losanges (63) et le losangé (64) quand l'écu est rempli de lozanges; de Craon porte: losangé d'or et de gueules.
7° Les fusées ou le fuselé, qui ne diffèrent des losanges ou du losangé que parce que les figures sont plus allongées; X (60) porte: d'argent à cinq fusées de sable mises en pal au chef de même.
8° Les mâcles, qui sont des losanges, ajourés de losanges plus petits; Rohan (66) porte: de gueules à neuf mâcles d'or.
9° Les rustes ou rustres; qui ne diffèrent des mâcles qu'en ce que l'ajour est circulaire; X (67) porte: de gueules à trois rustes d'argent, 2 et 1.
10° Les besants et les tourteaux; les premiers sont toujours de métal, les seconds de couleur; X (68) porte: d'azur à six besants d'argent, 3, 2 et 1. Les besants peuvent être posés jusqu'au nombre de huit et non plus.
Les besants-tourteaux, qui sont parti de métal et de couleur; X (69) porte: de gueules parti d'or à trois besants-tourteaux de l'un en l'autre.
11° Les billettes (70), qui sont de petits parallélogrammes posés debout. Les billettes peuvent être renversées, c'est-à-dire posées sur leur grand côté; mais on l'exprime. Elles sont quelquefois percées en carré ou en rond; on l'exprime également.
Toutes les pièces honorables du premier ordre ont divers attributs, ou subissent certaines modifications, dont voici la nomenclature:
Elles peuvent être abaissées; des Ursins (71) porte: bandé d'argent et de gueules de six pièces, au chef d'or, chargé d'une anguille ondoyante d'azur, abaissé sous un autre chef d'argent, chargé d'une rose de gueules; --accompagnées ou environnées, c'est lorsque autour d'une pièce principale, comme est la croix, la bande, le sautoir, etc.,il y a plusieurs autres pièces dans les cantons; X (72) porte: de sable à la croix d'argent, accompagnée de quatre billettes de même;--adextrées, qui se place au côté dextre de l'écu; X (73) porte: de sinople à trois trèfles d'argent adextrés d'une croix d'or;--aiguisées; X (74) porte: d'or aux trois pals aiguisés d'azur;--alèsées; Xintrailles (75) porte:

d'argent à la croix alesée de gueules;--bandées (fig. 71); barrées se dit dans le même sens que barré; bastillées se dit d'un chef, d'une fasce, d'une bande, crénelés vers la pointe de l'écu; X (76) porte: d'azur au chef d'argent, bastillé d'or, de trois pièces;--bordées; X (77) porte: d'azur à la bande d'or. bordée de gueules;--bourdonnées se dit communément d'une croix garnie, à l'extrémité de ses bras, de boutons semblables à des bourdons de pèlerins;--bretessées. X (78) porte: d'or à la fasce de gueules bretessées de deux pièces et deux demies;--bretessées à doubles. X (79) porte: de gueules à la bande bretessées à double d'or;--contre-bretessées, X (80) porte: d'argent à la fasce bretessée et contre-bretessée de sable;--brochantes se dit des pièces qui passent sur d'autres; du Terrail (81) porte: d'azur au chef d'argent, chargé d'un lion issant de gueules, à la cotice d'or brochant sur le tout;--cablées se dit d'une croix faite de cordes ou de câbles tortillés;--cantonnées se dit lorsque, dans les quatre cantons qui restent entre les bras d'une croix, il y a des pièces posées dans le champ; --chargées se dit de toutes sortes de pièces sur lesquelles d'autres sont superposées: ainsi le chef, la fasce, le pal, la bande, les chevrons, les croix, les lions, les bordures, etc., peuvent être chargés de besants, de croissants, de roses, etc.; X porte: d'or à trois fasces de gueules, chargées chacune de cinq sautoirs d'argent;--chevronnées se dit d'un pal ou de toute autre pièce chargée de chevrons, et de tout l'écu s'il en est rempli;--cléchée. Toulouse (82) porte: de gueules à la croix cléchées, vidée et pommetée d'or;--componées, X (83) porte: d'azur à la bande componée d'or et de gueules de cinq pièces;--cousues se dit du chef quand il est de métal sur métal, ou de couleur sur couleur, comme aux armoiries de la ville de Paris (on se sert aussi de ce mot pour les fasces, bandes, chevrons, de couleur sur couleur, ou ne métal sur métal);--cramponnées. l'évêché de Hamin en Allemagne (84) porte: d'azur à une potence cramponnée à sénestre, croisonnée et potencée à dextre d'or;--denchées,endenchées ou dentées, X (85) porte: de gueules à la bordure endenchée d'or; Cossé de Brissac (86) porte: de sable à trois fasces denchées d'or. Quand les dents sont tournées la pointe vers le sommet de l'écu, on l'exprime; diaprée, X (87) porte: d'azur à la fasce d'or diaprée de gueules;--échiquetées, X (88) porte: d'azur au franc quartier échiqueté d'argent et de gueules;--engrélées, c'est-à-dire, garnies de dents très-menues,

X (89) porte: d'azur à la croix engrélée d'argent;--entées, Rochechouart (90) porte: fascé, enté, ondé d'argent et de gueules;--entrelacées se dit de trois croissants, de trois anneaux et autres figures analogues, posées les unes dans les autres;--faillies se dit des chevrons rompus; d'Oppède (91) porte: d'azur à deux chevrons faillis d'argent, le premier à dextre, le second à sénestre;--florencées se dit de la croix dont les bras se terminent par des fleurs de lis;--gringolées se dit des pièces telles que les croix, sautoirs, etc, terminées par des têtes de serpent; --haussées se dit lorsque des pièces telles que fasces, chevrons, etc., occupent dans l'écu une place plus élevée que celle qui leur est habituellement affectée;--mouvantes se dit des pièces qui semblent sortir du chef, des angles, des flancs ou de la pointe de l'écu;--ondées se dit des pièces, pals, fasces, chevrons, bordures, etc., découpées en ondes;--resarcelées, bordées d'un linéament d'un autre émail;--retraitées se dit des bandes, pals et fasces qui; de l'un de leurs, cotés, ne touchent pas au bord de l'écu;--vivrées, X (92) porte: d'or à la bande vivrée d'azur;--vidées se dit des pièces à jour, à travers lesquelles on voit le champ de l'écu.

Les croix affectent des formes particulières; on les dit pattées, d'Argentré (93) porte: d'argent à la croix pattée d'azur;--recercelées, X (94) porte: d'argent à la croix recercelée de sable;--recroisettées, X (95) porte: d'argent à la croix recroisettée de sable;--ancrées, X (951) porte: parti de gueules et d'argent à la croix ancrée de l'un en l'autre;--fichées, X (952) porte: d'argent aux trois croix fichées de sable, 2 et 1;--bastonnées ou clavelées, X (953) porte: d'azur à une croix bastonnée d'or et d'argent, ou à quatre bastons, deux d'or et deux d'argent;--de Lorraine, X (954) porte: d'azur à la croix de Lorraine d'argent;--tréflées, X (955) porte: d'argent à la croix tréflée de gueules;--gringolées, c'est-à-dire dont les croisillons sont terminés par des têtes et coups de gringoles ou guivres, X (956) porte: d'argent à la croix de gueules gringolée de sable;--anillées ou nellées, c'est-à-dire dont les croisillons se terminent en fers de moulins, X (957) porte: d'or à la croix nellée de sable. Les croix écotées, c'est-à-dire composées de deux branches d'arbre dont les rameaux sont coupés, ondées, frettées, vairées, etc., enfin chargées des figures qui chargent les pièces honorables.

Les figures naturelles usitées dans le blason peuvent être divisées en cinq classes: 1° les figures humaines, 2° les animaux, 3° les plantes, 4° les astres et météores, 5° les éléments, c'est-à-dire l'eau, le feu, la terre. Les figures humaines sont ou de l'émail ordinaire du blason ou peintes en carnation, avec ou sans vêtements, de couleurs naturelles et ombrées. On dit: si ces figures sont vêtues et comment, couronnées, chevelées, ombrées, etc.; on indique leur attitude, leur geste, ce qu'elles portent et comment.
Les animaux les plus usités sont, parmi les quadrupèdes: le lion, le léopard, le loup, le taureau, le cerf, le bélier, le sanglier, l'ours, le cheval, l'écureuil, le chien, le chat, le lièvre, etc.; parmi les oiseaux: l'aigle, aiglettes, le corbeau, les merlettes, le cygne, les alérions, les canetes, etc.; parmi les poissons: le bar, le dauphin, le chabot, la truite, etc.; parmi les reptiles: le serpent, le crocodile, la tortue, le lézard; parmi les insectes: les mouches, abeilles, taons; parmi les animaux fantastiques ou allégoriques: la sirène, le dragon, les ampsystères ou serpents ailés, le griffon, la salamandre, la licorne, etc. Les animaux représentés sur les armoiries regardent ordinairement la droite de l'écu; s'ils regardent la gauche, on les dit contournés.
Les lions et les léopards sont les animaux les plus ordinairement employés, ils ont par-dessus tous les autres le privilége d'être héraldiques, c'est-à-dire, que leur forme et leur posture sont soumises à des règles fixes. Le lion est toujours figuré de profil: il est rampant, c'est-à-dire, élevé sur ses pattes de derrière, la patte dextre de devant élevée, et la patte sénestre de derrière en arrière; ou passant, autrement dit léopardé, s'il paraît marcher. Le léopard montre toujours son masque de face, sa posture habituelle est d'être passant; s'il rampe, on le dit lionné ou rampant.
Le lion et le léopard ont des termes accessoires qui leur sont communs; ils sont armés, lampassés, accolés, membrés, couronnés, adossés, affrontés, contournés, contrepassants, issants, naissants, mornés, diffamés, burellés, bandés, coupés, partis, fascés, échiquetés, d'hermine, de vair. Le lion armé se dit des ongles qui peuvent être d'un émail différent de celui du reste du corps; lampassé, de la langue; morné, lorsqu'il n'a ni langue, ni dents ni ongles; diffamé, lorsqu'il n'a pas de queue. Olivier de Clisson, connétable de France sous Charles VI, portait: de gueules au lion d'argent armé, lampassé et couronné d'or, etc.
Pendant les XIIIe, XIVe et XVe siècles, les animaux héraldiques étaient figurés d'après certaines formes de convention qu'il est nécessaire de bien connaître, car ce n'est pas sans raison qu'elles avaient été adoptées. Les différentes figures qui couvrent l'écu étant destinées le plus souvent à être vues de loin, il fallait que leur forme fût très-accentuée. Les artistes de ces époques l'avaient compris; si les membres des animaux ne sont pas bien détachés, si leur mouvement n'est pas exagéré, si leur physionomie n'est pas parfaitement distincte, à une certaine distance ces figures perdent leur caractère particulier, et ne présentent plus qu'une tache confuse. Depuis le XVIe siècle le dessin décoratif s'est amolli, et les figures héraldiques ont perdu ce caractère qui les faisait facilement reconnaître. On a voulu donner aux animaux une physionomie plus réelle, et comme l'art héraldique est un art purement de convention, cette tentative était contraire à son principe. Il est donc d'une grande importance de se pénétrer des formes traditionnelles données aux animaux comme à toutes les autres figures, lorsqu'il s'agit de peindre des armoiries. Bien que nous ne puissions dans ce résumé donner des exemples trop nombreux, nous essaierons cependant de réunir quelques types qui feront comprendre combien l'on s'est écarté, dans les derniers siècles, des formes qui n'avaient pas été adoptées sans cause, et combien il est utile de les connaître: car, dans tous les armoriaux imprimés depuis la Renaissance, ces types ont été chaque jour de plus en plus défigurés; c'est tout au plus si dans les derniers ouvrages qui traitent de cette matière on trouve quelques vestiges d'un dessin qui n'eut pas dû souffrir d'altération, puisque les armoiries sont des signes dont le principal mérite est de perpétuer une tradition. C'est surtout dans les monuments du XIVe siècle que nous chercherons ces types, car c'est pendant ce siècle que l'art héraldique adopta des figures dont les caractères bien tranchés furent reproduits sans modifications sensibles jusqu'au moment où les artistes, habitués à une imitation vulgaire de la nature, ne comprirent plus les lois fondamentales de la décoration appliquée aux monuments, aux meubles, aux armes, aux vêtements. Voici donc quelques-unes de ces figures:
Nous commencerons par le lion rampant (96); A, couronné.

Passant ou léopardé (97).

Issant (98).

Le léopard (99).

Le loup passant (100); ravissant, lorsqu'il est posé sur ses pattes de derrière.

Le cerf (101).

Le sanglier(102).

L'aigle éployée (103).

Au vol abaissé (103 bis).

Les merlettes (104).

Les alérions (105).

Le bar (106).

Le dauphin (107).

Le chabot (108).

La syrène (109).

Le dragon (110).

Le griffon (111).

Les plantes, arbres, fleurs, fruits sont souvent employés dans les armoiries. Si ce sont des arbres, on les désigne par leur nom. Nogaret porte: d'argent au noyer de sinople arraché, c'est-à-dire dont les racines sont visibles et se détachent sur le champ de l'écu.

Quelques arbres sont figurés d'une manière conventionnelle. Créqui (112) porte: d'or au créquier de gueules. On désigne par chicot des troncs d'arbre coupé, sans feuilles. Lorsque des feuilles sont posées sur le champ, on en indique le nombre et l'espèce.
Il en est de même pour les fruits. Les noisettes dans leur enveloppe sont dites, en blason, coquerelles. Les fleurs se désignent par le nombre de leurs feuilles, trèfle, quarte-feuilles, quinte-feuilles. Toutes sortes de fleurs sont employées dans les armoiries; cependant on ne rencontre guère avant le XVe siècle que les roses, le pavot, le trèfle, les quarte et quinte-feuilles et la fleur de lis 257. En désignant l'espèce et le nombre des fleurs ou fruits dans l'écu, on doit également indiquer s'ils sont accompagnés de feuilles, on les dit alors feuillés; s'ils pendent à une branche, on les dit soutenus. Les fruits que l'on rencontre le plus souvent dans les anciennes armoiries sont: les pommes, les pommes de pin, les raisins, les glands, les coquerelles. Les quarte et quinte-feuilles sont percées par le milieu d'un trou rond, qui laisse voir le champ de l'écu. La rose se dit boutonnée lorsque son coeur n'est pas du même émail que la fleur. Parmi les astres, ceux qui sont le plus anciennement employés sont le soleil, les étoiles et le croissant; le soleil est toujours or. Quand il est de couleur, il prend le nom d'ombre de soleil. La position du croissant est d'être montant, c'est-à-dire que ses cornes sont tournées vers le chef de l'écu. Quand ses cornes regardent la pointe de l'écu, on le dit versé; tourné lorsqu'elles regardent le flanc dextre; contourné si elles regardent le flanc sénestre. On dit encore des croissants en nombre, et suivant leur position, qu'ils sont tournés en bande, adossés, appointés, affrontés, mal ordonnés. L'étoile est ordinairement de cinq pointes; s'il y en a davantage, il faut le spécifier en blasonnant. X porte: de gueules à trois étoiles de huit raies d'or, 2 et 1. L'arc-en-ciel se peint toujours au naturel, en fasce, légèrement cintré.
Les éléments, qui sont le feu, la terre et l'eau, se présentent sous diverses formes: le feu est flamme, flambeau allumé, brandons, charbons ardents; la terre est figurée sous forme de monts, roches, terrasses; l'eau sous forme d'ondes, de sources, de rivières.
Les figures artificielles qui entrent dans les armoiries sont: 1° les instruments de cérémonies sacrées ou profanes; 2° les vêtements ou ustensiles vulgaires; 3° les armes de guerre, de chasse; 4° les bâtiments, tours, villes, châteaux, ponts, portes, gallées, naves ou nefs (galères et navires), etc.; 5° les instruments des arts ou des métiers. Il est nécessaire, suivant la méthode ordinaire, de désigner ces différents objets par leurs noms en blasonnant, de marquer leur situation, leur nombre et les émaux des différents attributs qu'ils peuvent recevoir. Du Lis (113) porte: d'azur à une épée d'argent en pal la pointe en haut, surmontée d'une couronne et accostée de deux fleurs de lis de même.

Parmi les armes le plus ordinairement figurées dans les anciennes armoiries, on distingue les épées, les badelaires (épées courtes, larges et recourbées), les flèches, les lances, les haches, les masses, les étriers. les éperons, les molettes d'éperons, les heaumes, les cors, les huchets, les épieux, les rets, etc.
Les châteaux sont quelquefois surmontés de tourelles, on les dit alors sommés de tant; on les dit maçonnés de..., lorsque les joints de pierre sont indiqués par un émail différent. Le royaume de Castille (114) porte: de gueules, au château sommé de trois tours d'or, maçonné, ajouré d'azur.
Les tours surmontées d'une tourelle se disent donjonnées. Si les tours n'ont point de donjons, mais seulement un couronnement crénelé, on doit dire crénelé de tant de pièces.
Ajouré se dit lorsque les portes ou fenêtres des tours ou châteaux sont d'un émail différent du bâtiment. Les mêmes termes s'appliquent aux autres bâtiments. Essoré se dit d'un bâtiment dont le toit est d'un autre émail.

Un navire est fretté, habillé, lorsqu'il est muni de tous ses agrès et voiles. Paris (115) porte: de gueules à la nef frettée, habillée d'argent flottant sur des ondes de même, au chef cousu de France ancien. Si le navire est sans mâts et sans voiles, on dit: navire arrêté. Quand les ancres sont peintes de différents émaux, on doit le spécifier. La trabe est la traverse, la stangue c'est la tige, les gumènes sont les câbles qui attachent l'ancre.
Nous n'entrerons pas dans de plus amples détails pour ce qui concerne les divers instruments ou bâtiments qui figurent dans les armoiries; nous renvoyons nos lecteurs aux traités spéciaux.
Brisure, en termes de blason, est un changement que l'on fait subir aux armoiries pour distinguer les branches d'une même famille. On ne brisait dans l'origine que par le changement de toutes les pièces, en conservant seulement les émaux. Ainsi les comtes de Vermandois, sortis de la maison de France, portaient: échiqueté d'or et d'azur, au chef de France. Plus tard on brisa en changeant les émaux et conservant les pièces. La branche aîné de Mailli porte: d'or à trois maillets de sinople; les Mailli de Bourgogne portent: de gueules à trois maillets d'or: d'autres branches portent: d'or aux maillets de sable, d'or à trois maillets d'azur. On brisa aussi en changeant la situation des pièces, ou en retranchant quelques-unes des pièces. Mais la manière de briser qui fut la plus ordinaire en France consistait à ajouter une pièce nouvelle aux armoiries pleines de la famille. Dès la fin du XIIIe siècle les princes du sang de la maison de France brisèrent de cette manière, et l'on choisit comme brisure des pièces qui n'altéraient pas le blason principal, tels que le lambel; Orléans porte: de France au lambel à trois pendants d'argent pour brisure;--la bordure, Anjou porte: de France à la bordure de gueules;--le bâton peri, Bourbon porte: de France au bâton peri en bande de gueules;--le canton, la molette d'éperon, le croissant, l'étoile, le besant, la coquille, la croisette, la tierce quarte ou quinte feuille. On brise encore en écartelant les armes de sa maison avec les armes d'une famille dans laquelle on a pris alliance.
Dans les exemples que nous avons donnés, nous avons choisi pour les écus la forme généralement adoptée pendant les XIIIe, XIVe et XVe siècles 258, forme qui fut modifiée pendant les XVIe et XVIIe siècles; on leur donna alors un contour moins aigu et terminé souvent à la pointe en accolade.
Les femmes mariées portent des écus accolés; le premier écusson donne les armes de l'époux, et le second les leurs. Pour les écus des filles, on adopta, dès le XIVe siècle, la forme d'un losange.
Des figures accessoires accompagnent les écus armoyés. À dater de la fin du XIVe siècle, on voit fréquemment les écus soutenus par des supports et tenants, surmontés quelquefois de cimiers, timbres, et se détachant sur des lambrequins.
Le support est un arbre, auquel est suspendu l'écu; les tenants sont une ou deux figures d'hommes d'armes, chevaliers, couverts de leurs armures et de la cotte armoyée aux armes de l'écu. L'origine de cette manière d'accompagner l'écu se trouve dans les tombeaux des XIIIe et XIVe siècles. Dans l'église de l'abbaye de Maubuisson, devant l'autel de saint Michel, on voyait, à la fin du siècle dernier, le tombeau de Clarembaud de Vendel, sur lequel ce personnage était représenté vêtu d'une cotte de mailles avec son écu placé sur le corps, émanché de quatre pièces. Il existe encore dans les cryptes de l'église de Saint-Denis un assez grand nombre de statues de princes du sang royal, morts à la fin du XIIIe siècle ou au commencement du XIVe, qui sont représentés de la même manière, couchés sur leurs tombes. Nous citerons entre autres celle de Robert de France, comte de Clermont, seigneur de Bourbon (provenant des jacobins de Paris), ayant son écu pendu en bandoulière incliné du côté gauche, portant: de France (ancien) à la cotice de gueules; celle de Louis de Bourbon, petit-fils de saint Louis, de même; celle de Charles d'Alençon dont l'écu porte: de France (ancien) à la bordure de gueules chargée de seize besants de..., etc. (voy. TOMBEAU). Dans les deniers d'or, Philippe de Valois est représenté assis sur un pliant, tenant son épée haute de la main droite et de la gauche s'appuyant sur l'écu de France. Dans les nobles à la rose et les nobles Henri d'Angleterre, ce prince est figuré debout dans un navire dont il sort à mi-corps, tenant en sa droite une épée haute et en sa gauche un écu écartelé de France et d'Angleterre. Dans les Angelots l'écu est attaché à une croix qui tient lieu de mât au vaisseau. Prenant la partie pour le tout, on donna bientôt à ces monnaies d'or le nom d'écus d'or.
Il est encore une façon de tenants, c'est celle qui consiste à faire porter l'écu par des mores, des sauvages, des sirènes, des animaux réels ou fabuleux. L'origine de cet usage se trouve dans les tournois. Les chevaliers faisaient porter leurs lances, heaumes et écus par des pages et valets déguisés en personnages étranges ou en animaux. Pour ouvrir le pas d'armes les tenants du tournoi faisaient attacher leurs écus à des arbres sur les grands chemins, ou en certains lieux assignés, afin que ceux qui voudraient combattre contre eux allassent toucher ces écus. Pour les garder on mettait des nains, des géants, des mores, des hommes déguisés en monstres ou en bêtes sauvages; un ou plusieurs hérauts d'armes prenaient les noms de ceux qui touchaient les écus des tenants. Au célèbre tournoi qui eut lieu en 1346, le premier de mai, à Chambéry, Amédée VI de Savoie fit attacher son écu à un arbre, et le fit garder par deux grands lions, qui depuis cette époque devinrent les tenants des armoiries de Savoie; ce prince choisit probablement ces animaux pour tenants, parce que le Chablais et la duché d'Aoste, ses deux principales seigneuries, avaient des lions pour armoiries. Les écus armoyés, timbres, cimiers et devises des chevaliers qui figurèrent à ce tournoi, restèrent déposés au nombre de vingt pendant trois siècles dans la grande église des pères de Saint-François à Chambéry; ce ne fut qu'en 1660 environ que les bons pères, en faisant badigeonner leur église, enlevèrent ce précieux monument.
Charles VI paraît être le premier des rois de France qui ait fait porter son écu et sa devise par des tenants. Juvénal des Ursins raconte que ce prince, allant à Senlis pour chasser, poursuivit un cerf qui avait au cou une chaîne de cuivre doré; il voulut que ce cerf fût pris aux lacs sans le tuer, ce qui fut exécuté, «et trouva-t-on qu'il avoit au col ladite chaîne où avoit écrit: Cæsar hoc mihi donavit. Et dès lors, le roy, de son mouvement, porta en devise le cerf volant couronné d'or au col, et partout où on mettoit ses armes, y avoit deux cerfs tenant ses armes d'un côté et de l'autre. 1380.» Depuis, Charles VII, Louis XI et Charles VIII, conservèrent les cerfs ailés comme tenants des armes royales. Louis XII et François Ier prirent pour tenants, le premier, des porcs-épics, le second, des salamandres, qui étaient les animaux de leurs devises. A partir du XVIe siècle, presque toutes les familles de la noblesse française adoptèrent des tenants pour leurs armoiries; mais cet usage n'avait rien de rigoureux, et on changeait souvent, suivant les circonstances, les supports ou tenants de ses armes. Telle famille, qui avait pour tenants de son écusson des sauvages ou des mores, le faisant peindre dans une chapelle, changeait ces figures profanes contre des anges. Les armes de Savoye, par exemple, dont nous avons parlé, étaient soutenues par un ange sur l'une des portes du couvent de Saint-François à Chambéry, avec cette devise: Crux fidelis inter omnes. Les armoiries des villes furent aussi, à partir du XVe siècle, représentées avec des supports: Bâle a pour support un dragon; Bordeaux deux béliers; Avignon deux gerfauts, avec cette devise: Unguibus et rostro. Souvent les supports furent donnés par le nom des familles; ainsi la maison des Ursins avait deux ours pour supports. Les supports sont parfois variés; les rois d'Angleterre ont pour supports de leurs armes, à droite, un léopard couronné armé et lampassé d'azur, à gauche, une licorne d'argent accolée d'une couronne et attachée à une chaîne d'or passant entre les deux pieds de devant et retournant sur le dos. Mais ces supports sont postérieurs à la réunion de l'Écosse au royaume d'Angleterre; avant cette époque, les supports des armes d'Angleterre étaient un lion et un dragon, ce dernier symbole à cause de l'ordre de la Jarretière dédié à saint Georges.
Pendant les tournois et avant l'entrée en lice, il était d'usage d'exposer les armoiries des combattants sur de riches tapis. Peut-être est-ce là l'origine des lambrequins sur lesquels, à partir du XVe siècle, on peignit les armoiries. Lorsqu'un tenant se présentait au pas d'armes, son écu ou sa targe était, dans certaines circonstances, suspendu dans un pavillon qu'il fallait ouvrir pour le faire toucher par ceux qui se faisaient inscrire pour jouter. «Le premier samedy du mois de may l'an 1450, le pavillon fut tendu, comme il estoit de coutume, et comme toujours se continua chacun samedy de l'an, durant l'emprise des susdicts. Si vint audict pavillon un jeune escuyer de Bourgogne, nommé Gérard de Rossillon, beau compaignon, haut et droit, et de belle taille; et s'adreça ledict escuyer à Charolois le héraut, luy requérant qu'il luy fist ouverture; car il vouloit toucher la targe blanche, en intention de combatre le chevalier entrepreneur de la hache, jusques à l'accomplissement de vingt-cinq coups. Ledict héraut luy fist ouverture, et ledict Gérard toucha: et de ce fut faict le rapport à messire Jacques de Lalain, qui prestement envoya devers luy pour prendre jour... 259» On peut voir encore dans cet usage l'origine des lambrequins qui semblent découvrir l'écu. Il faut dire aussi que dès le XVe siècle les heaumes des chevaliers qui devaient jouter étaient armés d'un lambrequin en étoffe ou en cuir doré et peint, déchiqueté sur les bords; cette sorte de parure qui accompagne le timbre surmontant l'écu, et qui tombe des deux côtés, paraît être le principe de cet accessoire que l'on trouve joint aux armoiries pendant les XVe et XVIe siècles... «Le tymbre doibt estre sur une pièce de cuir boully, laquelle doibt estre bien faultrée d'ung doy d'espez, ou plus par dedans; et doibt contenir ladite pièce de cuir tout le sommet du heaulme, et sera couverte ladite pièce du lambequin, armoyé des armes de cellui qui le portera. Et sur ledit lambequin, au plus hault du sommet, sera assis ledit tymbre, et autour d'icellui aura ung tortis des couleurs que vouldra ledit tournoyeur, du gros du bras ou plus ou moins à son plaisir 260.» Nous l'avons dit déjà au commencement de cet article, les chevaliers et princes qui se présentaient dans la lice pour jouter adoptaient des armes de fantaisie et ne paraissaient avec leurs armes héréditaires qu'exceptionnellement. On prenait trop au sérieux les armoiries de famille pour les livrer aux hasards de combats qui n'étaient qu'un jeu. Il est curieux de lire à ce sujet le passage des Mémoires d'Olivier de la Marche, fort expert en ces matières. «D'autre part, dit-il 261, se présenta Michau de Certaines sur un cheval couvert de ses armes: dont plusieurs gens s'émerveillèrent; et sembloit à plusieurs, que considéré que les armes d'un noble homme sont et doyvent estre l'émail et la noble marque de son ancienne noblesse, que nullement ne se doit mettre en danger d'estre trébuchée, renversée, abatue, ne foulée si bas qu'à terre, tant que le noble homme le peut détourner ou deffendre: car d'aventurer la riche monstre de ses armes, l'homme aventure plus que son honneur, pour ce que d'aventurer son honneur n'est despense que le sien, et ce où chacun a pouvoir; mais d'aventurer ses armes, c'est mis en avanture la parure de ses parens et de son lignage, et avanturé à petit prix ce où il ne peut avoir que la quantité de sa part; et en celle manière est mis à la mercy d'un cheval et d'une beste irraisonnable (qui peut estre portée à terre par une dure atteinte, ou choper à par soy ou mémarcher); ce que le plus preux et plus seur homme du monde ressongue bien, et doute de porter sur son dos en tel cas...»
La veille du tournoi les tournoyeurs étaient invités à faire déposer leurs armes, heaumes, timbres et bannières à l'hôtel des juges diseurs. Ces armes, déposées sous les portiques de la cour, étaient examinées par les juges pour en faire le département. «Item, et quant tous les heaulmes seront ainsi mis et ordonnez pour les départir, viendront toutes les dames et damoiselles et tous seigneurs, chevaliers et escuiers, en les visitant d'ung bout à autre, là présens les juges qui maineront troys ou quatre tours les dames pour bien veoir et visiter les timbres et y aura ung hérault ou poursuivant qui dira aux dames, selon l'endroit où elles seront, le nom de ceulx à qui sont les timbres, ad ce que s'il y en a nul qui ait des dames mesdit, et elles touchent son timbre, qu'il soit le lendemain pour recommandé. Touteffoiz nul ne doibt estre batu audit tournoy, se non par l'advis et ordonnance des juges, et le cas bien desbatu et attaint au vray, estre trouvé tel qu'il mérite pugnicion; et lors en ce cas doibt estre si bien batu le mesdisant, et que ses épaules s'en sentent très-bien, et par manière que une autreffois ne parle ou médie ainsi deshonnestement des dames, comme il a accoutumé 262.»
Ces timbres, dont on surmonta les écussons armoyés, ne furent, comme les supports et tenants, que des accessoires variables pendant le cours du XVe siècle. Un noble qui avait jouté d'une façon brillante pendant la durée d'un tournoi, la tête couverte d'un heaume timbré de quelque emblème singulier, et sous le nom du chevalier de la licorne, du dragon, etc., timbrait de ce heaume l'écu des armes de sa famille, pendant un certain temps, ou sa vie durant, si de nouvelles prouesses ne faisaient oublier les premières. Ce ne fut qu'à la fin du XVe siècle que l'on adopta pour les timbres, comme pour les couronnes, des formes qui indiquèrent le degré de noblesse ou les titres des nobles (voy. LAMBREQUIN, TIMBRE). Ce n'est qu'au XVIIe siècle que les armes de France furent couvertes et enveloppées d'un pavillon ou tente, c'est-à-dire d'un baldaquin et de deux courtines, ce support ou enveloppe étant réservée depuis lors pour les empereurs et rois. Voici comment se blasonnaient ces armes: d'azur à trois fleurs de lis d'or, deux et une, l'écu environné des colliers des ordres de Saint-Michel et du Saint-Esprit, timbré d'un casque entièrement ouvert, d'or; par dessus, la couronne fermée à l'impériale de huit rayons, hautement exhaussée d'une double fleur de lis d'or, qui est le cimier; pour tenants, deux anges vêtus de la cotte d'arme de France; le tout couvert du pavillon royal semé de France, doublé d'hermine, et pour devise: «Lilia non laborant, neque nent.» Sous Henri IV et Louis XIII, l'écu de Navarre était accolé à celui de France, et l'un des anges était vêtu de la cotte d'armes de Navarre. Jusqu'à Charles V, les fleurs de lis étaient sans nombre sur champ d'azur; ce fut ce prince qui réduisit leur nombre à trois en l'honneur de la Sainte-Trinité. Depuis le XVIIe siècle, les ducs et pairs enveloppèrent leurs armes du pavillon, mais à une seule courtine. L'origine de cette enveloppe est, comme nous l'avons vu plus haut, le pavillon dans lequel les tournoyeurs se retiraient avant ou après l'entrée en lice, et non point le manteau impérial, royal ou ducal; c'est donc un contre-sens de placer la couronne au-dessus du pavillon, le pavillon devrait au contraire recouvrir la couronne; et, en effet, dans les premières armes peintes avec le pavillon, la couronne est posée sur l'écu, et le pavillon enveloppe le tout. Cette erreur, que nous voyons se perpétuer, indique combien il est essentiel, en fait d'armoiries, de connaître les origines de toutes les parties principales ou accessoires qui les doivent composer.
Le clergé régulier et séculier, comme seigneur féodal, adopta des armes dès le XIIIe siècle; c'est-à-dire que les abbayes, les chapitres, les évêchés eurent leurs armes; ce qui n'empêcha pas les évêques de porter leurs armes héréditaires. Ceux-ci, pour distinguer leurs écussons de ceux des membres séculiers de leur famille, les surmontèrent du chapeau épiscopal ou de la mitre, alors que la noblesse ne posait aucun signe au-dessus de ses armes. Nous avons vu des clés de voûte, des peintures des XIIIe et XIVe siècles, où les écussons des évêques sont surmontés du chapeau ou de la mitre 263. Le chapeau épiscopal et le chapeau de cardinal ont la même forme; seulement le premier est vert et n'a que dix glands aux cordons de chaque côté, posés 1, 2, 3 et 4; tandis que le second est rouge et les cordons terminés chacun par quinze glands, posés 1, 2, 3, 4 et 5.
Dès le XIIIe siècle la décoration peinte ou sculptée admit dans les édifices un grand nombre de figures héraldiques, et les armoiries exercèrent une influence sur les artistes jusqu'au commencement du XVIe siècle. La peinture monumentale n'emploie guère, pendant les XIIIe, XIVe et XVe siècles, que les émaux héraldiques; elle ne modèle pas ses ornements, mais, comme dans le blason, les couche à plat en les redessinant par un trait noir. Les harmonies de la peinture héraldique se retrouvent partout pendant ces époques. Nous développons ces observations dans le mot PEINTURE, auquel nous renvoyons nos lecteurs.
Un grand nombre de vitraux de l'époque de saint Louis ont pour bordure et même pour fonds des fleurs de lis, des tours de Castille. A Notre-Dame de Paris deux des portails de la façade présentaient dans leurs soubassements des fleurs de lis gravées en creux. Il en est de même au portail de l'église de Saint-Jean-des-Vignes à Soissons. Le trumeau central de la porte principale de l'église de Semur en Auxois, qui date de la première moitié du XIIIe siècle, est couvert des armes de Bourgogne et de fleurs de lis sculptées en relief. A Reims, à Chartres, les vitraux des cathédrales sont remplis de fleurs de lis. À la cathédrale de Troyes on rencontre dans les vitraux du XIVe siècle les armes des évêques, celles de Champagne. Les villes et les corporations mêmes prirent aussi des armoiries; les bonnes villes, celles qui s'étaient plus particulièrement associées aux efforts du pouvoir royal pour s'affranchir de la féodalité, eurent le droit de placer en chef les armes de France; telles étaient les armes de Paris, d'Amiens, de Narbonne, de Tours, de Saintes, de Lyon, de Béziers, de Toulouse, d'Uzès, de Castres, etc. Quelques villes mêmes portaient: de France, particulièrement dans le Languedoc. Les corporations prenaient pour armes généralement des figures tirées des métiers qu'elles exerçaient; il en était de même pour les bourgeois annoblis. En Picardie beaucoup d'armoiries des XVe et XVIe siècles sont des rébus ou armes parlantes, mais la plupart de ces armes appartenaient à des familles sorties de la classe industrielle et commerçante de cette province.
Ce fut à la fin du XIIIe siècle, sous Philippe le Hardi, que parurent les premières lettres de noblesse en faveur d'un orfévre nommé Raoul (1270) 264. Depuis lors les rois de France usèrent largement de leur prérogative; mais ils ne purent faire que l'ancienne noblesse d'extraction considérât ces nouveaux annoblis comme gentilhommes. Les armoiries de la nouvelle noblesse, composées non plus au camp, en face de l'ennemi, mais par quelque héraut dans le fond de son cabinet, n'ont pas cette originalité d'aspect, cette netteté et cette franchise dans la répartition des émaux et des figures que nous trouvons dans les armoiries de l'ancienne noblesse.
Au commencement de son règne, Louis XV renchérit encore sur ses prédécesseurs en instituant la Noblesse militaire 265. Les considérants qui précèdent cet édit indiquent encore des ménagements envers la noblesse de race, et les tendances de la monarchie, désormais maîtresse de la féodalité. Les grands exemples de zèle et de courage que la Noblesse de notre Roïaume a donné pendant le cours de la dernière guerre, disent ces considérants, ont été si dignement suivis par ceux qui n'avaient pas les mêmes avantages du côté de la naissance, que nous ne perdrons jamais le souvenir de la généreuse émulation avec laquelle nous les avons vus combattre et vaincre nos ennemis: nous leur avons déjà donné des témoignages authentiques de notre satisfaction, par les grades, les honneurs et les autres récompenses que nous leur avons accordés; mais nous avons considéré que ces grâces, personnelles à ceux qui les ont obtenues, s'éteindront un jour avec eux, et rien ne nous a paru plus digne de la bonté du Souverain que de faire passer jusqu'à la postérité les distinctions qu'ils ont si justement acquises par leurs services. La Noblesse la plus ancienne de nos États, qui doit sa première origine à la gloire des armes, verra sans doute avec plaisir que nous regardons la communication de ses Privilèges comme le prix le plus flatteur que puissent obtenir ceux qui ont marché sur ses traces pendant la guerre. Déjà annoblis par leurs actions, ils ont le mérite de la Noblesse, s'ils n'en ont pas encore le titre; et nous nous portons d'autant plus volontiers à le leur accorder, que nous suppléerons par ce moyen à ce qui pouvait manquer à la perfection des lois précédentes, en établissant dans notre Roïaume une Noblesse Militaire qui puisse s'acquérir de droit par les armes, sans lettres particulières d'annoblissement. Le Roi Henry IV avait eu le même objet dans l'article XXV de l'édit sur les tailles, qu'il donna en 1600...»
L'institution des ordres militaires avait créé au XIIe siècle des confréries assez puissantes pour alarmer les rois de la chrétienté. C'était la féodalité, non plus rivale et disséminée, mais organisée, armée et pouvant dicter les plus dures conditions aux souverains. Le pouvoir monarchique, après avoir brisé le faisceau, voulut le relier autour de lui et s'en faire un rempart; il institua pendant les XVe et VIe siècles les ordres de Saint-Michel et du Saint-Esprit, pendant le XVIIe l'ordre de Saint-Louis, et plus tard encore Louis XV établit l'ordre du Mérite-Militaire peu de temps après la promulgation de l'édit dont nous avons cité un extrait. Ces institutions effaçaient les derniers écussons armoyés. Désormais la noblesse devait se reconnaître par un signe général, non plus par des signes individuels. La monarchie tendait à mettre sur le même rang, à couvrir du même manteau, toute noblesse, qu'elle fût ancienne ou nouvelle, et la nuit du 4 août 1789 vit briser, par l'assemblée constituante, des écussons qui, voilés par le pouvoir royal, n'étaient pour la foule que le signe de priviléges injustes, non plus le souvenir et la marque d'immenses services rendus à la patrie. L'écusson royal de Louis XIV avait couvert tous ceux de la noblesse française; au jour du danger il se trouva seul; il fut brisé; cela devait être.
Note 254: (retour) Blasonner vient du mot allemand blasen (sonner du cor): «C'était autrefois la coutume de ceux qui se présentaient pour entrer en lice dans les tournois, de notifier ainsi leur arrivée; ensuite les hérauts sonnaient de la trompette, blasonnaient les armes des chevaliers, les décrivaient à haute voix, et se répandaient quelquefois en éloges au sujet de ces guerriers.» (Nouv. Méth. du blason, ou l'art hérald. du P. Ménestrier, mise dans un meill. ordre, etc., par M. L***. In-8°, Lyon, 1770.)
Note 255: (retour) «Louis le Jeune est le premier de nos rois qui soit représenté avec des fleurs de lys à la main et sur sa couronne. Lorsqu'il fit couronner son fils, il voulut que la dalmatique et les bottines du jeune prince fussent de couleur d'azur et semées de fleurs de lys d'or.» (Ibid.)
Note 256: (retour) Il est entendu que, conformément à la méthode employée depuis le XVIIe siècle pour faire reconnaître par la gravure les émaux des armoiries, nous exprimons l'argent par l'absence de toute hachure, l'or par un pointillé, l'azur par des hachures horizontales, gueules par des hachures verticales, le sinople par des hachures diagonales de droite à gauche (de l'écu), le pourpre par des lignes diagonales de gauche à droite, le sable par du noir sans travail, bien que dans la gravure en taille-douce ou l'intaille, on l'indique par des hachures horizontales et verticales croisées.
Note 257: (retour) Voyez le mot FLEUR DE LIS.
Note 258: (retour) Il ne paraît pas que des règles fixes aient été adoptées pendant les XIIIe et XVIe siècles pour la forme ou la proportion à donner aux écus, ils sont plus ou moins longs par rapport à leur largeur ou plus ou moins carrés; il en existe au XIIIe siècle (dans les peintures de l'église des Jacobins d'Agen, par exemple) qui sont terminés à la pointe en demi-cercle.
Note 259: (retour) Mémoire d'Olivier de la Marche. liv. I, chap, XXI.
Note 260: (retour) Traicté le la forme et devis d'ung tournoy. Les manants du livre des tournois par le roi Réné. Bib. imp. (Voir celui n°8351).
Note 261: (retour) Liv. I, char. XXI.
Note 262: (retour) Traicté de la forme et dev. d'ung tournoy, Bib. imp. man. 8351; et les OEuvres chois. du roi Réné, par M. le comte de Qnatrebarbes. Angers, 1835.
Note 263: (retour) A Vézelay, XIIIe siècle; dans la cathédrale de Carcassonne, XIVe siècle, etc.
Note 264: (retour) Le présid. Hénault, Abrégé chron. de l'Histoire de France.
Note 265: (retour) Édit du mois de novembre 1750.
ARONDE, s. f. (Queue d'). Sorte de crampon de métal, de bois ou de
pierre, ayant la forme en double d'une queue d'hirondelle, et qui sert à
maintenir l'écartement de deux pierres, à réunir des pièces de bois de
charpente, des madriers, des planches (1). Cette espèce de crampon a été
employé de toute antiquité. Lorsqu'on déposa l'obélisque de Louqsor pour
le transporter en France, on trouva sous le lit inférieur de ce bloc de
granit une queue d'aronde en bois qui y avait été incrustée dans
l'origine pour prévenir la rupture d'un fil. Dans les fragments de
constructions antiques dont on s'est servi à l'époque gallo-romaine pour
élever des enceintes de villes, on rencontre souvent des entailles qui
indiquent l'emploi fréquent de queues d'aronde en fer ou en bronze. Nous
en avons trouvé en bois dans des constructions romanes de la première
époque. Quelquefois aussi la bascule des chapiteaux des colonnes
engagées, cantonnant des piles carrées, des XIe et VIIe siècles, est
maintenue postérieurement par une fausse coupe en queue d'aronde (2). Il
en est de même pour les corbeaux formant une forte saillie et destinés à
porter un poids en bascule (3).



Mais c'est surtout dans les ouvrages de charpente que la queue d'aronde a été employée pendant le moyen âge. Les entraits des fermes dans les charpentes de combles des XIIIe, XIVe et XVe siècles sont généralement assemblés dans les sablières doubles en queue d'aronde et à mi-bois (4), afin d'arrêter la poussée des chevrons portant ferme et reposant sur ces sablières d'un entrait à l'autre (voy. CHARPENTE). L'usage des languettes et embrèvements étant peu commun dans la menuiserie antérieure au XVe siècle, les membrures des huis, les madriers, sont souvent réunis par des queues d'aronde entaillées à mi-bois (5). Dans ce cas, les menuisiers ont eu le soin de choisir, pour les queues d'aronde, des bois très-durs et tenaces, tels que l'orme, les parties noueuses du noyer ou du chêne.

Les architectes des XVe et XVIe siècles usèrent et abusèrent de la queue d'aronde en pierre pour maintenir de grands encorbellements, pour suspendre des clefs de voûte ou des sommiers recevant des arcs sans le secours d'un point d'appui (6) (voy. CLEF pendante, VOUTE). Les queues d'aronde en pierre ont l'inconvénient de casser facilement au point faible; la pierre n'ayant pas d'élasticité, le moindre mouvement dans les blocs que ces queues doivent réunir, les brise, et rend leur emploi inutile.
FIN DU TOME PREMIER.
Paris.--Imprimé chez Bonaventure et Ducessois. 55, quai des
Grands-Augustins.

FIN DE LA TABLE PROVISOIRE DU TOME PREMIER.
End of the Project Gutenberg EBook of Dictionnaire raisonné de
l'architecture française du XIe au XVIe siècle (1/9), by Eugène-Emmanuel Viollet-Le-Duc
*** END OF THIS PROJECT GUTENBERG EBOOK DICTIONNAIRE ***
***** This file should be named 30781-h.htm or 30781-h.zip *****
This and all associated files of various formats will be found in:
http://www.gutenberg.org/3/0/7/8/30781/
Produced by Michel Laglasse, Rénald Lévesque and the Online
Distributed Proofreaders Europe at http://dp.rastko.net.
Updated editions will replace the previous one--the old editions
will be renamed.
Creating the works from public domain print editions means that no
one owns a United States copyright in these works, so the Foundation
(and you!) can copy and distribute it in the United States without
permission and without paying copyright royalties. Special rules,
set forth in the General Terms of Use part of this license, apply to
copying and distributing Project Gutenberg-tm electronic works to
protect the PROJECT GUTENBERG-tm concept and trademark. Project
Gutenberg is a registered trademark, and may not be used if you
charge for the eBooks, unless you receive specific permission. If you
do not charge anything for copies of this eBook, complying with the
rules is very easy. You may use this eBook for nearly any purpose
such as creation of derivative works, reports, performances and
research. They may be modified and printed and given away--you may do
practically ANYTHING with public domain eBooks. Redistribution is
subject to the trademark license, especially commercial
redistribution.
*** START: FULL LICENSE ***
THE FULL PROJECT GUTENBERG LICENSE
PLEASE READ THIS BEFORE YOU DISTRIBUTE OR USE THIS WORK
To protect the Project Gutenberg-tm mission of promoting the free
distribution of electronic works, by using or distributing this work
(or any other work associated in any way with the phrase "Project
Gutenberg"), you agree to comply with all the terms of the Full Project
Gutenberg-tm License (available with this file or online at
http://gutenberg.org/license).
Section 1. General Terms of Use and Redistributing Project Gutenberg-tm
electronic works
1.A. By reading or using any part of this Project Gutenberg-tm
electronic work, you indicate that you have read, understand, agree to
and accept all the terms of this license and intellectual property
(trademark/copyright) agreement. If you do not agree to abide by all
the terms of this agreement, you must cease using and return or destroy
all copies of Project Gutenberg-tm electronic works in your possession.
If you paid a fee for obtaining a copy of or access to a Project
Gutenberg-tm electronic work and you do not agree to be bound by the
terms of this agreement, you may obtain a refund from the person or
entity to whom you paid the fee as set forth in paragraph 1.E.8.
1.B. "Project Gutenberg" is a registered trademark. It may only be
used on or associated in any way with an electronic work by people who
agree to be bound by the terms of this agreement. There are a few
things that you can do with most Project Gutenberg-tm electronic works
even without complying with the full terms of this agreement. See
paragraph 1.C below. There are a lot of things you can do with Project
Gutenberg-tm electronic works if you follow the terms of this agreement
and help preserve free future access to Project Gutenberg-tm electronic
works. See paragraph 1.E below.
1.C. The Project Gutenberg Literary Archive Foundation ("the Foundation"
or PGLAF), owns a compilation copyright in the collection of Project
Gutenberg-tm electronic works. Nearly all the individual works in the
collection are in the public domain in the United States. If an
individual work is in the public domain in the United States and you are
located in the United States, we do not claim a right to prevent you from
copying, distributing, performing, displaying or creating derivative
works based on the work as long as all references to Project Gutenberg
are removed. Of course, we hope that you will support the Project
Gutenberg-tm mission of promoting free access to electronic works by
freely sharing Project Gutenberg-tm works in compliance with the terms of
this agreement for keeping the Project Gutenberg-tm name associated with
the work. You can easily comply with the terms of this agreement by
keeping this work in the same format with its attached full Project
Gutenberg-tm License when you share it without charge with others.
1.D. The copyright laws of the place where you are located also govern
what you can do with this work. Copyright laws in most countries are in
a constant state of change. If you are outside the United States, check
the laws of your country in addition to the terms of this agreement
before downloading, copying, displaying, performing, distributing or
creating derivative works based on this work or any other Project
Gutenberg-tm work. The Foundation makes no representations concerning
the copyright status of any work in any country outside the United
States.
1.E. Unless you have removed all references to Project Gutenberg:
1.E.1. The following sentence, with active links to, or other immediate
access to, the full Project Gutenberg-tm License must appear prominently
whenever any copy of a Project Gutenberg-tm work (any work on which the
phrase "Project Gutenberg" appears, or with which the phrase "Project
Gutenberg" is associated) is accessed, displayed, performed, viewed,
copied or distributed:
This eBook is for the use of anyone anywhere at no cost and with
almost no restrictions whatsoever. You may copy it, give it away or
re-use it under the terms of the Project Gutenberg License included
with this eBook or online at www.gutenberg.org
1.E.2. If an individual Project Gutenberg-tm electronic work is derived
from the public domain (does not contain a notice indicating that it is
posted with permission of the copyright holder), the work can be copied
and distributed to anyone in the United States without paying any fees
or charges. If you are redistributing or providing access to a work
with the phrase "Project Gutenberg" associated with or appearing on the
work, you must comply either with the requirements of paragraphs 1.E.1
through 1.E.7 or obtain permission for the use of the work and the
Project Gutenberg-tm trademark as set forth in paragraphs 1.E.8 or
1.E.9.
1.E.3. If an individual Project Gutenberg-tm electronic work is posted
with the permission of the copyright holder, your use and distribution
must comply with both paragraphs 1.E.1 through 1.E.7 and any additional
terms imposed by the copyright holder. Additional terms will be linked
to the Project Gutenberg-tm License for all works posted with the
permission of the copyright holder found at the beginning of this work.
1.E.4. Do not unlink or detach or remove the full Project Gutenberg-tm
License terms from this work, or any files containing a part of this
work or any other work associated with Project Gutenberg-tm.
1.E.5. Do not copy, display, perform, distribute or redistribute this
electronic work, or any part of this electronic work, without
prominently displaying the sentence set forth in paragraph 1.E.1 with
active links or immediate access to the full terms of the Project
Gutenberg-tm License.
1.E.6. You may convert to and distribute this work in any binary,
compressed, marked up, nonproprietary or proprietary form, including any
word processing or hypertext form. However, if you provide access to or
distribute copies of a Project Gutenberg-tm work in a format other than
"Plain Vanilla ASCII" or other format used in the official version
posted on the official Project Gutenberg-tm web site (www.gutenberg.org),
you must, at no additional cost, fee or expense to the user, provide a
copy, a means of exporting a copy, or a means of obtaining a copy upon
request, of the work in its original "Plain Vanilla ASCII" or other
form. Any alternate format must include the full Project Gutenberg-tm
License as specified in paragraph 1.E.1.
1.E.7. Do not charge a fee for access to, viewing, displaying,
performing, copying or distributing any Project Gutenberg-tm works
unless you comply with paragraph 1.E.8 or 1.E.9.
1.E.8. You may charge a reasonable fee for copies of or providing
access to or distributing Project Gutenberg-tm electronic works provided
that
- You pay a royalty fee of 20% of the gross profits you derive from
the use of Project Gutenberg-tm works calculated using the method
you already use to calculate your applicable taxes. The fee is
owed to the owner of the Project Gutenberg-tm trademark, but he
has agreed to donate royalties under this paragraph to the
Project Gutenberg Literary Archive Foundation. Royalty payments
must be paid within 60 days following each date on which you
prepare (or are legally required to prepare) your periodic tax
returns. Royalty payments should be clearly marked as such and
sent to the Project Gutenberg Literary Archive Foundation at the
address specified in Section 4, "Information about donations to
the Project Gutenberg Literary Archive Foundation."
- You provide a full refund of any money paid by a user who notifies
you in writing (or by e-mail) within 30 days of receipt that s/he
does not agree to the terms of the full Project Gutenberg-tm
License. You must require such a user to return or
destroy all copies of the works possessed in a physical medium
and discontinue all use of and all access to other copies of
Project Gutenberg-tm works.
- You provide, in accordance with paragraph 1.F.3, a full refund of any
money paid for a work or a replacement copy, if a defect in the
electronic work is discovered and reported to you within 90 days
of receipt of the work.
- You comply with all other terms of this agreement for free
distribution of Project Gutenberg-tm works.
1.E.9. If you wish to charge a fee or distribute a Project Gutenberg-tm
electronic work or group of works on different terms than are set
forth in this agreement, you must obtain permission in writing from
both the Project Gutenberg Literary Archive Foundation and Michael
Hart, the owner of the Project Gutenberg-tm trademark. Contact the
Foundation as set forth in Section 3 below.
1.F.
1.F.1. Project Gutenberg volunteers and employees expend considerable
effort to identify, do copyright research on, transcribe and proofread
public domain works in creating the Project Gutenberg-tm
collection. Despite these efforts, Project Gutenberg-tm electronic
works, and the medium on which they may be stored, may contain
"Defects," such as, but not limited to, incomplete, inaccurate or
corrupt data, transcription errors, a copyright or other intellectual
property infringement, a defective or damaged disk or other medium, a
computer virus, or computer codes that damage or cannot be read by
your equipment.
1.F.2. LIMITED WARRANTY, DISCLAIMER OF DAMAGES - Except for the "Right
of Replacement or Refund" described in paragraph 1.F.3, the Project
Gutenberg Literary Archive Foundation, the owner of the Project
Gutenberg-tm trademark, and any other party distributing a Project
Gutenberg-tm electronic work under this agreement, disclaim all
liability to you for damages, costs and expenses, including legal
fees. YOU AGREE THAT YOU HAVE NO REMEDIES FOR NEGLIGENCE, STRICT
LIABILITY, BREACH OF WARRANTY OR BREACH OF CONTRACT EXCEPT THOSE
PROVIDED IN PARAGRAPH F3. YOU AGREE THAT THE FOUNDATION, THE
TRADEMARK OWNER, AND ANY DISTRIBUTOR UNDER THIS AGREEMENT WILL NOT BE
LIABLE TO YOU FOR ACTUAL, DIRECT, INDIRECT, CONSEQUENTIAL, PUNITIVE OR
INCIDENTAL DAMAGES EVEN IF YOU GIVE NOTICE OF THE POSSIBILITY OF SUCH
DAMAGE.
1.F.3. LIMITED RIGHT OF REPLACEMENT OR REFUND - If you discover a
defect in this electronic work within 90 days of receiving it, you can
receive a refund of the money (if any) you paid for it by sending a
written explanation to the person you received the work from. If you
received the work on a physical medium, you must return the medium with
your written explanation. The person or entity that provided you with
the defective work may elect to provide a replacement copy in lieu of a
refund. If you received the work electronically, the person or entity
providing it to you may choose to give you a second opportunity to
receive the work electronically in lieu of a refund. If the second copy
is also defective, you may demand a refund in writing without further
opportunities to fix the problem.
1.F.4. Except for the limited right of replacement or refund set forth
in paragraph 1.F.3, this work is provided to you 'AS-IS' WITH NO OTHER
WARRANTIES OF ANY KIND, EXPRESS OR IMPLIED, INCLUDING BUT NOT LIMITED TO
WARRANTIES OF MERCHANTIBILITY OR FITNESS FOR ANY PURPOSE.
1.F.5. Some states do not allow disclaimers of certain implied
warranties or the exclusion or limitation of certain types of damages.
If any disclaimer or limitation set forth in this agreement violates the
law of the state applicable to this agreement, the agreement shall be
interpreted to make the maximum disclaimer or limitation permitted by
the applicable state law. The invalidity or unenforceability of any
provision of this agreement shall not void the remaining provisions.
1.F.6. INDEMNITY - You agree to indemnify and hold the Foundation, the
trademark owner, any agent or employee of the Foundation, anyone
providing copies of Project Gutenberg-tm electronic works in accordance
with this agreement, and any volunteers associated with the production,
promotion and distribution of Project Gutenberg-tm electronic works,
harmless from all liability, costs and expenses, including legal fees,
that arise directly or indirectly from any of the following which you do
or cause to occur: (a) distribution of this or any Project Gutenberg-tm
work, (b) alteration, modification, or additions or deletions to any
Project Gutenberg-tm work, and (c) any Defect you cause.
Section 2. Information about the Mission of Project Gutenberg-tm
Project Gutenberg-tm is synonymous with the free distribution of
electronic works in formats readable by the widest variety of computers
including obsolete, old, middle-aged and new computers. It exists
because of the efforts of hundreds of volunteers and donations from
people in all walks of life.
Volunteers and financial support to provide volunteers with the
assistance they need, are critical to reaching Project Gutenberg-tm's
goals and ensuring that the Project Gutenberg-tm collection will
remain freely available for generations to come. In 2001, the Project
Gutenberg Literary Archive Foundation was created to provide a secure
and permanent future for Project Gutenberg-tm and future generations.
To learn more about the Project Gutenberg Literary Archive Foundation
and how your efforts and donations can help, see Sections 3 and 4
and the Foundation web page at http://www.pglaf.org.
Section 3. Information about the Project Gutenberg Literary Archive
Foundation
The Project Gutenberg Literary Archive Foundation is a non profit
501(c)(3) educational corporation organized under the laws of the
state of Mississippi and granted tax exempt status by the Internal
Revenue Service. The Foundation's EIN or federal tax identification
number is 64-6221541. Its 501(c)(3) letter is posted at
http://pglaf.org/fundraising. Contributions to the Project Gutenberg
Literary Archive Foundation are tax deductible to the full extent
permitted by U.S. federal laws and your state's laws.
The Foundation's principal office is located at 4557 Melan Dr. S.
Fairbanks, AK, 99712., but its volunteers and employees are scattered
throughout numerous locations. Its business office is located at
809 North 1500 West, Salt Lake City, UT 84116, (801) 596-1887, email
business@pglaf.org. Email contact links and up to date contact
information can be found at the Foundation's web site and official
page at http://pglaf.org
For additional contact information:
Dr. Gregory B. Newby
Chief Executive and Director
gbnewby@pglaf.org
Section 4. Information about Donations to the Project Gutenberg
Literary Archive Foundation
Project Gutenberg-tm depends upon and cannot survive without wide
spread public support and donations to carry out its mission of
increasing the number of public domain and licensed works that can be
freely distributed in machine readable form accessible by the widest
array of equipment including outdated equipment. Many small donations
($1 to $5,000) are particularly important to maintaining tax exempt
status with the IRS.
The Foundation is committed to complying with the laws regulating
charities and charitable donations in all 50 states of the United
States. Compliance requirements are not uniform and it takes a
considerable effort, much paperwork and many fees to meet and keep up
with these requirements. We do not solicit donations in locations
where we have not received written confirmation of compliance. To
SEND DONATIONS or determine the status of compliance for any
particular state visit http://pglaf.org
While we cannot and do not solicit contributions from states where we
have not met the solicitation requirements, we know of no prohibition
against accepting unsolicited donations from donors in such states who
approach us with offers to donate.
International donations are gratefully accepted, but we cannot make
any statements concerning tax treatment of donations received from
outside the United States. U.S. laws alone swamp our small staff.
Please check the Project Gutenberg Web pages for current donation
methods and addresses. Donations are accepted in a number of other
ways including checks, online payments and credit card donations.
To donate, please visit: http://pglaf.org/donate
Section 5. General Information About Project Gutenberg-tm electronic
works.
Professor Michael S. Hart is the originator of the Project Gutenberg-tm
concept of a library of electronic works that could be freely shared
with anyone. For thirty years, he produced and distributed Project
Gutenberg-tm eBooks with only a loose network of volunteer support.
Project Gutenberg-tm eBooks are often created from several printed
editions, all of which are confirmed as Public Domain in the U.S.
unless a copyright notice is included. Thus, we do not necessarily
keep eBooks in compliance with any particular paper edition.
Most people start at our Web site which has the main PG search facility:
http://www.gutenberg.org
This Web site includes information about Project Gutenberg-tm,
including how to make donations to the Project Gutenberg Literary
Archive Foundation, how to help produce our new eBooks, and how to
subscribe to our email newsletter to hear about new eBooks.